|
|
(21), (22) Заявка: 2009110380/28, 20.03.2009
(24) Дата начала отсчета срока действия патента:
20.03.2009
(46) Опубликовано: 27.05.2010
(56) Список документов, цитированных в отчете о поиске:
RU 2213952 C1, 10.10.2003. RU 67269 U1, 10.10.2007. SU 123334 A1, 01.01.1959. FR 2584186 A1, 02.01.1987.
Адрес для переписки:
625001, г.Тюмень, ул. Луначарского, 2, ГОУ ВПО “ТюмГАСУ”
|
(72) Автор(ы):
Пронозин Яков Александрович (RU), Уфуков Петр Петрович (RU), Порошин Олег Сергеевич (RU)
(73) Патентообладатель(и):
Государственное образовательное учреждение высшего профессионального образования “Тюменский государственный архитектурно-строительный университет” (ГОУ ВПО “ТюмГАСУ”) (RU)
|
(54) СПОСОБ ИЗМЕРЕНИЯ ДАВЛЕНИЯ В ПОРОВОЙ ВОДЕ СЛАБЫХ ВОДОНАСЫЩЕННЫХ ГРУНТОВ
(57) Реферат:
Изобретение относится к механике грунтов. Сущность: в секции трубы устанавливают не пропускающую воду эластичную оболочку с отверстиями, в которую помещают образец грунта. Отверстия в эластичной оболочке совпадают с отверстиями в секции трубы и через них в образец грунта внедряют перфорированные трубки, обернутые фильтровальным материалом с нулевым сопротивлением так, что их стык с эластичной оболочкой герметичен. Соединяют перфорированные трубки, обернутые фильтровальным материалом с нулевым сопротивлением с капиллярами, а капилляры соединяют с градуированными стеклянными трубками. В образец грунта внедряют источник глубинного вибровоздействия и герметизируют стык гибкого вала глубинного вибратора и эластичной оболочки при помощи как минимум одной резиновой манжеты. Образец грунта нагружают штоком через поршень и после того, как уровень воды в градуированных стеклянных трубках установится на отметке, соответствующей заданной внешней сжимающей нагрузке (процесс консолидации завершен), образец грунта подвергают глубинному вибрированию с заданной интенсивностью вибровоздействия, а давление в поровой воде регистрируют по уровню водяного столба в градуированных стеклянных трубках. Технический результат: повышение чувствительности, точности измерений, возможность имитации заглубленности водонасыщенного двухфазного образца грунта от дневной поверхности и возможность изучения влияния глубинного вибровоздействия различной интенсивности на изменение давления в поровой воде в лабораторных условиях. 3 ил.
Изобретение относится к механике грунтов и может быть использовано для лабораторного измерения давления в поровой воде слабых водонасыщенных грунтов при различной интенсивности глубинного вибровоздействия в условиях одноосного сжатия.
Известен способ испытания слабых водонасыщенных грунтов методом одноосного сжатия (RU 49994 U1, МКИ G01N 3/24, опубл. 10.12.05.), включающий помещение образца грунта в не пропускающую воду секцию трубы и загружение его поршнем с отверстиями. Над поршнем устраивают грунтовый замок в виде идентичного водонасыщенного грунта. Перемещения частиц скелета грунта определяют при помощи марок, а общее и поровое давления определяют при помощи мессдоз.
Недостатками известного способа являются: невысокая точность измерения порового и общего давления; при нагружении грунтового замка через металлическую пластину часть нагрузки передается на поршень, что вносит погрешность в величину задаваемой внешней нагрузки и, соответственно, снижает достоверность результатов.
Наиболее близким к предлагаемому изобретению является способ испытания грунта методом одноосного сжатия (RU 2213952 С1, МКИ G01N 3/24, опубл. 10.10.03), включающий помещение образца грунта в не пропускающую воду секцию трубы и загружение его поршнем с отверстиями. Над поршнем устраивают гидравлический замок в виде столба воды, над ним устанавливают заглушку, через которую загружают поршень при помощи штока с резиновой манжетой, а высоту гидравлического замка измеряют при помощи трубки, которая выходит из заглушки.
Недостатками известного способа являются: сила трения, возникающая между загружающим штоком и резиновой манжетой, которая вносит погрешность в значение общего и порового давления; невысокая точность измерения порового и общего давления.
Задачей, на решение которой направлено заявляемое изобретение, является имитация заглубленности водонасыщенного двухфазного образца грунта от дневной поверхности и измерение давления в поровой воде при глубинном вибровоздействии различной интенсивности.
При осуществлении изобретения поставленная задача решалась за счет достижения технического результата, который заключается в повышении чувствительности, точности измерений, возможности имитации заглубленности водонасыщенного двухфазного образца грунта от дневной поверхности и возможности изучения влияния глубинного вибровоздействия различной интенсивности на изменение давления в поровой воде в лабораторных условиях.
Указанный технический результат достигается тем, что способ измерения давления в поровой воде слабых водонасыщенных грунтов включает размещение не пропускающей воду эластичной оболочки в секции трубы с отверстиями, в эластичную оболочку помещают образец грунта. Эластичная оболочка имеет отверстия, которые совпадают с отверстиями в секции трубы, и через них в образец грунта внедряют перфорированные трубки, обернутые фильтровальным материалом с нулевым сопротивлением, так что их стык с эластичной оболочкой герметичен. Соединяют перфорированные трубки, обернутые фильтровальным материалом с нулевым сопротивлением с капиллярами, а капилляры соединяют с градуированными стеклянными трубками. В образец грунта внедряют источник глубинного вибровоздействия и герметизируют стык гибкого вала глубинного вибратора и эластичной оболочки при помощи как минимум одной резиновой манжеты. Образец грунта загружают штоком через поршень и после того, как уровень воды в градуированных стеклянных трубках установится на отметке, соответствующей заданной внешней сжимающей нагрузке (процесс консолидации завершен), образец грунта подвергают глубинному вибрированию с заданной интенсивностью вибровоздействия. Давление в поровой воде регистрируют по уровню водяного столба в градуированных стеклянных трубках.
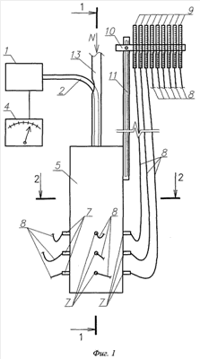
Изобретение поясняется чертежами, где на фиг.1 представлена схема установки, причем для упрощения схемы установки изображение элементов 8 показано с линиями разрыва. На фиг.2 представлен разрез 1-1 фиг.1. На фиг.3 представлен разрез 2-2 фиг.1.
Для осуществления способа собирают установку, которая содержит электропривод 1 глубинного вибратора, гибкий вал 2 глубинного вибратора, источник глубинного вибровоздействия 3, частотный преобразователь 4 для изменения интенсивности вибровоздействия, через который подается питание на электропривод 1 глубинного вибратора, секцию трубы 5 с отверстиями, в которую помещена не пропускающую воду эластичная оболочка 6 для предотвращения потерь давления, через отверстия в которой в образец грунта 14 внедрены перфорированные трубки 7, обернутые фильтровальным материалом с нулевым сопротивлением, капилляры 8, одним концом соединенные с перфорированными трубками 7, а другим – с градуированными стеклянными трубками 9 диаметром не менее 6 мм, зафиксированными на заданной высоте в строго вертикальном положении при помощи крепления 10 относительно измерительной шкалы 11, поршень 12 с отверстием в центре для внедрения в образец грунта 14 источника глубинного вибровоздействия 3, загружающий шток 13. Данная установка имеет не менее одного датчика порового давления (последовательно соединенных элементов 7, 8, 9), причем перфорированные трубки 7 расположены на различном расстоянии от источника глубинного вибровоздействия 3.
Способ осуществляют следующим образом.
Эластичную оболочку 6 помещают в секцию трубы 5 так, чтобы выполненные в них отверстия совпадали, и устанавливают в эти отверстия перфорированные трубки 7, обернутые фильтровальным материалом с нулевым сопротивлением, обеспечивая герметичность стыка эластичной оболочки 6 и перфорированных трубок 7, обернутых фильтровальным материалом с нулевым сопротивлением. Образец грунта 14 с площадью поперечного сечения до 2500 см2 и с отношением диаметра d к высоте h от 1:2 до 1:5 помещают в эластичную оболочку 6, внедряют в образец грунта 14 источник глубинного вибровоздействия 3, герметизируют стык эластичной оболочки 6 и гибкого вала 2 глубинного вибратора при помощи как минимум одной резиновой манжеты 15 и загружают штоком 13 через поршень 12. Под действием внешней сжимающей нагрузки N вода через перфорированные трубки 7, обернутые фильтровальным материалом с нулевым сопротивлением, отфильтровывается в капилляры 8 и наполняет градуированные стеклянные трубки 9. После того как уровень воды в градуированных стеклянных трубках 9 установится на отметке, соответствующей заданной внешней сжимающей нагрузке N (процесс консолидации завершен), образец грунта 14 подвергают глубинному вибрированию с заданной интенсивностью вибровоздействия. Давление в поровой воде регистрируют по уровню водяного столба в градуированных стеклянных трубках.
Способ измерения давления в поровой воде слабых водонасыщенных грунтов обеспечивает погрешность измерения 10 Па (1 мм водяного столба).
Изобретение обеспечивает повышение чувствительности, точности измерений, возможность имитации заглубленности водонасыщенного двухфазного образца грунта от дневной поверхности и возможность изучения влияния глубинного вибровоздействия различной интенсивности на изменение давления в поровой воде.
Формула изобретения
Способ измерения давления в поровой воде слабых водонасыщенных грунтов, включающий размещение образца грунта в секции трубы с отверстиями, отличающийся тем, что в секции трубы устанавливают не пропускающую воду эластичную оболочку с отверстиями, в которую помещают образец грунта, при этом отверстия в эластичной оболочке совпадают с отверстиями в секции трубы, и через них в образец грунта внедряют перфорированные трубки, обернутые фильтровальным материалом с нулевым сопротивлением так, что их стык с эластичной оболочкой герметичен, соединяют перфорированные трубки, обернутые фильтровальным материалом с нулевым сопротивлением с капиллярами, а капилляры соединяют с градуированными стеклянными трубками, также в образец грунта внедряют источник глубинного вибровоздействия и герметизируют стык гибкого вала глубинного вибратора и эластичной оболочки при помощи как минимум одной резиновой манжеты; образец грунта нагружают штоком через поршень и после того, как уровень воды в градуированных стеклянных трубках установится на отметке, соответствующей заданной внешней сжимающей нагрузке (процесс консолидации завершен), образец грунта подвергают глубинному вибрированию с заданной интенсивностью вибровоздействия, а давление в поровой воде регистрируют по уровню водяного столба в градуированных стеклянных трубках.
РИСУНКИ
|
|