Патент на изобретение №2390747

Published by on




РОССИЙСКАЯ ФЕДЕРАЦИЯ



ФЕДЕРАЛЬНАЯ СЛУЖБА
ПО ИНТЕЛЛЕКТУАЛЬНОЙ СОБСТВЕННОСТИ,
ПАТЕНТАМ И ТОВАРНЫМ ЗНАКАМ
(19) RU (11) 2390747 (13) C1
(51) МПК

G01N1/10 (2006.01)

(12) ОПИСАНИЕ ИЗОБРЕТЕНИЯ К ПАТЕНТУ

Статус: по данным на 09.08.2010 – действует

(21), (22) Заявка: 2008143715/12, 06.11.2008

(24) Дата начала отсчета срока действия патента:

06.11.2008

(46) Опубликовано: 27.05.2010

(56) Список документов, цитированных в отчете о
поиске:
RU 56614 U1, 10.09.2006. GB 762889 A, 05.12.1956. SU 1280467 A1, 30.12.1986. US 2003108868 A1, 12.06.2003.

Адрес для переписки:

443099, Самарская обл., г.Самара, ул. Алексея Толстого, д. 6, офис 6, ООО “СЦИС”, Н.В.Филиппенковой

(72) Автор(ы):

Серенков Николай Константинович (RU),
Абрашкин Валерий Юрьевич (RU)

(73) Патентообладатель(и):

Серенков Николай Константинович (RU)

(54) УНИВЕРСАЛЬНОЕ УСТРОЙСТВО ДЛЯ ОТБОРА ПРОБ ЖИДКИХ ПРОДУКТОВ ИЗ ЕМКОСТИ

(57) Реферат:

Изобретение относится к универсальному устройству для отбора проб жидких продуктов из емкости. Устройство содержит емкость, сливной кран и вертикальную трубу. При этом труба выполнена с возможностью поворота на 360° и снабжена отверстиями для отбора осредненных и точечных проб. Отверстия расположены по высоте и окружности трубы, и при повороте трубы на заданный угол совмещаются с отверстиями всех подшипников скольжения, расположенных в точках отбора проб для отбора осредненной пробы, или с отверстиями одного из подшипников скольжения для отбора точечной пробы. Достигаемый при этом технический результат заключается в создании компактного универсального устройства, позволяющего отбирать из емкости как осредненную пробу, так и точечную пробу на разных уровнях. 2 ил.

Универсальное устройство для отбора проб жидких продуктов из емкости предназначено для отбора проб жидких продуктов на разных уровнях емкости и может быть использовано в химическом, нефтехимическом, нефтеперерабатывающем производстве, например для отбора проб нефтепродуктов.

Известно устройство «Стационарный пробоотборник с перфорированной заборной трубкой» для отбора объединенной пробы нефти и нефтепродуктов в один прием, описанное в ГОСТ 2517 черт.1.

Также известно устройство «Стационарный пробоотборник для отбора точечных проб с трех уровней» для отбора объединенной пробы нефти и нефтепродуктов с трех уровней, описанное в ГОСТ 2517 черт.2.

Самым близким к заявляемому изобретению по технической сущности является «Устройство отбора проб жидких продуктов из резервуара» по патенту 56614 от 2006.04.04 г., опубл. 2006.09.10. Устройство отбора проб жидких продуктов из резервуара, содержащее сливной кран, вертикальные трубки, установленные внутри резервуара, нижние концы которых выведены за пределы резервуара и присоединены через краны к коллектору, отличающееся тем, что введен вакуумный насос, присоединенный входом к коллектору, выходом к сливному крану, а через возвратный кран и возвратный патрубок – к нижней части резервуара. Устройство отбора проб жидких продуктов из резервуара по п.1 отличается тем, что верхние концы вертикальных трубок установлены и закреплены в резервуаре на уровнях, определяемых как точки отбора проб. Устройство отбора проб жидких продуктов из резервуара по п.1, отличающееся тем, что на верхних концах вертикальных трубок, кроме вертикальной трубки для самой верхней точки отбора пробы жидкого продукта, установлены и закреплены патрубки с отверстиями.

Предлагаемое изобретение направлено на создание компактного, универсального устройства для отбора проб жидких продуктов из емкости как на разных уровнях, так и осредненного отбора жидких продуктов, и позволяет использование данного устройства в емкостях в том числе с малым диаметром горловины.

Поставленная задача решается за счет того, что универсальное устройство для отбора проб жидких продуктов из емкости устройство содержит трубу, имеющую возможность поворота на 360° и снабженную отверстиями для отбора осредненных и точечных проб, расположенных по высоте и окружности трубы в определенном порядке и на определенных уровнях, оснащено, в точках отбора проб, подшипниками скольжения, имеющие в свою очередь отверстия для отбора проб. Универсальное устройство для отбора проб жидких продуктов из емкости содержит одну трубу, а в точках отбора проб, на разных уровнях, установлены подшипники скольжения, имеющие отверстия для отбора проб, в трубе на тех же уровнях имеются отверстия, но расположенные по окружности в определенном порядке и на определенных углах. В зависимости от количества точек отбора проб меняется, относительно оси входного отверстия подшипников скольжения, угол расположения отверстий горизонтального сечения трубы. Чем больше точек отбора проб, тем меньше угол расположения отверстий горизонтального сечения трубы. При увеличении количества точек отбора проб, а также при повышении вязкости жидкого продукта с целью обеспечения пропускной способности, необходимо увеличить диаметр трубы в местах отбора проб. Опираясь на подпятник, труба, с помощью привода, имеет возможность поворота в подшипниках скольжения на 360°. При повороте на определенный угол происходит совмещение отверстий на одном из подшипников скольжения с отверстием трубы и происходит отбор проб с определенного уровня, причем отверстия на других уровнях перекрываются. На одном уровне, на трубе, в точке отбора расположено два отверстия, одно из которых служит для отбора осредненной пробы, а второе для отбора точечной пробы. При дальнейшем повороте трубы отверстия подшипника и трубы совмещаются, а следующие отверстия перекрываются и т.д., такой принцип позволяет осуществлять отбор проб жидких продуктов с помощью одной трубы как с разных уровней емкости, так и осуществлять осредненный отбор жидкого продукта из емкости.

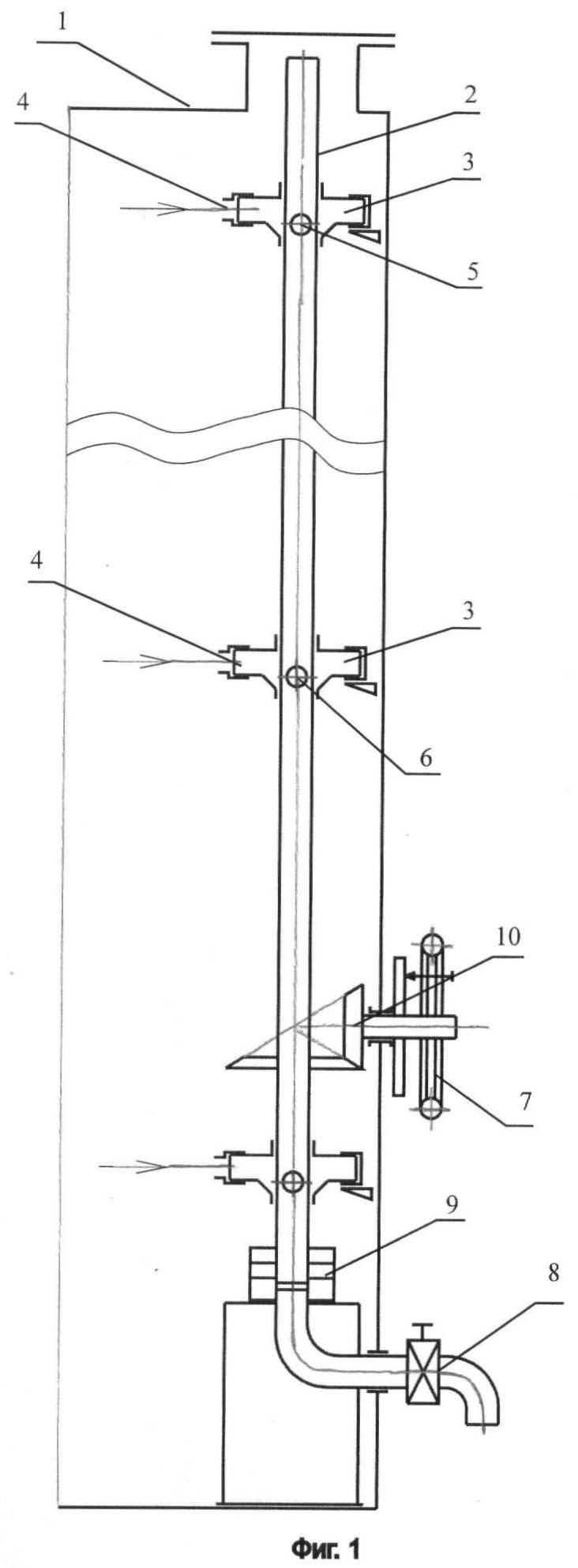
Суть предложенного технического решения поясняется чертежами, где

фиг.1 – универсальное устройство для отбора проб жидких продуктов из резервуара;

фиг.2 – Принципиальная схема устройства.

На фиг.1 изображена емкость (1), труба (2), подшипник скольжения (3), отверстие для отбора проб (4), отверстия для отбора осредненной пробы (5), отверстия для отбора точечной пробы (6), вентиль (7), сливной кран (8), подпятник (9), привод (10).

Универсальное устройство для отбора проб жидких продуктов из емкости (1) содержащее трубу (2), на которой в точках отбора проб, на разных уровнях, расположены подшипники скольжения (3), имеющие отверстия для отбора проб (4). В трубе (2) на тех же уровнях, что и подшипники скольжения (3), выполнены отверстия для отбора осредненных и точечных проб (5, 6), которые расположены по окружности трубы (2) в определенном порядке и на определенных углах. Опираясь на подпятник (9), труба (2), с помощью привода (10), имеет возможность поворота в подшипниках скольжения (3) на 360°. При повороте вентиля (7) на определенный угол происходит совмещение отверстий (4) на одном из подшипников скольжения (3) с отверстием трубы (6) или (5). При повороте вентиля (7) в нейтральное положение происходит перекрытие всех отверстий и проба жидких продуктов поступает в нижнюю часть трубы (2). В нижней части трубы (2) расположен сливной кран (8) имеющий два положения «закрыто» и «открыто», при положении сливного крана (8) «открыто» происходит отбор пробы жидких продуктов из емкости (1).

Универсальное устройство для отбора проб жидких продуктов из емкости (1) работает следующим образом, при повороте вентиля (7) на определенный угол, с помощью привода (10), труба (2), опираясь на подпятник (9), поворачивается на заданный угол поворота, при этом отверстие (4) на одном из подшипников скольжения (3) совмещается с отверстием трубы (6) и через совмещенные отверстия (4) и (6) жидкий продукт с определенного уровня из емкости (1) поступает в трубу (2), после чего вентиль (7) поворачивают в нейтральное положение, при этом происходит перекрытие всех отверстий (4, 5, 6) и проба жидких продуктов поступает в нижнюю часть трубы (2). По трубе (2) проба жидких продуктов поступает к сливному крану (8), при положении «открыто», через сливной кран (8), производится точечный отбор пробы жидкого продукта с определенного уровня, по окончании отбора пробы сливной кран (8) переводится в положение «закрыто». Для отбора осредненных проб жидких продуктов из емкости (1), вентиль (7) поворачивается на определенный угол и с помощью привода (10), труба (2), опираясь на подпятник (9), поворачивается на заданный угол поворота, при этом отверстия (4) на всех подшипниках скольжения (3) совмещается с отверстиями трубы (5) и через совмещенные отверстия (4) и (5) жидкий продукт из емкости (1) поступает в трубу (2), после чего вентиль (7) поворачивают в нейтральное положение, при этом происходит перекрытие всех отверстий (4, 5, 6) и проба жидких продуктов по трубе (2) поступает к сливному крану (8), при положении «открыто» через сливной кран (8) производится осредненный отбор проб жидкого продукта, по окончании отбора пробы сливной кран (8) переводится в положение «закрыто».

Формула изобретения

Универсальное устройство для отбора проб жидких продуктов из емкости, содержащее емкость, сливной кран, вертикальную трубу, отличающееся тем, что труба выполнена с возможностью поворота на 360° и снабжена отверстиями для отбора осредненных и точечных проб, расположенных по высоте и окружности трубы, которые при повороте трубы на заданный угол совмещаются с отверстиями всех подшипников скольжения, расположенных в точках отбора проб для отбора осредненной пробы, или с отверстиями одного из подшипников скольжения для отбора точечной пробы.

РИСУНКИ

Categories: BD_2390000-2390999