|
|
(21), (22) Заявка: 2009101900/28, 21.01.2009
(24) Дата начала отсчета срока действия патента:
21.01.2009
(46) Опубликовано: 27.05.2010
(56) Список документов, цитированных в отчете о поиске:
RU 2324913 С2, 20.05.2008. SU 987432 А, 07.01.1983. DE 102004044877 А1, 02.06.2005. PL 337470 А1, 02.07.2001. JP 61140263 U, 30.08.1986.
Адрес для переписки:
153003, г.Иваново, ул. Рабфаковская, 34, ИГЭУ, начальнику патентного отдела В.П. Яблокову
|
(72) Автор(ы):
Перминов Сергей Михайлович (RU), Перминова Анастасия Сергеевна (RU)
(73) Патентообладатель(и):
Государственное образовательное учреждение высшего профессионального образования (ГОУ ВПО) “Ивановский государственный энергетический университет имени В.И. Ленина” (ИГЭУ) (RU)
|
(54) УСТРОЙСТВО НЕРАЗРУШАЮЩЕГО КОНТРОЛЯ МАКСИМАЛЬНОЙ УДЕРЖИВАЮЩЕЙ СПОСОБНОСТИ МАГНИТОЖИДКОСТНЫХ СИСТЕМ ГЕРМЕТИЗАЦИИ
(57) Реферат:
Изобретение относится к области испытательной техники и может быть использовано в выходном контроле производств уплотнительных устройств или режимных испытаниях при научных исследованиях. Изобретение направлено на возможность определения удерживающей способности магнитожидкостных систем герметизации для любых диаметров валов, в том числе больших. Этот результат обеспечивается за счет того, что в устройстве к магнитожидкостному герметизатору пристыкован съемный герметизатор, снабженный измерителем давления и дренажным клапаном, причем внутренние объемы измерителя давления, дренажного клапана и замкнутой полости, образованной испытуемым магнитожидкостным герметизатором, съемным герметизатором и валом, предельно ограничены. На входе магнитожидкостной системы герметизации создают плавно возрастающее давление, а в замкнутой полости на выходе фиксируют момент начала роста давления и по разности давлений судят о максимальной удерживающей способности магнитожидкостной системы герметизации. 1 з.п. ф-лы, 1 ил.
Изобретение относится к машиностроению и предназначено для определения удерживающей способности магнитожидкостных систем герметизации без нарушения их работоспособности.
Известны способ и устройство определения удерживающей способности магнитожидкостных систем герметизации, в котором с одной стороны герметизатора прикладывается давление, возрастающее до тех пор, пока ни произойдет пробой герметизатора. Давление, измеренное в момент пробоя, и является максимально удерживающей способностью магнитожидкостного герметизатора (Михалев Ю.О., Орлов Д.В., Страдомский Ю.И. Исследование феррожидкостных уплотнений. – Магнитная гидродинамика, 1979, 3, с.69-76).
Недостатком данного устройства является то, что при таком испытании герметизатор теряет исходную удерживающую способность, т.е. выходит из строя. Во время пробоя герметизатора газ устремляется через герметизируемый зазор с высокой скоростью, захватывает магнитную жидкость и выбрасывает ее из зазора. После снятия перепада давлений магнитожидкостный герметизатор способен “самозалечиваться”, но удерживающая способность герметизатора при этом снижается в разы. Уровень снижения зависит от скорости движения газа через зазор и продолжительности протекания процесса пробоя. Чем выше скорость газа, тем интенсивнее захватывается и выносится магнитная жидкость. Для восстановления работоспособности герметизатора его нужно разобрать, промыть и заново заправить магнитной жидкостью.
Известны способ и устройство неразрушающего контроля максимальной удерживающей способности магнитожидкостных систем герметизации (патент на изобретение РФ 2324913, МПК 7 F16J 15/ 40), в котором на входе магнитожидкостной системы герметизации в предельно ограниченном объеме создают плавно возрастающее давление, а на выходе в предельно ограниченном объеме фиксируют момент начала роста давления и по разности давлений на входе и выходе судят о максимальной удерживающей способности магнитожидкостной системы герметизации. Устройство, реализующее данный способ, содержит две герметичные камеры, пристыкованные к торцевым поверхностям магнитожидкостного герметизатора. Камеры снабжены датчиками давлений и дренажными клапанами. Камеры, датчики и клапаны выполнены с минимально возможными внутренними объемами.
Недостатком данного устройства является невозможность его реализации в системах с большим диаметром вала. Причина в том, что с ростом диаметра вала внутренние объемы камер возрастают по квадратичной зависимости и при больших диаметрах они становится несоизмеримо больше камер межзубцовых пространств герметизатора. Поэтому при испытании герметизатора в зазоре образуется кратковременный сквозной канал (кратковременный пробой), который сопровождается частичным выбросом жидкости из зазора, что недопустимо.
Технический результат, достигаемый предлагаемым изобретением, заключается в создании устройства неразрушающего контроля максимальной удерживающей способности магнитожидкостных систем герметизации любых диаметров, в том числе и больших.
Результат достигается тем, что к магнитожидкостному герметизатору пристыкован съемный уплотнительный узел, снабженный измерителем давления и дренажным клапаном, причем внутренние объемы измерителя давления, дренажного клапана и замкнутой полости, образованной испытуемым магнитожидкостным уплотнением, съемным уплотнительным узлом и валом, предельно ограничены.
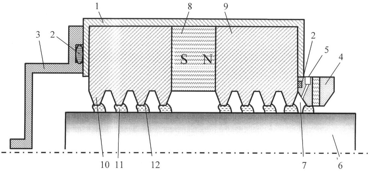
На чертеже показано предлагаемое устройство неразрушающего контроля максимальной удерживающей способности магнитожидкостных систем герметизации. К одной торцевой поверхности испытуемого магнитожидкостного герметизатора 1 через уплотнительное кольцо 2 пристыкована герметичная камера 3 с регулируемым избыточным давлением. Ко второй торцевой поверхности через уплотнительное кольцо 2 пристыкован съемный уплотнительный узел 4, снабженный измерителем давления 5 и дренажным клапаном (на чертеже не показан). Испытуемый магнитожидкостный герметизатор 1, съемный уплотнительный узел 4 и вал 6 образуют замкнутую герметичную полость 7, объем которой соизмерим с объемами полостей между концентраторами испытуемого герметизатора. Внутренние объемы измерителя-давления 5 и дренажного клапана предельно ограничены. Включение дренажного клапана обеспечивает соединение полости 7 с атмосферой. В качестве съемного уплотнительного узла 4 может использоваться любой тип уплотнений, обеспечивающий герметичность полости 7. На чертеже съемный уплотнительный узел 4 выполнен в виде миниатюрного магнитожидкостного герметизатора.
Испытуемый магнитожидкостный герметизатор 1 обычно выполнен следующим образом. К торцам постоянного магнита 8 примыкают полюсные приставки 9. На поверхностях полюсных приставок 9, обращенных к валу 6, выполнены концентраторы магнитного поля 10. Концентраторы 10 образуют с валом зазор 11, заполненный магнитной жидкостью 12.
Магнитожидкостный герметизатор работает следующим образом. Создаваемый магнитом 8 магнитный поток подводится к зазору 11. Концентраторы полюсных приставок 10 перераспределяют магнитный поток в зазоре, и магнитное поле становится резко неоднородным. Магнитная жидкость 12 втягивается в области с максимальной напряженностью и образует герметичные пробки с повышенным внутренним давлением. Каждая магнитожидкостная пробка способна воспринимать определенный перепад давлений, зависящий от распределения поля под концентратором и намагниченности жидкости. Перепад давлений, удерживаемый герметизатором, определяется суммой перепадов всех магнитожидкостных пробок под концентраторами.
Устройство неразрушающего контроля работает следующим образом. Для определения максимально возможной удерживающей способности магнитожидкостный герметизатор пристыковывают к камере повышенного давления 3, с другой его стороны располагают съемный уплотнительный узел 4. В камере 3 плавно повышают давление. Повышающееся давление перемещает магнитожидкостную пробку под первым концентратором вправо, а магнитные силы этому противодействуют. Наступает момент, когда магнитожидкостная пробка займет крайнее правое положение, после чего наступает ее микропробой. Через магнитожидкостную пробку в наиболее слабом месте (где магнитное поле имеет наименьшую напряженность) образуется сквозной канал, по которому газ устремляется в полость между первым и вторым зубцами. Объем пространства между первым и вторым концентраторами незначителен, поэтому давление газа в этой полости быстро возрастает. Теперь возрастающему давлению противодействуют магнитные силы первой пробки и силы давления газа в полости между первым и вторыми концентраторами. Это приводит к быстрой ликвидации сквозного канала в первой магнитожидкостной пробке. Т.е. наблюдается порциальный (от слова порция) или пузырьковый процесс пробоя магнитожидкостных пробок, который из-за кратковременности и микроскопичности объемов проходящего по каналу газа не приводит к переносу магнитной жидкости из одной магнитожидкостной пробки в другую. Возросшее давление в полости между первым и вторыми концентраторами вызывает смещение вправо магнитожидкостной пробки под вторым концентратором. Следует отметить, что вязкость и плотность газов примерно на 3 порядка ниже, чем вязкость и плотность магнитных жидкостей, поэтому газовые процессы в рабочем зазоре протекают гораздо быстрее, чем гидродинамические. В данном случае из-за высокой инерции магнитожидкостной пробки образование микропробоя в первой магнитожидкостной пробке, натекание газа в межзубцовую полость и закрытие канала заканчиваются до того, как магнитожидкостная пробка под вторым концентратором придет в движение. Под возросшим давлением газа в межзубцовой полости магнитожидкостная пробка под вторым концентратором смещается вправо и давление в полости несколько снижается. Плавное повышение давления в камере приводит к периодическому пузырьковому пробою магнитожидкостной пробки первого концентратора и повышению давления в полости между первым и вторым концентраторами до тех пор, пока магнитожидкостная пробка второго концентратора ни займет крайнее правое положение, после чего начинается процесс пузырькового пробоя второй магнитожидкостной пробки. Заполняется газом полость между вторыми и третьим концентраторами. Таким же образом заполняются все полости между концентраторами герметизатора. Процесс протекает до тех пор, пока ни заполнится последняя газовая полость перед последним концентратором, и магнитожидкостная пробка под ним ни займет крайнее правое положение. После чего наступает процесс пузырькового пробоя последней магнитожидкостной пробки. Если бы не было пристыкованного съемного герметизатора 4, то пробой последней магнитожидкостной пробки вызвал бы процесс последовательного пробоя всех остальных магнитожидкостных пробок и привел к образованию сквозного канала, что закончилось бы пробоем герметизатора в целом с выбросом магнитной жидкости из зазора.
Полость 7 выполнена с минимальным внутренним объемом, который сравним с объемом пространств между концентраторами герметизатора. Поэтому при пузырьковом пробое последней магнитожидкостной пробки в полости 7 возрастает давление, которое приводит к ее залечиванию, как и в предыдущих случаях, и прекращению процесса образования сквозного канала. После пробоя последней магнитожидкостной пробки и появления в полости 7 повышенного давления разность давлений между камерой повышенного давления и полостью 7 стабилизируется, она равна максимальной удерживающей способности герметизатора. В этот момент производится замер давлений в камере повышенного давления 3 и полости 7, определение значения их разности. После окончания измерений давление газа в камере повышенного давления 3 снижается до нуля, затем включается дренажный клапан и снижается давление газа полости 7. Съемный герметизатор 4 отсоединяют. После этого испытуемый герметизатор готов к использованию.
Процесс измерения удерживающей способности герметизатора рекомендуется проводить при вращающемся вале, что обеспечивает более четкий механизм перераспределения газа между полостями, разделяемыми концентраторами.
Таким образом, предлагаемое устройство позволяет определять максимальную удерживающую способность магнитожидкостных систем герметизации для любых диаметров валов, в том числе больших, без выброса магнитной жидкости из рабочего зазора и нарушения его технических параметров.
Формула изобретения
1. Устройство неразрушающего контроля максимальной удерживающей способности магнитожидкостных систем герметизации, содержащее камеру повышенного давления, измерители давления, дренажные клапаны с предельно ограниченными объемами, отличающееся тем, что к магнитожидкостному герметизатору пристыкован съемный уплотнительный узел, снабженный измерителем давления и дренажным клапаном, причем внутренние объемы измерителя давления, дренажного клапана и замкнутой полости, образованной испытуемым магнитожидкостным герметизатором, съемным уплотнительным узлом и валом, предельно ограничены.
2. Устройство неразрушающего контроля максимальной удерживающей способности магнитожидкостных систем герметизации по п.1, отличающееся тем, что в качестве съемного уплотнительного узла используется магнитожидкостный герметизатор.
РИСУНКИ
|
|