|
(21), (22) Заявка: 2007147732/28, 20.12.2007
(24) Дата начала отсчета срока действия патента:
20.12.2007
(43) Дата публикации заявки: 27.06.2009
(46) Опубликовано: 27.05.2010
(56) Список документов, цитированных в отчете о поиске:
RU 2310165 С1, 10.11.2006. RU 2123219 C1, 10.12.1998. САРАПУЛОВ С.Л. и др. Инерциальные эффекты в поверхностных и объемных упругих волнах и возможности их использования в твердотельных микрогироскопах. XII Санкт-Петербургская международная конференция по интегрированным навигационным системам, 23-25 мая 2005, с.275-283. US 6984332 В2, 10.01.2006. JP 63277920 А, 15.11.1988.
Адрес для переписки:
195253, Санкт-Петербург, пр. Энергетиков, 54, кор.1, кв.93, В.С. Богословскому
|
(72) Автор(ы):
Богословский Владимир Сергеевич (RU)
(73) Патентообладатель(и):
Богословский Владимир Сергеевич (RU)
|
(54) ПЬЕЗОГИРОСКОП
(57) Реферат:
Изобретение относится к области измерительной техники и может быть использовано в приборостроении и машиностроении для измерения угловой скорости. Пьезогироскоп содержит пластину пьезоэлектрика, на противолежащие стороны которой попарно нанесены контактные шины, электроды драйвера объемных деформаций и электроды чувствительного элемента разности потенциалов. Контактные шины драйвера объемных деформаций и соединенные с ними электроды драйвера объемных деформаций находятся на разных сторонах пластины пьезоэлектрика, а контактные шины чувствительного элемента разности потенциалов и соединенные с ними электроды чувствительного элемента разности потенциалов находятся на одной из сторон пластины пьезоэлектрика. Изобретение позволяет повысить чувствительность измерения угловой скорости. 3 з.п. ф-лы, 1 ил.
Изобретение относится к области приборостроения, а именно к приборам ориентации, навигации и систем управления подвижными объектами, и предназначено для измерения угловой скорости в этих системах.
Известные волоконно-оптические гироскопы и лазерные гироскопы широко используются в инерциальной навигации и в системах наведения. Преимуществом этих гироскопов является достаточно высокая точность. Недостатком этих гироскопов является достаточно высокая стоимость и относительно большие габариты. К областям применения, требующим гироскопов менее дорогих и меньшего размера, относятся: системы автомобильной безопасности (системы против скольжения, системы камер), потребительские товары (видеокамеры, GPS, спортивное оборудование), промышленные товары (роботы, управление оборудованием), медицинские изделия (хирургические инструменты) [Сарапулов С.Л., Скрипновский Г.Н., Рим Д.В. Инерциальные эффекты в поверхностных и объемных упругих волнах и возможности их использования в твердотельных микрогироскопах / XII Санкт-Петербургская международная конференция по интегрированным навигационным системам. 23-25 мая 2005. С.275-283].
Известны микромеханические гироскопы на основе кремния [Сарапулов С.Л., Скрипновский Г.Н., Рим Д.В. Инерциальные эффекты в поверхностных и объемных упругих волнах и возможности их использования в твердотельных микрогироскопах/ XII Санкт-Петербургская международная конференция по интегрированным навигационным системам. 23-25 мая 2005. С.275-283]. Такие гироскопы представляют собой пластину, закрепленную на торсионах и совершающую вынужденные колебания на собственной резонансной частоте. Гироскоп приводится в колебательное движение путем подачи сигнала на драйвер (как правило, электростатический). При внешнем вращении микромеханического гироскопа возникает сила Кориолиса, создающая колебания относительно измерительной оси. При этом зазор между подвижной массой микромеханического гироскопа и основанием изменяется, что приводит к изменению расстояния между электродами и соответствующей емкости. Измеряя изменение величины емкости, можно определить изменение угловой скорости вращения микромеханического гироскопа.
Однако вышеуказанные гироскопы имеют низкую точность и низкую механическую прочность.
Известен также “Виброгироскоп” (Патент РФ 2123219, Н01L 41/08, 1998,12,10), содержащий твердотельный элемент из сегнетоэлектрической керамики с размытым фазовым переходом в виде монолитного стержня с крестообразным поперечным сечением, с двумя парами сплошных и двумя парами встречно-штыревых электродов. Сплошные электроды соединены параллельно и подключены к выходу первого генератора. Встречно-штыревые электроды подключены к частотно-задающим цепям второго и третьего генераторов. Выходы второго и третьего генераторов подключены к входам смесителя, выход которого подключен к входу детектора, а выход детектора подключен к входу индикатора.
Стабильность и помехоустойчивость позволяют применять виброгироскоп в компактных системах навигации и автоматического управления подвижными объектами.
Однако виброгироскоп имеет ограничения по рабочим характеристикам из-за принципа действия, который основан на вибрации подвешенных механических структур. Кроме того, эта подвешенная механическая структура очень чувствительна к внешним ударам и вибрации, т.к. она не может быть жестко присоединена к подложке из-за резонансной вибрации. Это ограничивает диапазон его применения.
Наиболее близким по технической сущности к изобретению является гироскоп [Патент РФ 2310165. “Гироскоп на поверхностных акустических волнах”/ Анцев Г.В., Богословский С. В., Захаревич А.П., Новиков В.В., Сапожников Г.А., Шубарев В.А., 2006].
Гироскоп состоит из пластины (подложки) пьезоэлектрика, выполненной, например, в виде мембраны из кварца. На поверхности пластины пьезоэлектрика в горизонтальном направлении по обе стороны относительно оси сформированы отражающие структуры и встречно-штыревые преобразователи драйвера поверхностных акустических волн, а в поперечном направлении – встречно-штыревые преобразователи чувствительного элемента колебаний поверхностных акустических волн.
В центральной части гироскопа расположены дополнительные инерционные массы. За встречно-штыревыми преобразователями драйвера поверхностных акустических волн нанесены отражающие структуры. Параллельно пластине пьезоэлектрика на расстоянии не более 10 мкм, но без соприкосновения с ней установлено не менее одной полупроводниковой пластины, к которой подключен источник напряжения. Между встречно-штыревыми преобразователями каждого чувствительного элемента колебаний поверхностных акустических волн подключен диод.
Недостатком гироскопа на поверхностных акустических волнах является необходимость использования дополнительных элементов (инерционные массы, полупроводниковая пластина) для рассеивания первичной акустической волны и формирования на этой основе вторичной акустической волны, а также использование встречно-штыревых преобразователей для преобразования вторичной акустической волны в полезный сигнал, что приводит к дополнительным потерям энергии полезного сигнала и к снижению чувствительности устройства-прототипа.
Наличие же на пластине пьезоэлектрика вибрирующих с большой частотой инерционных масс снижает надежность устройства-прототипа.
Задачей настоящего изобретения является повышение чувствительности и надежности при измерениях угловой скорости вращения с использованием пьезоэлектрических устройств.
Техническим результатом является повышение чувствительности и надежности измерений.
Технический результат достигается тем, что в пьезогироскопе содержащем пластину пьезоэлектрика, на противолежащие стороны которой попарно нанесены контактные шины, электроды драйвера объемных деформаций и электроды чувствительного элемента разности потенциалов, (отличающийся тем, что) контактные шины драйвера объемных деформаций и соединенные с ними электроды драйвера объемных деформаций находятся на разных сторонах пластины пьезоэлектрика, а контактные шины чувствительного элемента разности потенциалов и соединенные с ними электроды чувствительного элемента разности потенциалов находятся на одной из сторон пластины пьезоэлектрика, причем электроды драйвера объемных деформаций и электроды чувствительного элемента разности потенциалов расположены на одной прямой линии, а электроды чувствительного элемента разности потенциалов электрически соединены под слоем поглотителя акустических колебаний с контактной шиной чувствительного элемента разности потенциалов, находящейся на той же стороне пластины пьезоэлектрика, что и электроды чувствительного элемента разности потенциалов.
Под действием переменного входного напряжения вдоль длинных сторон электродов драйвера объемных деформаций создаются изменяющиеся во времени объемные деформации пластины пьезоэлектрика. При вращении пластины пьезоэлектрика вокруг оси, перпендикулярной электродам драйвера объемных деформаций, возникают силы Кориолиса, действующие на вибрирующие частицы пластины пьезоэлектрика, являющиеся носителями пьезоэлектрических зарядов, в направлении, параллельном длинным сторонам электродов драйвера объемных деформаций. Под действием сил Кориолиса вибрирующие носители пьезоэлектрических зарядов колеблются вдоль длинных сторон электродов драйвера объемных деформаций, создавая на противоположных концах каждого электрода драйвера объемных деформаций переменную разность потенциалов, параметры которой используются при измерении угловой скорости вращения пластины пьезоэлектрика.
При отсутствии вращения пластины пьезоэлектрика пьезогироскоп представляет собой конденсатор, межэлектродное пространство которого заполнено пьезоэлектриком, и разность потенциалов на контактных шинах чувствительного элемента разности потенциалов равна нулю.
В отличие от устройства-прототипа в пьезогироскопе измеряется не разность потенциалов, создаваемая под действием одновременно разнонаправленных сил Кориолиса всеми пучностями стоячей первичной поверхностной акустической волны на электродах чувствительного элемента вторичной поверхностной акустической волны, а разность потенциалов, образованная под действием одновременно однонаправленных сил Кориолиса, то есть при движении частиц пьезоэлектрика одновременно только в одном направлении вдоль длинных сторон электродов драйвера объемных деформаций, что позволяет повысить показатели чувствительности при измерении угловой скорости пьезоэлектрической пластины.
Другим отличием от прототипа является то, что расстояния между контактными шинами чувствительного элемента разности потенциалов равны апертуре драйвера объемных деформаций, а не как у прототипа, у которого расстояния между электродами встречно-штыревого преобразователя чувствительного элемента вторичной поверхностной акустической волны соответствуют четверти длины волны вторичной поверхностной акустической волны, в той ее части, которая распространяется за пределами апертуры встречно-штыревого преобразователя драйвера первичных поверхностных акустических волн.
Технический результат достигается за счет того, что разности потенциалов вдоль электродов драйвера объемных деформаций образуются в каждый момент времени только под действием однонаправленных сил Кориолиса, что обеспечивает увеличение совокупной разности потенциалов на контактных шинах и тем самым повышение чувствительности измерений по сравнению с устройством-прототипом.
Проведенный заявителем анализ уровня техники установил, что аналоги, характеризующиеся совокупностями признаков, тождественных всем признакам заявленного устройства, отсутствуют, следовательно, заявленное изобретение соответствует условию “новизна”.
В настоящее время автору не известны гироскопы, которые имели бы такую высокую чувствительность и динамический диапазон, подходящий для многих промышленных применений, которые обеспечивает предлагаемая конструкция пьезогироскопа.
Результаты поиска известных технических решений в данной и смежных областях техники с целью выявления признаков, совпадающих с отличительными от прототипов признаками заявленного изобретения, показали, что они не следуют явным образом из уровня техники.
Из определенного заявителем уровня техники не выявлена известность влияния предусматриваемых существенными признаками заявленного изобретения преобразований на достижение указанного технического результата, следовательно, заявленное изобретение соответствует “изобретательскому уровню”.
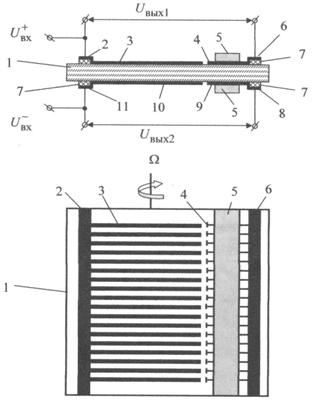
Сущность изобретения поясняется чертежом, где представлена схема пьезогироскопа.
Пьезогироскоп состоит из основания и выполненных на нем контактных шин, электродов драйвера объемных деформаций и электродов чувствительного элемента разности потенциалов.
Основанием пьезогироскопа служит пластина пьезоэлектрика 1, выполненная, например, прямоугольной в плане из ниобата лития толщиной 4 мкм [1]. На двух противолежащих сторонах поверхности пластины пьезоэлектрика 1 сформированы электроды 3 и 10 драйвера объемных деформаций и контактные шины 2, 6, 8 и 11.
Контактные шины 2 и 11 на противолежащих сторонах пластины пьезоэлектрика образуют входной порт, на который подается входное напряжение. Электроды 3 и 10 драйвера объемных деформаций могут быть разнесены, например, на расстояния, определяемые скоростями распространения звука вдоль и поперек пластины пьезоэлектрика соответственно. Величины скоростей распространения звука зависят от свойств пластины пьезоэлектрика [2].
Контактные шины 2 и 6, расположенные на одной из сторон пластины пьезоэлектрика, образуют один из выходных портов, с которого снимается напряжение, используемое для измерения угловой скорости вращения пластины пьезоэлектрика.
Если электроды чувствительного элемента разности потенциалов нанесены на обеих сторонах пластины пьезоэлектрика, то контактные шины 8 и 11 образуют второй выходной порт, с которого снимается разность потенциалов, используемая для измерения угловой скорости вращения пластины пьезоэлектрика.
Электроды 4 (9) чувствительного элемента разности потенциалов соединены с контактными шинами 6 (8) под слоем поглотителя 5 акустических колебаний, который может быть выполнен, например, из резиноподобного клея толщиной 10 мкм, и поджат крышкой корпуса устройства (на фиг.1 не показана) к пластине пьезоэлектрика 1. Наличие поглотителя 5 акустических колебаний позволяет повысить чувствительность пьезогироскопа к изменениям угловой скорости и снизить уровень шумов на контактных шинах чувствительного элемента разности потенциалов.
Устройство работает следующим образом.
На электроды 3 и 10 драйвера объемных деформаций от внешнего генератора (на фиг.1 не показан) через контактные шины 2 и 11 с заданной частотой подаются находящиеся в противофазе входные электрические потенциалы и .
Если пластина пьезоэлектрика 1 выполнена из ниобата лития, то входные потенциалы могут иметь частоту около 1 ГГц.
В результате пьезоэффекта под действием высокочастотной разности потенциалов , и приложенной к пьезоэлектрику, частицы материала пластины пьезоэлектрика 1, расположенные вдоль длинной стороны электродов драйвера объемных деформаций, приходят в вибрационное движение. При появлении внешнего вращения с угловой скоростью основания гироскопа к вибрирующим частицам материала пластины пьезоэлектрика 1 прикладываются силы Кориолиса.
В результате действия сил Кориолиса вибрирующие частицы материала пластины пьезоэлектрика 1 смещаются в направлении действия сил Кориолиса и, в частности, вдоль длинной стороны электродов 3 и 10 драйвера объемных деформаций, изменяя вследствие обратного пьезоэлектрического эффекта распределение электрического потенциала под соответствующими электродами. Так возникает разность потенциалов между контактными шинами 2 и 6 (11 и 8), расположенными на одной из сторон пластины пьезоэлектрика 1.
Разность потенциалов между контактными шинами 2 и 6 (11 и 8) является высокочастотным сигналом и может быть измерена, например, анализатором спектра [1].
По разности потенциалов между контактными шинами 2 и 6 (11 и 8), расположенными на одной из сторон пластины пьезоэлектрика 1, судят о величине угловой скорости вращения пластины пьезоэлектрика 1.
Если основание пьезогироскопа не вращается, силы Кориолиса не возникают, поэтому равна нулю и разность потенциалов между контактными шинами 2 и 6 (11 и 8), расположенными на одной из сторон пластины пьезоэлектрика 1.
Угловую скорость определяют, например, по градуировочной характеристике пьезогироскопа.
Для изготовления основания гироскопа используются также пьезополупроводники, например, типа АIIВIV, при этом значение напряжения между контактными шинами 2 и 6 (8 и 11), расположенными на одной из сторон пластины пьезоэлектрика 1, обусловлено поперечным акустоэлектрическим эффектом, возникающим под действием сил Кориолиса.
Контактные шины 6 и 8 могут быть размещены на изолирующих прослойках 7. Изолирующие прослойки 7 могут быть выполнены, например, из кварца или ниобата лития и приклеены к основанию пьезогироскопа неэлектропроводным резиноподобным клеем [2].
Изолирующие прослойки под контактными шинами 2, 6, 8 и 11 используются для исключения взаимного влияния находящихся на них электрических зарядов и деформаций пластины пьезоэлектрика 1 под соответствующими контактными шинами, что позволяет уменьшить уровень шумов и повысить чувствительность пьезогироскопа.
Таким образом, приведенные сведения доказывают, что при осуществлении заявленного изобретения выполнены следующие условия:
– средство, воплощающее устройство-изобретение при его осуществлении, предназначено для использования в приборостроении, а именно в системах навигации динамических объектов, в системах управления, в том числе в автомобильной промышленности и робототехнике;
– для заявленного изобретения в том виде, как оно охарактеризовано в независимом пункте формулы изобретения, подтверждена возможность его осуществления с помощью описанных и других известных до даты подачи заявки средств;
– средство, воплощающее заявленное изобретение при его осуществлении, способно обеспечить получение указанного технического результата.
Следовательно, заявленное изобретение соответствует условию патентоспособности “промышленная применимость”.
БИБЛИОГРАФИЧЕСКИЕ ДАННЫЕ
1. Морган Д. Устройства обработки сигналов на поверхностных акустических волнах / Пер. с англ. М.: Радио и связь, 1990.
2. Физическая акустика / Под ред. У.Мэзона. М.: Мир, 1969.
Формула изобретения
1. Пьезогироскоп, содержащий пластину пьезоэлектрика, на противолежащие стороны которой попарно нанесены контактные шины, электроды драйвера объемных деформаций и электроды чувствительного элемента разности потенциалов, отличающийся тем, что контактные шины драйвера объемных деформаций и соединенные с ними электроды драйвера объемных деформаций находятся на разных сторонах пластины пьезоэлектрика, а контактные шины чувствительного элемента разности потенциалов и соединенные с ними электроды чувствительного элемента разности потенциалов находятся на одной из сторон пластины пьезоэлектрика, причем электроды драйвера объемных деформаций и электроды чувствительного элемента разности потенциалов расположены на одной прямой линии, а электроды чувствительного элемента разности потенциалов электрически соединены под слоем поглотителя акустических колебаний с контактной шиной чувствительного элемента разности потенциалов, находящейся на той же стороне пластины пьезоэлектрика, что и электроды чувствительного элемента разности потенциалов.
2. Пьезогироскоп по п.1, отличающийся тем, что пластина пьезоэлектрика выполнена из пьезополупроводника.
3. Пьезогироскоп по п.2, отличающийся тем, что контактные шины драйвера объемных деформаций и чувствительного элемента разности потенциалов размещены на изолирующих прослойках.
4. Пьезогироскоп по п.3, отличающийся тем, что электроды и контактные шины чувствительного элемента разности потенциалов размещены на обеих противолежащих сторонах пластины пьезоэлектрика.
РИСУНКИ
|