|
|
(21), (22) Заявка: 2009109734/28, 17.03.2009
(24) Дата начала отсчета срока действия патента:
17.03.2009
(46) Опубликовано: 27.05.2010
(56) Список документов, цитированных в отчете о поиске:
US 6984332 В2, 10.01.2006. SU 1093891 A, 23.05.1984. RU 2296950 C2, 27.02.2006. RU 2335739 C1, 10.10.2008. RU 2310165 C1, 10.11.2007. RU 2123219 C1, 10.12.1998.
Адрес для переписки:
195271, Санкт-Петербург, Кондратьевский пр-кт, 72, ОАО “Авангард”, Бюро по изобретательству и патентной работе
|
(72) Автор(ы):
Калинин Владимир Анатольевич (RU), Лукьянов Валерий Дмитриевич (RU), Шубарев Валерий Антонович (RU), Мельников Владимир Александрович (RU)
(73) Патентообладатель(и):
ОАО “Авангард” (RU)
|
(54) ГИРОСКОП НА ПОВЕРХНОСТНЫХ АКУСТИЧЕСКИХ ВОЛНАХ
(57) Реферат:
Изобретение относится к акустоэлектронным приборам, предназначенным для преобразования угловой скорости вращения объектов в электрический сигнал, и может быть использовано в системах навигации, ориентации и управления подвижными объектами. Гироскоп содержит пластину 1 пьезоэлектрика, на одной стороне которой нанесены регулярная структура 2 инерционных масс, активный встречно-штыревой преобразователь (ВШП) 3 с отражающей структурой 4, возбуждающие ПАВ в одном направлении, и расположенные в перпендикулярном направлении измерительные ВШП 5 и 6 суммарного поля ПАВ от регулярной структуры инерционных масс, состоящего из дифракционных и сигнальных от сил Кориолиса полей ПАВ. Напротив активного ВШП после регулярной структуры инерционных масс на пластину пьезоэлектрика нанесен поглощающий ПАВ слой 7 материала, имеющий коэффициент отражения данной ПАВ, близким к нулю, выполненный в виде клина, острием направленного к регулярной структуре инерционных масс 2. Изобретение позволяет повысить технологичность и эффективность. 1 ил.
Изобретение относится к акустоэлектронным приборам, предназначенным для преобразования угловой скорости вращения объектов в электрический сигнал, и может быть использовано в системах навигации, ориентации и управления подвижными объектами.
Известен также «Виброгироскоп» [3] – (Патент РФ 2123219, H01L 41/08, 1998.12.10), содержащий твердотельный элемент из сегнетоэлектрической керамики с размытым фазовым переходом, в виде монолитного стержня с крестообразным поперечным сечением, с двумя парами сплошных и двумя парами встречно-штыревых электродов. Сплошные электроды соединены параллельно и подключены к выходу первого генератора. Встречно-штыревые электроды подключены к частотно-задающим цепям второго и третьего генераторов. Выходы второго и третьего генераторов подключены к входам смесителя, выход которого подключен к входу детектора, а выход детектора подключен к входу индикатора. Стабильность и помехоустойчивость позволяют применять виброгироскоп в компактных системах навигации и автоматического управления подвижными объектами. Однако этот гироскоп имеет ограничения по рабочим характеристикам из-за принципа действия, который основан на вибрации подвешенных механических структур. Кроме того, эта подвешенная механическая структура очень чувствительна к внешним ударам и вибрации, т.к. она не может быть жестко присоединена к подложке из-за резонансной вибрации. Это ограничивает диапазон его применения.
Известен «Гироскоп на поверхностных акустических волнах» [4] – (Патент РФ 2310165, G01C 19/56, G01P 9/04, 2007.11.10), содержащий пластину пьезоэлектрика, на которую нанесены встречно-штыревые преобразователи (ВШП) поверхностно-акустических волн (ПАВ) и ВШП чувствительного элемента колебаний ПАВ, отражающие структуры расположены за пределами ВШП, параллельно пластине пьезоэлектрика на расстоянии не более 10 мкм и без соприкосновения с ней установлена полупроводниковая пластина, к которой подключен источник напряжения, а между ВШП чувствительного элемента колебаний ПАВ подключено не менее одного диода, при этом пластина пьезоэлектрика может быть выполнена в виде мембраны. В устройстве используется эффект усиления ультразвуковой резонансной частоты. Наличие тока в полупроводнике, расположенном в непосредственной близости от пластины пьезоэлектрика, приводит к увеличению амплитуды колебаний [5], а диоды выделяют удвоенную частоту. Однако выделение диодами при работе вышеприведенного устройства удвоенной частоты с практической точки зрения малоэффективно. Кроме того, затруднительно размещение полупроводниковой пластины на расстоянии 10 мкм, тем более мембраны при напряжении на ней 100 и более вольт. Из-за высокого напряжения будут существенно увеличены электромагнитные паразитные сигналы (наводки) на ВШП чувствительного элемента колебаний ПАВ, что также будет увеличивать уровень нулевого сигнала (шума). Поэтому данное устройство будет обладать низкой чувствительностью, надежностью и точностью при существенных трудностях в технологии его изготовления.
Известен «Чувствительный элемент гироскопа на поверхностных акустических волнах» [6] – (Патент РФ 2335739, G01C 19/56, G01P 9/04, 2008.10.10), содержащий пластину пьезоэлектрика, на одной стороне которой сформированы ВШП драйвера ПАВ и отражающие структуры для первичной ПАВ, расположенные за пределами ВШП драйвера ПАВ, а также ВШП чувствительного элемента колебании ПАВ, которые расположены в области наибольшей чувствительности к угловой скорости вращения пластины пьезоэлектрика, на одной из сторон пластины пьезоэлектрика между ВШП драйвера ПАВ на пути распространения ПАВ, формируемых ВШП драйвера ПАВ, образованы дополнительные структуры в виде канавок, которые могут иметь сквозные отверстия в пластине пьезоэлектрика, при этом ВШП чувствительного элемента колебаний ПАВ и канавки могут быть расположены как на одной, так и по разным сторонам пластины пьезоэлектрика, расположение ВШВ ПАВ и ВШП чувствительного элемента колебаний ПАВ может быть или параллельным, или перпендикулярным друг другу. Увеличение амплитуды колебаний ПАВ достигается формированием канавок на поверхности одной из сторон пластины пьезоэлектрика. Наличие канавок позволяет уменьшить жесткость в направлении распространения вторичной волны. Однако многовариантность возможного выполнения известного устройства, заявленная в формуле изобретения, не позволяет в полной мере применить известный математический аппарат расчета устройства (для его изготовления и применения), и, как следствие, практическое его внедрение затруднительно и проблематично. Кроме того, для изготовления канавок необходимо сложное оборудование, что существенно повышает стоимость и сложность изготовления устройства. Канавки и сквозные отверстия в пластине пьезоэлектрика будут являться концентраторами механических напряжений, что в свою очередь приведет к снижению надежности, возникновению паразитных эффектов (возбуждению объемных волн) и сокращению сроков эксплуатации устройства.
В качестве прототипа заявляемого технического решения выбран гироскоп “Микроэлектромеханический гироскоп” [7] – (Патент US 6,984,332 В2, H01L 21/00, G01P 3/00, 2006.01.10, V.K.Varadan, Pascal В. Xavier, William D. Suh, Jose A. Kollakompil, Vasundara V.Varadan.), содержащий пластину пьезоэлектрика, на одной из сторон которой регулярная структура инерционных масс нанесена в шахматном порядке и в пучностях стоячей ПАВ, возбуждаемой в одном направлении активными ВШП с отражающими структурами, и расположенные в перпендикулярном направлении измерительные ВШП суммарного поля ПАВ от регулярной структуры инерционных масс, состоящего из дифракционных и сигнальных от сил Кориолиса полей ПАВ.
Регулярная структура масс колеблется под воздействием стоячих ПАВ, которые возбуждаются активными ВШП, и при повороте гироскопа под воздействием силы Кориолиса регулярная структура инерционных масс возбуждает вторичную ПАВ, принимаемую измерительными ВШП в перпендикулярном направлении. Граница применимости такого гироскопа по воздействию на него линейного ускорения лежит за 1000 g. Однако данному гироскопу-прототипу, теоретически реализуемому, присущ один недостаток – он малочувствителен, так как величина К, равная отношению амплитуды сигнала на измерительных ВШП при изменении параметров колебаний регулярной структуры инерционных масс от вращения гироскопа к амплитуде сигнала на измерительных ВШП без вращения имеет значение порядка 0,00001, что препятствует использованию этого устройства на практике:

к – амплитуда сигнала на измерительных ВШП при изменении параметров колебаний регулярной структуры инерционных масс от вращения гироскопа;
– амплитуда сигнала на измерительных ВШП без вращения;
– угловая скорость вращения гироскопа;
– круговая частота колебаний регулярной структуры инерционных масс;
– циклическая частота колебаний регулярной структуры инерционных масс.
Другими словами, отношение сигнал/шум на измерительных ВШП устройства является крайне низким и требует очень чувствительной регистрирующей аппаратуры.
Кроме того, нанесение элементов регулярной структуры инерционных масс так, чтобы они находились в пучностях стоячей ПАВ, практически не возможно, при этом нарушается синхронность их колебаний, что в целом существенно снижает чувствительность устройства и диапазон применения его рабочих температур. Дополнительно процесс настройки устройства-прототипа на стоячих ПАВ затруднителен, его работа неустойчива и, следовательно, ненадежна. Все эти недостатки в целом значительно снижают эффективность устройства-прототипа.
Таким образом, для устранения нескольких основных недостатков гироскопа на ПАВ, а именно: повышения чувствительности за счет полноценного задействования всех элементов регулярной структуры инерционных масс; существенного упрощения технологии изготовления; удешевления производства; существенного упрощения принципа (алгоритма) его работы; упрощения настройки; и существенного повышения надежности работы – предлагается вместо стоячей ПАВ использовать бегущую ПАВ. При этом бегущая ПАВ возбуждается с одной стороны активными ВШП с отражающими структурами, а с другой стороны утилизируется поглощающим ПАВ слоем материала, имеющим коэффициент отражения данной ПАВ, близким к нулю. Такое решение позволит абсолютно всем элементам регулярной структуры инерционных масс колебаться с максимальной амплитудой бегущей ПАВ в независимости от точности их расположения.
Указанная задача (сущность изобретения) решается тем, что в гироскопе на ПАВ, содержащем пластину пьезоэлектрика, на одной стороне которой нанесены регулярная структура инерционных масс, активный ВШП с отражающей структурой, возбуждающей ПАВ в одном направлении, и расположенные в перпендикулярном направлении измерительные ВШП суммарного поля ПАВ от регулярной структуры инерционных масс, состоящего из дифракционных и сигнальных от сил Кориолиса полей ПАВ, напротив активного ВШП после регулярной структуры инерционных масс на пластину пьезоэлектрика нанесен поглощающий ПАВ слой материала, имеющий коэффициент отражения данной ПАВ, близким к нулю, причем поглощающий ПАВ слой материала выполнен в виде клина, вершина которого направлена к регулярной структуре инерционных масс.
Повышение чувствительности устройства происходит за счет полноценного задействования всех элементов регулярной структуры инерционных масс, так как при прохождении бегущей ПАВ все эти элементы будут выполнять колебательные движения с максимальной амплитудой ПАВ.
Существенное упрощение технологии изготовления устройства происходит из-за снижения требований к точности размещения элементов регулярной структуры инерционных масс, что также значительно удешевляет его производство.
Упрощение функционирования гироскопа на ПАВ, а также его настройки происходит из-за того, что параметры бегущей ПАВ не требуют точного согласования с геометрией расположения масс.
Существенное повышение надежности работы определяется стабильностью функционирования устройства на бегущей ПАВ.
Введение «поглощающего ПАВ слоя, имеющего коэффициент отражения данной ПАВ, близким к нулю» необходимо для обеспечения полного поглощения бегущей ПАВ после прохождения регулярной структуры инерционных масс.
Выполнение «поглощающего ПАВ слоя материала в виде клина, вершина которого направлена к регулярной структуре инерционных масс» необходимо для исключения отражения бегущей ПАВ от границы нанесения поглощающего ПАВ слоя материала.
Выполнение гироскопа на ПАВ в совокупности с вышеизложенным набором ограничительных и отличительных признаков является неизвестным для данного класса устройств, и, следовательно, соответствует критерию «новизна».
Вышеприведенная совокупность отличительных признаков неизвестна на данном уровне развития техники и не следует из общеизвестных правил конструирования гироскопов на ПАВ, что доказывает соответствие критерию «изобретательский уровень».
Конструктивная реализация предложенного устройства с указанной совокупностью признаков формулы не представляет никаких конструктивно-технических и технологических трудностей, откуда следует соответствие критерию «промышленная применимость».
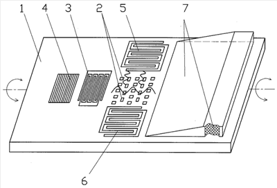
На чертеже представлен внешний вид гироскопа на ПАВ.
Гироскоп, содержит пластину 1 пьезоэлектрика, на одной стороне которой нанесены регулярная структура 2 инерционных масс, активный ВШП 3 с отражающей структурой 4, возбуждающие ПАВ в одном направлении, и расположенные в перпендикулярном направлении измерительные ВШП 5 и 6 суммарного поля ПАВ от регулярной структуры инерционных масс, состоящего из дифракционных и сигнальных от сил Кориолиса полей ПАВ. Напротив активного ВШП после регулярной структуры инерционных масс на пластину пьезоэлектрика нанесен поглощающий ПАВ слой 7 материала, имеющий коэффициент отражения данной ПАВ, близким к нулю, причем поглощающий ПАВ слой материала выполнен в виде клина, вершина которого обращена к регулярной структуре инерционных масс.
Гироскоп работает следующим образом. Активный ВШП 3 возбуждает на поверхности пластины пьезоэлектрика 1 бегущую ПАВ, которая приводит в движение регулярную структуру 2 инерционных масс, расположенных на поверхности пластины 1, а поглощающий ПАВ слой материала утилизирует энергию прошедшей через регулярную структуру 2 инерционных масс бегущей ПАВ. При наличии угловой скорости объекта, на котором размещен гироскоп (при его вращении вокруг оси, указанной на фиг.1), происходят дополнительные возмущения регулярной структуры 2 инерционных масс за счет воздействия на них силы Кориолиса в направлении, перпендикулярном оси чувствительности (вращения) гироскопа, в котором расположены измерительные ВШП 5 и 6, преобразующие энергию полезных ПАВ в электрический сигнал. Бегущая ПАВ после прохождения регулярной структуры 2 инерционных масс входит в поглощающий ПАВ слой 7 материала, имеющий коэффициент отражения данной ПАВ, близким к нулю, и полностью в нем гасится. Исключение отражения фронта бегущей ПАВ от границы нанесения поглощающего ПАВ слоя 7 материала в сторону пластины 1 обеспечивается выполнением слоя 7 в виде клина, вершина которого направлена в сторону регулярной структуры 2 инерционных масс.
Таким образом, первичные вынужденные колебания регулярной структуры 2 инерционных масс происходят только под действием бегущей ПАВ, чем обеспечиваются стабильность и надежность работы устройства.
Литература
1. Морган Д. Устройства обработки сигналов на поверхностных акустических волнах / Пер. с англ. М.: Радио и связь, 1990.
3. Патент РФ 2123219, H01L 41/08, 1998.12.10.
4. Патент РФ 2310165, G01C 19/56, G01P 9/04, 2007.11.10.
5. Морган Д. Устройства обработки сигналов на поверхностных акустических волнах./ Пер. с англ. М.: Радио и связь, 1990.
6. Патент РФ 2335739, G01C 19/56, G01P 9/04, 2008.10.10.
7. Патент US 6984332 В2, H01L 21/00, G01P 3/00, 2006.01.10, V.K.Varadan, Pascal В. Xavier, William D. Sim, Jose A. Kollakompil, Vasundara V.Varadan. / “Микроэлектромеханический гироскоп” – прототип.
Формула изобретения
Гироскоп на поверхностных акустических волнах (ПАВ), содержащий пластину пьезоэлектрика, на одной из сторон которой нанесены регулярная структура инерционных масс, активный встречно-штыревой преобразователь (ВШП) с отражающей структурой, возбуждающие ПАВ в одном направлении, и расположенные в перпендикулярном направлении измерительные ВШП суммарного поля ПАВ от регулярной структуры инерционных масс, состоящего из дифракционных и сигнальных от сил Кориолиса полей ПАВ, причем напротив активного ВШП после регулярной структуры инерционных масс на пластину пьезоэлектрика нанесен поглощающий ПАВ слой материала, имеющий коэффициент отражения данной ПАВ близким к нулю, отличающийся тем, что поглощающий ПАВ слой материала выполнен в виде клина, острием направленного к регулярной структуре инерционных масс.
РИСУНКИ
|
|