|
|
(21), (22) Заявка: 2009106208/28, 25.02.2009
(24) Дата начала отсчета срока действия патента:
25.02.2009
(46) Опубликовано: 27.05.2010
(56) Список документов, цитированных в отчете о поиске:
FR 2773775 A1, 23.07.1999. RU 2334196 C1, 20.09.2008. RU 2335737 C1, 10.10.2008. RU 2332641 C1, 27.08.2008. ФИЗИЧЕСКИЙ ЭНЦИКЛОПЕДИЧЕСКИЙ СЛОВАРЬ. – М.: Советская энциклопедия, 1983, с.126-127. DE 3412642 A1, 11.10.1984.
Адрес для переписки:
105203, Москва, ул. Первомайская, 100, кв.132, Б.Ф. Кочеткову
|
(72) Автор(ы):
Кочетков Борис Федорович (RU)
(73) Патентообладатель(и):
Кочетков Борис Федорович (RU)
|
(54) ГИРОСКОПИЧЕСКОЕ УСТРОЙСТВО
(57) Реферат:
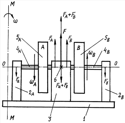
Изобретение относится к гироскопическим устройствам и может быть использовано преимущественно на средствах передвижения, в частности, содержащих, гироскопы с массивными роторами. Роторы 5A и 5B с противоположными направлениями вращения размещают последовательно вдоль линии O-O осей на осях 4A и 4B, связанных с боковыми опорами 2A и 2B и общей центральной опорой 3. Каждый из роторов расположен на своей оси асимметрично относительно опор оси с меньшим расстоянием от каждого из роторов до центральной опоры по сравнению с расстоянием от каждого из роторов до боковой опоры оси. При этом на центральную опору гироскопические силы действуют совместно в одном направлении со стороны обоих роторов, а на каждую из боковых опор гироскопическая сила действует только со стороны одного из роторов. Изобретение позволяет расширить область применения гироскопического устройства. 1 ил.
Изобретение относится к гироскопическим устройствам. Может быть использовано преимущественно на средствах передвижения.
Известен гироскоп, содержащий основание с опорами для концов оси и размешанный на оси ротор. При вынужденном вращении основания вокруг оси, образующей угол с осью ротора, на опоры со стороны ротора действует перпендикулярно к его оси пара гироскопических сил (см. “Физический энциклопедический словарь”. Под редакцией А.М.Прохорова. – М.: “Советская энциклопедия”, стр.126/3).
У указанного и аналогичных ему гироскопов практически уже использованы возможности для существенной их модернизации и соответствующего расширения при этом области их применения.
Предлагаемое изобретение позволяет получить технический результат, заключающийся в создании в гироскопическом устройстве системы сил, обеспечивающей возможность расширения области применения гироскопического устройства и придания ему новых свойств.
Гироскопическое устройство, обеспечивающее получение указанного технического результата, содержит основание с вертикально закрепленными на нем опорами для концов оси и расположенный на оси ротор. При вынужденном вращении основания вокруг оси, образующей угол с осями ротора, на опоры со стороны ротора действуют перпендикулярно к его оси гироскопические силы, направленные в противоположные стороны относительно друг друга. Согласно изобретению применяются последовательно размещенные на одной линии осей два независимых друг от друга одинаковых ротора с противоположными направлениями вращения. Ось каждого ротора связана с боковой и центральной опорами, последняя из которых установлена между роторами на равном расстоянии от них и является общей для осей обоих роторов. Каждый из роторов расположен на своей оси асимметрично относительно опор оси с меньшим расстоянием от каждого из роторов до центральной опоры по сравнению с расстоянием от каждого из роторов до боковой опоры оси, при этом на центральную опору гироскопические силы действуют совместно в одном направлении со стороны обоих роторов, а на каждую из боковых опор гироскопическая сила действует только со стороны одного из роторов.
На приведенном чертеже дан общий вид гироскопического устройства с показом направления вращения роторов А и В и вынужденного вращения основания гироскопического устройства, а также действующих на опоры осей со стороны роторов А и В гироскопических сил FA, FB, Fa, Fb.
Гироскопическое устройство содержит основание 1 с вертикально закрепленными на нем опорами 2A, 2B, 3 для концов осей 4A и 4B и размещенные на этих осях два одинаковых ротора 5A и 5B с противоположными направлениями вращения A и B. Роторы и их оси размещены последовательно на одной линии O-O осей независимо друг от друга. Ось 4A или 4B каждого из роторов 5A и 5B связана со своей боковой 2A или 2B и общей центральной 3 опорами, последняя из которых установлена между роторами на равном расстоянии от них. Каждый из роторов расположен на своей оси асимметрично относительно опор оси с меньшим расстоянием от каждого из роторов до общей для них центральной опоры 3 по сравнению с большим расстоянием от каждого из роторов 5А и 5В до соответствующей боковой опоры 2А или 2В его оси. При этом на центральную опору 3 осей со стороны обоих роторов действует в одном направлении сумма сил FA и FB по сравнению с единичными гироскопическими силами Fа или Fв, действующими со стороны каждого из роторов на соответствующую боковую опору его оси.
Гироскопическое устройство работает следующим образом.
При вынужденном вращении основания 1 гироскопического устройства вокруг оси М-М, образующей угол с линией О-О осей роторов, на опоры 2А, 2В и 3 и основание 1 со стороны соответствующего ротора действуют перпендикулярно к его оси гироскопические силы FA, Fa и FB, Fв, направленные в противоположные стороны относительно друг друга. В связи с противоположными направлениями вращения роторов 5а и 5в на центральную опору 3 совместно действуют в одном направлении гироскопические силы FA и FB со стороны обоих роторов, а на каждую. из боковых опор 2A и 2B со стороны соответствующего ротора 5A или 5B действует отдельно гироскопическая сила Fa или Fb. Указанный характер действия гироскопических сил на центральную 3 и боковые опоры 2A и 2B обеспечивает осуществление заданного технического результата.
Формула изобретения
Гироскопическое устройство, содержащее основание с закрепленными на нем опорами для концов оси и размещенный на оси ротор, при вынужденном вращении основания вокруг оси, образующей угол с осью ротора, на опоры со стороны ротора действуют перпендикулярно к его оси гироскопические силы, направленные в противоположные стороны относительно друг друга, отличающееся тем, что применяются последовательно размещенные на одной линии осей два независимых друг от друга одинаковых ротора с противоположными направлениями вращения, ось каждого ротора связана с боковой и центральной опорами, последняя из которых установлена между роторами на равном расстоянии от них и является общей для осей обоих роторов, каждый из роторов расположен на своей оси асимметрично относительно опор оси с меньшим расстоянием от каждого из роторов до центральной опоры по сравнению с расстоянием от каждого из роторов до боковой опоры оси, при этом на центральную опору гироскопические силы действуют совместно в одном направлении со стороны обоих роторов, а на каждую из боковых опор гироскопическая сила действует только со стороны одного из роторов.
РИСУНКИ
|
|