|
|
(21), (22) Заявка: 2008117840/02, 07.05.2008
(24) Дата начала отсчета срока действия патента:
07.05.2008
(43) Дата публикации заявки: 20.11.2009
(46) Опубликовано: 27.05.2010
(56) Список документов, цитированных в отчете о поиске:
RU 2235266 C1, 27.08.2004. RU 2239143 C1, 27.10.2004. US 5194678 A, 16.03.1993.
Адрес для переписки:
125319, Москва, ул. Красноармейская, 27, кв.63, П.А. Борисову
|
(72) Автор(ы):
Борисов Петр Анатольевич (RU)
(73) Патентообладатель(и):
Борисов Петр Анатольевич (RU)
|
(54) СТАНОК ДЛЯ АВТОМАТИЧЕСКОГО ОРУЖИЯ
(57) Реферат:
Изобретение относится к станкам для автоматического оружия. Станок состоит из корпуса и поворотной люльки для оружия. В нем применен двухскоростной механизм наведения оружия, состоящий из горизонтального секторного зубчатого элемента на поворотной люльке, качающегося вкладыша с посадочным гнездом для оружия и вертикально расположенным зубчатым элементом и рычага с вертикально расположенным зубчатым элементом, имеющим возможность взаимодействия с вертикально расположенным зубчатым элементом качающегося вкладыша. Кроме того, на рычаге выполнены два подпружиненных зацепа, один из которых имеет возможность зацепления с вертикальным зубчатым элементом качающегося вкладыша, а другой – с горизонтальным зубчатым элементом, расположенным на корпусе станка. На рычаге выполнена подпружиненная клавиша, взаимодействующая с подпружиненными зацепами для их выхода из зацепления с зубчатыми элементами. На рычаге выполнены два регулирующих винта, один из концов которого имеет возможность контакта с подпружиненными зацепами таким образом, что между концами подпружиненных зацепов и выступами зубчатых элементов сохраняется зазор. Обеспечивается возможность стрельбы по быстроперемещающимся целям. 2 ил.
Изобретение относится к области оружейной техники, в частности к станковым пулеметам.
Известна конструкция станка Степанова для пулемета ПК с устройством наведения пулемета с помощью вертлюжно-секторного механизма /Бабак Ф.К. Пулеметы. – М.: ООО “Издательство ACT”, 2006 г., стр.257-259, 287-292, 310-316/. Недостатком этой конструкции является ее сложность, длительность процедуры перенацеливания и сложность ведения огня по быстродвижущимся целям, в частности летательным аппаратам.
Задачей изобретения является создание пулеметного станка с простым и эффективным устройством точной наводки, дающим возможность вести эффективную стрельбу по воздушным целям за счет применения двухскоростного механизма наведения, в котором перемещение тела пулемета в обоих плоскостях осуществляется с помощью рычага, а его фиксация в заданном положении с помощью подпружиненных зацепов, с включением в конструкцию механизма регулировки искусственного рассеивания, состоящего из двух винтов, перемещающихся по винтовым пазам в корпусе станка и взаимодействующих с подпружиненными зацепами, благодаря чему осуществляется регулировка зазора между телом пулемета и корпусом станка.
Сущность изобретения состоит в создании станка для автоматического оружия, состоящего из корпуса, ног и люльки для тела оружия, отличающегося применением двухскоростного механизма наведения оружия, состоящего из поворотной люльки с горизонтальным секторным зубчатым элементом, качающегося вкладыша с посадочным гнездом для тела пулемета и вертикально расположенным зубчатым элементом и рычага с вертикально расположенным зубчатым элементом, имеющем возможность взаимодействия с вертикально расположенным зубчатым элементом качающегося вкладыша, наличием на рычаге двух подпружиненных зацепов, один из которых имеет возможность контакта с вертикальным зубчатым элементом качающегося вкладыша, другой имеет возможность контакта с горизонтальным зубчатым элементом, расположенным на корпусе станка, наличием на рычаге подпружиненной клавиши, имеющей возможность взаимодействия с подпружиненными зацепами таким образом, что зацепы выходят из зацепления с зубчатыми элементами, наличием на рычаге двух регулирующих винтов, один из концов которого имеет возможность контакта с подпружиненными зацепами таким образом, что между концами подпружиненных зацепов и выступами зубчатых элементов сохраняется зазор.
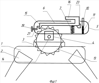
На Фиг.1 станок изображен в боковой проекции, на фиг.2 станок изображен в верхней проекции.
Изобретение состоит из корпуса станка /1/, ног станка /2/, поворотной люльки /3/, качающегося вкладыша /4/, рычага наведения /5/, вертикального зацепа /6/, пружины вертикального зацепа /7/, горизонтального зацепа /8/, пружины горизонтального зацепа /9/, клавиши /10/, пружины клавиши /11/. Корпус станка имеет секторный зубчатый элемент /12/, качающийся вкладыш /4/ имеет вертикальный зубчатый элемент /13/, рычаг наведения /5/ имеет ось /14/. Вертикальный /6/ и горизонтальный /8/ зацепы выполнены в виде трехплечих качающихся рычагов, чьи концы /15/ и /17/ имеют возможность сцепления с зубчатыми элементами /13/ и /12/, концы /23/ и /24/ имеют возможность контакта с клавишей /10/, а концы /16/ и /18/ выходят наружу через пазы в стенках рычага наведения /5/, внутри которого расположены зацепы /6/ и /8/. На рычаге /5/ имеются регулирующие винты /19/ и /20/, концы которых имеют возможность контакта с выступами /21/ и /22/ зацепов /6/ и /8/.
Наведение оружия осуществляется следующим образом: при охвате рычага наведения /5/ рукой стрелка концы /16/ и /18/ зацепов /6/ и /8/ автоматически утапливаются внутрь рукоятки /5/, в результате чего концы /15/ и /17/ зацепов /6/ и /8/ выходят из зацепления с зубчатыми элементами /12/ и /13/, а концы /16/ и /18/ сохраняют возможность сцепления с упомянутыми зубчатыми элементами. В дальнейшем наведение оружия осуществляется путем изменения положения рычага наведения/5/, который взаимодействует с качающимся вкладышем /4/ с помощью зубчатых элементов /13/ и /14/, при этом, проходя каждый выступ вертикального и горизонтального зубчатого элемента, тело оружия преодолевает сопротивление пружин /7/ и /9/, что обеспечивает возможность точного наведения с малой скоростью.
Для перехода в режим быстрой наводки следует нажать клавишу /10/, что приведет к расцеплению зубчатых элементов/12/ и /13/ и выступов /15/ и /17/ зацепов /6/ и /8/ и к устранению сопротивления пружин /7/ и /9/. В таком режиме оружие может вести огонь по быстродвижущимся целям или с движущейся платформы. После того как стрелок убирает руку с клавиши /10/ на рычаге наведения /5/, зацепы /6/ и /8/ под действием своих пружин /7/ и /9/ автоматически приходят в положение, при котором их выступы /15/ и /17/ сцепляются с зубчатыми элементами /12/ и /13/, фиксируя оружие в заданном положении.
Формула изобретения
Станок для автоматического оружия, содержащий поворотную люльку и механизм наведения оружия, отличающийся тем, что механизм наведения оружия выполнен двухскоростным и состоит из горизонтального секторного зубчатого элемента на поворотной люльке, качающегося вкладыша с посадочным гнездом для оружия и с вертикально расположенным зубчатым элементом, и рычага с вертикально расположенным зубчатым элементом, выполненным с возможностью взаимодействия с вертикально расположенным зубчатым элементом качающегося вкладыша, с двумя подпружиненными зацепами, один из которых выполнен с возможностью зацепления с вертикальным зубчатым элементом качающегося вкладыша, а другой – с горизонтальным зубчатым элементом, подпружиненной клавишей, взаимодействующей с подпружиненными зацепами для вывода их из зацепления с зубчатыми элементами, и двумя регулирующими винтами, один из концов каждого из которых контактирует с подпружиненными зацепами для образования между концами зацепов и выступами зубчатых элементов зазора.
РИСУНКИ
|
|