|
|
(21), (22) Заявка: 2007134444/06, 04.01.2006
(24) Дата начала отсчета срока действия патента:
04.01.2006
(30) Конвенционный приоритет:
15.02.2005 FI 20050168
(43) Дата публикации заявки: 27.03.2009
(46) Опубликовано: 27.05.2010
(56) Список документов, цитированных в отчете о поиске:
FR 1425125 A, 14.01.1966. US 2513056 A, 27.06.1950. SU 1793164 A1, 08.04.1991. SU 1455165 A1, 30.01.1989. SU 1395564 A2, 15.05.1988.
(85) Дата перевода заявки PCT на национальную фазу:
17.09.2007
(86) Заявка PCT:
FI 2006/000006 20060104
(87) Публикация PCT:
WO 2006/087410 20060824
Адрес для переписки:
129090, Москва, ул. Б.Спасская, 25, стр.3, ООО “Юридическая фирма Городисский и Партнеры”, пат.пов. А.В.Мицу
|
(72) Автор(ы):
ХЯННИНЕН Хейкки (FI)
(73) Патентообладатель(и):
ФЛЭКТ ВУДЗ АБ (SE)
|
(54) СПОСОБ ФОРМИРОВАНИЯ КРЕПЕЖНЫХ ЭЛЕМЕНТОВ ЧАСТИ КОРПУСА ВЕНТИЛЯЦИОННОЙ РЕШЕТКИ И КРЕПЕЖНЫЙ ЭЛЕМЕНТ ЧАСТИ КОРПУСА ВЕНТИЛЯЦИОННОЙ РЕШЕТКИ
(57) Реферат:
Способ предназначен для формирования крепежных элементов на внешней стороне корпуса вентиляционной решетки, причем крепежные элементы предназначены для крепления корпуса решетки в вентиляционном канале. Способ включает в себя этап производства корпуса распределителя из, по существу, чистого листового металла технологией глубокой вытяжки в его окончательную форму заготовки, затем нижнюю часть заготовки корпусной детали срезают для образования отверстия для воздушного потока в корпусе распределителя. Затем удаляют отрезаемую часть из нижней части в виде оставляемых в корпусе решетки двух или более полос, которые впоследствии отгибают через кромку части корпуса решетки, и таким образом формируют крепежные элементы. Технический результат – повышение надежности и упрощение изготовления. 2 н. и 1 з.п. ф-лы, 8 ил.
Настоящее изобретение относится к способу формирования крепежных элементов на внешней стороне корпуса вентиляционной решетки, крепежные элементы предназначены для фиксации корпуса решетки в вентиляционном канале, таким образом, предложенный способ включает изготовление корпуса решетки из, по существу, чистого листа металла методом глубокой вытяжки в окончательную форму заготовки, после чего нижняя часть части корпуса заготовки срезается для образования отверстия для воздушного потока в корпусе решетки. Изобретение также относится к крепежному элементу части корпуса вентиляционной решетки.
В данном контексте вентиляционная решетка может также быть впускной вентиляционной решеткой или выпускной вентиляционной решеткой, такой как те, которые обычно используются для внутренней вентиляции, например, зданий. Строго следуя определению, впускная вентиляционная решетка впускает воздух в помещение, в то время как выпускная вентиляционная решетка высасывает воздух из него. Обычно такой тип вентиляционных решеток расположен на стене комнаты или потолке как завершающий элемент вентиляционного канала. Решетка содержит корпус, устанавливаемый в окончание вентиляционного канала и крышку, прикрепляемую к корпусу решетки.
Настоящее изобретение, в частности, относится к способу присоединения к вентиляционному каналу корпуса вентиляционной решетки, имеющего конструкцию, подобную описанной выше. Более точно изобретение относится к таким способам соединения, которые имеют два или более крепежных элемента со стороны корпуса решетки, таким образом, элементы служат для установки корпуса решетки на место, поскольку корпус решетки устанавливается при помощи вращения, заставляя элементы скользить вдоль углублений, нанесенных по спирали на внутренней стенке вентиляционного канала. В известных способах крепежные элементы были выполнены как раздельные элементы, которые могут быть присоединены к корпусу решетки, например, посредством сварки. Недостатками такого способа являются дополнительные этапы работы. Они включают в себя, среди прочих, первый этап по производству крепежного элемента и последующий этап установки их на место.
Задача настоящего изобретения заключается в создании способа формирования крепежных элементов на корпусе вентиляционной решетки, отличающегося от известных ранее способов. Способ, согласно изобретению, отличается тем, что отрезаемую часть убирают из нижней части, оставляя на части корпуса решетки две или более полос, которые затем загибают через кромку части корпуса решетки, таким образом, формируя крепежные элементы.
Предпочтительный вариант реализации изобретения отличается тем, что количество крепежных элементов равно двум, и они расположены, главным образом, на противоположных сторонах относительно друг друга.
Дополнительная задача изобретения заключается в создании крепежного элемента корпуса вентиляционной решетки, который расположен на внешней стороне корпуса решетки по краям и который выполнен с возможностью прикрепления корпуса вентиляционной решетки к внутренней стене вентиляционного канала, причем крепежный элемент дополнительно содержит по меньшей мере выступающий штекер, загнутый наружу. Крепежный элемент, согласно изобретению, отличается тем, что элемент выполнен из одной заготовки с корпусом решетки.
Преимущество изобретения заключается в существенной экономии материала и сокращении времени производства, поскольку можно избежать изготовления одного элемента и соединения отдельных элементов.
В дальнейшем изобретение описано более подробно на примере предпочтительного варианта реализации со ссылками на приложенные чертежи, на которых изображено:
на Фиг.1 – заготовка из листового металла, используемая для создания корпуса вентиляционной решетки методом глубокой вытяжки;
на Фиг.2 и 3 – корпус вентиляционной решетки, выполненной методом глубокой вытяжки, вид с двух различных сторон;
на Фиг.4, 5 и 6 – изготовленный глубокой вытяжкой и обрезанный корпус вентиляционной решетки, вид с разных сторон; и
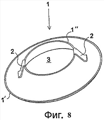
на Фиг.7 и 8 – корпус вентиляционной решетки, вид с двух различных сторон после того, как крепежные элементы изгибаются и принимают окончательную форму.
На Фиг.1 показана заготовка из листового металла, вырезанная по окружности, из которой может быть изготовлен корпус 1 вентиляционной решетки. Также возможно и даже часто экономически целесообразнее выбирать заготовку из листового металла, имеющую квадратную или многоугольную форму, например восьмиугольник. Механическую обработку выполняют глубоким вытягиванием заготовки в требуемую форму (Фиг.2). Корпус решетки содержит передний фланец 1′ и часть канала 1”. На этапе производства, показанном на Фиг.2, часть канала еще не обработана. На Фиг.3 показан тот же самый элемент, что и на Фиг.2, но вид со стороны части канала 1”. После установки корпуса решетки 1 на место в стене комнаты или на потолке в качестве завершающего элемента вентиляционного канала, передний фланец 1′ корпуса решетки 1 устанавливается вровень с поверхностью стены или потолка, в то время, как часть канала 1” имеет форму такую, чтобы она разместилась внутри вентиляционного канала. На данной стадии производства корпусная деталь решетки пока не имеет отверстия для воздушного потока, которое все еще закрыто так называемой нижней частью 1”’ в центре части канала 1”.
На Фиг.4, 5 и 6 показаны этапы работы, на которых нижняя часть 1”’ части канала 1” корпуса решетки срезается для образования отверстия для воздушного потока 3 в заготовке корпуса решетки. Во время стадии резания две выступающие полосы 2 остаются в немного изогнутом во внутрь положении. На следующем этапе (Фиг.7 и 8) полосы загибают в наружный выступающий профиль по внешней кромке части канала таким образом, чтобы полосы прилегали к внешней стороне части канала. Выступающие полосы становятся крепежными элементами корпуса решетки и могут быть использованы для закрепления корпуса решетки во внутренней резьбе или пазе трубы вентиляционного канала. Установка вентиляционной решетки осуществляется закручиванием. Соответственно, корпус вентиляционной решетки может быть демонтирован из вентиляционного канала вращением в обратном направлении.
В варианте выполнения, изображенном на схемах, количество крепежных элементов 2 равно двум, и они расположены на диаметрально противоположных сторонах. Хотя нет правила, регулирующего количество крепежных элементов, равное 2, на практике было выяснено, что одного элемента недостаточно для достаточного крепления корпуса вентиляционной решетки в вентиляционном канале. Два элемента используются более часто.
Концы крепежных элементов 2 имеют периферический штекер 2′, выступающий наружу от остальной части элемента и, таким образом, служащий по существу как крепежный элемент корпуса решетки. Данный внешний выступающий периферический штекер 2′ взаимодействует с внутренней резьбой или пазами трубы вентиляционного канала.
Для специалиста в данной области техники является очевидным, что изобретение не ограничивается описанным выше примером, но наоборот может меняться без отклонения от сущности и объема прилагаемой формулы изобретения. Следовательно, изобретение может быть применено к корпусам конструкций различных вентиляционных решеток, наиболее типично во впускных или выпускных вентиляционных решетках. Чертежи представлены с допущением, что заготовка из листового металла изначально произведена округлой. На практике заготовка наиболее часто имеет, например, многогранную форму, такую как восьмиугольник. Тогда этапы производства, согласно способу, немного отличаются от тех, что описаны выше. Например, первый этап содержит только глубокую вытяжку конической формы корпуса решетки. Второй этап содержит вырезание отверстия для потока воздуха (также включая в себя вырезание формы выступающих полос или элементов, то есть сохранение этих участков не срезанными). Только после этих этапов осуществляют срезание внешних краев до округлой формы, после чего, когда необходимо, выполняют сгибание концов выступающих полос, которые служат как штекеры на завершенных элементах. Последний этап содержит изгибание выступающих полос в крепежные элементы.
Формула изобретения
1. Способ формирования крепежных элементов (2) на внешней стороне части корпуса вентиляционной решетки (1), причем крепежные элементы предназначены для фиксации корпуса решетки в вентиляционном канале, включающий в себя этап изготовления корпуса решетки из, по существу, чистого листа металла методом глубокой вытяжки в его окончательную форму заготовки, после чего нижнюю часть (1”’) заготовки корпуса срезают для образования отверстия для воздушного потока (3) в корпусе решетки, отличающийся тем, что отрезаемую часть убирают с нижней части (1”’), оставляя на части корпуса решетки две или более полос (2), которые затем загибают через кромку части корпуса решетки, таким образом формируя крепежные элементы (2).
2. Способ по п.1, отличающийся тем, что в нем используют крепежные элементы (2) в количестве двух, при этом их размещают на диаметрально противоположных сторонах по отношению друг к другу.
3. Крепежный элемент (2) корпуса вентиляционной решетки (1), расположенный на внешней стороне корпуса решетки и предназначенный для крепления корпуса решетки к внутренней стенке вентиляционного канала, причем крепежный элемент (2) дополнительно содержит, по меньшей мере, выступающий штекер (2′), загнутый наружу, отличающийся тем, что крепежный элемент (2) выполнен из одной с корпусом решетки (1) заготовки.
РИСУНКИ
|
|