|
|
(21), (22) Заявка: 2009102141/06, 22.01.2009
(24) Дата начала отсчета срока действия патента:
22.01.2009
(46) Опубликовано: 27.05.2010
(56) Список документов, цитированных в отчете о поиске:
ЮКЕЛЬСОН И.И. Технология основного органического синтеза. – М.: Химия, 1968, с.273-275. SU 800499 А, 30.01.1981. SU 1121547 А, 30.10.1984. SU 245705 А, 11.06.1969. RU 2078287 C1, 27.04.1997. US 5725366 A, 10.03.1998. US 5022850 A, 11.06.1991.
Адрес для переписки:
613040, Кировская обл., г. Кирово-Чепецк, ул. Заводская, территория завода полимеров, корп.17а, начальнику ОПТИС, В.М. Бахтину
|
(72) Автор(ы):
Голубев Артур Николаевич (RU), Дедов Алексей Сергеевич (RU), Денисов Алексей Алексеевич (RU), Смирнов Николай Павлович (RU), Шабалин Дмитрий Александрович (RU)
(73) Патентообладатель(и):
Общество с ограниченной ответственностью “Завод полимеров Кирово-Чепецкого химического комбината” (ООО “Завод полимеров КЧХК”) (RU)
|
(54) СПОСОБ ЗАЖИГАНИЯ ГАЗОВОГО ПОТОКА И УСТРОЙСТВО ДЛЯ ЕГО ОСУЩЕСТВЛЕНИЯ
(57) Реферат:
Изобретение относится к области химической технологии и, в частности, может быть использовано для зажигания газового потока, содержащего метан и хлор, при инициировании процесса хлорирования природного газа при производстве хлорметанов. Способ зажигания газового потока, содержащего метан и хлор, осуществляется путем его контактирования с нагретой поверхностью, при этом нагретой поверхностью служит турбулентная неизотермическая газовая струя, содержащая метан, которую формируют путем пропускания нагретого газа, содержащего метан, через сопло с линейной скоростью 100-200 м/с. В качестве газа используют природный газ, который предварительно разогревают до температуры 400-500°С. Для осуществления способа используют устройство, включающее горелку с каналом для его подачи, при этом горелка содержит дополнительный канал для подачи разогретого газа, содержащего метан, а на трубопроводах подвода газов к каналам горелки установлены регулирующие запорные устройства. Дополнительный канал представляет собой цилиндрическую трубу, торец которой оборудован соплом, а сама труба расположена по оси горелки. 2 н. и 7 з.п. ф-лы, 1 ил.
Изобретение относится к области химической технологии и, в частности, может быть использовано для зажигания газового потока, содержащего метан и хлор, при инициировании процесса хлорирования природного газа при производстве хлорметанов.
Известен способ зажигания газового потока, содержащего метан и хлор, взятых в молярном соотношении метана к хлору, равном 5:1, путем его контактирования с бетонной облицовкой стальной трубы, обогреваемой газовой горелкой (Ф.Азингер. Парафиновые углеводороды. Химия и технология. М.: ГОСТОПТЕХИЗДАТ, 1959, стр.168).
Более современный способ зажигания газового потока, содержащего метан и хлор, заключается в контактировании указанного газового потока с нагретой поверхностью насадки (столбика) из кислотоупорного шамотного кирпича, разогретой с использованием горелки. Сама насадка (столбик) и горелка для разогревания насадки расположены непосредственно в реакционном объеме (И.И.Юкельсон. Технология основного органического синтеза. М., Химия, 1968, стр.273-275).
Известный способ зажигания газового потока, содержащего метан и хлор, имеет недостатки, он достаточно сложен, громоздок и ограничивает реакционные объемы хлораторов.
Техническая задача настоящего изобретения – упрощение зажигания газового потока, содержащего метан и хлор, и полное использование реакционного объема хлораторов.
Решение поставленной технической задачи заключается в том, что в способе зажигания газового потока, содержащего метан и хлор, путем его контактирования с нагретой поверхностью, согласно изобретению нагретой поверхностью служит турбулентная неизотермическая газовая струя, содержащая метан.
Турбулентную неизотермическую газовую струю, содержащую метан, формируют пропусканием нагретого газа, содержащего метан, через сопло с линейной скоростью 100-200 м/с.
В качестве газа, образующего турбулентную неизотермическую струю, используют природный газ.
Природный газ предварительно разогревают до температуры 400-500°С.
После зажигания газового потока, содержащего метан и хлор, разогрев природного газа отключают.
В устройстве для зажигания газового потока, содержащего метан и хлор, включающем горелку с каналом для его подачи, согласно изобретению горелка содержит дополнительный канал для подачи разогретого газа, содержащего метан, а на трубопроводах подвода газов к каналам горелки установлены регулирующие запорные устройства.
Дополнительный канал для подачи разогретого газа, содержащего метан, представляет собой цилиндрическую трубу, торец которой оборудован соплом, а сама труба расположена по оси горелки.
Канал для подачи газового потока, содержащего метан и хлор, выполнен в виде кольцевой камеры, охватывающей дополнительный канал для подачи разогретого газа, содержащего метан, причем торцевой срез кольцевой камеры выступает наружу за выходное отверстие сопла дополнительного канала, а торцевой срез кольцевой камеры оборудован основным рабочим соплом.
Между дополнительным каналом для подачи разогретого газа, содержащего метан, и регулировочным запорным устройством размещен подогреватель газа.
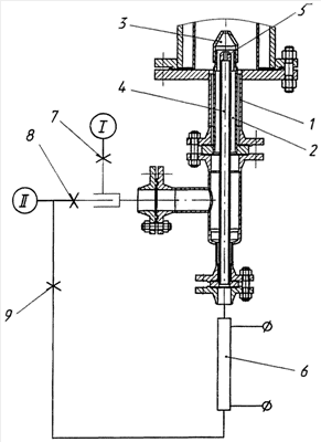
Сущность изобретения поясняется чертежом.
Устройство для зажигания газового потока, содержащего метан и хлор, включает горелку (1) с основным кольцевым каналом (2) для подачи газового потока, содержащего метан и хлор. Основной кольцевой канал (2) заканчивается основным рабочим соплом (3). Горелка (1) включает в себя дополнительный канал (4) для подачи разогретого метана, расположенный по оси горелки (1). Дополнительный канал (4) заканчивается дополнительным соплом (5). На трубопроводах подвода газов к каналам горелки установлены регулирующие запорные устройства (7-9). Между регулирующим запорным устройством (9) и дополнительным каналом (4) размещен нагреватель (6).
Природный газ через регулирующее запорное устройство (9) поступает в нагреватель (6), откуда через канал (4) выбрасывается через сопло (5). Вытекающая струя газа приобретает свойства неизотермической турбулентной струи. На поверхности раздела струи со средой, истекающей из кольцевого канала (2) и представляющей собой газовую смесь природного газа и хлора, возникают вихри, беспорядочно движущиеся вдоль нагретой поверхности газовой струи, содержащей метан. Между струей нагретого природного газа и окружающей средой холодной газовой смеси хлора и природного газа происходит обмен конечными массами газа. Хлор, попадая в нагретый газ, диссоциирует на свободные атомы хлора, инициирующие цепную радикальную реакцию хлорирования метана, сопровождающуюся выделением большого количества тепла.
После зажигания газового потока, содержащего метан и хлор, сопровождающегося протеканием экзотермической реакции хлорирования (тепловой эффект реакции хлорирования около 25 ккал на 1 моль хлора), нагреватель (6) отключают, и процесс хлорирования идет самостоятельно. При этом обеспечивается полное использование всего объема реактора хлорирования метана.
Предложенный способ зажигания газового потока и устройство для его осуществления позволяют отказаться как от малопроизводительного способа зажигания газового потока хлора и метана, когда разогреву подвергался весь реактор, облицованный бетоном, с использованием наружной горелки, так и от зажигания газового потока хлора и метана разогретой кирпичной насадкой, специальной горелкой, расположенной непосредственно в реакторе.
Таким образом, предложенный способ позволяет упростить зажигание газового потока, содержащего метан и хлор, отказаться от сложного громоздкого оборудования, осуществить полное использование реакционного объема хлоратора и, кроме этого, позволяет регулировать процесс хлорирования метана за счет поддержания оптимальной температуры процесса.
Формула изобретения
1. Способ зажигания газового потока, содержащего метан и хлор, путем его контактирования с нагретой поверхностью, отличающийся тем, что нагретой поверхностью служит турбулентная неизотермическая газовая струя, содержащая метан.
2. Способ по п.1, отличающийся тем, что турбулентную неизотермическую газовую струю, содержащую метан, формируют путем пропускания нагретого газа, содержащего метан, через сопло с линейной скоростью 100-200 м/с.
3. Способ по п.2, отличающийся тем, что в качестве газа, образующего турбулентную неизотермическую струю, используют природный газ.
4. Способ по п.3, отличающийся тем, что природный газ предварительно разогревают до температуры 400-500°С.
5. Способ по п.1, отличающийся тем, что после зажигания газового потока, содержащего метан и хлор, разогрев природного газа отключают.
6. Устройство для зажигания газового потока, содержащего метан и хлор, включающее горелку с каналом для его подачи, отличающееся тем, что горелка содержит дополнительный канал для подачи разогретого газа, содержащего метан, а на трубопроводах подвода газов к каналам горелки установлены регулирующие запорные устройства.
7. Устройство по п.6, отличающееся тем, что дополнительный канал для подачи разогретого газа, содержащего метан, представляет собой цилиндрическую трубу, торец которой оборудован соплом, а сама труба расположена по оси горелки.
8. Устройство по п.6, отличающееся тем, что канал для подачи газового потока, содержащего метан и хлор, выполнен в виде кольцевой камеры, охватывающей дополнительный канал для подачи разогретого газа, содержащего метан, причем торцевой срез кольцевой камеры выступает наружу за выходное отверстие сопла дополнительного канала, а торцевой срез кольцевой камеры оборудован основным рабочим соплом.
9. Устройство по п.6, отличающееся тем, что между дополнительным каналом для подачи разогретого газа, содержащего метан, и регулировочным запорным устройством размещен подогреватель газа.
РИСУНКИ
|
|