|
|
(21), (22) Заявка: 2007147929/11, 07.06.2006
(24) Дата начала отсчета срока действия патента:
07.06.2006
(30) Конвенционный приоритет:
09.06.2005 DE 102005026475.1
(43) Дата публикации заявки: 20.07.2009
(46) Опубликовано: 27.05.2010
(56) Список документов, цитированных в отчете о поиске:
DE 10347493 A1, 19.05.2005. DE 3110855 A1, 14.10.1982. RU 2241610 C1, 10.12.2004. SU 1789790 A1, 23.01.1993.
(85) Дата перевода заявки PCT на национальную фазу:
09.01.2008
(86) Заявка PCT:
EP 2006/005416 20060607
(87) Публикация PCT:
WO 2006/131331 20061214
Адрес для переписки:
101000, Москва, М.Златоустинский пер., 10, кв.15, “ЕВРОМАРКПАТ”, пат.пов. И.А.Веселицкой, рег. 11
|
(72) Автор(ы):
БАДЕР Йозеф (DE), РЕННЕР Штефан (DE)
(73) Патентообладатель(и):
ЦФ ФРИДРИХСХАФЕН АГ (DE)
|
(54) ПРИВОДНОЙ ИЛИ УПРАВЛЯЮЩИЙ ЦИЛИНДР ДЛЯ АВТОМОБИЛЬНЫХ КОРОБОК ПЕРЕДАЧ
(57) Реферат:
Изобретение относится к управляющим или приводным элементам механизма переключения передач автомобильных коробок передач. Автомобильная коробка передач включает корпус (5), имеющий участок, на котором предусмотрен жестко соединяемый с корпусом (5) присоединительный фланец (7) с полостями для размещения в них части приводных или управляющих элементов. Коробка передач также содержит один приводной цилиндр (3), который образован первой частью, расположенной в присоединительном фланце (7), и второй частью, расположенной в корпусе (5) коробки передач. Предусмотрено упорное кольцо (10), которое выполнено удлиненным со втулкообразным продолжением (10′, 10”), образующим уплотняющие рабочие поверхности поршня (2) в корпусе (5) коробки передач и/или в присоединительном фланце (7). Достигается упрощение изготовления коробки передач. 2 з.п. ф-лы, 2 ил.
Настоящее изобретение относится к автомобильной коробке передач согласно ограничительной части п.1 формулы изобретения.
В настоящее время автомобильные коробки передач состоят из множества деталей различного функционального назначения, чем обусловлена сложность и высокая стоимость изготовления таких коробок передач и, прежде всего, при необходимости оснащения коробки передач, например, автоматизированной коробки передач, размещаемыми на ней или в ней приводами для приведения в действие элементов переключения передач.
Из DE 4422900 A1 известна автомобильная коробка передач с закрепленным на ее корпусе присоединительным фланцем, который расположен в обращенной к сцеплению части корпуса и в котором размещены элементы и детали тормозного механизма, действующего на трансмиссию.
Помимо этого из DE 10347493 A1 известна автомобильная коробка передач, у которой также предусмотрен присоединительный фланец с полостями для размещения в них по меньшей мере части приводных или управляющих элементов, предназначенных для приведения в действие передающих крутящий момент деталей, соответственно для их управления. В такой коробке передач для управления ее механизмом переключения передач предусмотрен пневматический приводной или управляющий цилиндр, образованный первой частью, расположенной в присоединительном фланце, и второй частью, расположенной в корпусе коробки передач. Этот приводной цилиндр имеет подвижный поршень, который кинематически связан со штоком вилки переключения передач в коробке передач. В коробке передач такой конструкции в цилиндре предусмотрено упорное кольцо, которое не допускает дальнейшее перемещение подвижно установленного в цилиндре поршня в положения, не соответствующие его заданным положениям в цилиндре.
Недостаток подобной конструкции состоит в том, что выполнение уплотняющей рабочей поверхности поршня в корпусе коробки передач связано с техническими сложностями ее изготовления способом литья.
В основу настоящего изобретения была положена задача разработать автомобильную коробку передач, корпус которой имеет участок, на котором предусмотрен жестко соединяемый с корпусом присоединительный фланец с полостями для размещения в них по меньшей мере части приводных или управляющих элементов, предназначенных для приведения в действие передающих крутящий момент деталей, и/или части приводных или управляющих элементов, предназначенных для приведения в действие ее механизма переключения передач, и у которой к качеству поверхности ее корпуса и присоединительного фланца предъявлялись бы пониженные требования по сравнению с конструкцией, известной из DE 10347493 A1.
Указанная задача решается с помощью отличительных признаков, представленных в п.1 формулы изобретения. Различные частные варианты выполнения предлагаемой в изобретении коробки передач заявлены в зависимых пунктах формулы изобретения, а ее преимущества более детально рассмотрены в последующем описании.
В соответствии с этим в изобретении предлагается автомобильная коробка передач, корпус которой имеет участок, на котором предусмотрен жестко соединяемый с корпусом присоединительный фланец с полостями для размещения в них по меньшей мере части приводных или управляющих элементов, предназначенных для приведения в действие передающих крутящий момент деталей, и/или части приводных или управляющих элементов, предназначенных для приведения в действие ее механизма переключения передач, и которая имеет по меньшей мере один необходимый для этого приводной цилиндр, который образован первой частью, расположенной в присоединительном фланце, и второй частью, расположенной в корпусе коробки передач, и в котором предусмотрено упорное кольцо, которое выполнено удлиненным со втулкообразным продолжением, образующим уплотняющие рабочие поверхности поршня в корпусе коробки передач и/или в присоединительном фланце.
Предлагаемое в изобретении выполнение упорного кольца со втулкообразным продолжением, т.е. удлиненным на величину, соответствующую протяженности уплотняющей рабочей поверхности поршня, позволяет снизить требования, предъявляемые к качеству поверхности корпуса и присоединительного фланца, и без каких-либо проблем изготавливать упорное кольцо литьем. Помимо этого предлагаемое в изобретении решение позволяет значительно сократить убытки от брака, связанного с производственными дефектами.
Ниже изобретение более подробно рассмотрено на примере некоторых вариантов его осуществления со ссылкой на прилагаемые чертежи, на которых показано:
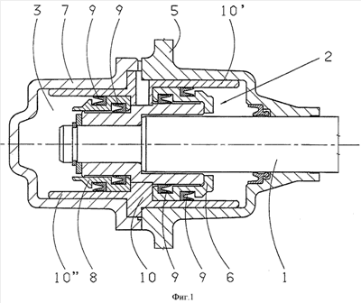
на фиг.1 – схематичный вид в разрезе относящейся к изобретению части предлагаемой в нем коробки передач, выполненной по первому варианту, и
на фиг.2 – схематичный вид в разрезе относящейся к изобретению части предлагаемой в нем коробки передач, выполненной по другому варианту.
На фиг.1 и 2 позицией 1 обозначен соединенный с поршнем 2 шток вилки переключения передач в коробке передач. Поршень 2 имеет внутреннюю втулку 4 и состоит из подвижно установленной в корпусе 5 коробки передач первой части 6, а также подвижно установленной в присоединительном фланце 7 второй части 8, при этом обе части 6 и 8 поршня имеют необходимые уплотнительные кольца 9.
Как показано на фиг.1 и 2, поршень 2 установлен с возможностью осевого перемещения в цилиндре 3, который служит приводным цилиндром для штока 1 вилки переключения передач и состоит из двух частей, одна из которых образована корпусом 5 коробки передач, а другая – присоединительным фланцем 7, и в котором предусмотрено упорное кольцо 10. Цилиндр предпочтительно выполнять в виде трехпозиционного цилиндра, который может представлять собой пневмо- или гидроцилиндр. То положение поршня, в котором обе его части 6 и 8 прилегают к упорному кольцу, соответствует нейтральному положению.
Согласно изобретению упорное кольцо 10 выполнено удлиненным со втулкообразным продолжением 10′, соответственно 10”, образующим уплотняющие рабочие поверхности поршня 2 в корпусе коробки передач и/или в присоединительном фланце.
В показанном на фиг.1 варианте упорное кольцо 10 выполнено удлиненным с обеих его сторон и имеет с каждой стороны по втулкообразному продолжению 10′, соответственно 10”, которые образуют уплотняющие рабочие поверхности поршня 2 и в корпусе 5 коробки передач, и в присоединительном фланце 7.
В показанном на фиг.2 варианте упорное кольцо 10 выполнено удлиненным с одной его стороны и имеет втулкообразное продолжение 10′, которое образует уплотняющую рабочую поверхность поршня 2 в корпусе 5 коробки передач.
Очевидно, что в объем настоящего изобретения, определяемый его формулой, включено также любое технически возможное и целесообразное конструктивное исполнение коробки передач, не влияющее на ее указанную в формуле изобретения функцию, прежде всего, любое пространственное расположение деталей предлагаемой в изобретении коробки передач, главным образом пространственное расположение цилиндра и подвижно установленного в нем поршня индивидуально, а также относительно друг друга, даже если такие конструктивные разновидности коробки передач в явном виде не представлены на прилагаемых чертежах или не упоминаются в описании.
Формула изобретения
1. Автомобильная коробка передач, корпус которой имеет участок, на котором предусмотрен жестко соединяемый с корпусом присоединительный фланец с полостями для размещения в них по меньшей мере части приводных или управляющих элементов, предназначенных для приведения в действие передающих крутящий момент деталей, и/или части приводных или управляющих элементов, предназначенных для приведения в действие ее механизма переключения передач, и которая имеет по меньшей мере один необходимый для этого приводной цилиндр, который образован первой частью, расположенной в присоединительном фланце, и второй частью, расположенной в корпусе коробки передач, отличающаяся тем, что в цилиндре (3) предусмотрено упорное кольцо (10), которое выполнено удлиненным со втулкообразным продолжением (10′, 10”), образующим уплотняющие рабочие поверхности поршня (2) в корпусе (5) коробки передач и/или в присоединительном фланце (7).
2. Автомобильная коробка передач по п.1, отличающаяся тем, что цилиндр (3) выполнен в виде трехпозиционного цилиндра.
3. Автомобильная коробка передач по п.1 или 2, отличающаяся тем, что цилиндр (3) представляет собой пневмо- или гидроцилиндр.
РИСУНКИ
|
|