|
| На основании пункта 1 статьи 1366 части четвертой Гражданского кодекса Российской Федерации патентообладатель обязуется заключить договор об отчуждении патента на условиях, соответствующих установившейся практике, с любым гражданином Российской Федерации или российским юридическим лицом, кто первым изъявил такое желание и уведомил об этом патентообладателя и федеральный орган исполнительной власти по интеллектуальной собственности. |
|
(21), (22) Заявка: 2009100993/11, 15.01.2009
(24) Дата начала отсчета срока действия патента:
15.01.2009
(46) Опубликовано: 27.05.2010
(56) Список документов, цитированных в отчете о поиске:
SU 1300240 А1, 30.03.1987. RU 2005112208 А, 27.10.2006. RU 2005112206 А, 27.10.2006. SU 1368552 А2, 23.01.1988. SU 1537932 A1, 23.01.1990. US 5606890 A, 04.03.1997. DE 120068 A1, 09.12.1982.
Адрес для переписки:
123458, Москва, ул. Твардовского, 11, кв.92, О.С. Кочетову
|
(72) Автор(ы):
Кочетов Олег Савельевич (RU)
(73) Патентообладатель(и):
Кочетов Олег Савельевич (RU)
|
(54) ЗУБЧАТОЕ КОЛЕСО
(57) Реферат:
Изобретение относится к машиностроению и может быть использовано для снижения уровня шума различных трансмиссий. Зубчатое колесо содержит венец (1) с концентричной внутренней цилиндрической поверхностью, ступицу (2) и вибродемпфирующий элемент в виде симметрично расположенных концентричных колец (4, 6), расположенных с натягом в кольцевых канавках, и обод из эластичного материала, размещенный между кольцом и внутренней поверхностью венца (1). Канавка выполнена на внутренней поверхности венца со стороны его торца. Кольцо выполнено упругим. Каждое из упругих колец (4, 6) выполнено в виде’ по крайней мере двух упругих коаксиально расположенных колец, внешнего и внутреннего, жестко соединенных между собой посредством, по крайней мере, двух симметричных упругих, диаметрально расположенных элементов со сквозным центральным пазом, симметрично расположенным внутри элемента. Боковые поверхности, образующие элемент, выполнены наклонными по отношению к оси элемента. Боковые поверхности паза сопряжены по концам с цилиндрическими поверхностями, образованными сквозными отверстиями, соответственно расположенными на внешнем и внутреннем кольцах. Изобретение позволяет повысить демпфирующие свойства вибродемпфирующего элемента. 2 ил.
Изобретение относится к машиностроению и может быть использовано для снижения уровня шума различных трансмиссий.
Наиболее близким техническим решением к заявленному объекту является зубчатая передача по а.с. СССР 1300240, F16H 55/17, 1986 г. (прототип), содержащая обод, ступицу, несущий диск для соединения обода со ступицей и размещенный со стороны торца обода вибродемпфирующий элемент, выполненный в виде пакета чередующихся перфорированных дисков и эластичных колец.
Недостатком известного решения являются сравнительно невысокие демпфирующие свойства вибродемпфирующего элемента.
Технический результат – повышение демпфирующих свойств вибродемпфирующего элемента.
Это достигается тем, что в зубчатом колесе, содержащем венец с концентричной внутренней цилиндрической поверхностью, ступицу и вибродемпфирующий элемент в виде симметрично расположенных концентричных колец, расположенных с натягом в кольцевых канавках, и обода из эластичного материала, размещенного между кольцом и внутренней поверхностью венца, причем канавка выполнена на внутренней поверхности венца со стороны его торца, а кольцо выполнено упругим, каждое из упругих колец выполнено в виде по крайней мере двух упругих, коаксиально расположенных колец, внешнего и внутреннего, жестко соединенных между собой посредством, по крайней мере, двух симметричных упругих, диаметрально расположенных элементов со сквозным центральным пазом, симметрично расположенным внутри элемента, причем боковые поверхности, образующие элемент, выполнены наклонными по отношению к оси элемента, а боковые поверхности паза сопряжены по концам с цилиндрическими поверхностями, образованными сквозными отверстиями, соответственно расположенными на внешнем и внутреннем кольцах.
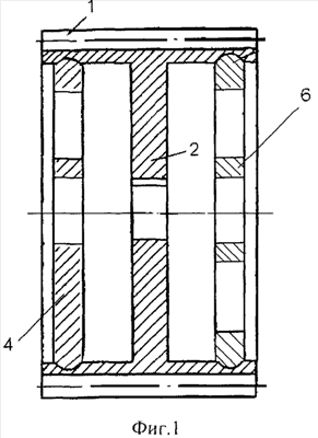
На фиг.1 изображен фронтальный разрез зубчатого колеса, на фиг.2 – форма выполнения упругого кольца.
Зубчатое колесо содержит венец 1 с концентричной внутренней цилиндрической поверхностью (фиг.1), ступицу 2 и вибродемпфирующий элемент в виде концентричных колец 4 и 6, расположенных с натягом в кольцевой канавке, и обода из эластичного материала, размещенного между кольцом и внутренней поверхностью венца, причем канавка выполнена на внутренней поверхности венца со стороны его торца, а кольцо выполнено упругим. Каждое из концентричных колец 4 и 6 (фиг.2) содержит, по крайней мере, два упругих коаксиально расположенных кольца, внешнего 8 и внутреннего 9, жестко соединенных между собой посредством, по крайней мере, двух симметричных упругих, диаметрально расположенных элементов 10 и 11 со сквозным центральным пазом 13 и 14, симметрично расположенным внутри элемента. Боковые поверхности, образующие элемент, выполнены наклонными по отношению к оси элемента. Боковые поверхности паза сопряжены по концам с цилиндрическими поверхностями, образованными сквозными отверстиями, соответственно расположенными на внешнем и внутреннем кольцах. Боковые поверхности центрального паза могут быть выполнены наклонными по отношению к оси упругих элементов (на чертеже не показано). Элементы, соединяющие внешние и внутренние кольца, закреплены на них посредством заклепок, по крайней мере одной, с каждого конца пластины (прямоугольный профиль) или стержня круглого (квадратного сечения). Коаксиально расположенные кольца, внешнее 8 и внутреннее 9 образуют между собой кольцевой зазор «S». Элементы 10 и 11, соединяющие внешние и внутренние кольца, могут быть закреплены на них также посредством сварки, например контактной, или крепежными резьбовыми элементами, или как клеевое соединение.
Зубчатая передача с вибродемпфированием работает следующим образом.
При работе зубчатой передачи часть радиальных нагрузок воспринимается упругими кольцами 4 и 6. При колебаниях на зубцовой частоте обеспечиваются пространственная виброизоляция и защита от ударов.
Формула изобретения
Зубчатое колесо, содержащее венец с концентричной внутренней цилиндрической поверхностью, ступицу и вибродемпфирующий элемент в виде симметрично расположенных концентричных колец, расположенных с натягом в кольцевых канавках, и обода из эластичного материала, размещенного между кольцом и внутренней поверхностью венца, причем канавка выполнена на внутренней поверхности венца со стороны его торца, а кольцо выполнено упругим, отличающееся тем, что каждое из упругих колец выполнено в виде по крайней мере двух упругих коаксиально расположенных колец, внешнего и внутреннего, жестко соединенных между собой посредством, по крайней мере, двух симметричных упругих диаметрально расположенных элементов со сквозным центральным пазом, симметрично расположенным внутри элемента, причем боковые поверхности, образующие элемент, выполнены наклонными по отношению к оси элемента, а боковые поверхности паза сопряжены по концам с цилиндрическими поверхностями, образованными сквозными отверстиями, соответственно расположенными на внешнем и внутреннем кольцах.
РИСУНКИ
|
|