|
|
(21), (22) Заявка: 2008137040/11, 15.09.2008
(24) Дата начала отсчета срока действия патента:
15.09.2008
(46) Опубликовано: 27.05.2010
(56) Список документов, цитированных в отчете о поиске:
Кожевников С.Н. и др. Механизмы. Справочник. Изд. 4-е перераб. и доп. – М.: Машиностроение, 1976, с.223-225, рис., 3.162, описание к рис.3.162. GB 606683 А, 18.08.1948. Крайнев А.Ф. Механика машин. Фундаментальный словарь. – М.: Машиностроение, 2000, с.428. SU 247735 A1, 04.07.1969. RU 2031279 C1, 20.03.1995. RU 2239739 C2, 10.11.2004.
Адрес для переписки:
620131, г.Екатеринбург, ул. Татищева, д. 125, корп. 3, кв. 104, И.Е.Колокольникову
|
(72) Автор(ы):
Колокольников Игорь Евгеньевич (RU)
(73) Патентообладатель(и):
Колокольников Игорь Евгеньевич (RU)
|
(54) УСТРОЙСТВО ДЛЯ ПРЕОБРАЗОВАНИЯ ВОЗВРАТНО-ВРАЩАТЕЛЬНОГО ДВИЖЕНИЯ ВО ВРАЩАТЕЛЬНОЕ В ОДНОМ НАПРАВЛЕНИИ
(57) Реферат:
Изобретение относится к машиностроению, а именно к устройствам для преобразования возвратно-вращательного движения во вращение в одном направлении. Устройство содержит корпус, входную, выходную и промежуточную оси. Промежуточная ось установлена в корпусе перпендикулярно входной оси. На выходной оси жестко установлено, по меньшей мере, два элемента сцепления с возможностью взаимно- обратного вращательного действия. При этом указанные выше элементы сцепления выполнены в виде обгонной или храповой муфты. Между элементами сцепления расположены, связанные между собой, по меньшей мере, три элемента передачи вращения, которые также выполнены с возможностью взаимно-обратного вращательного действия для передачи вращения выходной оси в одном направлении. Решение направлено на повышение эффективности работы устройства путем преобразования вращения на входном валу с неограниченным углом поворота в ту или иную сторону во вращение в одном направлении выходного вала с той же скоростью вращения, расширение функциональных возможностей. 3 з.п. ф-лы, 2 ил.
Изобретение относится к машиностроению, а именно к устройствам для преобразования возвратно-вращательного движения во вращение в одном направлении и может быть использовано, например, в подъемных устройствах, устройствах выработки электроэнергии, станках, насосах, в транспортных устройствах, в частности в двигателях внутреннего сгорания.
Известны устройства преобразования движения, используемые, например, в подъемных устройствах, в частности лебедках (RU 2045469, опубл. 10.10.1995, SU 929535 опубл. 23.03.82), основным недостатком которых является наличие холостого хода, что приводит к снижению эффективности прилагаемых движений.
Известно устройство преобразования движения (SU 812703, опубл. 15.03.81), содержащее две отдельные катушки, на которые взаимообратно наматывается трос, что ведет к увеличению количества деталей и размеров устройства.
Наиболее близким аналогом, принятым за прототип, является устройство для преобразования возвратно-вращательного движения, включающее корпус, входной и выходной вал, находящиеся на одной оси (патент RU 2239739, опубл. 10.11.2004).
К недостаткам устройства относится жесткофиксированно-ограниченный угол поворота входного вала от одной точки до другой и обратно, т.е. устройство работоспособно при вращении входного вала от одной точки до другой только на определенный угол поворота. Если работа данного устройства остановится на одной из этих двух точек, то вращением входного вала нельзя будет запустить работу устройства с места, так как кривошипные пальцы будут находиться в мертвых точках.
При применении устройства в двигателях внутреннего сгорания, при отказе рабочей вспышки, по меньшей мере, в одном цилиндре, произойдет поломка двигателя из-за того, что инерционный маховик выходного вала по инерции потянет входной вал вращаться в ту же сторону вместо возвратного движения. При этом поршень цилиндра воткнется в головку блока.
При повороте входного вала от одной точки до другой угловая скорость выходного вала будет совпадать со скоростью входного вала, а при обратном вращении входного вала угловая скорость поворота выходного будет нелинейной, т.е. вначале будет замедление, потом ускорение относительно скорости входного вала.
При применении указанного известного устройства в двигателях внутреннего сгорания, в котором на выходном валу установлен инерционный маховик, сглаживающий эти неравномерности, фактически неравномерности угловых скоростей влияют на скорости элементов входного вала, а это, в свою очередь, ведет к неравномерности хода поршневой группы, что приведет к крайней несбалансированности работы двигателя – его тряске.
Задачей, на решение которой направлено данное решение, является повышение эффективности работы устройства путем преобразования вращения на входном валу с неограниченным углом поворота в ту или иную сторону во вращение в одном направлении выходного вала.
Поставленная задача решается следующим образом.
Устройство преобразования возвратно-вращательного движения во вращательное, содержащее корпус с входной и выходной осями, согласно изобретению снабжено, по меньшей мере, одной промежуточной осью, установленной в корпусе перпендикулярно входной оси, по меньшей мере, двумя элементами сцепления для передачи вращения, жестко установленными на выходной оси с возможностью взаимно обратного вращательного действия, и, по меньшей мере, тремя элементами передачи вращения, взаимосвязанными между собой и жестко установленными между элементами сцепления также с возможностью взаимно-обратного вращательного действия для передачи вращения выходной оси в одном направлении.
Один из элементов передачи вращения жестко установлен на промежуточной оси, а два других жестко взаимосвязаны с элементами сцепления.
Элемент передачи вращения выполнен в виде конической шестерни.
Элемент сцепления для передачи вращения выполнен в виде храповой муфты.
Элемент сцепления для передачи вращения выполнен в виде обгонной муфты.
В качестве входной, выходной и промежуточной осей используют или шестерни, или звездочки, или шкивы, или валы.
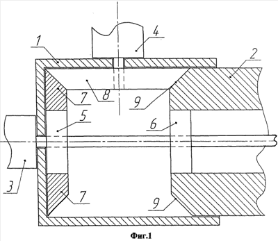
На фиг.1 представлено заявляемое устройство, общий вид, продольный разрез.
На фиг.2 представлен пример использования заявляемого устройства в двигателе внутреннего сгорания.
Устройство содержит неподвижный корпус 1, в стенках которого имеются отверстия с установленными в них входной осью 2, находящейся на одной оси с выходной осью 3. Устройство содержит также промежуточную ось 4, установленную перпендикулярно выходной оси 3. В качестве входных, выходных и промежуточной осей в конкретном примере использованы валы, но могут быть использованы также шестерни, или звездочки, или шкивы.
Устройство содержит, как минимум, одну входную ось 2. При этом устройство может содержать одну или две выходные оси 3.
Входная 2 и выходная 3 оси могут быть установлены на одной общей оси или установлены перпендикулярно друг другу.
На выходную ось 3 жестко насажены с возможностью взаимно- обратного вращательного действия элементы сцепления 5 и 6 для передачи вращения в одном направлении, в качестве которых могут быть использованы храповые или обгонные муфты (Прикладная механика. Учебное пособие для вузов. Под ред. В.М.Осецкого. Изд. 2-е, «Машиностроение», 1977, стр.458). Вал 2 жестко установлен на элемент сцепления 6, а элемент сцепления 5 жестко установлен на вал 3. Вал 2 свободно вращается в корпусе 1. Устройство содержит элементы передачи вращения 7, 8, 9. Элемент передачи вращения 7 жестко установлен на элемент сцепления 5 и образует пару вращения с элементом передачи вращения 8, жестко установленным на промежуточный вал 4. В свою очередь, элемент 8 передает вращение на элемент передачи вращения 9, выполненный на валу 2, который жестко взаимосвязан с элементом сцепления 6.
Промежуточный вал 4 используется как холостая ось для установки конического элемента передачи вращения 8.
Скорость вращения выходного вала 3 в этом случае равна скорости вращения входного вала 2 независимо от величины коэффициента передачи элемента 8.
Возможен вариант активного использования промежуточного вала 4 в качестве входного вала. В этом случае в зависимости от величины диаметра элемента 8, влияющей на коэффициент передачи, угловая скорость выходного вала 3 будет изменяться относительно вала 4.
Устройство работает следующим образом.
Вал 2, жестко насаженный на элемент сцепления 6, вращается по часовой стрелке и передает вращение через элемент сцепления 6 на выходной вал 3. При этом через коническую передачу вращения 9-8-7 вращение передается на элемент сцепления 5 в обратном направлении вращению вала 2, вызывая его свободное проскальзывание в элементе сцепления 5, относительно выходного вала 3, не вызывая в нем изменения направления вращения.
При вращении входного вала 2 в другую сторону (против часовой стрелки) элемент сцепления 6 переходит в свободное скольжение относительно выходного вала 3, а вращательное движение передается через пары передачи вращения 9-8-7 на элемент сцепления 5, который входит в зацепление с выходным валом 3. Таким образом, выходной вал 3 вращается в ту же сторону, что и в предыдущем цикле, т.е. по часовой стрелке.
Входные валы 2 и 4 имеют общие свойства передавать на выходной вал 3 возвратно-вращательное движение с целью получения его вращения в одну сторону.
Выходной вал 3 в силу конструкции устройства имеет возможность свободно вращаться в заданном направлении независимо от направления вращения входных валов 2, 4, даже если они неподвижны. При использовании элемента, запасающего энергию вращения маховика, установленного на выходном валу 3, входные валы 2, 4 будут передавать вращение на выходной вал 3 только в случае, когда их скорость вращения будет больше или равна скорости вращения выходного вала.
Выходной вал 3 не может вращаться в обратном заданному направлении, так как элементы сцепления 5 и 6 войдут в зацепление с элементом передачи вращения 7 и с валом 2, заставляя элемент 8 одновременно вращаться в разные стороны, что приводит к стопору выходного вала 3, что является положительным моментом, например, для подъемных устройств, так как не позволяет грузу упасть вниз. В качестве элементов передачи вращения 7, 8, 9 можно использовать конические шестерни, либо пары, работающие на силе трения.
Заявляемое устройство для преобразования возвратно-вращательного движения во вращение в одном направлении может быть использовано, например, в подъемных устройствах, устройствах выработки электроэнергии, станках, насосах, в транспортных устройствах.
Данное устройство может кардинально заменить кривошипно-шатунный механизм, используемый в двигателях, имеющий мертвые точки, нагрузка в которых направлена на излом оси коленвала, а не на вращение, что существенно снижает КПД кривошипно-шатунного механизма. Особое увеличение мощностных, габаритных характеристик и показателей экономичности достигается при использовании заявляемого устройства в двигателях внутреннего сгорания (фиг.2), за счет приложения силы возвратно-поступательного движения поршня по касательной к шестерне 10, установленной на входной вал 2 заявляемого устройства, исключая верхнюю мертвую точку в кривошипно-шатунном механизме, в котором давление толкающих газов направлено, в начальный момент, на излом шеек коленчатого вала.
Преимущества, достигаемые при использовании заявляемого технического решения, следующие:
– создано устройство, преобразующее вращение в любых направлениях с неограниченным углом поворота входного вала во вращение выходного вала в одном направлении с той же угловой скоростью,
– повышение эффективности работы устройства,
– расширение функциональных возможностей.
Формула изобретения
1. Устройство преобразования возвратно-вращательного движения во вращательное, содержащее корпус с входной и выходной осями, отличающееся тем, что устройство снабжено, по меньшей мере, одной промежуточной осью, установленной в корпусе перпендикулярно входной оси, по меньшей мере, двумя элементами сцепления для передачи вращения, выполненными в виде обгонной или храповой муфты, жестко установленными на выходной оси с возможностью взаимно-обратного вращательного действия, и, по меньшей мере, тремя элементами передачи вращения, взаимосвязанными между собой и жестко установленными между элементами сцепления также с возможностью взаимно-обратного вращательного действия для передачи вращения выходной оси в одном направлении.
2. Устройство по п.1, отличающееся тем, что один из элементов передачи вращения жестко установлен на промежуточной оси, а два других жестко взаимосвязаны с элементами сцепления.
3. Устройство по п.1, отличающееся тем, что элемент передачи вращения выполнен в виде конической шестерни.
4. Устройство по п.1, отличающееся тем, что в качестве входной, выходной и промежуточной осей используют валы.
РИСУНКИ
|
|