|
|
(21), (22) Заявка: 2007129523/11, 13.01.2006
(24) Дата начала отсчета срока действия патента:
13.01.2006
(30) Конвенционный приоритет:
18.01.2005 US 11/037,721
(43) Дата публикации заявки: 27.02.2009
(46) Опубликовано: 27.05.2010
(56) Список документов, цитированных в отчете о поиске:
US 4569424 А, 11.02.1986. US 1781074 A, 11.11.1930. US 6167992 B1, 02.01.2001. US 6241058 B1, 05.06.2001. SU 579943 A3, 05.11.1977. RU 2153994 C2, 10.08.2000.
(85) Дата перевода заявки PCT на национальную фазу:
20.08.2007
(86) Заявка PCT:
US 2006/001088 20060113
(87) Публикация PCT:
WO 2006/078534 20060727
Адрес для переписки:
119034, Москва, Пречистенский пер., 14, стр. 1, 4-й этаж, “Гоулингз Интернэшнл, Инк.”, пат.пов. В.А.Клюкину, рег. 005
|
(72) Автор(ы):
КАЛИС Стенли Ф. Дж. (US), КУК Крейг Р. (US), МАФФЛИ Дэвид Д. (US)
(73) Патентообладатель(и):
ФЕДЕРАЛ-МОГАЛ КОРПОРЕЙШН (US)
|
(54) ТОРМОЗНОЙ УЗЕЛ И ЭЛЕМЕНТ СИСТЕМЫ ЭКСТРЕННОГО ТОРМОЖЕНИЯ И СПОСОБ ИСПОЛЬЗОВАНИЯ ТОРМОЗНОГО УЗЛА
(57) Реферат:
Тормозной узел содержит вращающуюся часть и невращающийся тормозной элемент. Тормозной элемент содержит жесткую пластину основания, стираемый фрикционный материал и выступы, проходящие от опорной пластины в слое фрикционного материала. Каждый из выступов имеет кончик, находящийся в непосредственной близости от внешней поверхности фрикционного материала. Кончики выступов и внешняя поверхность одновременно входят во взаимодействие с контактной поверхностью вращающейся части, когда тормозной элемент в первый раз переходит в положение применения тормоза. Фрикционный материал и выступы совместно обеспечивают создание силы трения, действующей на вращающуюся часть при первом контакте между их поверхностями. Способ использования тормозного узла заключается в приведении во вращение вращающейся части, установке тормозного элемента в непосредственной близости от вращающейся части на некотором расстоянии от контактной поверхности, перемещении тормозного элемента в положение применения тормоза и создании трения совместным взаимодействием кончиков выступов и внешней поверхности фрикционного материала с контактной поверхностью вращающейся части. Таким образом, фрикционный материал и выступы при самом первом взаимодействии их поверхностей с контактной поверхностью вращающейся части совместно обеспечивают создание необходимой силы трения. Достигается повышение эффективности тормозного узла, улучшение статических и динамических характеристик трения тормозного узла при его первом применении. 3 н. и 17 з.п. ф-лы, 13 ил.
[0001] В настоящей заявке испрашивается конвенционный приоритет по патентной заявке США 11/037,721, поданной 18 января 2005 г.
ПРЕДПОСЫЛКИ СОЗДАНИЯ ИЗОБРЕТЕНИЯ
[0002] Настоящее изобретение относится в общем к тормозным узлам транспортных средства и в частности к тормозным узлам с высоким коэффициентом трения, в которых используются выступающие элементы (выступы) пластин оснований тормозных колодок, проходящие в слое фрикционного материала, для использования в стояночных тормозах и в системах экстренного торможения транспортных средств, оборудованных независимыми тормозными системами (дисковыми или барабанными) на каждом из четырех колес.
[0003] Фрикционный тормоз барабанного типа транспортного средства обычно содержит узел тормозной колодки, снабженный слоем фрикционного материала с высоким коэффициентом трения, который приводится во взаимодействие с внутренней поверхностью вращающегося тормозного барабана для создания силы торможения и, соответственно, для замедления, останова или удерживания транспортного средства в неподвижном или парковочном положении. Дисковая тормозная система содержит узел суппорта, снабженный размещенными друг напротив друга тормозными колодками, которые приводятся во взаимодействие с вращающимся тормозным диском.
[0004] Изменения состояния рабочей поверхности тормозного узла и поверхности вращающейся части тормоза (барабан или диск) могут изменять эффективность торможения на начальном этапе использования тормоза. Например, если величина силы трения, создаваемой фрикционным тормозом, слишком мала для зон тормозной накладки, которые не находятся в контакте с противолежащей фрикционной поверхностью тормозного барабана или тормозного диска, то тормоз не будет обеспечивать необходимую эффективность в статическом положении, например, необходимую эффективность работы стояночного тормоза. Одним из способов преодоления этой проблемы является неоднократное торможение транспортного средства с использованием только стояночного тормоза или системы экстренного торможения для создания избыточных сил торможения, прилагаемых к тем частям тормозного узла, которые находятся во взаимодействии с вращающимся тормозным барабаном или тормозным диском, в результате чего эти части стираются и начинают лучше прилегать к поверхности вращающегося барабана или диска. Водители обычно неохотно используют такие способы. Если их применять ненадлежащим образом, то они могут приводить к преждевременному выходу тормозов из строя или к повышенному износу их компонентов.
[0005] Другим способом повышения силы торможения, развиваемой фрикционными тормозами транспортных средств, является формирование грубой поверхности, например, с использованием обработки пескоструйной установкой, фрикционной поверхности тормозного барабана или тормозного диска, которые взаимодействуют с узлом тормозной колодки. Хотя такой способ позволяет увеличить силы торможения, развиваемые в начальные периоды применения тормоза, однако он может ускорять износ фрикционного материала, сокращая срок службы частей тормоза, таких как тормозные накладки.
[0006] Ранее для улучшения крепления тормозных накладок, состоящих из фрикционного материала, к пластинам оснований тормозных колодок использовались выступы или зубцы на пластинах, которые были полностью утоплены в накладках тормозных колодок (в слое фрикционного материала) и обеспечивали хорошее сцепление с ними. См., например, патент США 6,367,600 В1, выданный Arbesman, и патент США 6,279,222 В1.
[0007] Другой пример использования выступов или зубцов приводится в патенте США 4,569,424, выданном Taylor, мл., в котором предлагается узел тормозной колодки. Тормозная накладка в вышеуказанном патенте США 4,569,424 наплавляется непосредственно на опорную часть тормозной колодки, которая содержит перфорации и выступающие язычки. Взаимодействие между материалом наплавленной тормозной накладки и перфорациями и выступающими язычками обеспечивает улучшенное сцепление между слоем фрикционного материала и пластиной основания тормозной колодки. В патенте США 4,569,424 особо отмечается, что вариант прохождения выступающих язычков по всей толщине материала тормозной накладки, так что они доходят до самой ее поверхности, является нежелательным, и указывается, что узел тормозной колодки вырабатывает свой ресурс работы, когда стирается достаточное количество материала накладки, и концы язычков оказываются на ее поверхности.
[0008] Соответственно, в области тормозных систем для автомобилей имеется потребность в улучшении статических и динамических тормозных характеристик узлов стояночных тормозов или систем экстренного торможения, которые не требуют первоначального износа или приработки для улучшения взаимодействия между тормозной накладкой и противолежащей фрикционной поверхностью тормозного барабана или диска.
КРАТКОЕ ОПИСАНИЕ ИЗОБРЕТЕНИЯ
[0009] Изобретение относится к узлу системы экстренного торможения, содержащему вращающуюся часть, функционально соединенную с колесом транспортного средства. Вращающаяся часть (например, барабан или диск колеса) снабжена контактной поверхностью, которая представляет собой рабочую поверхность тормоза. Рядом с вращающейся частью установлен невращающийся элемент тормоза (например, тормозная колодка) с возможностью его перемещения между положением применения тормоза, в котором невращающийся элемент прижимается к контактной поверхности, и положением, в котором тормоз не задействован, и невращающийся элемент расположен на некотором расстоянии от контактной поверхности. Элемент тормоза содержит жесткую пластину основания и размещенный на ней фрикционный материал. Фрикционный материал образует внешнюю поверхность, которая находится напротив противолежащей контактной поверхности вращающейся части и которая может взаимодействовать с этой контактной поверхностью при применении тормоза. От пластины основания отходят выступы, проходящие в слое фрикционного материала. Каждый из выступов имеет кончик, находящийся в непосредственной близости от внешней поверхности фрикционного материала. Относительное положение кончиков выступов и внешней поверхности фрикционного материала 22 выбирается в зависимости от сжимаемости фрикционного материала таким образом, чтобы кончики и внешняя поверхность одновременно входили во взаимодействие с контактной поверхностью вращающейся части, когда элемент тормоза перемещается в положение применения тормоза. Таким образом, фрикционный материал и выступы совместно обеспечивают создание силы трения, действующей на вращающуюся часть, в результате чего повышается эффективность работы тормозного узла.
[0010] Устройство, предлагаемое в настоящем изобретении, позволяет преодолеть проблемы систем экстренного торможения предшествующего уровня в связи с тем, что для такого устройства не требуется период начального стирания или прирабатывания рабочих поверхностей для достижения оптимальных характеристик торможения, поскольку фрикционный материал и выступы вместе создают необходимую силу трения, когда тормозной узел переводится в положение применения тормоза. Выступы могут делать контактную поверхность (вращающегося барабана или диска) более шероховатой, в то время как фрикционный материал принимает наиболее оптимальную форму, обеспечивающую очень быстрое достижение высокого коэффициента трения. Таким образом, система экстренного торможения может выйти на оптимальные характеристики трения уже при первом применении, то есть отпадает необходимость в некотором периоде прирабатывания рабочих поверхностей.
[0011] Вышеуказанные и другие объекты, особенности и достоинства изобретения, а также предпочтительных вариантов осуществления изобретения станут более очевидными из нижеприведенного описания вместе с прилагаемыми чертежами.
КРАТКОЕ ОПИСАНИЕ ЧЕРТЕЖЕЙ
[0012] На прилагаемых чертежах, являющихся частью описания, показано:
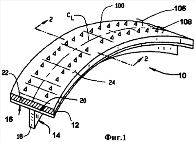
[0013] Фигура 1 – вид в перспективе узла тормозной колодки в соответствии с настоящим изобретением.
[0014] Фигура 2 – вид в разрезе по линии 2-2 узла тормозной колодки, показанной на фигуре 1.
[0015] Фигура 3 – увеличенный вид выступа, сформированного в пластине основания тормозной колодки в соответствии с настоящим изобретением.
[0016] Фигура 4 – увеличенный вид первого альтернативного варианта конфигурации выступа, сформированного в пластине основания тормозной колодки.
[0017] Фигура 5 – увеличенный вид второго альтернативного варианта конфигурации выступа, сформированного в пластине основания тормозной колодки.
[0018] Фигура 6 – увеличенный вид третьего альтернативного варианта конфигурации выступа, сформированного в пластине основания тормозной колодки.
[0019] Фигура 7 – увеличенный вид четвертого альтернативного варианта конфигурации выступа, сформированного в пластине основания тормозной колодки.
[0020] Фигура 8 – увеличенный вид пятого альтернативного варианта конфигурации выступа, сформированного в пластине основания тормозной колодки.
[0021] Фигура 9 – вид в перспективе альтернативного варианта узла тормозной колодки в соответствии с настоящим изобретением.
[0022] Фигура 10 – вид сбоку узла тормозной колодки в соответствии с настоящим изобретением во взаимодействии с поверхностью тормозного барабана.
[0023] Фигуры 11А-11С – иллюстрации последовательности состояний торможения, где на фигуре 11А показан вид тормозного узла в положении, когда тормоз не задействован; на фигуре 11В показан вид тормозного узла в положении парковки и на фигуре 11С показан вид тормозного узла в положении экстренного торможения.
[0024] Фигура 12 – вид в перспективе тормозной колодки в соответствии с изобретением, на котором материал тормозной колодки частично снят для показа проходящих в нем выступов.
[0025] Фигура 13 – вид сечения, аналогичный виду, приведенному на фигуре 2, но в данном случае показан альтернативный вариант осуществления изобретения, в котором кончики выступов находятся ниже поверхности тормозной накладки, показанной штрих-пунктирными линиями, но при действии достаточного давления материал накладки сжимается, и его поверхность занимает положение, показанное сплошной линией, в результате чего кончики выступов выходят наружу.
[0026] На фигурах одинаковые ссылочные номера указывают одинаковые части.
ПОДРОБНОЕ ОПИСАНИЕ ИЗОБРЕТЕНИЯ
[0027] В нижеприведенном подробном описании приводятся примеры осуществления изобретения, которые не должны рассматриваться как ограничивающие его объем. Описание дает возможность специалисту в данной области осуществить и использовать изобретение, и в нем рассматривается несколько вариантов осуществления изобретения и их модификаций, а также применения изобретения, в том числе применение, которое считается на данный момент наилучшим.
[0028] На фигуре 1 узел тормозной колодки в соответствии с настоящим изобретением указан в целом ссылочным обозначением 10. Узел 10 тормозной колодки содержит криволинейное основание 12, форма которого представляет часть цилиндрической поверхности. Узел 10 тормозной колодки снабжен одной или несколькими крепежными точками 14 на нижней поверхности 16, предназначенными для обеспечения крепления узла 10 тормозной колодки к несущей конструкции на колесе (не показано) механического транспортного средства. Конкретные характеристики крепежных точек 14 варьируются в зависимости от конкретного применения, для которого предназначен узел 10 тормозной колодки.
[0029] Например, крепежные точки 14 могут быть устроены в стенке 18, проходящей по нижней поверхности 16, или представлять собой одну или несколько выступающих бобышек с резьбой (не показаны), или отверстий, сквозь которые могут проходить фиксирующие штифты. Кроме того, основание 12 тормозной колодки имеет верхнюю поверхность 20, предназначенную для размещения на ней слоя 22 фрикционного материала. Слой 22 фрикционного материала имеет внешнюю фрикционную поверхность 24.
[0030] Как можно видеть на фигурах 1 и 2, от верхней поверхности 20 основания 12 тормозной колодки отходят вверх в радиальном направлении выступы 100. Каждый из выступающих зубцов 100 проходит сквозь слой 22 фрикционного материала и в первом варианте осуществления изобретения заканчивается на внешней фрикционной поверхности 24. В альтернативном варианте осуществления изобретения каждый из выступов 100 выступает из внешней фрикционной поверхности 24, так что часть выступа находится снаружи.
[0031] Предпочтительно, как показано на фигуре 3, каждый выступающий выступ 100 составляет единое целое с основанием 12 тормозной колодки и формируется при пробивке отверстий в основании. Каждый такой выступ может быть сформирован при прорезании основания 12 тормозной колодки по линии сектора 102 таким образом, что отходов материала основания нет, причем линия, проходящая через концы каждого сектора 102, параллельна оси цилиндра, образованного поверхностью основания. Каждый выступ 100 формируется путем отгибания наружу в радиальном направлении части материала в прорези вокруг оси 104, соединяющей концы сектора 102, так чтобы выступ занял нужное угловое положение относительно поверхности основания тормозной колодки. В альтернативном варианте каждый выступ 100 может быть получен сгибанием части материала в вырезе таким образом, что зона сгиба представляет собой плавную кривую С (см. фигуру 4), в отличие от резкого сгиба, который получается при сгибании только вокруг оси 104 между концами сектора 102.
[0032] Средний специалист в данной области легко поймет, что для формирования описанных выступов 100 могут быть использованы самые различные способы, и эти выступы будут отходить от основания 12 тормозной колодки в радиальном направлении внутри слоя 22 фрикционного материала. Например, выступы 100 могут быть изготовлены отдельно от основания 12 тормозной колодки и затем приварены к нему или прикреплены любым иным способом.
[0033] Кроме того, среднему специалисту в данной области будет также ясно, что форма выступов 100 необязательно должна быть треугольной, как показано на фигурах 1-4. Например, как показано на фигурах 5-8, выступы 100 могут иметь закругленную форму, прямоугольную, Т-образную или форму замочной скважины.
[0034] Предпочтительно, как показано на фигуре 1, выступы 100 проходят двумя параллельными рядами 106, 108 по обеим сторонам от центральной кольцевой линии CL, проходящей по цилиндрической поверхности основания 12 тормозной колодки.
[0035] В первом альтернативном варианте конфигурации выступы 100 могут быть симметрично расположены относительно центральной кольцевой линии CL, основания 12. Например, как можно видеть на фигуре 9, выступы 100 могут образовывать контуры одной или нескольких букв “V” на верхней поверхности 20 основания 12 тормозной колодки. Если выступы 100 образуют только одну букву “V”, то каждый зубец 100 располагается на отдельной кольцевой линии, проходящей по внешней цилиндрической поверхности 20 основания 12 тормозной колодки. Кроме того, как показано на фигуре 9, выступы 100 могут быть дополнительно расположены на кольцевых краях верхней поверхности 20 основания 12 тормозной колодки.
[0036] Во втором альтернативном варианте конфигурации выступы 100 могут быть расположены на цилиндрической поверхности основания 12 тормозной колодки случайным образом.
[0037] Как можно видеть на фигуре 10, при работе тормозной системы транспортного средства привод узла 10 тормозной колодки обеспечивает перемещение внешней фрикционной поверхности 24 и выступов 100 для приведения в контакт с противолежащей фрикционной поверхностью 26, если таковая имеется, на внутренней цилиндрической поверхности 28 коаксиально установленного тормозного барабана 30 или же непосредственно с внутренней цилиндрической поверхностью 28. Работа тормозной системы транспортного средства в случае, когда транспортное средство неподвижно (то есть парковочный тормоз), приводит к тому, что внешняя фрикционная поверхность 24 и выступы 100 приводятся в постоянный контакт с противолежащей фрикционной поверхностью 26. В результате создается начальная сила статического трения, которую необходимо преодолеть для того, чтобы тормозной цилиндр 30 и противолежащая поверхность 26 смогли вращаться относительно узла 10 тормозной колодки и внешней фрикционной поверхности 24.
[0038] Работа тормозной системы транспортного средства в случае, когда транспортное средство находится в движении, приводит к тому, что внешняя фрикционная поверхность 24 и выступы 100 приводятся в динамический (скользящий) контакт с противолежащей фрикционной поверхностью 26. В результате создается тормозная сила динамического трения при взаимодействии двух фрикционных поверхностей и выступов 100, препятствующая вращению тормозного барабана 30 относительно узла 10 тормозной колодки.
[0039] В соответствии с другим вариантом изобретение может быть использовано особенно эффективно для преодоления проблемы системы экстренного торможения, которая из-за редкого использования может не обеспечивать достаточной силы трения. Это особенно проявляется в том случае, когда установлен новый тормозной элемент, и его сопряжение с вращающейся частью 30, тормозным барабаном или тормозным диском недостаточно, в результате чего коэффициент трения может быть ниже расчетного. Для обычной тормозной системы автомобиля, действующей на четыре колеса, такая проблема не возникает, поскольку поверхности быстро прирабатываются друг к другу уже после нескольких остановок автомобиля. Однако для стояночных тормозов и систем экстренного торможения такая возможность установления необходимого состояния фрикционных поверхностей в процессе работы отсутствует. Они часто устанавливаются только на пару колес, обычно на задние колеса, и используются только в действительно экстренных ситуациях, когда существует острая необходимость в обеспечении оптимальных характеристик торможения. Даже в обычных условиях парковки система экстренного торможения может не обеспечивать силы удерживания, необходимой для удерживания автомобиля в неподвижном состоянии на крутых склонах, в особенности на новых автомобилях, на которых система экстренного торможения практически не использовалась.
[0040] На фигурах 11-13 иллюстрируется альтернативный вариант осуществления изобретения, в котором выступы 100 не выступают из внешней фрикционной поверхности 24, когда тормоз не задействован. Кончики 110 выступов 100 заканчиваются на внешней фрикционной поверхности 24, то есть на одном уровне с этой поверхностью. Таким образом, кончики 110 выступов 100 будут еле видны как крохотные металлические точки на внешней фрикционной поверхности 24. На фигуре 11А представлен вид узла 10 тормозной колодки в разрезе и ее положение относительно тормозного барабана 30, когда тормоз не задействован. Это нормальное состояние для системы экстренного торможения, в котором она остается в течение всей поездки, если ничего не случается. Для всех практических целей узел 10 тормозной колодки не оказывает никакого воздействия на тормозной барабан, когда тормоз не задействован.
[0041] На фигуре 11В узел 10 тормозной колодки показан в нормальном рабочем состоянии, когда система экстренного торможения обеспечивает умеренное давление узла 10 тормозной колодки на тормозной барабан 30. Это состояние чаще всего представляет применение стояночного тормоза, который обеспечивает удерживание транспортного средства в безопасном, неподвижном положении, когда в нем нет людей. На фигуре 11С представлено состояние приложения к тормозу большой нагрузки, которое может происходить при паническом торможении, или когда водитель применяет необычно сильное воздействие на привод системы экстренного торможения. В этом состоянии фрикционный материал 22, к которому приложена большая нагрузка, может достаточно сжаться, так что кончики 110 выступают над внешней фрикционной поверхностью 24 и врезаются в поверхность 28 вращающегося тормозного барабана 30.
[0042] Относительное положение кончиков 110 выступов 100 и внешней поверхности 24 фрикционного материала 22 выбирается в зависимости от сжимаемости фрикционного материала 22 таким образом, чтобы кончики 110 и внешняя поверхность 24 одновременно входили во взаимодействие с контактной поверхностью 28 вращающегося тормозного барабана 30, когда узел 10 тормоза перемещается в положение применения тормоза (см. фигуры 11В и 11С), и поэтому фрикционный материал 22 и выступы 100 совместно обеспечивают создание силы трения, действующей на барабан 30, в результате чего повышается эффективность работы узла 10 тормоза. В то время как в устройствах предшествующего уровня трение обеспечивалось исключительно фрикционным материалом, в настоящем изобретении используется совместное действие фрикционного материала 22 и выступов 100, которое в случае неплотного прилегания внешней поверхности 24 обеспечивает преодоление проблемы неприработавшихся тормозных поверхностей и создает оптимальную удерживающую силу даже в случае новой, еще не использовавшейся системы экстренного торможения. Этот механизм совместного создания силы трения также полезен в случаях неправильной установки стояночного тормоза, когда водитель плохо затянул рычаг тормоза. В такой ситуации, вызванной ошибкой водителя, дополнительное трение, создаваемое совместным действием фрикционного материала 22 и выступов 100, может быть достаточным для того, чтобы предотвратить самопроизвольное движение припаркованного автомобиля.
[0043] На фигуре 12 представлен вид в перспективе тормозной колодки дискового тормоза в соответствии с изобретением, на котором фрикционный материал 22 частично снят для показа находящихся в нем выступов 100. В этом варианте узел 10 тормозной колодки содержит тормозную накладку дискового тормоза, и пластина 12 основания практически плоская. Специалистам в данной области технике станет ясно, что все другие особенности и основные признаки изобретения, описанные в предыдущих примерах, также применимы к этому применению в дисковом тормозе.
[0044] На фигуре 13 представлен вид сечения конструкции, показанной на фигуре 2, на которой в несколько преувеличенной форме показан еще один вариант осуществления изобретения, в котором выступы 100 в нормальном состоянии находятся под внешней поверхностью 24 фрикционного материала 22, показанной штрих-пунктирными линиями. При действии достаточной силы фрикционный материал 22 сжимается до состояния, показанного сплошными линиями, то есть кончики 110 выступают над поверхностью. В этом варианте кончики 110 выступов находятся под поверхностью 24 фрикционного материала 22, когда тормоз не задействован, и оказываются на этой поверхности при сжатии фрикционного материала 22, когда тормоз задействован. Это становится возможным, поскольку сжимаемость фрикционного материала 22 выше, чем сжимаемость кончиков 110 выступов 100. Таким образом, фрикционный материал 22 деформируется больше, чем выступы 100 в процессе перемещения узла тормозной колодки из состояния ожидания в состояние работы.
[0045] Когда тормоз задействован, фрикционный материал сжимается, так что внешняя поверхность 24 фрикционного материала 22 смещается относительно кончиков 110 выступов по мере того, как узел тормозной колодки прижимается к контактной поверхности тормозного элемента колеса. Это происходит потому, что сжимаемость фрикционного материала 22 гораздо выше, чем сжимаемость выступов 100, так что фрикционный материал 22 деформируется гораздо больше (при аксиальной или нормальной нагрузке), чем кончики 110 выступов по мере того, как узел 10 тормозной колодки перемещается из положения, в котором тормоз не задействован, в положение применения тормоза. Еще в одном примере фрикционный материал 22, имеющий гораздо большую сжимаемость, может эффективно использоваться в случае, когда кончики 110 находятся несколько ниже внешней поверхности 24 фрикционного материала 22. В этом случае при действии сжимающих сил в процессе торможения кончики 110 могут смещаться вперед, так что они будут находиться практически в одной плоскости с внешней поверхностью 24.
[0046] Вариант осуществления изобретения, представленный на фигурах 11-13, особенно эффективен при использовании в системах экстренного торможения (или в стояночном тормозе), поскольку сила трения создается совместным действием кончиков 110 выступов и фрикционного материала 22 на контактную поверхность 28 вращающейся части 30 (барабан или диск), когда узел 10 тормоза (колодка) перемещается в положение применения тормоза. Таким образом, фрикционный материал 22 и выступы 100 совместно обеспечивают необходимую силу трения, в результате чего повышается эффективность работы узла 10 тормоза Кроме того, выступы 100 могут делать контактную поверхность 28 вращающегося барабана или диска более шероховатой, в то время как фрикционный материал 22 принимает наиболее оптимальную форму, обеспечивающую очень быстрое достижение высокого коэффициента трения. Однако в состоянии, когда тормоз не задействован (см., например, фигуру 11А), кончики 11А не выступают над внешней поверхностью 24 фрикционного материала 22 и, соответственно, не взаимодействуют с контактной поверхностью 28.
[0047] В связи с вышеизложенным можно сделать вывод о том, что цели изобретения достигнуты, а также получены и другие полезные результаты. Поскольку различные изменения могут быть внесены в вышеописанные конструкции без выхода за пределы объема изобретения, необходимо понимать, что все описание вместе с прилагаемыми чертежами должно пониматься как иллюстрация изобретения, не ограничивающая его объема.
Формула изобретения
1. Тормозной узел системы экстренного торможения, содержащий: вращающуюся часть, функционально соединенную с колесом транспортного средства и имеющую контактную поверхность; невращающийся тормозной элемент, установленный рядом с вращающейся частью с возможностью его перемещения между положением применения тормоза, в котором невращающийся элемент прижимается к контактной поверхности, и положением, в котором тормоз не задействован, и невращающийся элемент расположен на некотором расстоянии от контактной поверхности; причем тормозной элемент содержит жесткую пластину основания и стираемый фрикционный материал, размещенный на пластине основания и имеющий внешнюю поверхность, которая находится напротив контактной поверхности вращающейся части и может с ней взаимодействовать в положении применения тормоза, и при этом внешняя поверхность еще не стиралась в результате абразивного взаимодействия с контактной поверхностью; выступы, проходящие от опорной пластины в слое фрикционного материала, причем каждый из выступов имеет кончик, находящийся в непосредственной близости от внешней поверхности фрикционного материала; причем относительное положение кончиков выступов и внешней поверхности фрикционного материала выбирается в зависимости от сжимаемости фрикционного материала таким образом, чтобы кончики выступов и внешняя поверхность одновременно входили во взаимодействие с контактной поверхностью вращающейся части, когда тормозной элемент в первый раз переходит в положение применения тормоза, то есть фрикционный материал и выступы совместно обеспечивают создание силы трения, действующей на вращающуюся часть при первом контакте между их поверхностями, в результате чего улучшается эффективность первоначального торможения тормозного узла.
2. Тормозной узел по п.1, в котором тормозной элемент представляет собой тормозную колодку барабанного тормоза, причем пластина основания имеет криволинейную поверхность.
3. Тормозной узел по п.2, в котором вращающаяся часть является барабаном, и контактная поверхность в целом имеет цилиндрическую форму.
4. Тормозной узел по п.1, в котором тормозной элемент является колодкой дискового тормоза, причем пластина основания в целом имеет плоскую поверхность.
5. Тормозной узел по п.1, в котором выступы составляют единое целое с пластиной основания.
6. Тормозной узел по п.1, в котором кончики выступов заострены.
7. Тормозной узел по п.1, в котором кончики выступов находятся примерно в одной плоскости с внешней поверхностью фрикционного материала, когда тормоз не задействован.
8. Тормозной узел по п.1, в котором кончики выступов находятся ниже внешней поверхности фрикционного материала, когда тормоз не задействован, и могут перемещаться вперед, так что они оказываются примерно в одной плоскости с внешней поверхностью фрикционного материала после его сжатия в положении применения тормоза.
9. Тормозной узел по п.1, в котором сжимаемость фрикционного материала гораздо выше, чем сжимаемость кончиков выступов, так что фрикционный материал деформируется больше, чем кончики выступов в процессе перемещения тормозного элемента между положением, когда тормоз не задействован, и положением применения тормоза.
10. Тормозной элемент системы экстренного торможения, который может перемещаться между положением применения тормоза, когда указанный элемент прижат к вращающейся части колеса, и положением, когда тормоз не задействован, в котором указанный элемент находится на некотором расстоянии от вращающейся части колеса, причем элемент системы экстренного торможения содержит: жесткую пластину основания; фрикционный материал, размещенный на пластине основания и имеющий внешнюю поверхность, которая может взаимодействовать с вращающейся частью колеса в положении применения тормоза, и при этом внешняя поверхность еще не стиралась в результате абразивного взаимодействия с вращающейся частью колеса; выступы, проходящие от опорной пластины в слое фрикционного материала, причем каждый из выступов имеет кончик, находящийся в непосредственной близости от внешней поверхности фрикционного материала; и при этом относительное положение кончиков выступов и внешней поверхности фрикционного материала выбираются таким образом, чтобы кончики выступов и внешняя поверхность находились примерно на одном уровне при первом применении тормоза.
11. Тормозной узел по п.10, в котором тормозной элемент является тормозной колодкой барабанного тормоза, причем пластина основания имеет криволинейную поверхность.
12. Тормозной узел по п.10, в котором тормозной элемент является тормозной колодкой дискового тормоза, причем пластина основания в целом имеет плоскую поверхность.
13. Тормозной узел по п.10, в котором выступы составляют единое целое с пластиной основания.
14. Тормозной узел по п.10, в котором кончики выступов заострены.
15. Тормозной узел по п.10, в котором кончики выступов находятся примерно в одной плоскости с внешней поверхностью фрикционного материала, когда тормоз не задействован.
16. Тормозной узел по п.10, в котором кончики выступов находятся ниже внешней поверхности фрикционного материала, когда тормоз не задействован, и могут перемещаться вперед, так что они оказываются примерно в одной плоскости с внешней поверхностью фрикционного материала после его сжатия в положении применения тормоза.
17. Тормозной узел по п.10, в котором сжимаемость фрикционного материала гораздо выше, чем сжимаемость кончиков выступов, так что фрикционный материал деформируется больше, чем кончики выступов в процессе перемещения тормозного элемента между положением, когда тормоз не задействован, и положением применения тормоза.
18. Способ использования тормозного узла (10) системы экстренного торможения, которая еще ни разу не применялась, причем способ содержит следующие стадии: приведение во вращение вращающейся части (30), имеющей контактную поверхность (28); обеспечение невращающегося тормозного элемента, имеющего жесткую пластину (12) основания и новый фрикционный материал (22), формирующий внешнюю поверхность (24), причем фрикционный материал (22) еще ни разу не использовался; обеспечение выступов (100), проходящих от пластины (12) основания в слое фрикционного материала (22), причем каждый из выступов (100) имеет кончик (110), находящийся в непосредственной близости от внешней поверхности (24) фрикционного материала (22); установку тормозного элемента в непосредственной близости от вращающейся части (30) на некотором расстоянии от контактной поверхности (28), когда тормоз не задействован; перемещение тормозного элемента в положение применения тормоза, в котором внешняя поверхность (24) фрикционного материала (22) в первый раз прижимается к контактной поверхности (28); отличающийся тем, что трение создается совместным взаимодействием кончиков (110) выступов и внешней поверхности (24) фрикционного материала (22) с контактной поверхностью (28) вращающейся части (30), когда тормозной элемент в первый раз перемещается в положение применения тормоза, и, таким образом, фрикционный материал (22) и выступы (100) при самом первом взаимодействии их поверхностей с контактной поверхностью (28) вращающейся части (30) совместно обеспечивают создание необходимой силы трения, в результате чего повышается эффективность действия узла (10) тормоза при его первом применении.
19. Способ по п.18, в котором стадия создания силы трения содержит сжатие фрикционного материала (22), так что внешняя поверхность (24) фрикционного материала (22) перемещается по отношению к кончикам (110) выступов при перемещении тормозного элемента в положение применения тормоза.
20. Способ по п.18, в котором стадия создания силы трения содержит перемещение кончиков (110) выступов из положения, в котором они находятся ниже внешней поверхности (24) фрикционного материала (22), в положение, в котором они находятся примерно на одном уровне с указанной поверхностью при перемещении тормозного элемента из положения, когда тормоз не задействован, в положение применения тормоза.
РИСУНКИ
|
|