|
|
(21), (22) Заявка: 2007131790/11, 17.01.2006
(24) Дата начала отсчета срока действия патента:
17.01.2006
(30) Конвенционный приоритет:
26.01.2005 US 60/647,331 28.11.2005 US 11/287,708
(43) Дата публикации заявки: 10.03.2009
(46) Опубликовано: 27.05.2010
(56) Список документов, цитированных в отчете о поиске:
US 4976347 А, 11.12.1990. US 6951521 B2, 17.06.2004. US 4882951 A, 28.11.1989. SU 584136 A1, 15.12.1977.
(85) Дата перевода заявки PCT на национальную фазу:
27.08.2007
(86) Заявка PCT:
US 2006/001669 20060117
(87) Публикация PCT:
WO 2006/081108 20060803
Адрес для переписки:
119034, Москва, Пречистенский пер., 14, стр. 1, 4-й этаж, “Гоулингз Интернэшнл Инк.”, пат.пов. Ю.В.Дементьевой, рег. 560
|
(72) Автор(ы):
ЭКОНЕН Тодд (US), БРЭДЛИ Дуглас (US)
(73) Патентообладатель(и):
МАГНА ДРАЙВТРЭЙН ОФ АМЕРИКА, ИНК. (US)
|
(54) УСТРОЙСТВО ПЕРЕДАЧИ МОЩНОСТИ И МЕХАНИЗМ ПЕРЕДАЧИ КРУТЯЩЕГО МОМЕНТА
(57) Реферат:
Изобретение относится к машиностроению, в частности к механизмам передачи мощности. Устройство передачи мощности содержит вращательный входной элемент, вращательный выходной элемент, механизм передачи крутящего момента и систему управления. Указанный входной элемент выполнен с возможностью приема крутящего момента от источника мощности, а выходной элемент – с возможностью передачи крутящего момента на выходное устройство. Механизм передачи крутящего момента содержит узел муфты, расположенный между входным и выходным элементами и узел исполнительного механизма муфты. Узел исполнительного механизма муфты содержит электродвигатель, приводящий в движение зубчатый редуктор. Зубчатый редуктор содержит ведущее зубчатое колесо и первое и второе плоские зубчатые колеса. Средство управления муфтой содержит первый и второй кулачковые диски, а также ролики, расположенные между ними. Система управления для приведения в действие указанного электродвигателя для управления направлением и величиной противоположного вращательного движения между первым и вторым плоскими зубчатыми колесами, которые управляют направлением и величиной поступательного движения первого кулачкового диска для изменения усилия входа в зацепления муфты. Решение направлено на уменьшение времени срабатывания исполнительного механизма муфты, уменьшение веса и размеров компонентов фрикционных муфт и источников электропитания. 2 н. и 23 з.п. ф-лы, 12 ил.
Область техники
Настоящее изобретение в общем имеет отношение к системам передачи мощности, предназначенным для управления распределением крутящего момента между передней и задней карданными передачами транспортного средства с приводом на четыре колеса и/или между левым колесом и правым колесом осевого комплекта. Более конкретно, настоящее изобретение имеет отношение к устройству передачи мощности, предназначенному для использования в автомобильной карданной передаче, имеющей механизм передачи крутящего момента, снабженный приводным исполнительным механизмом муфты, который служит для управления приведением в действие многопластинчатого фрикционного узла муфты.
Уровень техники
В связи с расширением использования транспортных средств с приводом на четыре колеса в настоящее время разработано множество систем передачи мощности, предназначенных для встраивания в автомобильные карданные передачи, которые служат для передачи крутящего момента на колеса. В различных транспортных средствах устройство передачи мощности установлено между первичным и вторичным карданными передачами. Такие устройства передачи мощности обычно снабжены механизмом передачи крутящего момента, который служит для избирательной и/или автоматической передачи крутящего момента от первичной карданной передачи ко вторичной карданной передаче, чтобы обеспечить привод на четыре колеса.
Современные тенденции развития автомашин с приводом на четыре колеса заключаются в снабжении устройства передачи мощности передаточной муфтой и электронно управляемой тяговой системой управления. Передаточная муфта служит для автоматической передачи крутящего момента на вторичные колеса безо всякого воздействия со стороны водителя, когда потеряна тяга первичных колес, для установления режима привода на четыре колеса “по запросу”. Обычно передаточная муфта содержит многопластинчатый узел муфты, который установлен между первичной и вторичной карданными передачами, и исполнительный механизм муфты, предназначенный для создания усилия ввода в зацепление муфты, которое приложено к узлу муфты. Исполнительный механизм муфты обычно содержит приводное устройство, которое срабатывает при поступлении электрических сигналов управления от электронного блока управления (ECU). Управление параметрами электрических сигналов управления часто основано на изменениях текущих рабочих характеристик транспортного средства (то есть учитывает изменение скорости транспортного средства, разность межосных скоростей, ускорение, угол поворота и т.п.), которые измеряются при помощи различных датчиков. Таким образом, указанные устройства передачи мощности “по запросу” могут использовать адаптивные схемы управления для автоматического управления распределением крутящего момента во время всех видов управления автомобилем и любых состояний дороги.
Уже разработано большое число устройств передачи мощности по запросу, в которых используют исполнительный механизм муфты с электрическим управлением для регулирования величины крутящего момента, который передают через узел муфты ко вторичной карданной передаче, в функции величины приложенного электрического сигнала управления. В некоторых применениях в передаточной муфте используют электромагнитную муфту в качестве приводного исполнительного механизма муфты. Например, в патенте США No. 5,407,024 раскрыта электромагнитная катушка, которую возбуждают с возрастанием для управления движением приводного блока шарик-наклонная плоскость, чтобы приложить усилие ввода в зацепление муфты к многопластинчатому узлу муфты. Аналогично, в выложенной заявке на патент Японии No. 62-18117 раскрыта передаточная муфта, снабженная электромагнитным исполнительным механизмом муфты, для прямого управления приведением в действие многопластинчатого блока муфты.
Альтернативно, в передаточной муфте может быть использован электродвигатель и приводной блок в качестве приводного исполнительного механизма муфты. Например, в патенте США No. 5,323,871 раскрыта раздаточная коробка по запросу, имеющая передаточную муфту, снабженную электродвигателем, который управляет вращением секторной пластины, которая, в свою очередь, управляет движением поворота плеча рычага, чтобы приложить усилие ввода в зацепление муфты к многопластинчатому узлу муфты. Более того, в выложенной заявке Японии No. 63-66927 раскрыта передаточная муфта, в которой использован электродвигатель для вращения одного кулачкового диска средства шарик-наклонная плоскость для ввода в зацепление многопдастинчатого узла муфты. Наконец, в патентах США No. 4,895,236 и 5,423,235 соответственно раскрыта раздаточная коробка, снабженная передаточной муфтой, имеющая электродвигатель, приводящий в движение редуктор для управления движением средства шарик-винт и средства шарик-наклонная плоскость, которые, в свою очередь, прикладывают усилие ввода в зацепление муфты к узлу муфты.
Несмотря на то, что множество систем управления муфтой по запросу, аналогичных описанным здесь выше, используют в настоящее время в транспортных средствах с приводом на четыре колеса, существует необходимость в применении передовых технологий в таких системах и в устранении известных недостатков этих систем. Например, размер и вес компонентов фрикционных муфт и источников электропитания, а также время срабатывания исполнительного механизма муфты, которые необходимы для обеспечения больших усилий ввода в зацепление муфт, делает такие системы слишком дорогими для некоторых автомобильных применений. Для решения указанных проблем в соответствии с настоящим изобретением предлагаются новые технологии для использования в приводных исполнительных механизмах муфт.
Сущность изобретения
Задачей настоящего изобретения является создание устройства передачи мощности для использования в автомобиле, имеющего механизм передачи крутящего момента, снабженный приводным исполнительным механизмом муфты, который служит для управления вводом в зацепление многопластинчатого узла муфты.
Смежной задачей настоящего изобретения является создание механизма передачи крутящего момента, который хорошо подходит для использования вместе с карданной передачей автомашины для управления передачей крутящего момента между первым вращательным элементом и вторым вращательным элементом.
В соответствии с изобретением предлагается блок передачи для использования в автомашине с приводом на четыре колеса, имеющей коробку скоростей (трансмиссию) и первую и вторую карданные передачи. Блок передачи содержит первый вал, приводимый во вращение от трансмиссии, второй вал, приспособленный для соединения со второй карданной передачей, и механизм передачи крутящего момента. Механизм передачи крутящего момента содержит фрикционный узел муфты, расположенный между первым валом и вторым валом, и узел исполнительного механизма муфты, предназначенный для возбуждения усилия ввода в зацепление муфты и приложения этого усилия к фрикционному узлу муфты. Узел исполнительного механизма муфты содержит электродвигатель, зубчатый редуктор и средство управления муфтой. Электродвигатель приводит в движение зубчатый редуктор, который, в свою очередь, управляет направлением и величиной относительного вращения между парой кулачковых элементов, объединенных со средством управления муфтой. Кулачковые элементы поддерживают ролики, которые катятся по коническим или наклонным кулачковым поверхностям. Контур наклонных кулачковых поверхностей побуждает один из кулачковых элементов двигаться в осевом направлении для создания соответствующего поступательного перемещения нажимного элемента. Нажимной элемент прикладывает нажимное усилие, создаваемое при помощи кулачковых элементов, в виде усилия ввода в зацепление муфты к фрикционному узлу муфты. Система управления, которая содержит датчики транспортного средства и контроллер, служит для управления приведением в действие электродвигателя.
В соответствии с настоящим изобретением узел передачи выполнен в виде линейной муфты для передачи крутящего момента, которую используют для адаптивного управления передачей крутящего момента от трансмиссии к задним ведущим осям полноприводного транспортного средства. В соответствии с родственными вариантами узел передачи представляет собой раздаточную коробку, которую используют для адаптивного управления передачей крутящего момента к передней карданной передаче в приводе по запросу на четыре колеса транспортного средства или между передней и задней карданными передачами в транспортном средстве с постоянным приводом на четыре колеса.
Указанные ранее и другие характеристики изобретения будут более ясны из последующего детального описания, данного в качестве примера, не имеющего ограничительного характера и приведенного со ссылкой на сопроводительные чертежи.
Краткое описание чертежей
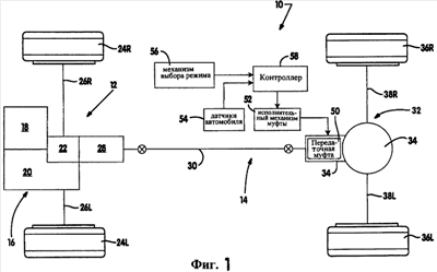
На фиг.1 показана приводная кинематическая цепь полноприводной автомашины, оборудованной устройством передачи мощности в соответствии с настоящим изобретением.
На фиг.2 схематично показано устройство передачи мощности, показанное на фиг.1, объединенное с ведущим осевым комплектом.
На фиг.3 показано сечение устройства передачи мощности, которое оборудовано механизмом передачи крутящего момента в соответствии с настоящим изобретением.
На фиг.4 показана с увеличением часть сечения, показанного на фиг.3.
На фиг.5-8 схематично показаны альтернативные варианты устройства передачи мощности в соответствии с настоящим изобретением.
На фиг.9 показана приводная кинематическая цепь транспортного средства с приводом на четыре колеса, оборудованного другой версией устройства передачи мощности в соответствии с настоящим изобретением.
На фиг.10 и 11 схематично показаны раздаточные коробки, адаптированные для использования с приводной кинематической цепью, показанной на фиг.9.
На фиг.12 схематично показано устройство передачи мощности, оборудованное механизмом наводящего распределения крутящего момента в соответствии с настоящим изобретением.
Подробное описание изобретения
Настоящее изобретение направлено на создание механизма передачи крутящего момента, которым можно адаптивно управлять для модулирования (изменения) крутящего момента, передаваемого между первым вращающимся элементом и вторым вращающимся элементом. Механизм передачи крутящего момента находит особое применение в устройствах передачи мощности, предназначенных для использования в карданных передачах автомашины, таких как, например, передаточная муфта по запросу в раздаточной коробке, линейная муфта для передачи крутящего момента или муфта смещения, объединенная с узлом дифференциала в раздаточной коробке или в приводном осевом комплекте. Таким образом, несмотря на то, что настоящее изобретение описано далее со ссылкой на конкретные варианты построения, предназначенные для использования в специфических карданных передачах, следует иметь в виду, что приведенные варианты служат только для пояснения настоящего изобретения и не имеют ограничительного характера.
На фиг.1 показана приводная кинематическая цепь 10 для полноприводного транспортного средства. Приводная кинематическая цепь 10 содержит первичную карданную передачу 12, вторичную карданную передачу 14 и трансмиссию 16 для передачи вращательного тягового усилия (то есть крутящего момента) на карданные передачи. В конкретной показанной компоновке первичная карданная передача 12 представляет собой переднюю карданную передачу, в то время как вторичная карданная передача 14 представляет собой заднюю карданную передачу. Показана трансмиссия 16, которая содержит мотор (двигатель) 18 и многоступенчатую коробку 20 скоростей. Передняя карданная передача 12 содержит передний дифференциал 22, приводимый в движение при помощи трансмиссии 16 для передачи крутящего момента на пару передних колес 24L и 24R через пару передних полуосей 26L и 26R соответственно. Задняя карданная передача 14 содержит блок 28 передачи мощности, приводимый в движение при помощи трансмиссии 16 или дифференциала 22, карданный вал 30, приводимый во вращение при помощи блока 28 передачи мощности, задний осевой комплект 32 и устройство 34 передачи мощности для избирательной передачи крутящего момента от карданного вала 30 на задние осевые комплекты 32. Показан задний осевой комплект 32, который содержит задний дифференциал 34, пару задних колес 36L и 36R и пару задних полуосей 38L и 38R, которые соединяют задний дифференциал 34 с соответствующими задними колесами 36L и 36R.
На фиг.1 также показано, что приводная кинематическая цепь 10 дополнительно содержит систему передачи мощности с электронным управлением, позволяющую водителю транспортного средства производить выбор фиксированного (“на часть времени”, временного) режима привода на четыре колеса или адаптивного (“по запросу”) режима привода на четыре колеса. Для этого устройство 34 передачи мощности оборудовано передаточной муфтой 50, которая может быть избирательно приведена в действие для передачи крутящего момента от карданного вала 30 на задний осевой комплект 32 для обеспечения режимов фиксированного (временного) привода или привода по запросу на четыре колеса. Система передачи мощности дополнительно содержит приводной исполнительный механизм 52 муфты для приведения в действие передаточной муфты 50, датчики 54 транспортного средства, предназначенные для обнаружения (измерения) некоторых динамических и рабочих характеристик автомашины 10, механизм 56 выбора режима, позволяющий водителю транспортного средства выбирать один из возможных режимов управления автомобилем, и контроллер (блок управления) 58 для управления приведением в действие (срабатыванием) муфты 52 исполнительного механизма в ответ на входные сигналы от датчиков 54 транспортного средства и селектора 56 режима.
Устройство передачи мощности, которое далее здесь называют муфтой 34 для передачи крутящего момента, которая показана схематично на фиг.2, при работе расположена между карданным валом 30 и валом-шестерней 60. Можно видеть, что вал-шестерня 60 содержит шестерню 62, которая входит в зацепление с гипоидным кольцевым зубчатым колесом 64, которое установлено в картере 66 заднего дифференциала 34. Дифференциал 34 является обычным в том смысле, что шестерни 68, приводимые в движение картером 66, служат для привода полуосевых шестерен 70L и 70R, которые служат для вращения соответствующих полуосей 38L и 38R. Можно видеть, что муфта 34 для передачи крутящего момента, которая содержит передаточную муфту 50 и исполнительный механизм 52 муфты, управляет передачей крутящего момента от карданного вала 30 на вал-шестерню 60 и образует вместе с ними механизм передачи крутящего момента в соответствии с настоящим изобретением.
Далее со ссылкой, главным образом, на фиг.3 и 4 будут подробно описаны компоненты и функции муфты 34 для передачи крутящего момента. Можно видеть, что муфта 34 для передачи крутящего момента обычно содержит кожух 72, входной вал 74, установленный с возможностью вращения в кожухе 72 с использованием узла 76 подшипников, передаточную муфту 50 и исполнительный механизм 52 муфты. Вилка 78 закреплена на первом конце входного вала 74 и позволяет производить соединение с карданным валом 30. Передаточная муфта 50 содержит ступицу 80, закрепленную с возможностью вращения вместе с входным валом 74, барабан 82, закрепленный с возможностью вращения вместе с валом-шестерней 60, и узел 84 многопластинчатой муфты, содержащий чередующиеся внутренние и внешние пластины муфты, которые расположены между ступицей 80 и барабаном 82. Можно видеть, что узел 86 подшипника поддерживает с возможностью вращения второй конец входного вала 74 в барабане 82, который, в свою очередь, поддерживается с возможностью вращения в кожухе 72 при помощи узла 88 подшипника.
Узел 52 исполнительного механизма муфты обычно содержит электродвигатель 90, зубчатый редуктор 92 и средство 94 управления муфтой. Электродвигатель 90 закреплен в кожухе 72 и содержит вращающийся выходной вал 96, имеющий ведущее зубчатое колесо 98. Зубчатый редуктор 92 обычно содержит первый компонент 100 приведения в движение и второй компонент 102 приведения в движение, которые поддерживаются с возможностью вращения друг относительно друга и относительно входного вала 74. В частности, первый компонент 100 приведения в движение содержит цилиндрический первый сегмент 104 ступицы, который поддерживается с возможностью вращения при помощи узла 106 подшипника на входном валу 74, и радиально выступающий первый кольцевой сегмент 108, расположенный на первом конце первого сегмента 104 ступицы. Второй компонент 102 приведения в движение содержит цилиндрический второй сегмент 110 ступицы, который поддерживается с возможностью вращения при помощи узла 112 подшипника на сегменте 104 ступицы, и радиально выступающий второй кольцевой сегмент 114, расположенный на первом конце второго сегмента 110 ступицы. Нажимная планка 116 и замковое кольцо 118 служат для выбора осевого положения зубчатого редуктора 92 на входном валу 74. Можно видеть, что первый кольцевой сегмент 108 содержит первые зубья 120 зубчатого колеса на своей внутренней лицевой поверхности 122, которые входят в зацепление с ведущим зубчатым колесом 98. Аналогично, второй кольцевой сегмент 114 содержит вторые зубья 124 зубчатого колеса на своей внешней лицевой поверхности 126, которые входят в зацепление с ведущим зубчатым колесом 98. Таким образом, вращение ведущего зубчатого колеса 98 в первом направлении приводит к соответствующей величине относительного вращения между первым компонентом 100 приведения в движение и вторым компонентом 102 приведения в движение в первом направлении. Более того, вращение ведущего зубчатого колеса 98 в противоположном втором направлении приводит к соответствующей величине относительного вращения между первым и вторым компонентами 100 и 102 приведения в движение во втором направлении. Далее будет подробно описано, как это управление в двух направлениях вращением первого компонента 100 приведения в движение относительно второго компонента 102 приведения в движение используют для управления точным и быстрым включением узла 84 муфты через средство 94 управления муфтой.
Средство 94 управления муфтой, лучше всего показанное на фиг.4, содержит первый кулачковый диск 130, закрепленный при помощи шпонки 132 на втором конце первого сегмента 104 ступицы, второй кулачковый диск 134, закрепленный при помощи шпонки 136 на втором конце второго сегмента 110 ступицы, и ролики 138. Ролики 138 по одному расположены в каждой из множества выровненных кулачковых канавок 140 и 142, образованных в соответствующих лицевых поверхностях первого и второго кулачковых дисков 130 и 134 соответственно. Преимущественно три расположенных с одинаковыми промежутками наборов таких лицевых кулачковых канавок 140 и 142 образованы в кулачковых дисках 130 и 134 соответственно. Канавки 140 и 142 содержат кулачковые поверхности 140А и 142А соответственно, которые образуют наклон, конус или образуют другой контур в направлении по окружности. Ролики 138 катятся по кулачковым поверхностям 140А и 142А, в результате чего возникает осевое движение первого кулачкового диска 130 относительно второго кулачкового диска 134 в ответ на относительное вращение между ними. Можно видеть, что первый узел 144 упорного подшипника расположен между первым кулачковым диском 130 и узлом 84 муфты, в то время как второй узел 146 упорного подшипника расположен между вторым кулачковым диском 134 и прижимной планкой 148, которая закреплена по оси барабана 88 при помощи стопорного кольца 150. Предусмотрено другое стопорное кольцо 152 для осевого удержания второго кулачкового диска 134 на втором сегменте 110 ступицы второго компонента 102 приведения в движение.
Первый кулачковый диск 130 выполнен с возможностью осевого перемещения относительно узла 84 муфты между первым или “отпущенным” положением и вторым или “замкнутым” положением. При нахождении первого кулачкового диска 130 в его отпущенном положении минимальное усилие ввода в зацепление муфты приложено к узлу 84 муфты, так что практически крутящий момент не передается от входного вала 74 через узел 84 муфты на вал-шестерню 60, так что устанавливается режим привода на два колеса. Наоборот, при нахождении первого кулачкового диска 130 в его замкнутом положении максимальное усилие ввода в зацепление муфты приложено к узлу 84 муфты, так что вал-шестерня 60 связана с входным валом 74 для общего вращения, при этом устанавливается режим привода на четыре колеса. Таким образом, точное двунаправленное управление осевым положением первого кулачкового диска 130 между его отпущенным и замкнутым положениями позволяет производить адаптивное регулирование величины крутящего момента, передаваемого от входного вала 74 на вал-шестерню 60, в результате чего устанавливается по запросу режим привода на четыре колеса.
Конический контур кулачковых поверхностей 140А и 142А выбран так, чтобы управлять осевым сдвигом первого кулачкового диска 130 относительно узла 84 муфты из его отпущенного положения в его замкнутое положение в ответ на приведение во вращение ведущего зубчатого колеса 98 при помощи двигателя 90 в первом направлении вращения. Такое вращение ведущего зубчатого колеса 98 в первом направлении приводит к тому, что первый компонент 100 приведения в движение смещается по углу в направлении, противоположном направлению движения второго компонента 102 приведения в движение, в результате чего создается соответствующая величина относительного вращения между кулачковыми дисками 130 и 134, так что ролики 138 катятся по контурным кулачковым поверхностям 140А и 142А. Однако, так как второй кулачковый диск 134 не может совершать осевое перемещение, относительное вращение вызывает осевое перемещение первого кулачкового диска 130 в его замкнутое положение для приложения максимального усилия ввода в зацепление к узлу 84 муфты. Аналогично, первый кулачковый диск 130 смещается по оси из его замкнутого положения назад в его отпущенное положение в ответ на вращение ведущего зубчатого колеса 98 во втором направлении при той же величине углового перемещения. Такое вращение ведущего зубчатого колеса 98 во втором направлении создается при помощи электродвигателя 90, приводящего во вращение вал 96 двигателя во втором направлении вращения.
Величину углового перемещения компонентов 100 и 102 приведения в движение в противоположных направлениях (то есть величину относительного вращения) и соответствующую величину осевого перемещения первого кулачкового диска 130 можно выбирать в соответствии с требованиями к специфической муфте. Аналогично, профиль кулачковых поверхностей 140А и 140В можно выбирать для усиления усилий ввода муфты в зацепление. В качестве альтернативы показанной компоновке одна из кулачковых поверхностей 140А и 142А может быть неконусной, так что наклонный профиль создается полностью при помощи другой из кулачковых поверхностей. Кроме того, вместо показанных цилиндрических роликов 138 могут быть использованы шарики, расположенные в полусферических кулачковых канавках.
При работе, когда селектор 56 режима указывает (задает) выбор режима привода на два колеса, контроллер 58 подает команду на электродвигатель 90 для вращения вала 96 двигателя во втором направлении для перемещения первого кулачкового диска 130 до тех пор, пока он не окажется в своем отпущенном положении, в результате чего происходит разъединение узла 84 муфты. Если селектор режима 56 после этого указывает выбор режима временного привода на четыре колеса, электродвигатель 90 по команде контроллера 58 вращает приводной вал 96 в первом направлении для линейного перемещения первого кулачкового диска 130 до тех пор, пока он не окажется в своем замкнутом положении. Как уже было упомянуто здесь выше, такое перемещение первого кулачкового диска 130 в его замкнутое положение приводит к полному вводу в зацепление узла 84 муфты, в результате чего вал-шестерня 60 соединяется с входным валом 74.
Когда селектор 56 режима указывает (задает) выбор режима привода на четыре колеса по запросу, контроллер 58 подает команду на двигатель 90 для вращения вала 96 двигателя до тех пор, пока первый кулачковый диск 130 не будет расположен в положении готовности или в “резервном” положении. Этим положением может быть отпущенное положение или, в альтернативном варианте, промежуточное положение. В любом случае заданная минимальная величина крутящего момента подается на вал-шестерню 60 через узел муфты 84 в этом резервном состоянии. После этого контроллер 58 решает, когда и какой крутящий момент необходимо передавать на вал-шестерню 60 на основании текущих условий тяги и/или рабочих характеристик автомашины, которые измеряют датчики 54. Следует иметь в виду, что любые известные схемы управления могут быть использованы в соответствии с настоящим изобретением для адаптивного управления включением передаточной муфты 50 в карданной передаче. Описанная компоновка исполнительного механизма 52 муфты является усовершенствованием известных устройств, причем усиление крутящего момента за счет зубчатого редуктора 92 позволяет использовать электродвигатель малой мощности и обеспечить очень быстрое срабатывание и точное управление положением первого кулачкового диска 130 и, следовательно, величиной усилия ввода в зацепление муфты, приложенного к узлу 84 муфты.
Для иллюстрации альтернативного устройства передачи мощности, в котором может быть использовано настоящее изобретение, на фиг.5 схематично показана компоновка 10′ привода на четыре колеса для автомашины с ведущими передними колесами. В частности, мотор 18 приводит в движение многоступенчатую коробку 20 скоростей, имеющую встроенный узел 22 переднего дифференциала, приводящий во вращение передние колеса 24L и 24R через полуоси 26L и 26R. Блок 190 передачи мощности также приводится в движение при помощи трансмиссии 16 для подачи крутящего момента на входной элемент муфты 192 передачи крутящего момента, которая служит для избирательной передачи крутящего момента на карданный вал 30. Таким образом, когда датчики указывают скольжение переднего колеса, контроллер 58 адаптивно управляет включением муфты 192 передачи крутящего момента, так что крутящий момент подается “по запросу” к задней карданной передаче 14 для приведения во вращение задних колес 36L и 36R. Предусмотрено, что муфта 192 передачи крутящего момента содержит многопластинчатый узел 194 муфты и исполнительный механизм 196 муфты, конструкция и функции которых главным образом аналогичны конструкции и функциям и многопластинчатого узла 50 муфты и исполнительного механизма 52 муфты, описанным здесь выше.
Обратимся теперь к рассмотрению фиг.6, на которой схематично показан блок 190 передачи мощности в полноприводной системе по запросу, предназначенной для транспортного средства с ведущими передними колесами, аналогичный блоку, показанному на фиг.5. В частности, показан выходной вал 202 коробки 20 скоростей, который вращает выходную шестерню 204, которая, в свою очередь, вращает входную шестерню 206, закрепленную на водиле 208, объединенном с блоком 22 переднего дифференциала. Для подачи крутящего момента к передним колесам 24L и 24R передний дифференциал 22 дополнительно содержит пару полуосевых шестерен 210L и 210R, которые соединены с передними колесами через соответствующие полуоси 26L и 26R. Блок 22 дифференциала также содержит шестерни 212, которые установлены с возможностью вращения на валах-шестернях, закрепленных на водиле 208, и которые входят в зацепление с обеими полуосевыми шестернями 210L и 210R. Передаточный вал 214 служит для передачи крутящего момента от несущего элемента 208 на муфту 192 передачи крутящего момента.
Блок 190 передачи мощности содержит прямоугольный приводной механизм, имеющий кольцевое зубчатое колесо 220, закрепленное с возможностью вращения вместе с барабаном 222 узла 194 муфты и которое входит в зацепление с шестерней 224, закрепленной с возможностью вращения вместе с карданным валом 30. Можно видеть, что ступица 216 муфты узла 194 муфты приводится в движение при помощи вала 214 передачи, в то время как узел 228 муфты расположен между ступицей 216 и барабаном 222. Узел 196 исполнительного механизма муфты служит для управления вводом в зацепление узла 194 муфты. Узел 196 исполнительного механизма муфты является аналогичным приводимому в движение двигателем узлу 52 исполнительного механизма муфты, описанному здесь выше, причем электродвигатель также включают для управления относительным вращением зубчатого редуктора, который, в свою очередь, управляет поступательным перемещением средства управления кулачковым диском для управления вводом в зацепление узла 228 муфты.
При работе крутящий момент передают от первичной (то есть от передней) карданной передачи на вторичную (то есть на заднюю) карданную передачу в соответствии со специфическим режимом, выбранным водителем транспортного средства при помощи селектора 56 режима. Например, если выбран режим привода на четыре колеса по запросу, контроллер 58 подает команду на срабатывание узла 196 исполнительного механизма муфты в ответ на рабочие условия транспортного средства, определенные при помощи датчиков 54, путем изменения значения электрических сигналов управления, поданных на электродвигатель. Указанным образом можно адаптивно управлять степенью ввода в зацепление муфты и величиной крутящего момента, который передается через узел 228 муфты к задней карданной передаче 14 через блок 190 передачи мощности. Выбор режима временного привода на четыре колеса приводит к полному вводу в зацепление узла 194 муфты для жесткого соединения передней карданной передачи с задней карданной передачей. В некоторых применениях селектор 56 режима может быть исключен, так что возможен только режим временного привода на четыре колеса и непрерывно поддерживается адаптивное регулирование тягового усилия без вмешательства со стороны водителя транспортного средства.
На фиг.7 показан измененный вариант устройства, показанного на фиг.6, в котором система привода на четыре колеса по запросу предназначена для автомашины с ведущими задними колесами, когда крутящий момент нормально поступает на заднюю карданную передачу 14 и имеется возможность избирательной передачи крутящего момента к передним колесам 24L и 24R через муфту 192 передачи крутящего момента. В этой схеме построения крутящий момент передают непосредственно от выходного вала 202 коробки передач в блок 190 передачи через ведущий вал 230, соединяющий входную шестерню 206 с кольцевым зубчатым колесом 220. Для подачи крутящего момента на передние колеса муфта 192 передачи крутящего момента при работе расположена между приводным валом 230 и валом 214 передачи. В частности, узел 194 муфты выполнен так, что барабан 222 приводится в движение вместе с кольцевым зубчатым колесом 220 при помощи ведущего вала 230. Срабатывание исполнительного механизма 196 муфты приводит к передаче крутящего момента от барабана 222 через узел 228 муфты на ступицу 216, которая, в свою очередь, приводит в движение несущий элемент 208 блока 22 переднего дифференциала через вал 214 передачи. И в этом случае транспортное средство может быть оборудовано селектором 56 режима для выбора водителем транспортного средства адаптивно управляемого режима привода на четыре колеса по запросу или режима фиксированного временного привода на четыре колеса. В транспортных средствах без селектора 56 режима режим привода на четыре колеса обеспечен только за счет непрерывного адаптивного регулирования тягового усилия без вмешательства со стороны водителя транспортного средства.
В дополнение к системам привода на четыре колеса по запросу, которые рассмотрены здесь выше, технологии передачи мощности в соответствии с настоящим изобретением также могут быть использованы в системах постоянного привода на четыре колеса для адаптивного отклонения распределения крутящего момента, передаваемого центральным или “межосевым” блоком дифференциала к передней или задней карданным передачам. Например, на фиг.8 схематично показана система постоянного привода на четыре колеса, которая в целом аналогична системе привода на четыре колеса по запросу, показанной на фиг.7, за тем исключением, что блок 190 передачи мощности теперь содержит межосевой блок 240 дифференциала, который при работе установлен между несущим элементом 208 блока 22 переднего дифференциала и валом 214 передачи. В частности, выходная шестерня 206 закреплена с возможностью вращения вместе с несущим элементом 242 межосевого дифференциала 240, на котором установлены с возможностью вращения шестерни 244. Первая полуосевая шестерня 246 входит в зацепление с шестернями 244 и закреплена с возможностью вращения вместе с ведущим валом 230, так что она соединена с возможностью приведения во вращение с задней карданной передачей 14 через комплект зубчатых колес 220 и 224. Аналогично, вторая полуосевая шестерня 248 входит в зацепление с шестернями 244 и закреплена с возможностью вращения вместе с несущим элементом 208 блока 22 переднего дифференциала, так что она соединена с возможностью приведения во вращение с передней карданной передачей. Механизм 192 передачи крутящего момента теперь при работе расположен между полуосевыми шестернями 246 и 248. Таким образом, механизм 192 передачи крутящего момента при работе расположен между ведомыми выходами межосевого дифференциала 240 для обеспечения отклонения крутящего момента и выполнения функции ограничения скольжения автомобиля. Показанный механизм 192 передачи крутящего момента вновь содержит многопластинчатый узел 194 муфты и узел 196 исполнительного механизма муфты. Узел 194 муфты при работе расположен между ведущим валом 214 и карданным валом 230. При работе, когда датчик 54 регистрирует особые рабочие условия транспортного средства, такие как чрезмерное межосевое скольжение, контроллер 58 адаптивно управляет электродвигателем, объединенным с узлом 196 исполнительного механизма муфты, чтобы управлять вводом в зацепление узла 194 муфты и, следовательно, отклонением (распределением) крутящего момента между передней и задней карданными передачами.
Обратимся теперь к рассмотрению фиг.9, на которой схематично показана компоновка приводной кинематической цепи 10А для транспортного средства с приводом на четыре колеса, имеющего трансмиссию 16 для подачи крутящего момента на блок передачи мощности, который далее здесь называют раздаточной коробкой 290. Раздаточная коробка 290 содержит задний выходной вал 302, передний выходной вал 304 и расположенную между ними муфту 292 передачи крутящего момента. Муфта 292 передачи крутящего момента обычно содержит многопластинчатый узел 294 муфты и приводной исполнительный механизм 296 муфты. Можно видеть, что задний карданный вал 306 соединяет задний выходной вал 302 с задним дифференциалом 34, в то время как передний карданный вал 308 соединяет передний выходной вал 304 с передним дифференциалом 22. Показанный схематично приводной исполнительный механизм 294 муфты вновь обеспечивает адаптивное управление вводом в зацепление узла 294 муфты, встроенного в раздаточную коробку 290.
Обратимся теперь к рассмотрению фиг.10, на которой показана система с полным приводом на четыре колеса, которая содержит раздаточную коробку 290, снабженную межосевым дифференциалом 310, введенным между входным валом 312 и выходными валами 302 и 304. Дифференциал 310 содержит вход, образованный как водило 314 планетарного ряда, первый выход, образованный как первое солнечное (центральное) зубчатое колесо 316, второй выход, образованный как второе солнечное (центральное) зубчатое колесо 318, и комплект зубчатых колес для обеспечения разности скоростей между первым и вторым зубчатыми колесами 316 и 318. Комплект зубчатых колес содержит имеющие зацепление первые планетарные зубчатые колеса 320 и вторые планетарные зубчатые колеса 322, которые поддерживаются с возможностью вращения водилом 314. Первые планетарные зубчатые колеса 320 входят в зацепление с первым солнечным зубчатым колесом 316, в то время как вторые планетарные зубчатые колеса 322 входят в зацепление со вторым солнечным зубчатым колесом 318. Первое солнечное зубчатое колесо 316 закреплено с возможностью вращения вместе с задним выходным валом 302, чтобы передавать крутящий момент на заднюю карданную передачу. Для передачи крутящего момента на переднюю карданную передачу второе солнечное зубчатое колесо 318 связано с блоком 324 передачи, который содержит первую звездочку 326, поддерживаемую с возможностью вращения на заднем выходном валу 302, вторую звездочку 328, закрепленную на переднем выходном валу 304, и силовую цепь 330.
Как уже было упомянуто здесь выше, раздаточная коробка 290 содержит узел 294 муфты и исполнительный механизм 296 муфты. Узел 294 муфты имеет барабан 332, закрепленный на звездочке 326 для вращения вместе с передним выходным валом 304, ступицу 334, закрепленную с возможностью вращения вместе с задним выходным валом.
Формула изобретения
1. Устройство передачи мощности, которое содержит: вращательный входной элемент, выполненный с возможностью приема крутящего момента от источника мощности, вращательный выходной элемент, выполненный с возможностью подачи крутящего момента на выходное устройство, механизм передачи крутящего момента от указанного входного элемента на указанный выходной элемент, причем механизм передачи крутящего момента содержит узел муфты, расположенный между входным и выходным элементами, и узел исполнительного механизма муфты для приложения усилия ввода в зацепление муфты к узлу муфты, причем узел исполнительного механизма муфты содержит электродвигатель, приводящий в движение зубчатый редуктор для регулирования усилия ввода в зацепление муфты, приложенного к узлу муфты при помощи средства управления муфтой, при этом зубчатый редуктор содержит ведущее зубчатое колесо, приводимое в движение при помощи указанного электродвигателя, и первое и второе плоские зубчатые колеса, введенными в зацепление, с указанным ведущим зубчатым колесом, расположенным между ними, так чтобы побудить первое и второе плоские зубчатые колеса вращаться в противоположных направлениях в ответ на приведение во вращение ведущего зубчатого колеса, причем средство управления муфтой содержит первый кулачковый диск, закрепленный с возможностью вращения вместе с первым плоским зубчатым колесом, второй кулачковый диск, закрепленный с возможностью вращения вместе со вторым плоским зубчатым колесом, и ролики, расположенные между первым и вторым кулачковыми дисками, и систему управления для приведения в действие указанного электродвигателя, так чтобы управлять направлением и величиной противоположного вращательного движения между первым и вторым плоскими зубчатыми колесами, которые, в свою очередь, управляют направлением и величиной поступательного движения первого кулачкового диска относительно указанного узла муфты, так чтобы изменять усилие входа в зацепление муфты, воздействующее на указанный узел муфты.
2. Устройство передачи мощности по п.1, в котором первое плоское зубчатое колесо содержит первый сегмент ступицы, вращательно поддерживаемый на указанном входном элементе, и первый кольцевой сегмент, имеющий первые зубья зубчатого колеса, образованные на первой лицевой поверхности, а второе плоское зубчатое колесо содержит второй сегмент ступицы, вращательно поддерживаемый на первом сегменте ступицы, и второй кольцевой сегмент, имеющий вторые зубья зубчатого колеса, образованные на второй лицевой поверхности, причем ведущее зубчатое колесо находится в зацеплении с указанными первыми и вторыми зубьями зубчатого колеса.
3. Устройство передачи мощности по п.2, в котором первый кулачковый диск закреплен с возможностью вращения вместе с первым сегментом ступицы первого плоского зубчатого колеса, а второй кулачковый диск закреплен с возможностью вращения вместе с вторым сегментом ступицы второго плоского зубчатого колеса, при этом указанные ролики расположены с возможностью качения по кулачковым поверхностям, образованным, по меньшей мере, на одном из первом и втором кулачковых дисков.
4. Устройство передачи мощности по п.2, в котором ведущее зубчатое колесо закреплено на валу, приводимом во вращение при помощи указанного электродвигателя, причем ведущее зубчатое колесо расположено между первой и второй лицевыми поверхностями первого и второго плоских зубчатых колес.
5. Устройство передачи мощности по п.2, в котором узел муфты содержит ступицу, закрепленную на одном входном или выходном элементе, барабан, закрепленный на другом входном или выходном элементе, узел муфты, расположенный внутри указанного барабана и при работе подключенный между указанной ступицей и барабаном, причем первый и второй кулачковые диски расположены внутри указанного барабана.
6. Устройство передачи мощности по п.1, в котором первое плоское зубчатое колесо выполнено с возможностью вращения относительно второго плоского зубчатого колеса, между первым положением и вторым положением, в ответ на приведение в действие указанного электродвигателя для создания соответствующего осевого движения первого кулачкового диска между втянутым положением и удлиненным положением относительно узла муфты, причем первый кулачковый диск оказывает минимальное усилие входа в зацепление муфты на узел муфты, когда кулачковый элемент расположен в его втянутом положении, и оказывает максимальное усилие входа в зацепление муфты на узел муфты, когда он находится в его удлиненном положении.
7. Устройство передачи мощности по п.6, в котором входной элемент передает крутящий момент на первую карданную передачу автомашины, а выходной элемент соединен со второй карданной передачей автомашины, при этом механизм передачи крутящего момента служит для передачи крутящего момента от входного элемента к выходному элементу.
8. Устройство передачи мощности по п.7, образующее раздаточную коробку, в которой указанный входной элемент представляет собой первый вал, приводящий в движение первую карданную передачу, а указанный выходной элемент представляет собой второй вал, связанный со второй карданной передачей, причем нахождение первого кулачкового диска в его втянутом положении выводит из зацепления узел муфты, так что образуется режим привода на два колеса, а нахождение первого кулачкового диска в его удлиненном положении полностью вводит в зацепление узел муфты, так что образуется временный режим привода на четыре колеса, при этом система управления служит для управления приведением в действие указанного электродвигателя, чтобы изменять положение первого кулачкового диска между его втянутым и удлиненным положениями, чтобы управляемым образом изменять крутящий момент, переданный от первого вала к второму валу, так чтобы образовывать режим привода на четыре колеса по запросу.
9. Устройство передачи мощности по п.8, в котором система управления содержит контроллер для приема входных сигналов от датчика и для выработки на основании входных сигналов электрических сигналов управления, которые подают на указанный электродвигатель для управления направлением и величиной вращательного движения ведущего зубчатого колеса.
10. Устройство передачи мощности по п.7, образующее блок отбора мощности, в котором указанный входной элемент передает крутящий момент на первый дифференциал, объединенный с первой карданной передачей, а выходной элемент связан со вторым дифференциалом, объединенным со второй карданной передачей.
11. Устройство передачи мощности по п.1, в котором входной элемент представляет собой карданный вал, приводимый во вращение при помощи приводной кинематической цепи автомашины, а выходной элемент представляет собой вал-шестерню, приводящий в движение дифференциал, объединенный с осевым комплектом автомашины, причем узел муфты расположен между указанным карданным валом и указанным валом-шестерней, так что приведение в действие узла исполнительного механизма муфты служит для передачи крутящего момента от указанного карданного вала на указанный вал-шестерню.
12. Устройство передачи мощности по п.1, в котором входной элемент содержит первый дифференциал, подающий крутящий момент на пару первых колес автомашины, и вал передачи, приводимый во вращение при помощи указанного дифференциала, а выходной элемент содержит карданный вал, связанный со вторым дифференциалом, соединяющим пару вторых колес автомашины, причем узел муфты расположен между валом передачи и карданным валом.
13. Устройство передачи мощности по п.1, в котором входной элемент содержит первый вал, подающий крутящий момент на второй вал, который связан с первым дифференциалом для привода в движение пары первых колес автомашины, а выходной элемент представляет собой третий вал, приводящий в движение второй дифференциал, соединяющий пару вторых колес автомашины, причем узел муфты расположен между первым и третьим валами.
14. Устройство передачи мощности по п.1, которое дополнительно содержит межосевой дифференциал, приводимый в движение при помощи указанного входного элемента и имеющий первый выход, приводящий в движение первую карданную передачу автомашины, и второй выход, приводящий в движение вторую карданную передачу автомашины, причем узел муфты расположен между первым и вторым выходами указанного межосевого дифференциала.
15. Механизм передачи крутящего момента, который содержит: фрикционный узел муфты, имеющий барабан, закрепленный с возможностью вращения вместе с одним из входного и выходного элементов, ступицу, закрепленную с возможностью вращения вместе с другим из входного и выходного элементов, узел муфты, при работе расположенный между указанным барабаном и указанной ступицей, и прижимную планку, выполненную с возможностью перемещения между первым положением, в котором минимальное усилие ввода в зацепление муфты воздействует на указанный узел муфты, и вторым положением, в котором максимальное усилие ввода в зацепление муфты воздействует на узел муфты, узел исполнительного механизма муфты, предназначенный для перемещения указанной прижимной планки между ее первым и вторым положениями и содержащий электродвигатель, приводящий в движение зубчатый редуктор для управления движением средства управления муфтой, причем зубчатый редуктор содержит ведущее зубчатое колесо, приводимое в движение при помощи указанного электродвигателя, и первое и второе плоские зубчатые колеса, причем указанное ведущее зубчатое колесо введено в зацепление между ними, чтобы вызвать вращение первого и второго плоских зубчатых колес в противоположных направлениях, в ответ на приведение во вращение ведущего зубчатого колеса, причем указанное средство управления муфтой содержит первый кулачковый диск, закрепленный с возможностью вращения вместе с указанным первым плоским зубчатым колесом, второй кулачковый диск, закрепленный с возможностью вращения вместе с указанным вторым плоским зубчатым колесом, и ролики, расположенные между указанными первым и вторым кулачковыми дисками, и систему управления для приведения в действие указанного электродвигателя, так чтобы управлять движением вращения первого плоского зубчатого колеса относительно второго плоского зубчатого колеса, между первым положением и вторым положением, причем первый кулачковый диск расположен в первом осевом положении, когда первое плоское зубчатое колесо находится в своем первом положении, так чтобы побуждать прижимную планку находиться в своем первом положении, при этом первый кулачковый диск расположен во втором осевом положении, когда первое плоское зубчатое колесо совершает поворот в свое второе положение, так чтобы побуждать прижимную планку перемещаться в свое второе положение.
16. Механизм передачи крутящего момента по п.15, в котором первое плоское зубчатое колесо содержит первый сегмент ступицы, вращательно поддерживаемый на входном элементе, и первый кольцевой сегмент, имеющий первые зубья зубчатого колеса, образованные на первой лицевой поверхности, а второе плоское зубчатое колесо содержит второй сегмент ступицы, вращательно поддерживаемый на указанном первом сегменте ступицы, и второй кольцевой сегмент, имеющий вторые зубья зубчатого колеса, образованные на второй лицевой поверхности, причем ведущее зубчатое колесо введено в зацепление с указанными первыми и вторыми зубьями зубчатого колеса.
17. Механизм передачи крутящего момента по п.16, в котором первый кулачковый диск закреплен с возможностью вращения вместе с первым сегментом ступицы первого плоского зубчатого колеса, а второй кулачковый диск закреплен с возможностью вращения вместе с вторым сегментом ступицы второго плоского зубчатого колеса, при этом указанные ролики расположены с возможностью качения по кулачковым поверхностям, образованным, по меньшей мере, на одном первом или втором кулачковых дисках.
18. Механизм передачи крутящего момента по п.16, в котором ведущее зубчатое колесо закреплено на валу, приводимом во вращение при помощи указанного электродвигателя, причем ведущее зубчатое колесо расположено между первой и второй лицевыми поверхностями первого и второго плоских зубчатых колес.
19. Механизм передачи крутящего момента по п.15, в котором входной элемент передает крутящий момент на первую карданную передачу автомашины, а выходной элемент связан со второй карданной передачей автомашины.
20. Механизм передачи крутящего момента по п.19, образующий раздаточную коробку, в которой входной элемент представляет собой первый вал, приводящий в движение первую карданную передачу, а выходной элемент представляет собой второй вал, связанный со второй карданной передачей, причем нахождение первого кулачкового диска в его первом положении выводит из зацепления указанный узел муфты, так что образуется режим привода на два колеса, а нахождение первого кулачкового диска в его втором положении полностью вводит в зацепление узел муфты, так что образуется временный режим привода на четыре колеса, при этом система управления служит для управления приведением в действие указанного электродвигателя, чтобы изменять положение первого кулачкового диска между его первым и вторым положениями, чтобы управляемым образом изменять крутящий момент, переданный от первого вала ко второму валу, так чтобы образовывать режим привода на четыре колеса по запросу.
21. Механизм передачи крутящего момента по п.20, в котором система управления содержит контроллер для приема входных сигналов от датчика и для выработки на основании указанных входных сигналов электрических сигналов управления, которые подают на указанный электродвигатель для управления направлением и величиной вращательного движения ведущего зубчатого колеса.
22. Механизм передачи крутящего момента по п.19, образующий блок отбора мощности, в котором входной элемент передает крутящий момент на первый дифференциал, объединенный с первой карданной передачей, а выходной элемент связан со вторым дифференциалом, объединенным со второй карданной передачей.
23. Механизм передачи крутящего момента по п.15, в котором входной элемент представляет собой карданный вал, приводимый во вращение при помощи приводной кинематической цепи автомашины, а выходной элемент представляет собой вал-шестерню, приводящий в движение дифференциал, объединенный с осевым комплектом автомашины, причем указанный узел муфты расположен между указанным карданным валом и указанным валом-шестерней, так что приведение в действие узла исполнительного механизма муфты служит для передачи крутящего момента от карданного вала на вал-шестерню.
24. Механизм передачи крутящего момента по п.15, в котором входной элемент содержит первый дифференциал, подающий крутящий момент на пару первых колес автомашины, и вал передачи, приводимый в движение при помощи первого дифференциала, а выходной элемент содержит карданный вал, связанный со вторым дифференциалом, соединяющим пару вторых колес автомашины, при этом указанный узел муфты расположен между валом передачи и карданным валом.
25. Механизм передачи крутящего момента по п.15, в котором входной элемент содержит первый вал, подающий крутящий момент на второй вал, который связан с первым дифференциалом для приведения в движение пары первых колес автомашины, а выходной элемент представляет собой третий вал, приводящий в действие второй дифференциал, соединяющий пару вторых колес автомашины, причем указанный узел муфты расположен между первым и третьим валами.
РИСУНКИ
|
|