|
|
(21), (22) Заявка: 2008141050/11, 16.10.2008
(24) Дата начала отсчета срока действия патента:
16.10.2008
(46) Опубликовано: 27.05.2010
(56) Список документов, цитированных в отчете о поиске:
RU 685373 A1, 15.09.1979. RU 1208343 A1, 30.01.1986. GB 1214244 A, 02.12.1970.
Адрес для переписки:
141070, Московская обл., г. Королев, ул. Исаева, 3Б, корп.1, кв.7, Е.Н. Захарову
|
(72) Автор(ы):
Захаров Евгений Николаевич (RU), Богачев Юрий Вячеславович (RU), Харчев Алексей Сергеевич (RU)
(73) Патентообладатель(и):
Захаров Евгений Николаевич (RU)
|
(54) КОМБИНИРОВАННЫЙ ШАРНИР
(57) Реферат:
Изобретение относится к области машиностроения, а именно к шарнирам, звенья которых имеют возможность совершать как угловые относительные перемещения, так и перемещения в плоскости. Шарнир содержит наружное звено и расположенное в его полости внутреннее звено, образующие байонетное соединение с соответствующими секторными вырезами и выступами на обоих звеньях. Одна внутренняя поверхность наружного звена выполнена опорной, а другая его внутренняя поверхность – замыкающей, и указанные поверхности наружного звена контактируют с соответствующими поверхностями внутреннего звена, причем наружное звено выполнено в виде единой детали с опорной и замыкающей поверхностями. Внутреннее звено выполнено составным из несущего элемента, опорного элемента и замыкающего кольца, при этом и опорный элемент и замыкающее кольцо имеют с одной стороны сферическую поверхность, а с другой своей стороны – плоскую поверхность. Сферические поверхности опорного элемента и замыкающего кольца расположены в собранном шарнире концентрично, а центр указанных сфер расположен вне полости наружного звена, причем несущий элемент установлен с возможностью углового поворота вокруг центра сферических поверхностей и радиального перемещения во всех направлениях в плоскости, пересекающей продольную ось соединения. 2 з.п. ф-лы, 3 ил.
Изобретение относится к области машиностроения, а именно к шарнирам, звенья которых имеют возможность совершать как угловые относительные перемещения, так и перемещения в плоскости.
Известен сферический шарнир, содержащий наружное звено и расположенное в его полости внутреннее звено, при этом внутреннее звено выполнено со сферическими поверхностями, одна из которых взаимодействует с опорной сферической поверхностью наружного звена, а другая – с замыкающей сферической поверхностью наружного звена (см. авторское свидетельство СССР 1732090, опубл. 07.05.1992).
Недостатками известного шарнира являются увеличенные габариты вдоль взаимодействующих звеньев из-за необходимости размещения крепежных элементов, а также неудобство сборки из-за необходимости выполнения наружного звена из двух частей, стягиваемых между собой при помощи дополнительных крепежных элементов с тарированным моментом затяжки.
Техническим результатом является уменьшение габаритов и массы, а также облегчение сборки и технического обслуживания узла.
Поставленная задача достигается тем, что комбинированный шарнир содержит наружное звено и расположенное в его полости внутреннее звено, образующие байонетное соединение с соответствующими секторными вырезами и выступами на обоих звеньях, при этом одна внутренняя поверхность наружного звена выполнена опорной, а другая его внутренняя поверхность – замыкающей, и указанные поверхности наружного звена контактируют с соответствующими поверхностями внутреннего звена, причем наружное звено выполнено в виде единой детали с опорной и замыкающей поверхностями. Согласно изобретению внутреннее звено выполнено составным из несущего элемента, опорного элемента и замыкающего кольца, при этом и опорный элемент и замыкающее кольцо имеют с одной стороны сферическую поверхность, а с другой своей стороны – плоскую поверхность, сферические поверхности опорного элемента и замыкающего кольца расположены в собранном шарнире концентрично, а центр указанных сфер расположен вне полости наружного звена, причем несущий элемент установлен с возможностью углового поворота вокруг центра сферических поверхностей и радиального перемещения относительно наружного звена во всех направлениях в плоскости, пересекающей продольную ось соединения.
Поставленная задача достигается также тем, что опорная и замыкающая поверхности наружного звена могут быть выполнены плоскими, параллельными, а несущий элемент выполнен с двумя сферическими концентрическими поверхностями с центром сфер, расположенным вне полости наружного звена, при этом опорный элемент контактирует своей сферической поверхностью с первой сферической поверхностью несущего элемента, а своей плоской поверхностью – с плоской опорной поверхностью наружного звена, замыкающее кольцо контактирует своей сферической поверхностью со второй сферической поверхностью несущего элемента, а своей плоской поверхностью – с плоской замыкающей поверхностью наружного звена.
Либо опорная и замыкающая поверхности наружного звена выполнены сферическими концентрическими с центром сфер, расположенным вне полости наружного звена, а несущий элемент выполнен с двумя плоскими параллельными поверхностями, при этом опорный элемент контактирует своей плоской поверхностью с первой плоской поверхностью несущего элемента, а своей сферической поверхностью – со сферической опорной поверхностью наружного звена, замыкающее кольцо контактирует своей плоской поверхностью со второй плоской поверхностью несущего элемента, а своей сферической поверхностью – со сферической замыкающей поверхностью наружного звена.
Изобретение поясняется при помощи чертежей.
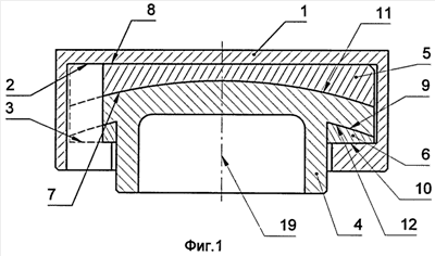
На фиг.1 показан поперечный разрез шарнира по пункту 2 формулы изобретения;
на фиг.2 – то же, вид на шарнир с разнесенными элементами;
на фиг.3 показан поперечный разрез шарнира по пункту 3 формулы изобретения.
Шарнир содержит наружное звено 1 и расположенное в его полости внутреннее звено, образующие байонетное соединение с соответствующими секторными вырезами и выступами на обоих звеньях. Одна внутренняя поверхность наружного звена 1 выполнена опорной 2, а другая его внутренняя поверхность – замыкающей 3. При этом наружное звено 1 выполнено в виде единой детали с опорной 2 и замыкающей 3 поверхностями. Внутреннее звено выполнено составным из несущего элемента 4, опорного элемента 5 и замыкающего кольца 6. Опорный элемент 5 имеет с одной стороны сферическую поверхность 7, а с другой своей стороны – плоскую поверхность 8. Замыкающее кольцо 6 имеет с одной стороны сферическую поверхность 9, а с другой своей стороны – плоскую поверхность 10. Указанные сферические поверхности 7 и 9 расположены в собранном шарнире концентрично, а центр указанных сфер расположен вне полости наружного звена 1.
В варианте выполнения, показанном на фиг.1 и 2, опорная 2 и замыкающая 3 поверхности наружного звена 1 выполнены плоскими, параллельными, а несущий элемент 4 выполнен с двумя сферическими концентрическими поверхностями 11 и 12 с центром сфер, расположенным вне полости наружного звена 1. При этом опорный элемент 5 контактирует своей сферической поверхностью 7 со сферической поверхностью 11 несущего элемента 4, а своей плоской поверхностью 8 – с плоской опорной поверхностью 2 наружного звена 1. Замыкающее кольцо 6 контактирует своей сферической поверхностью 9 со сферической поверхностью 12 несущего элемента 4, а своей плоской поверхностью 10 – с плоской замыкающей поверхностью 3 наружного звена 1.
В варианте выполнения, показанном на фиг.3, опорная 2 и замыкающая 3 поверхности наружного звена 1 выполнены сферическими концентрическими с центром сфер, расположенным вне полости наружного звена 1, а несущий элемент 4 выполнен с двумя плоскими параллельными поверхностями 13 и 14. При этом опорный элемент 5 контактирует своей плоской поверхностью 8 с плоской поверхностью 13 несущего элемента 4, а своей сферической поверхностью 7 – со сферической опорной поверхностью 2 наружного звена 1. Замыкающее кольцо 6 контактирует своей плоской поверхностью 10 с плоской поверхностью 14 несущего элемента 4, а своей сферической поверхностью 9 – со сферической замыкающей поверхностью 3 наружного звена 1.
В обоих вариантах шарнира на деталях 4, 5 и 6 внутреннего звена выполняют секторные вырезы 15 и секторные выступы 16, а на наружном звене 1 – секторные вырезы 17 и секторные выступы 18.
Для сборки шарнира подсобирают узел внутреннего звена, размещая опорный элемент 4 и замыкающее кольцо 6 на соответствующих поверхностях несущего элемента 4. Устанавливают собранный узел выступами 16 напротив вырезов 17 наружного звена 1. Вводят узел внутреннего звена выступами 16 в вырезы 17 и поворачивают все три детали внутреннего звена вокруг оси 19 до совмещения выступов 16 с выступами 18 наружного звена 1, замыкая кинематическую цепь и предотвращая относительное перемещение наружного и внутреннего звеньев вдоль оси 19, на которой находятся центры всех сферических поверхностей.
Для обеспечения совместного поворота деталей 4, 5 и 6 возможно применение соответствующих фиксирующих элементов (на чертежах не показаны), препятствующих их повороту друг относительно друга.
Относительное перемещение звеньев осуществляется не только в угловом направлении вокруг центра сфер контактирующих поверхностей, но и вдоль взаимодействующих плоских поверхностей, давая свободу перемещения во всех направлениях в плоскости, пересекающей продольную ось 19 шарнира.
Наиболее предпочтительно применение описанного шарнира в качестве компенсатора в соединениях поршней с механизмом преобразования поршневых машин. Наличие компенсатора обеспечивает эффект самоустановки поршня относительно стенок цилиндра, независимо от траектории движения узлов механизма, передающих реактивный момент на корпус. По существу, шарнир нивелирует все погрешности взаимного положения оси вращения вала и продольной оси цилиндра в тронковых машинах и неточности регулировки положения направляющей в крейцкопфных машинах. Наилучший эффект достигается при использовании шарнира в двухтактном двигателе внутреннего сгорания. Так как силы, действующие на поршень в сторону его отрыва от механизма, незначительны во всем скоростном диапазоне работы двигателя, то поверхности 4 и 6 могут иметь минимальную величину, что упрощает изготовление шарнира, а минимальная масса шарнира позволяет увеличить предельное значение частоты вращения вала двигателя.
Формула изобретения
1. Шарнир, содержащий наружное звено и расположенное в его полости внутреннее звено, образующие байонетное соединение с соответствующими секторными вырезами и выступами на обоих звеньях, при этом одна внутренняя поверхность наружного звена выполнена опорной, а другая его внутренняя поверхность – замыкающей, и указанные поверхности наружного звена контактируют с соответствующими поверхностями внутреннего звена, причем наружное звено выполнено в виде единой детали с опорной и замыкающей поверхностями, отличающийся тем, что внутреннее звено выполнено составным из несущего элемента, опорного элемента и замыкающего кольца, при этом и опорный элемент и замыкающее кольцо имеют с одной стороны сферическую поверхность, а с другой своей стороны – плоскую поверхность, сферические поверхности опорного элемента и замыкающего кольца расположены в собранном шарнире концентрично, а центр указанных сфер расположен вне полости наружного звена, причем несущий элемент установлен с возможностью углового поворота вокруг центра сферических поверхностей и радиального перемещения относительно наружного звена во всех направлениях в плоскости, пересекающей продольную ось соединения.
2. Шарнир по п.1, отличающийся тем, что опорная и замыкающая поверхности наружного звена выполнены плоскими, параллельными, а несущий элемент выполнен с двумя сферическими концетрическими поверхностями с центром сфер, расположенным вне полости наружного звена, при этом опорный элемент контактирует своей сферической поверхностью с первой сферической поверхностью несущего элемента, а своей плоской поверхностью – с плоской опорной поверхностью наружного звена, замыкающее кольцо контактирует своей сферической поверхностью со второй сферической поверхностью несущего элемента, а своей плоской – с плоской замыкающей поверхностью наружного звена.
3. Шарнир по п.1, отличающийся тем, что опорная и замыкающая поверхности наружного звена выполнены сферическими концентрическими с центром сфер, расположенным вне полости наружного звена, а несущий элемент выполнен с двумя плоскими параллельными поверхностями, при этом опорный элемент контактирует своей плоской поверхностью с первой плоской поверхностью несущего элемента, а своей сферической поверхностью – со сферической опорной поверхностью наружного звена, замыкающее кольцо контактирует своей плоской поверхностью со второй плоской поверхностью несущего элемента, а своей сферической поверхностью – со сферической замыкающей поверхностью наружного звена.
РИСУНКИ
|
|