|
|
(21), (22) Заявка: 2009105342/11, 17.02.2009
(24) Дата начала отсчета срока действия патента:
17.02.2009
(46) Опубликовано: 27.05.2010
(56) Список документов, цитированных в отчете о поиске:
RU 69944 U1, 10.01.2008. RU 2161229 С2, 27.12.2000. DE 19629180 А, 22.01.2009. ЕР 0644301 А2, 22.03.1995. DE 19651046 А1, 10.06.1998.
Адрес для переписки:
123103, Москва, наб. Новикова-Прибоя, 5, корп.2, кв.19, Е.Ю. Цыкановскому
|
(72) Автор(ы):
Цыкановский Евгений Юльевич (RU)
(73) Патентообладатель(и):
Цыкановский Евгений Юльевич (RU)
|
(54) ДЮБЕЛЬ ДЛЯ КРЕПЛЕНИЯ ТЕПЛОИЗОЛЯЦИОННОГО МАТЕРИАЛА
(57) Реферат:
Изобретение относится к крепежным элементам. Дюбель для крепления теплоизоляционного материала содержит стержень с распорной зоной на одном из своих концов и шляпку на другом конце. Максимальный охватывающий размер поперечного сечения упомянутого стержня на расстоянии от упомянутой шляпки, равном толщине закрепляемого теплоизоляционного материала, больше максимального охватывающего размера поперечного сечения упомянутого стержня на конце, содержащем распорную зону. В результате повышается технологичность при теплоизоляции утепляемых поверхностей. 7 з.п. ф-лы, 3 ил.
Область техники, к которой относится изобретение
Изобретение относится к области промышленного гражданского строительства, а именно к дюбелю для крепления теплоизоляционного материала.
Уровень техники
Из уровня техники известно большое количество дюбелей для крепления теплоизоляционного материала (RU 2291988, RU 2180383, DE 2358521, DE 19637579, ЕР 0042573, ЕР 0254933, ЕР 1541881, RU 49932, RU 66451). Главным недостатком указанных дюбелей является отсутствие ограничителя у дюбеля, который бы не позволял упомянутому дюбелю быть забитым в крепежное отверстие так глубоко, чтобы смять теплоизоляционный материал, который он закрепляет. При закреплении теплоизоляционного материала на утепляемой поверхности тяжело в силу различных причин соблюсти выполнение крепежных отверстий под упомянутый дюбель одинаковой глубины. Данное обстоятельство ведет к возможности забивки дюбеля глубже, чем это необходимо, что будет соответственно сопровождаться смятием теплоизоляционного материала и, как следствие, ухудшением теплоизоляционных характеристик в целом.
Сущность изобретения
Предлагаемое изобретение направлено на устранение указанных выше недостатков, а также повышение технологичности при теплоизоляции утепляемых поверхностей.
Эта задача достижения указанного технического результата достигается применением дюбеля для крепления теплоизоляционного материала. Дюбель содержит стержень с распорной зоной на одном из своих концов и шляпку на другом конце, при этом максимальный охватывающий размер поперечного сечения упомянутого стержня на расстоянии от упомянутой шляпки, равном толщине закрепляемого теплоизоляционного материала, больше максимального охватывающего размера поперечного сечения упомянутого стержня на конце, содержащем распорную зону.
Дополнительной особенностью дюбеля по настоящему изобретению является то, что стержень выполняют цилиндрическим.
Еще одной дополнительной особенностью дюбеля по настоящему изобретению является то, что он содержит выступ на упомянутом стержне на расстоянии от упомянутой шляпки, равном толщине закрепляемого теплоизоляционного материала. При этом выступ выполняют кольцевым вокруг упомянутого стержня.
Еще одной дополнительной особенностью дюбеля по настоящему изобретению является то, что он содержит на упомянутом стержне ребро, выполненное от упомянутой шляпки, с длиной, равной толщине закрепляемого теплоизоляционного материала.
Дополнительной особенностью дюбеля по настоящему изобретению является то, что часть упомянутого стержня от упомянутой шляпки с длиной, равной толщине закрепляемого теплоизоляционного материала, имеет диаметр больше, чем оставшаяся часть упомянутого стержня с распорной зоной.
Еще одной дополнительной особенностью дюбеля по настоящему изобретению является то, что упомянутую распорную зону выполняют самораспорной, а дюбель дополнительно содержит распорное средство, и упомянутый стержень выполнен полым.
Краткое описание чертежей
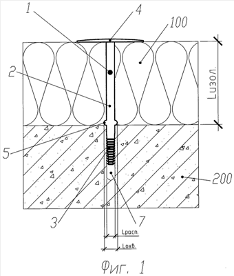
Фиг.1 представляет собой дюбель с закрепленным теплоизоляционным материалом на утепляемой поверхности согласно одному из вариантов осуществления настоящего изобретения.
Фиг.2 представляет собой дюбель с закрепленным теплоизоляционным материалом на утепляемой поверхности согласно другому варианту осуществления настоящего изобретения.
Фиг.3 представляет собой дюбель с закрепленным теплоизоляционным материалом на утепляемой поверхности согласно еще одному варианту осуществления настоящего изобретения.
Подробное описание предпочтительного варианта осуществления
Последующее описание будет осуществлено со ссылками на чертежи, на которых одинаковыми ссылочными позициями обозначены одинаковые элементы по всему тексту описания.
Далее для простоты описания будем использовать дюбель, у которого стержень выполняют цилиндрическим, однако специалисту будет очевидно, что вид стержня может быть любым.
На фиг.1 представлен дюбель для крепления теплоизоляционного материала согласно одному из вариантов осуществления настоящего изобретения. Дюбель (1) для крепления теплоизоляционного материала содержит стержень (2) с распорной зоной (3) на одном из своих концов и шляпку (4), выполненную на другом (противоположном упомянутому) конце стержня (2). Позицией Lрасп представлен максимальный охватывающий размер стержня (2) попеченного сечения в месте, где расположена распорная зона (3). Позицией Lизол представлена толщина закрепляемого теплоизоляционного материала (100). Позицией Lохв представлен максимальный охватывающий размер поперечного сечения стержня (2) на расстоянии Lизол от шляпки (4). На фиг.1 дюбель (1) содержит выступ (5) на упомянутом стержне (2), который выполняют на расстоянии Lизол от упомянутой шляпки (4). При этом выступ (5) выполняют кольцевым вокруг упомянутого стержня (2), то есть его диаметр будет равен Lохв.
Также необходимо отметить, что диаметр упомянутой шляпки (4) должен быть больше, чем Lохв, но при этом толщиной упомянутого кольцевого выступа (5) можно пренебречь, поскольку замятие теплоизоляционного материала (100) при монтаже указанным дюбелем будет незначительное.
На фиг.2 представлен дюбель для крепления теплоизоляционного материала согласно одному из вариантов осуществления настоящего изобретения. В данном варианте осуществления настоящего изобретения часть стержня (2) дюбеля (1) с длиной, равной Lизол, выполняют в виде ребра (6).
На фиг.3 представлен дюбель для крепления теплоизоляционного материала согласно одному из вариантов осуществления настоящего изобретения. В данном варианте осуществления настоящего изобретения часть стержня (2) дюбеля (1) с длиной, равной Lизол, имеет диаметр Dизол, который больше, чем упомянутый размер Lрасп, показывающий максимальный охватывающий размер стержня (2) поперечного сечения в месте, где расположена распорная зона (3).
На упомянутых чертежах (фиг.1-3) распорная зона (3) выполнена как самораспорная (как это показано на фиг.1-3). Однако она может быть также выполнена таким образом (не показано на чертежах), что упомянутый стержень (2) будет выполнен полым, а дюбель (1) будет дополнительно содержать распорное средство (не показано), которое через отверстие (не показано) в упомянутой шляпке (4) вставляют внутрь полого стержня (2). Посредством упомянутого распорного средства распорная зона (3) в заранее подготовленном отверстии в утепляемой поверхности (200) будет жестко фиксировать предлагаемый дюбель (1).
Далее приведем пример монтажа предлагаемого дюбеля (1). Для закрепления теплоизоляционного материала (100) на утепляемой поверхности (200) посредством предлагаемого дюбеля (1) необходимо просверлить отверстие (7) под упомянутый дюбель (1). Отверстие (7) просверливают после прикладывания теплоизоляционного материала (100) к утепляемой поверхности (200) или до прикладывания теплоизоляционного материала (100) к утепляемой поверхности (200) в заранее определенные места. Далее устанавливают дюбель (1) в просверленное отверстие (7) таким образом, чтобы упомянутый выступ (5) соприкоснулся с утепляемой поверхностью (200). Поскольку толщина теплоизоляционного материала (100) стандартна, то и дюбели будут выбраны в соответствии с указанными выше параметрами, зависящими от толщины теплоизоляционного материала (100). При использовании дюбеля (1) с распорным средством последнее вставляют в полый стержень (2) дюбеля (1) через отверстие в упомянутой шляпке (4) и забивают его до конца, жестко закрепляя дюбель (1) в просверленном отверстии (7).
Предлагаемое техническое решение позволяет исключить возможности забивки дюбеля (1) глубже, чем это необходимо, что позволит сохранить теплоизоляционный материал (100) и, как следствие, теплоизоляционные характеристики в целом.
Формула изобретения
1. Дюбель для крепления теплоизоляционного материала, содержащий стержень с распорной зоной на одном из своих концов и шляпку на другом конце, отличающийся тем, что максимальный охватывающий размер поперечного сечения упомянутого стержня на расстоянии от упомянутой шляпки, равном толщине закрепляемого теплоизоляционного материала, больше максимального охватывающего размера поперечного сечения упомянутого стержня на конце, содержащем распорную зону.
2. Дюбель по п.1, отличающийся тем, что стержень выполняют цилиндрическим.
3. Дюбель по п.1 или 2, отличающийся тем, что содержит выступ на упомянутом стержне на расстоянии от упомянутой шляпки, равном толщине закрепляемого теплоизоляционного материала.
4. Дюбель по п.3, отличающийся тем, что выступ выполнен кольцевым вокруг упомянутого стержня.
5. Дюбель по п.3, отличающийся тем, что содержит на упомянутом стержне ребро, выполненное от упомянутой шляпки, с длиной, равной толщине закрепляемого теплоизоляционного материала.
6. Дюбель по п.2, отличающийся тем, что часть упомянутого стержня от упомянутой шляпки с длиной, равной толщине закрепляемого теплоизоляционного материала, имеет диаметр больше, чем оставшаяся часть упомянутого стержня с распорной зоной.
7. Дюбель по любому из пп.1, 2, 4-6, отличающийся тем, что упомянутую распорную зону выполняют самораспорной.
8. Дюбель по любому из пп.1, 2, 4-6, отличающийся тем, что дополнительно содержит распорное средство, а упомянутый стержень выполнен полым.
РИСУНКИ
|
|