|
|
(21), (22) Заявка: 2006105520/06, 22.02.2006
(24) Дата начала отсчета срока действия патента:
22.02.2006
(30) Конвенционный приоритет:
23.02.2005 US 60/593,899 04.01.2006 US 11/306,606
(43) Дата публикации заявки: 20.01.2008
(46) Опубликовано: 27.05.2010
(56) Список документов, цитированных в отчете о поиске:
RU 2106535 C1, 10.03.1998. SU 1767623 A1, 07.10.1992. RU 2197643 C2, 27.01.2003. US 5628616 A, 13.05.1997. GB 2379095 A, 26.02.2003.
Адрес для переписки:
129090, Москва, ул. Б.Спасская, 25, стр.3, ООО “Юридическая фирма Городисский и Партнеры”, пат.пов. С.А.Дорофееву, рег. 146
|
(72) Автор(ы):
ВАТСОН Артур И. (US), МЕССИК Тайсон Р. (US), НАРВАЭС Диего А. (US), ДУ Майкл Х. (US), МАККАРТНИ Патрик М. (US)
(73) Патентообладатель(и):
ШЛЮМБЕРГЕР ТЕКНОЛОДЖИ Б.В. (NL)
|
(54) НАСОСНАЯ СИСТЕМА ДЛЯ СДВОЕННОГО ДВИГАТЕЛЯ
(57) Реферат:
Изобретение относится к системе соединения сдвоенного двигателя в погружной скважинной насосной системе. Насосная система включает первую секцию и вторую секцию. Первая секция имеет первый кожух, имеющий выполненный в нем сквозной осевой канал и выступающий элемент, расположенный на одном конце первого кожуха, и первый вал, размещенный в осевом канале первого кожуха. Вторая секция включает второй кожух, имеющий выполненный в нем сквозной осевой канал и выемку, выполненную на одном конце второго кожуха и предназначенную для размещения выступающего элемента первого кожуха, и второй вал, размещенный в осевом канале второго кожуха. Выступающий элемент в первой секции на своем конце имеет наклонную поверхность для сведения к минимуму захвата воздуха маслом, содержащимся в выемке второй секции, при соединении первой секции и второй секции. Изобретение направлено на повышение срока службы насосной системы и упрощение ее сборки за счет исключения воздушных карманов в сборке и процедуры повторного заполнения сборки маслом. 18 з.п. ф-лы, 9 ил.
В целом настоящее изобретение относится к соединителям. В частности, изобретение относится к системе и способам соединения сдвоенного двигателя в погружной насосной системе, предназначенной для использования в скважине.
Насосные системы с приводом от двигателя применяются для извлечения или перемещения жидкости и газа. При подземных работах, таких как выполняемые в скважине, обычно для добычи текучих сред на основе углеводородов применяют погружные электрические насосные системы. В отличие от обычных двигателей, применяемых при работах на поверхности, двигатель, применяемый в погружной насосной системе, требуется погружать в скважинные текучие среды. Погружной двигатель изолируют от окружающих скважинных текучих сред протектором двигателя. Двигатель и протектор могут представлять собой комбинированный узел, подобно конфигурации, описанной в опубликованной патентной заявке США 20050109515.
Протектор двигателя может также служить для компенсации изменения объема масла в двигателе из-за изменения температуры и объема во время, например, отгрузки двигателя с завода-изготовителя на нефтепромысел, перемещения двигателя с поверхности в скважину, а также включения и выключения насосной системы.
Известная погружная насосная система (см. опубликованную патентную заявку США 200050074331) показана на фиг.1. Насосная система 10 помещена в скважину 12 в геологическом пласту 14, содержащем такие текучие среды, как нефть. Скважина 12 защищена обсадной трубой 16, имеющей отверстия, через которые текучая среда поступает из пласта 14 в скважину 12. Насосная система 10 включает центробежный насос 20, имеющий всасывающее отверстие 22, погружной двигатель 24 и протектор 26 двигателя. Система 10 подвешена в скважине 12 на системе 28 развертывания. Силовой кабель 30 подает питание к погружному двигателю 24. При перекачивании скважинные текучие среды поступают во всасывающее отверстие 22 и проходят на вход центробежного насоса 20, а оттуда в колонну насосно-компрессорных труб для подачи на земную поверхность.
На фиг.1 насосная секция располагается над двигательной секцией. Существуют также другие конфигурации насосных систем. Например, в опубликованной патентной заявке США 20050199384 описаны средства соединения валов для погружных насосных систем с насосной секцией, расположенной ниже двигательной секции.
Насосная система может включать несколько соединенных вместе секций. Например, в опубликованной патентной заявке США 20050074331 описан удлиненный насос со множеством насосных секций, предназначенный для уменьшения сжимающего усилия в каждой секции. В некоторых случаях соединяют между собой два погружных двигателя для получения «сдвоенного двигателя» и обеспечения более высокой силы тяги для насоса по сравнению с той, которую может развить один двигатель. В опубликованной патентной заявке США 20030116323 описаны несколько сдвоенных двигателей, механически соединенных между собой, но независимо соединенных с источниками электроэнергии.
Сдвоенный двигатель обычно включает «верхний сдвоенный двигатель» и «нижний сдвоенный двигатель», где термины «верхний» и «нижний» относятся к относительным позициям отдельных двигателей относительно насоса. Два двигателя и/или протектора могут соединяться вместе с использованием соединения между протекторами, соединения между двигателями или соединения между двигателем и протектором. Различные секции насосной системы обычно соединяются между собой болтами, как описано в Патенте США 5628616.
Сдвоенный двигатель заполнен моторным маслом для смазки подобно отдельному двигателю. Сдвоенный двигатель может быть заполнен маслом на заводе-изготовителе до отгрузки на нефтепромысел. Однако проблема заключается в отгрузке сдвоенного двигателя без протечек масла и воздушных карманов, образованных в двигателях из-за изменений температуры и вибрации. Часто бывает желательно отгружать двигатели по отдельности и собирать их в сдвоенный двигатель на участке скважины. Процесс заполнения сдвоенного двигателя моторным маслом на полу буровой вышки требует больших затрат времени, а ошибки людей в процессе выполнения этой процедуры могут привести к сохранению воздушных карманов, образованных в сдвоенном двигателе и к уменьшению срока службы двигателя.
Согласно изобретению создана насосная система, содержащая первую секцию, имеющую первый кожух, включающий выполненный в нем сквозной осевой канал и выступающий элемент, расположенный на одном конце первого кожуха, и первый вал, размещенный в осевом канале первого кожуха, и вторую секцию, включающую второй кожух, имеющий выполненный в нем сквозной осевой канал и выемку, выполненную на одном конце второго кожуха и предназначенную для размещения выступающего элемента первого кожуха, и второй вал, размещенный в осевом канале второго кожуха, при этом выступающий элемент в первой секции на своем конце имеет наклонную поверхность для сведения к минимуму захвата воздуха маслом, содержащимся в выемке второй секции, при соединении первой секции и второй секции.
Предпочтительно, первой секцией является двигатель или протектор двигателя, и второй секцией является двигатель или протектор двигателя.
Предпочтительно, первая секция и вторая секция предварительно заполнены моторным маслом.
Предпочтительно, насосная система дополнительно содержит соединитель валов для соединения первого вала и второго вала.
Предпочтительно, соединитель валов размещен на первом валу.
Предпочтительно, соединитель валов прикреплен с возможностью отделения к первому валу посредством пружинной защелки.
Предпочтительно, насосная система дополнительно содержит уплотнение, расположенное на первом кожухе и приспособленное для взаимодействия с первым валом.
Предпочтительно, уплотнение расположено вблизи самой низкой точки первого кожуха.
Предпочтительно, насосная система дополнительно содержит компенсатор, соединенный с концом первой или второй секции и предназначенный для компенсации изменения объема масла в секции, с которой компенсатор соединен.
Предпочтительно, компенсатор содержит кожух компенсатора, имеющий открытый конец для соединения с первой или второй секцией, закрытый конец и сквозной осевой канал, и эластичный баллон, помещенный внутри кожуха компенсатора и соединенный с открытым концом кожуха компенсатора.
Предпочтительно, компенсатор соединен с первой или второй секцией трубой.
Предпочтительно, первая секция содержит сообщающий клапан, который поддерживается пружиной или упругим элементом.
Предпочтительно, вторая секция дополнительно содержит исполнительный механизм сообщающего клапана для открытия клапана.
Предпочтительно, выступающий элемент в первой секции содержит прикрепленную болтом пластину перемычки, на которой установлен, по меньшей мере, один выступающий элемент.
Предпочтительно, выступающий элемент является, по меньшей мере, одним из электрического вывода, вывода датчика, термопары и компонента клапана.
Предпочтительно, выступающий вывод герметизирован резиновой втулкой.
Предпочтительно, первая секция дополнительно содержит неповоротное кольцо, установленное радиально с помощью неповоротного элемента, вставленного в углубление в первом элементе, а неповоротное кольцо имеет второй неповоротный элемент, взаимодействующий с подшипником.
Предпочтительно, первый и второй неповоротные элементы являются одним из винта, штифта или шпонки.
Предпочтительно, углубление обеспечивает протекание текучей среды мимо неповоротного кольца.
Другие цели и преимущества изобретения станут очевидными из последующего описания со ссылками на прилагаемые чертежи, на которых:
фиг.1 – вид известной насосной системы;
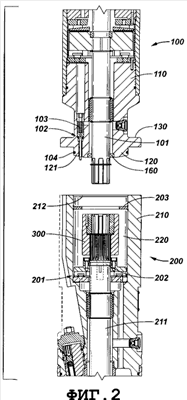
фиг.2 – вид в частичном поперечном разрезе варианта реализации насосной системы согласно настоящему изобретению с основанием верхнего протектора и головкой нижнего двигателя перед соединением, при этом головка нижнего двигателя содержит также соединитель валов;
фиг.3 – вид в поперечном разрезе варианта реализации, проиллюстрированного на фиг.2, с основанием верхнего протектора и головкой нижнего двигателя, соединенными вместе;
фиг.4 – основание двигателя с пластиной перемычки согласно одному варианту реализации;
фиг.5 – соединение протектора и двигателя без соединения валов согласно одному варианту реализации настоящего изобретения;
фиг.6 – вид в поперечном разрезе и перспективный вид неповоротного кольца согласно одному варианту реализации настоящего изобретения;
фиг.7 – вид в частичном поперечном разрезе варианта реализации насосной системы согласно настоящему изобретению с еще не соединенными основанием верхнего протектора и головкой нижнего двигателя, в котором соединитель валов соединен с возможностью отсоединения с валом верхнего двигателя;
фиг.8 – вид в поперечном разрезе варианта реализации, проиллюстрированного на фиг.7, с основанием верхнего протектора и головкой нижнего двигателя, соединенными вместе;
фиг.9 – компенсатор согласно одному варианту реализации настоящего изобретения.
Следует понимать, что чертежи могут использоваться только в целях иллюстрации, а не в качестве определения границ и пределов изобретения, или в качестве основания для обнаружения несуществующих или необъявленных ограничений для формулы изобретения.
В одном объекте некоторые раскрытые здесь варианты реализации относятся к способам и устройству для отгрузки отдельных секций насосной системы, таких как насосная секция, протекторная секция, или двигательно-протекторная комбинированная секция, на место расположения скважины, и сборке этих секций между собой в сдвоенный двигатель, в котором по существу отсутствуют захваченные моторным маслом воздушные карманы, без необходимости доливать в сдвоенный двигатель моторное масло на рабочей площадке.
Насосная система согласно вариантам реализации настоящего изобретения проиллюстрирована на фиг.2, на которой показаны две секции насосной системы перед сборкой. Как показано на фиг.2, первая секция, которая согласно одному варианту реализации настоящего изобретения является основанием 100 протектора верхнего двигателя, и вторая секция, которая согласно одному варианту реализации настоящего изобретения является головкой 200 нижнего двигателя, выравниваются по вертикали перед соединением вместе. Основание 100 протектора верхнего двигателя содержит первый кожух 110, который имеет выполненный в нем осевой канал, предназначенный для размещения в нем вала 101 верхнего двигателя. Головка 200 нижнего двигателя содержит второй кожух 210, который имеет выполненный в нем осевой канал, предназначенный для размещения в нем вала 211 верхнего двигателя. Верх кожуха 210 головки нижнего двигателя образует выемку, которая вместе с уплотнением 212 для транспортирования образует полость 220 в головке 200 нижнего двигателя. Основание 100 протектора верхнего двигателя и головка 200 нижнего двигателя предварительно заполнены моторным маслом.
Манжетное уплотнение 160 вала установлено для плотной герметизации вала 101 верхнего двигателя и предотвращает протечку масла из полостей в основании 100 протектора поверх манжетного уплотнения 160. Компоновка, при которой манжетное уплотнение 160 располагается в первом кожухе 110 в крайнем нижнем положении, позволяет довести до максимума количество масла, сохраняемого в верхней двигательной секции, и снижает вероятность захвата воздушных карманов при соединении основания 100 протектора и головки двигателя 200 между собой.
Нижняя часть основания верхнего протектора 100 содержит фланец 130, выступающий элемент 120 с наклонной поверхностью 121, предназначенной для лучшего пропускания воздуха, когда вал 101 верхнего двигателя погружен в масло в полости 220 головки 200 нижнего двигателя. Связной клапан 102, прикрепленный к пружине 103, установлен в основании 100 протектора. До соединения между собой основания верхнего протектора 100 и головки 200 нижнего двигателя связной клапан 102 остается закрытым для удержания масла внутри верхней протекторной секции. Кольцевое уплотнение 104 герметизирует и удерживает масло в нижней двигательной секции, когда соединяются основание 100 верхнего протектора и головка 200 нижнего двигателя. Головка 200 нижнего двигателя содержит упорный подшипник 201 двигателя, конец 202 вала, соединитель 300 вала и исполнительный механизм 203 связного клапана 102. Соединитель 300 полностью погружен в масло, заполняющее полость 220.
Во время выполнения операций сборки на месте скважины основание 100 протектора опускают на головку 200 двигателя, как показано на фиг.3. При движении вниз выступающий элемент 120 основания 100 протектора выдавливает часть моторного масла из полости 220 головки 200 двигателя. Наклонная поверхность 121 выступающего элемента 120 облегчает выход воздуха, сводя к минимуму количество захваченного воздуха. Поэтому сводится к минимуму вероятность захвата воздушных карманов между основанием 100 протектора и головкой 200 двигателя. Как только кольцевое уплотнение 104 войдет во взаимодействие с головкой 200 двигателя, масло внутри полости 220 будет задержано. Дальнейшее взаимодействие приведет к смещению масла или через сообщающий клапан 102, или через манжетное уплотнение 160, в зависимости от величины их разгрузочного давления. Избыточный объем масла вытесняется тогда через верхний конец протектора без повреждения каких-либо деталей. При дальнейшем осуществлении соединения клапан 102 будет принудительно открыт за счет своего контакта с исполнительным механизмом 203 клапана при одновременном сжатии пружины 103. Специалисты в данной области техники могут понять, что пружину 103 можно заменить любым упругим элементом в той мере, в которой он может способствовать закрыванию и открыванию связного клапана 102.
Когда фланец 130 основания двигателя встречается с головкой 200 двигателя, сообщающий клапан 102 будет полностью открыт. После этого основание 100 протектора и головку 200 двигателя скрепляют болтами для завершения установки. Процесс дополнительной заливки для заполнения сдвоенного двигателя маслом не требуется.
В некоторых областях применения может потребоваться, чтобы одна секция насосной системы имела множество выступающих выводов, таких как измерительные выводы и электрические соединения, прикрепленные к одному концу, в результате чего получается неровная поверхность. Неровная форма поверхности в большей степени подвергается образованию воздушных карманов в моторном масле по сравнению с поверхностью правильной формы, в особенности наклонной поверхностью. Как показано выше в описаниях к фиг.2 и фиг.3, одним из важных признаков некоторых вариантов реализации согласно настоящему изобретению является наличие выступающего элемента в первой секции, причем выступающий элемент вытесняет масло из второй секции, одновременно удаляя пузырьки воздуха. Этот механизм может быть применен к секции с неровной поверхностью за счет применения дополнительной пластины перемычки, которая удерживает выступающие выводы, и пластина перемычки заполняет большую часть пространства между выводами.
На фиг.4 показан вариант реализации основания 100 протектора, к которому с помощью по меньшей мере одного болта 407 прикреплена пластина перемычки 401. Пластина перемычки 401 используется для размещения по меньшей мере одного выступающего элемента, такого как сообщающий клапан 408, вывод 402 электрического питания с небольшим кольцевым уплотнением 403, вывод датчика 404, герметизированный резиновой втулкой 405 и термопара 406. Пластина перемычки 401 заполняет большую часть пространства между выступающими выводами, облегчая выдавливание этими выступающими выводами масла из головки нижнего двигателя, когда соединяются основание верхнего протектора и головка нижнего двигателя, не оставляя воздушных карманов в масле. Концевая часть перемычки 401 может также иметь наклонную поверхность 409, которая облегчает удаление воздуха при погружении в моторное масло.
Способ получения соединений, свободных от воздушных карманов, может быть применен ко многим различным соединениям. Например, на фиг.5 показан другой вариант реализации соединения протектора и двигателя, в котором не требуется соединение валов по фиг.2 и фиг.3. В соответствии с этим вариантом реализации конец вала нижнего двигателя оканчивается в гнезде 501 шлицами, и гнездо 501 принимает охватываемые шлицы вала верхнего протектора. Процедура установки является такой же, как процедура для вариантов реализации с погружным соединителем валов, проиллюстрированных на фиг.2 и фиг.3, и также сохраняет соединенные секции по существу свободными от воздушных карманов.
Головка двигателя, вал и основание протектора в насосной системе могут иметь опорные точки, в которых обычно используются керамические опорные подшипники. Согласно одному варианту реализации настоящего изобретения, в сочетании с керамическим опорным подшипником 605 применяют, как показано на фиг.6A и 6В, специально сконструированное неповоротное кольцо 601. Неповоротное кольцо 601 имеет установленный радиально винт 602, который проходит в выемку или отверстие 603 в корпусе протектора 604 для предотвращения вращения кольца. Кольцо 601 в свою очередь не допускает вращения керамического опорного подшипника 605 путем выдвижения по меньшей мере одного аксиально установленного штифта 606 в прорезь 607 в подшипнике 605. Другой функцией выемки или отверстия 603 является удаление воздуха и ввод масла во время заполнения узла маслом. Выемка в верхнем конце неповоротного кольца 601 и зазор между наружной поверхностью винта 602 и выемкой или отверстием 603 и плоскость на наружной поверхности кольца 601 образуют непрерывный соединительный путь для выполнения этой функции.
Еще один вариант реализации соединения без воздушных карманов согласно настоящему изобретению проиллюстрирован на фиг.7, на которой соединитель 300 валов прикреплен к валу 101 верхнего двигателя. В частности, пружинную защелку 140 используют для крепления с возможностью отсоединение соединителя 300 валов к валу 101 верхнего двигателя для значительного уменьшения пустоты, которая могла бы захватывать воздух во время установки. Защелка позволяет также снимать соединитель 300 валов и повторно его устанавливать вручную. Основание 100 верхнего сдвоенного двигателя и головка 200 нижнего сдвоенного двигателя перед соединением выравнивают по вертикали подобно варианту реализации, проиллюстрированному на фиг.2. Основание 100 верхнего сдвоенного двигателя содержит также компоненты, позволяющие минимизировать количество воздуха, которое может быть в противном случае захвачено, когда основание 100 верхнего сдвоенного двигателя соединяется с головкой 200 нижнего сдвоенного двигателя. Эти компоненты включают выступающий элемент 120 с наклонной поверхностью 121. Выступающий элемент 120 выдвинут далее фланца 130 для заполнения большей части полости 220 в головке 200 нижнего сдвоенного двигателя, предварительно заполненной маслом до сборки.
При сборке сдвоенного двигателя с использованием двух секций, проиллюстрированных на фиг.7, основание 100 верхнего сдвоенного двигателя находится в контакте с головкой 200 нижнего сдвоенного двигателя, как показано на фиг.8. Масляный сообщающий клапан 102 позволяет маслу течь в обоих направлениях, от верхнего сдвоенного двигателя к нижнему сдвоенному двигателю, или же от нижнего сдвоенного двигателя к верхнему сдвоенному двигателю. Ряд механизмов уплотнения, включая кольцевое уплотнение 170 на связном клапане 102 и манжетное уплотнение 160 на валу 101, гарантирует, что масло протекает только через связной клапан 102 и не вытекает из соединения сдвоенного двигателя. Эти механизмы уплотнения служат также для удержания как можно большего количества масла в основании 100 верхнего сдвоенного двигателя перед его соединением с головкой 200 нижнего сдвоенного двигателя, оставляя меньше возможностей для захвата воздушных карманов при соединении двух секций. Выступающий элемент 120 вытесняет масло из полости 220 в головке 200 нижнего сдвоенного двигателя, не допуская захвата воздушных карманов.
Хотя секции насосной системы могут легко соединяться на месте расположения скважины, секции должны быть предпочтительно предварительно заполнены моторным маслом без захвата ими воздушных карманов. Проблема заключается также в транспортировке этих предварительно заполненных, герметизированных секций, поскольку во время отгрузки происходит изменение объема моторного масла, связанное с изменениями температуры. Такое изменение объема масла может привести к утечке масла и образованию воздушных карманов в масле. Отгрузочный компенсатор 400 согласно одному варианту реализации настоящего изобретения проиллюстрирован на фиг.9 и используется для сохранения моторного масла в нижнем сдвоенном двигателе 200 во время отгрузки. Отгрузочный компенсатор 400 содержит кожух 410 для размещения в нем упругого баллона 420, баллон 420 соединен с открытым концом 411 кожуха 410, и открытый конец 411 имеет канал 412, соединенный с полостью 220 головки 200 двигателя. Упругий баллон 420 изготовлен из резины и других гибких материалов, которые могут расширяться и сжиматься. Канал 412 позволяет маслу вытекать из головки 200 нижнего двигателя в баллон 420 при увеличении объема масла и вытекать из баллона 420 в головку 200 нижнего двигателя при уменьшении объема масла. Баллон 420 соединен также с крышкой 413 баллона, которая опирается на стержень 414. Согласно некоторым вариантам реализации настоящего изобретения крышка 413 баллона может скользить вдоль стержня 414 для того, чтобы допустить значительное изменение объема. Кожух 410 может быть герметизирован крышкой 430, чтобы не допустить попадания в него загрязнений. Кожух 410 может быть выполнен из любого прочного материала, такого как металл, пластмасса, резина и т.п. В варианте реализации, проиллюстрированном на фиг.9, компенсатор 400 непосредственно соединен с головкой 200 двигателя. В других вариантах реализации компенсатор может быть соединен с двигателем или протектором посредством трубы, и масло может протекать по трубе между компенсатором и двигателем или протектором.
В то время как в приведенном выше описании соединение протектора и двигателя используется для иллюстрации вариантов реализации, относящихся к соединениям, свободным от воздушных карманов, специалисту в данной области техники должно быть понятно, что варианты реализации изобретения могут быть также применены к другим соединениям, свободным от воздушных карманов, таким как соединения протектора с протектором, двигателя с двигателем или двигателя с датчиком. Термин «сдвоенный двигатель», применяемый в некоторых вариантах реализации согласно настоящему изобретению, не ограничивает сдвоенный двигатель наличием двух двигателей или секций. Скорее настоящее изобретение относится к соединениям многосекционной или многоступенчатой конфигурации двигателя, который может включать в себя множество секций двигателей, протекторов и соединений. Кроме того, термины «верхний сдвоенный двигатель» и «нижний сдвоенный двигатель» не следует рассматривать как ограничивающие объем настоящего изобретения вертикально конфигурированным двигателем. Вместо этого настоящее изобретение может быть применено к двигателям или соединениям любой ориентации или геометрической формы.
Преимущества настоящего изобретения состоят в следующем. Варианты реализации изобретения обеспечивают упрощенные процедуры сборки на рабочей площадке сдвоенных двигателей и/или протекторов, когда секции сдвоенного агрегата могут быть соединены болтами между собой, не оставляя воздушных карманов в моторном масле и исключая потребность в процедуре повторного заполнения. При наличии отгрузочного компенсатора согласно вариантам реализации изобретения масло в двигателе может расширяться и сжиматься вполне свободно, не вытекая и не засасывая воздух.
В то время как изобретение было описано со ссылкой на ограниченное количество вариантов реализации, специалисты в данной области техники, используя описание, могут предположить возможность других вариантов реализации, не отклоняющихся от объема изобретения, описанного здесь. Соответственно объем изобретения должен ограничиваться только прилагаемой формулой изобретения.
Формула изобретения
1. Насосная система, содержащая первую секцию, имеющую первый кожух, включающий выполненный в нем сквозной осевой канал и выступающий элемент, расположенный на одном конце первого кожуха, и первый вал, размещенный в осевом канале первого кожуха, и вторую секцию, включающую второй кожух, имеющий выполненный в нем сквозной осевой канал и выемку, выполненную на одном конце второго кожуха и предназначенную для размещения выступающего элемента первого кожуха, и второй вал, размещенный в осевом канале второго кожуха, при этом выступающий элемент в первой секции на своем конце имеет наклонную поверхность для сведения к минимуму захвата воздуха маслом, содержащимся в выемке второй секции, при соединении первой секции и второй секции.
2. Насосная система по п.1, в которой первой секцией является двигатель или протектор двигателя, и второй секцией является двигатель или протектор двигателя.
3. Насосная система по п.2, в которой первая секция и вторая секция предварительно заполнены моторным маслом.
4. Насосная система по п.1, которая дополнительно содержит соединитель валов для соединения первого вала и второго вала.
5. Насосная система по п.4, в которой соединитель валов размещен на первом валу.
6. Насосная система по п.5, в которой соединитель валов прикреплен с возможностью отделения к первому валу посредством пружинной защелки.
7. Насосная система по п.1, которая дополнительно содержит уплотнение, расположенное на первом кожухе и приспособленное для взаимодействия с первым валом.
8. Насосная система по п.7, в которой уплотнение расположено вблизи самой низкой точки первого кожуха.
9. Насосная система по п.1, которая дополнительно содержит компенсатор, соединенный с концом первой или второй секции и предназначенный для компенсации изменения объема масла в секции, с которой компенсатор соединен.
10. Насосная система по п.9, в которой компенсатор содержит кожух компенсатора, имеющий открытый конец для соединения с первой или второй секцией, закрытый конец и сквозной осевой канал, и эластичный баллон, помещенный внутри кожуха компенсатора и соединенный с открытым концом кожуха компенсатора.
11. Насосная система по п.10, в которой компенсатор соединен с первой или второй секцией трубой.
12. Насосная система по п.1, в которой первая секция содержит сообщающий клапан, который поддерживается пружиной или упругим элементом.
13. Насосная система по п.12, в которой вторая секция дополнительно содержит исполнительный механизм сообщающего клапана для открытия клапана.
14. Насосная система по п.1, в которой выступающий элемент в первой секции содержит прикрепленную болтом пластину перемычки, на которой установлен, по меньшей мере, один выступающий элемент.
15. Насосная система по п.14, в которой выступающий элемент является, по меньшей мере, одним из электрического вывода, вывода датчика, термопары и компонента клапана.
16. Насосная система по п.15, в которой выступающий вывод герметизирован резиновой втулкой.
17. Насосная система по п.1, в которой первая секция дополнительно содержит неповоротное кольцо, установленное радиально с помощью неповоротного элемента, вставленного в углубление в первом элементе, а неповоротное кольцо имеет второй неповоротный элемент, взаимодействующий с подшипником.
18. Насосная система по п.17, в которой первый и второй неповоротные элементы являются одним из винта, штифта или шпонки.
19. Насосная система по п.17, в которой углубление обеспечивает протекание текучей среды мимо неповоротного кольца.
РИСУНКИ
|
|