|
|
(21), (22) Заявка: 2007145543/06, 10.12.2007
(24) Дата начала отсчета срока действия патента:
10.12.2007
(30) Конвенционный приоритет:
12.12.2006 JP 2006-334754
(43) Дата публикации заявки: 20.06.2009
(46) Опубликовано: 27.05.2010
(56) Список документов, цитированных в отчете о поиске:
FR 2774421 A1, 06.08.1999. EP 1722082 A1, 15.11.2006. US 4719751 A1, 19.06.1988. US 2003230077 A1, 18.12.2003. US 2003230075 A1, 18.12.2003. SU 288541 A1, 10.03.1971.
Адрес для переписки:
125009, Москва, а/я 332, ЗАО “Инэврика”, С.О.Шолоховой
|
(72) Автор(ы):
КАТАЯМА Масанобу (JP), ОЦУБО Ясухико (JP)
(73) Патентообладатель(и):
ТОЙОТА ДЗИДОСЯ КАБУСИКИ КАЙСЯ (JP)
|
(54) УСТРОЙСТВО ДЛЯ ВЫЧИСЛЕНИЯ ПЕРЕПАДА ДАВЛЕНИЯ И СПОСОБ ВЫЧИСЛЕНИЯ ПЕРЕПАДА ДАВЛЕНИЯ МЕЖДУ ВХОДНОЙ И ВЫХОДНОЙ ЧАСТЯМИ ФИЛЬТРА, А ТАКЖЕ УСТРОЙСТВО ДЛЯ ОЦЕНКИ КОЛИЧЕСТВА ОТЛОЖЕНИЯ И СПОСОБ ОЦЕНКИ КОЛИЧЕСТВА ОТЛОЖИВШИХСЯ НА ФИЛЬТРЕ ТВЕРДЫХ ЧАСТИЦ
(57) Реферат:
Система очистки отработавших газов включает фильтр 24 твердых частиц выхлопа дизельного двигателя, который располагается в выхлопном канале и улавливает твердые частицы, выпускаемые из двс, и выпускной дроссельный клапан 18, который расположен в выхлопном канале на выходной стороне фильтра. Устройство для вычисления перепада давления между входной и выходной частями фильтра 24 твердых частиц выхлопа дизельного двигателя включает средство 33 определения давления перед фильтром, средство оценки давления за фильтром по суммарной потере давления в выхлопном канале 34 на выходной стороне фильтра посредством извлечения по отдельности первой потери давления и второй потери давления. Причем первая потеря давления является потерей давления в заданной части 34b от входной части до выходной части перепускного дроссельного клапана 18, а вторая потеря давления является потерей давления в части, отличной от заданной части. Устройство содержит средство вычисления, предназначенное для вычисления перепада давления между входной и выходной частями фильтра по оцененному давлению за фильтром. Такое выполнение позволяет повысить точность вычисления. 4 н. и 5 з.п. ф-лы, 5 ил.
ПРЕДПОСЫЛКИ СОЗДАНИЯ ИЗОБРЕТЕНИЯ
1. Область техники, к которой относится изобретение
[0001] Настоящее изобретение применимо к системе очистки отработавших газов, которая включает фильтр для улавливания твердых частиц, содержащихся в отработавшем газе двигателя внутреннего сгорания, и относится к методу вычисления перепада давления между входной и выходной частями данного фильтра и к методу оценки количества твердых частиц, отложившихся на данном фильтре.
2. Описание области техники, к которой относится изобретение
[0002] Некоторые двигатели внутреннего сгорания, такие как автомобильные дизельные двигатели, оборудованы системой очистки отработавших газов, имеющей фильтр, который устанавливается в ее выхлопном канале для улавливания твердых частиц. Увеличение количества твердых частиц, отложившихся на данном фильтре, ведет к повышению давления в выхлопном канале, что вызывает возникновение таких проблем, как снижение топливной экономичности. Соответственно, система очистки отработавших газов данного типа адаптирована для выполнения так называемой регенерации фильтра, при которой производится дополнительный впрыск топлива, такой как последующий впрыск, когда согласно оценке количество отложения твердых частиц стало чрезмерным, вследствие чего отложившиеся на фильтре твердые частицы сжигаются и удаляются.
[0003] Для оценки количества твердых частиц, отложившихся на фильтре, как описано, например, в публикации японской патентной заявки 9-256837 (JP-A-9-256837), используется устройство детектирования состояния улавливания частиц, которое определяет количество осажденных твердых частиц исходя из перепада давления между верхним и нижним звеньями фильтра.
[0004] Указанное устройство детектирования, раскрытое в публикации японской патентной заявки 9-256837 (JP-A-9-256837), включает газоотводящую часть, соединенную с входной стороной фильтра, и определяет давление перед фильтром с помощью данной газоотводящей части во время работы двигателя внутреннего сгорания. Поскольку выходная сторона фильтра соединена с атмосферой, то когда по выхлопному каналу не протекают отработавшие газы, вместо давления за фильтром может быть использовано атмосферное давление. Таким образом, в данном устройстве детектирования атмосферное давление используется как давление за фильтром. В частности, используя тот факт, что газоотводящая часть соединена с выходной стороной фильтра через фильтр, данное устройство детектирования заранее определяет атмосферное давление посредством данной газоотводящей части при запуске двигателя внутреннего сгорания, когда отработавшие газы не протекают. Затем данное устройство детектирования вычисляет перепад давления в фильтре по давлению перед фильтром во время работы двигателя внутреннего сгорания, определенному таким образом, и давлению за фильтром (атмосферному давлению) при запуске двигателя внутреннего сгорания, подсчитывая таким образом количество отложившихся твердых частиц, осевших на фильтр.
[0005] При работе двигателя внутреннего сгорания на величину давления за фильтром оказывают влияние конфигурация выхлопного канала на выходной стороне фильтра, рабочее состояние двигателя внутреннего сгорания и тому подобное. В частности, в последнее время применялась конфигурация, в которой в выхлопном канале на нижней стороне фильтра устанавливается выпускной дроссельный клапан для обеспечения регулирования площади поперечного сечения данного выхлопного канала, благодаря чему достигается повышение эффективности регенерации фильтра, улучшение прогрева двигателя в районах с холодным климатом и тому подобное. Конфигурация выхлопного канала, которая стала, таким образом, более сложной, оказывает еще большее влияние на величину давления за фильтром.
[0006] Однако, в устройстве детектирования состояния улавливания частиц, раскрытом в публикации японской патентной заявки 9-256837 (JP-A-9-256837), давление при запуске двигателя внутреннего сгорания используется просто как давление за фильтром, а вышеописанная конфигурация выхлопного канала и рабочее состояние двигателя внутреннего сгорания совершенно не учитываются. Вследствие этого между давлением при запуске двигателя и фактическим давлением за фильтром во время работы двигателя может возникнуть расхождение. По этой причине точное вычисление перепада давления между входной и выходной частями фильтра может стать невозможным, что может также привести к снижению достоверности значения количества отложившихся на фильтре твердых частиц, подсчитанного на основании данного перепада давления.
[0007] Снижение достоверности подсчитанного значения количества отложившихся твердых частиц может даже привести к возникновению следующих проблем, связанных с контролем регенерации фильтра.
[0008] В случае работы системы очистки отработавших газов, когда контроль регенерации фильтра начинается тогда, когда количество отложившихся на фильтре твердых частиц достигло заданного значения, могут возникать ситуации, в которых контроль регенерации фильтра начинается, даже если количество отложенных на фильтре твердых частиц не достигло заданного значения, или в которых контроль регенерации фильтра не начинается, даже если количество отложившихся твердых частиц превысило заданное значение.
[0009] В случае системы очистки отработавших газов, в которой количество отложившихся твердых частиц подсчитывается во время контроля регенерации фильтра на основании перепада давления фильтра, и степень, до которой фильтр был регенерирован, определяется на основании данного подсчитанного значения для определения таким образом времени прекращения контроля регенерации фильтра, могут возникать ситуации, в которых контроль регенерации фильтра прекращается, даже если фильтр регенерирован неполностью, или в которых контроль регенерации фильтра продолжается, даже если фильтр регенерирован полностью.
КРАТКОЕ ИЗЛОЖЕНИЕ СУЩНОСТИ ИЗОБРЕТЕНИЯ
[0010] Целью настоящего изобретения является обеспечение метода, который позволяет точно вычислять перепад давления между входной и выходной частями фильтра, который улавливает твердые частицы, содержащиеся в отработавших газах двигателя внутреннего сгорания, и метода, который позволяет точно подсчитывать количество отложившихся на данном фильтре твердых частиц.
[0011] Первый аспект настоящего изобретения относится к устройству для вычисления перепада давления, которое предназначено для вычисления перепада давления между входной и выходной частями фильтра в системе очистки отработавших газов; указанная система очистки отработавших газов включает фильтр, который расположен в выхлопном канале двигателя внутреннего сгорания и улавливает твердые частицы, отводимые из двигателя внутреннего сгорания. Данное устройство для вычисления перепада давления включает: средство определения давления, предназначенное для определения давления перед фильтром; средство оценки давления, предназначенное для оценки давления за фильтром по суммарной потере давления в выхлопном канале на выходной стороне фильтра; и средство вычисления, предназначенное для вычисления перепада давления между входной и выходной частями фильтра по определенному давлению перед фильтром и подсчитанному давлению за фильтром.
[0012] Средство оценки давления может оценивать давление за фильтром путем прибавления суммарной потери давления к атмосферному давлению.
[0013] В системе очистки отработавших газов, имеющей вышеуказанную конфигурацию, фильтр соединяется с атмосферой через выхлопной канал, соединенный с выходной стороной фильтра. Вследствие этого давление за фильтром во время работы двигателя внутреннего сгорания имеет значение, которое больше значения атмосферного давления на величину суммарной потери давления, которая происходит при протекании отработавших газов по выхлопному каналу на выходной стороне фильтра. В этом отношении в соответствии с вышеуказанной конфигурацией средство оценки давления подсчитывает давление за фильтром путем извлечения суммарной потери давления. Следовательно, давление за фильтром, подсчитанное таким образом, соответствует фактическому давлению за фильтром. То есть, в соответствии с вышеуказанной конфигурацией, поскольку достигается повышение достоверности значения давления за фильтром, подсчитанного средством оценки давления, достигается также и повышение достоверности значения перепада давления между входной и выходной сторонами фильтра, вычисленного с использованием этого значения.
[0014] Следует отметить, что в том случае, если, например, давление перед фильтром, определенное средством определения давления, определено как манометрическое давление, то есть давление, определяемое относительно атмосферного давления, средство оценки давления также может подсчитать давление за фильтром как манометрическое давление. То есть, в этом случае средство оценки давления может непосредственно использовать значение этой суммарной потери давления как давление за фильтром.
[0015] Как можно понять из вышеприведенного описания, давление перед фильтром является величиной, полученной путем сложения потери давления в фильтре и суммарной потери давления в выхлопном канале на выходной стороне фильтра.
[0016] Второй асрект настоящего изобретения относится к устройству для вычисления перепада давления, предназначенного для вычисления перепада давления между входной и выходной частями фильтра в системе очистки отработавших газов; указанная система очистки отработавших газов включает фильтр, который установлен в выхлопном канале двигателя внутреннего сгорания и улавливает твердые частицы, выпускаемые из двигателя внутреннего сгорания, и выпускной дроссельный клапан, который установлен на выходной стороне фильтра в выхлопном канале и регулирует площадь поперечного сечения выхлопного канала. Данное устройство для вычисления перепада давления включает: средство определения давления, предназначенное для определения давления перед фильтром; средство оценки давления, предназначенное для оценки давления за фильтром по суммарной потере давления в выхлопном канале на выходной стороне фильтра путем индивидуального извлечения первой потери давления и второй потери давления (при этом первая потеря давления является потерей давления в заданной части от входной стороны до выходной стороны выпускного дроссельного клапана в выхлопном канале на выходной стороне фильтра, а вторая потеря давления является потерей давления в части, другой чем заданная часть в выхлопном канале на выходной стороне фильтра); и средство вычисления, предназначенное для вычисления перепада давления между входной и выходной частями фильтра по определенному давлению перед фильтром и подсчитанному давлению за фильтром.
[0017] Средство оценки давления может подсчитать давление за фильтром путем прибавления суммарной потери давления к атмосферному давлению.
[0018] Как описано выше, давление за фильтром во время работы двигателя внутреннего сгорания является величиной, которая больше величины атмосферного давления на величину суммарной потери давления, которая происходит при протекании отработавших газов по выхлопному каналу на выходной стороне фильтра.
[0019] В выхлопном канале на выходной стороне фильтра предусмотрен выпускной дроссельный клапан. На потерю давления на заданном участке от верхней части до нижней части данного выпускного дроссельного клапана оказывают влияние характеристики и состояние активации данного клапана. В этом отношении в соответствии с вышеуказанной конфигурацией средство оценки давления извлекает первую потерю давления, представляющую потерю давления в данной заданной части, и отдельно вторую потерю давления, представляющую потерю давления в части, другой чем заданная часть, тем самым позволяя вычислить более точно суммарную потерю давления в выхлопном канале на выходной стороне фильтра. Следовательно, давление за фильтром, подсчитанное средством оценки давления, соответствует фактическому давлению за фильтром. То есть, в соответствии с вышеуказанной конфигурацией, поскольку достигается повышение достоверности значения давления за фильтром, достигается также и повышение достоверности значения перепада давления между входной и выходной сторонами фильтра, вычисленного с использованием этого значения.
[0020] Следует отметить, что в том случае, если, например, давление перед фильтром, определенное средством определения давления, определено как манометрическое давление, то есть давление, определяемое относительно атмосферного давления, средство оценки давления также может оценить давление за фильтром как манометрическое давление. То есть, в этом случае средство оценки давления может непосредственно использовать значение этой суммарной потери давления как давление за фильтром.
[0021] Система очистки отработавших газов может включать перепускной канал, который подсоединяется между входной частью и выходной частью выпускного дроссельного клапана в заданной части и обходит выпускной дроссельный клапан, и перепускной клапан, который устанавливается в перепускном канале и регулирует перепад давления между входной и выходной частями выпускного дроссельного клапана так, чтобы он имел заданное значение давления или был меньше его, а средство оценки давления может оценивать давление за фильтром при установке заданного значения давления как верхнего предельного значения первой потери давления.
[0022] В системе очистки отработавших газов, имеющей вышеописанную конфигурацию, перепад давления между входной и выходной сторонами выпускного дроссельного клапана регулируется перепускным клапаном так, чтобы он имел заданное значение или был меньше его. Вследствие этого, хотя первая потеря давления и изменяется, так как на ее значение влияет рабочее состояние двигателя внутреннего сгорания и тому подобное, например, максимальным значением, которого может достигнуть первая потеря давления, является вышеуказанное заданное значение давления. В этом отношении, в том случае, если устройство для вычисления перепада давления применяется с вышеуказанной системой очистки отработавших газов, включающей выпускной дроссельный клапан и перепускной клапан, то в случае принятия вышеуказанной конфигурации первая потеря давления может быть извлечена с учетом действия данного перепускного клапана по регулированию давления, что позволяет более точно вычислить перепад давления между входной и выходной сторонами фильтра.
[0023] Средство оценки давления может оценивать давление за фильтром как повышенное, если количество воздуха, всасываемого в двигатель внутреннего сгорания, увеличивается.
[0024] В двигателе внутреннего сгорания чем больше количество всасываемого воздуха, тем больше количество отработавших газов, протекающих в выхлопном канале двигателя внутреннего сгорания, и, следовательно, тем больше суммарная потеря давления в выхлопном канале на выходной стороне фильтра. Кроме того, как указано выше, поскольку значение давления за фильтром превышает значение атмосферного давления на величину суммарной потери давления в выхлопном канале на выходной стороне фильтра, чем больше количество всасываемого воздуха, тем больше значение давления на выходной стороне. Вследствие этого, в случае принятия вышеуказанной конфигурации средство оценки давления может оценивать давление за фильтром более точно с учетом вышеописанной зависимости между количеством всасываемого воздуха и давлением за фильтром. Кроме того, достигается повышение достоверности значения перепада давления, вычисленного по оцененному давлению.
[0025] Средство оценки давления может оценить более высокое давление за фильтром при повышении температуры отработавших газов двигателя внутреннего сгорания.
[0026] В двигателе внутреннего сгорания повышение температуры отработавших газов ведет к увеличению удельного объема отработавших газов, протекающих в выхлопном канале двигателя внутреннего сгорания и, следовательно, к увеличению суммарной потери давления в выхлопном канале на выходной стороне фильтра. Кроме того, как рассмотрено выше, поскольку значение давления за фильтром превышает атмосферное давление на величину суммарной потери давления в выхлопном канале на выходной стороне фильтра, повышение температуры отработавших газов ведет к увеличению значения давления за фильтром. Вследствие этого, в случае принятия вышеуказанной конфигурации средство оценки давления может оценить давление за фильтром более точно с учетом вышеописанной зависимости между температурой отработавших газов и давлением за фильтром. Кроме того, достигается повышение достоверности значения перепада давления, вычисленного по оцененному давлению.
[0027] Третий аспект настоящего изобретения относится к устройству для оценки количества отложения, предназначенному для оценки количества отложившихся твердых частиц. Данное устройство для оценки количества отложения включает устройство для вычисления перепада давления согласно указанному выше первому или второму аспекту и средство оценки, предназначенное для оценки количества отложившихся твердых частиц по перепаду давления на фильтре, вычисленному устройством для вычисления перепада давления.
[0028] В соответствии с вышеуказанной конфигурацией количество отложившихся твердых частиц может быть оценено по высокодостоверному значению перепада давления, которое вычисляется средством вычисления перепада давления, предназначенным для вычисления перепада давления между входной и выходной сторонами фильтра согласно первому или второму аспекту изобретения. Вследствие этого также достигается повышение достоверности значения количества отложившихся твердых частиц, оцененного средством оценки.
[0029] Кроме того, например, в случае применения системы очистки отработавших газов, в которой моменты времени начала и прекращения контроля регенерации фильтра определяются по количеству отложившихся на фильтре твердых частиц, оцененному таким образом, эти моменты времени могут определяться соответствующим образом. То есть, контроль регенерации фильтра может осуществляться соответствующим образом.
КРАТКОЕ ОПИСАНИЕ ЧЕРТЕЖЕЙ
[0030] Вышеупомянутые и другие цели, характерные особенности и преимущества настоящего изобретения станут очевидными из следующего описания примеров осуществления изобретения со ссылками на прилагаемые чертежи, на которых одинаковые цифры используются для обозначения одинаковых элементов и на которых:
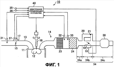
на фиг.1 представлена принципиальная схема, на которой показана конфигурация установленного на автомобиле двигателя внутреннего сгорания, включающего систему очистки отработавших газов, с которой применяются устройство для вычисления перепада давления, предназначенное для вычисления перепада давления между входной и выходной частями фильтра, и устройство для оценки количества отложения, предназначенное для оценки количества отложившихся на фильтре твердых частиц в соответствии с настоящим изобретением;
на фиг.2 представлена временная диаграмма, на которой показано количество отложившихся твердых частиц относительно времени работы двигателя внутреннего сгорания;
на фиг.3 представлена схема последовательности операций, на которой показано как оценивается количество отложившихся твердых частиц на фильтр твердых частиц выхлопа дизельного двигателя (DPF – Diesel Particulate Filter);
на фиг.4 представлен график, на котором показана зависимость между температурой отработавших газов, количеством всасываемого воздуха Ga и первой потерей давления при полностью закрытом выпускном дроссельном клапане; и
на фиг.5 представлен график, на котором показана зависимость между температурой отработавших газов, количеством всасываемого воздуха Ga и второй потерей давления.
ПОДРОБНОЕ ОПИСАНИЕ ПРИМЕРОВ ПРЕДПОЧТИТЕЛЬНОГО ОСУЩЕСТВЛЕНИЯ ИЗОБРЕТЕНИЯ
[0031] Как видно из фиг. с 1 по 5, описание будет касаться примера осуществления изобретения, в котором устройство для вычисления перепада давления, предназначенное для вычисления перепада давления между входной и выходной частями фильтра, и устройство для оценки количества отложения, предназначенное для оценки количества отложившихся на фильтре твердых частиц, в соответствии с настоящим изобретением применяются с системой очистки отработавших газов установленного на автомобиле двигателя внутреннего сгорания, который включает фильтр для улавливания твердых частиц.
[0032] На фиг.1 представлена принципиальная схема установленного на автомобиле двигателя внутреннего сгорания, включающего систему очистки отработавших газов, в соответствии с настоящим изобретением. Двигатель 10 внутреннего сгорания включает камеру 12 сгорания, которая характеризуется каждым из цилиндров 11; всасывающий канал 13, предназначенный для подачи всасываемого воздуха в камеру 12 сгорания; и выхлопной канал 14, через который выпускаются отработавшие газы, образующиеся в результате сгорания топлива в камере 12 сгорания.
[0033] Всасывающий канал 13 снабжен впускным дроссельным клапаном 15 для регулирования площади поперечного сечения всасывающего канала 13. Впускной дроссельный клапан 15 приводится в действие приводом 17. Количество воздуха, всасываемого в камеру 12 сгорания, регулируется путем регулирования поперечного сечения отверстия впускного дроссельного клапана 15. Воздух, всасываемый во всасывающий канал 13, смешивается с топливом, впрыскиваемым из клапана 16 впрыска топлива, установленного в камере 12 сгорания, для образования воздушно-топливной смеси, которая сжигается в камере 12 сгорания. Всасывающий канал 13 также снабжен измерителем 31 количества воздуха для определения количества воздуха, всасываемого в камеру 12 сгорания.
[0034] В выхлопном канале 14 каталитический окислительный нейтрализатор (catalytic converter for oxidation – ССО) 23, предназначенный для окисления и очистки вредного углеводорода (noxious hydrocarbon – НС) и окиси углерода (carbon monoxide – СО), содержащихся в отработавших газах, и фильтр 24 твердых частиц выхлопа дизельного двигателя (DPF), предназначенный для улавливания твердых частиц, устанавливаются в указанном порядке. Отработавшие газы, образующиеся в камере 12 сгорания в результате сгорания топлива, подаются в каталитический окислительный нейтрализатор (ССО) 23 и фильтр 24 твердых частиц выхлопа дизельного двигателя (DPF). Фильтр 24 твердых частиц выхлопа дизельного двигателя (DPF) выполнен из пористого материала для улавливания твердых частиц, содержащихся в выхлопе. В данном примере осуществления изобретения каталитический нейтрализатор, предназначенный для окисления углеводорода НС и окиси углерода СО, содержащихся в отработавших газах, также располагается на фильтре 24 твердых частиц выхлопа дизельного двигателя (DPF). Кроме того, другой каталитический нейтрализатор отработавших газов (не показан), отличный от каталитического окислительного нейтрализатора (ССО) 23, устанавливается на входной стороне каталитического окислительного нейтрализатора (ССО) 23 в выхлопном канале 14. Кроме того, осуществляется так называемая регенерация фильтра 24 твердых частиц выхлопа дизельного двигателя (DPF), посредством которой твердые частицы, улавливаемые фильтром 24 твердых частиц выхлопа дизельного двигателя (DPF), окисляются (сжигаются) для удаления их посредством реакции, вызванной данными каталитическими нейтрализаторами.
[0035] Датчик 32 температуры и датчик 33 давления устанавливаются в указанном порядке между каталитическим окислительным нейтрализатором (ССО) 23 и фильтром 24 твердых частиц выхлопа дизельного двигателя (DPF) 24 в выхлопном канале 14. Датчик 32 температуры определяет температуру отработавших газов, протекающих в выходном канале 14, а датчик 33 давления определяет давление перед фильтром 24 твердых частиц выхлопа дизельного двигателя (DPF). Кроме того, датчик 33 давления настроен для определения манометрического давления, то есть давления относительно атмосферного давления, принятого за нуль, как значения определения давления.
[0036] Выхлопной канал 14 делится на три, с первого 34а по третий 34с, участка в выхлопном канале 34 на выходной стороне фильтра 24 твердых частиц выхлопа дизельного двигателя (DPF). Следует отметить, что, хотя данные участки 34а – 34с сформированы в непрерывный канал, они определяются как описано выше для удобства описания особенностей настоящего изобретения.
[0037] Выпускной дроссельный клапан 18 установлен во втором участке 34b, который проходит непрерывно до выходного конца фильтра 24 твердых частиц выхлопа дизельного двигателя (DPF) через первый участок 34а. То есть, в этом примере осуществления изобретения данный второй участок составляет заданный участок от ввходной части выпускного дроссельного клапана 18 до его выходной части. Выпускной дроссельный клапан 18 является клапаном переключения, который переключается между полностью открытым состоянием и полностью закрытым состоянием посредством привода 19.
[0038] Во втором участке 34b также расположен перепускной канал 20, который соединен между входной и выходной частями выпускного дроссельного клапана 18 и обходит выпускной дроссельный клапан 18. Перепускной канал 20 снабжен перепускным клапаном 21 для регулирования давления перед выпускным дроссельным клапаном 18. Перепускной клапан 21 является клапаном саморегулирования давления, который автоматически открывается для регулирования давления, когда перепад давления между входной и выходной частями перепускного клапана 21. то есть перепад давления между входной и выходной частями выпускного дроссельного клапана 18, превышает заданное значение давления (например, 150 кПа).
[0039] В третьем участке 34с, являющемся продолжением второго участка 34b, установлен глушитель 38 для подавления шума, производимого отработавшими газами. Выходной конец третьего участка 34с соединяется непосредственно с атмосферой. Различные операции управления, необходимые для двигателя внутреннего сгорания 10, которые описаны выше, осуществляются электронным управляющим устройством 40. Электронное управляющее устройство 40 включает центральный процессор (CPU – central processing unit), предназначенный для выполнения различных операций арифметической обработки, связанных с управлением двигателем; постоянное запоминающее устройство (ROM – read-only memory), предназначенное для хранения программ и данных, необходимых для управления центральным процессором CPU; оперативную память (RAM – random-access memory), предназначенную для временного хранения результатов вычислений центрального процессора CPU; порт ввода-вывода, предназначенный для ввода и вывода сигналов из внешнего устройства и во внешнее устройство; и тому подобное. Кроме того, электронное управляющее устройство 40 выполняет функции средства оценки давления, предназначенного для подсчета давления PL за фильтром, и средства вычисления, предназначенного для вычисления перепада давления Р между входной и выходной частями фильтра 24 твердых частиц выхлопа дизельного двигателя (DPF) по давлению PL за фильтром 24 твердых частиц выхлопа дизельного двигателя (DPF), которое оценено средством оценки давления, и давлению PU перед фильтром, которое определено датчиком 33 давления. Кроме того, электронное управляющее устройство 40 выполняет функцию средства оценки, предназначенного для оценки количества отложения твердых частиц на фильтре 24 твердых частиц выхлопа дизельного двигателя (DPF) по перепаду давления между входной и выходной частями фильтра, определенному средством вычисления. То есть, в данном примере осуществления изобретения датчик 33 давления и электронное управляющее устройство 40 составляют устройство для вычисления перепада давления, предназначенное для вычисления перепада давления между входной и выходной частями фильтра, и устройство для оценки количества отложившихся на фильтре твердых частиц.
[0040] Кроме датчиков, описанных выше, порты ввода электронного управляющего устройства 40 подсоединены к датчику 35 NE, предназначенному для определения числа оборотов двигателя; датчику 36 ускорения, предназначенному для определения объема работы акселератора, и датчику 37 впускного дросселя, предназначенному для определения поперечного сечения отверстия впускного дроссельного клапана 15. В дополнение к этому, порты вывода электронного управляющего устройства 40 подсоединены к приводным цепям впускного дроссельного клапана 15, клапана 16 впрыска топлива и выпускного дроссельного клапана 18.
[0041] Электронное управляющее устройство 40 выдает командные сигналы в приводные цепи устройств, подсоединенных к вышеуказанному порту вывода, в соответствии с рабочим состоянием двигателя, полученным по сигналам определения, введенным от вышеуказанных датчиков. Таким образом, различные операции управления, такие как управление отверстием впускного дроссельного клапана 15, управление впрыском топлива из клапана 16 впрыска топлива и управление открытием и закрытием выпускного дроссельного клапана 18, осуществляются электронным управляющим устройством 40.
[0042] В системе очистки отработавших газов, предназначенной для двигателя 10 внутреннего сгорания, которая сконфигурирована как описано выше, для того, чтобы удалить твердые частицы, уловленные на фильтре 24 твердых частиц выхлопа дизельного двигателя (DPF), осуществляется контроль регенерации фильтра 24 твердых частиц выхлопа дизельного двигателя (DPF), посредством которого твердые частицы, отложившиеся на фильтре 24 твердых частиц выхлопа дизельного двигателя (DPF), в целях очистки окисляются или сжигаются. Описание процесса контроля регенерации фильтра 24 твердых частиц выхлопа дизельного двигателя (DPF) будет приведено далее по тексту.
[0043] На фиг.2 представлена временная диаграмма, на которой показано количество отложившихся на фильтре твердых частиц относительно времени работы двигателя 10 внутреннего сгорания. Как видно на фиг.2, когда двигатель 10 внутреннего сгорания начинает работать в момент времени Т0, количество отложившихся твердых частиц, улавливаемых фильтром 24 твердых частиц выхлопа дизельного двигателя (DPF), увеличивается с увеличением истекшего времени работы двигателя. В таком случае контроль регенерации фильтра 24 твердых частиц выхлопа дизельного двигателя (DPF) осуществляется электронным управляющим устройством 40 с момента времени Т1, в который количество отложившихся твердых частиц на фильтре 24 твердых частиц выхлопа дизельного двигателя (DPF) оценивается как достигшее заранее установленного заданного количества М. Конкретно, данный контроль регенерации осуществляется, например, путем повышения температуры и давления отработавших газов приведением в действие выпускного дроссельного клапана 18 и подачи несгоревших компонентов топлива в каталитический окислительный нейтрализатор (ССО) 23 и каталитический нейтрализатор, установленный на фильтре 24 твердых частиц выхлопа дизельного двигателя (DPF), что приводит к активации нейтрализаторов и сгоранию твердых частиц вокруг нейтрализаторов из-за выделения тепла вследствие окисления несгоревших компонентов в отработавших газах или на нейтрализаторах. Следует отметить, что подача несгоревших компонентов топлива в нейтрализаторы при вышеуказанном контроле регенерации осуществляется, например, путем выполнения подвпрыска, который является операцией впрыска топлива во время хода выпуска, после впрыска топлива из клапана 16 впрыска топлива, что способствует, например, приведению в действие двигателя 10 внутреннего сгорания. Кроме того, электронное управляющее устройство 40 прекращает данный контроль регенерации фильтра 24 твердых частиц выхлопа дизельного двигателя (DPF) в момент времени Т2, когда количество отложения твердых частиц на фильтре 24 твердых частиц выхлопа дизельного двигателя (DPF) оценивается как ставшее в основном нулевым вследствие данного сгорания твердых частиц. Электронное управляющее устройство 40 адаптировано для повторения вышеуказанного контроля с целью уменьшения количества твердых частиц, выпускаемых за пределы фильтра.
[0044] Следует отметить, что в период Х с момента времени Т1 до момента времени Т2, в течение которого осуществляется контроль регенерации, выпускной дроссельный клапан 18 управляется, например, так, как описано ниже. То есть, когда автомобиль находится в состоянии разгона, электронное управляющее устройство 40 выдает управляющий сигнал «выключить» на выпускной дроссельный клапан 18, и выпускной дроссельный клапан 18 полностью открывается приводом 19. С другой стороны, когда автомобиль находится в состоянии работы с постоянной скоростью, состоянии замедления, состоянии работы на холостом ходу или подобном состоянии, отличном от состояния разгона, электронное управляющее устройство 40 выдает управляющий сигнал «включить» на выпускной дроссельный клапан 18, и выпускной дроссельный клапан 18 полностью закрывается приводом 19. То есть, когда автомобиль находится в состоянии разгона, количество воздуха, всасываемого в камеру 12 сгорания, увеличивается, поэтому ухудшение характеристики разгона автомобиля предотвращается путем открытия выпускного дроссельного клапана 18. Таким образом, в течение периода времени Х контроль регенерации фильтра 24 твердых частиц выхлопа дизельного двигателя (DPF) осуществляется путем управления выпускным дроссельным клапаном 18 так, чтобы он открывался и закрывался надлежащим образом в соответствии с рабочим состоянием автомобиля.
[0045] Далее, давление отработавших газов повышается по мере закрытия выпускного дроссельного клапана 18, и, таким образом, количество кислорода в фильтре 24 твердых частиц выхлопа дизельного двигателя (DPF) увеличивается вследствие увеличения количества воздуха. Таким образом, скорость окисления твердых частиц увеличивается. Кроме того, поскольку сопротивление выхлопа увеличивается по мере сужения отверстия выпускного дроссельного клапана 18, количество впрыскиваемого топлива увеличивается, и температура отработавших газов также повышается. В результате этого каталитический окислительный нейтрализатор (ССО) 23 и фильтр 24 твердых частиц выхлопа дизельного двигателя (DPF) становятся более активированными, что ведет к увеличению скорости окисления твердых частиц. Таким образом, окисление твердых частиц, отложившихся на фильтре 24 твердых частиц выхлопа дизельного двигателя (DPF), усиливается после закрытия выпускного дроссельного клапана 18, поэтому период времени X, в течение которого осуществляется контроль регенерации фильтра 24 твердых частиц выхлопа дизельного двигателя (DPF), сокращается, и количество несгоревших компонентов топлива, поступающих от клапана 16 впрыска топлива, уменьшается, что позволяет предотвратить ухудшение топливной экономичности.
[0046] Как указано выше, моменты начала и прекращения контроля регенерации фильтра 24 твердых частиц выхлопа дизельного двигателя (DPF) определяются путем оценки количества отложившихся твердых частиц на фильтре 24 твердых частиц выхлопа дизельного двигателя (DPF). Далее будет дано описание оценки количества отложившихся твердых частиц, осуществляемой электронным управляющим устройством 40.
[0047] Во-первых, будет дано описание того, как определяется момент начала контроля регенерации. Момент начала контроля регенерации определяется электронным управляющим устройством 40, которое вычисляет перепад давления Р между входной и выходной частями фильтра 24 твердых частиц выхлопа дизельного двигателя (DPF) и оценивает, что количество отложившихся твердых частиц на фильтре 24 твердых частиц выхлопа дизельного двигателя (DPF) является заданным количеством М при достижении вычисленным перепадом давления Р заранее установленного заданного значения. Оценка количества отложения твердых частиц, производимая для определения момента времени начала контроля регенерации, будет описана со ссылками на фиг.3-5.
[0048] На фиг.3 представлена функциональная схема, на которой показан порядок оценки количества отложившихся твердых частиц на фильтре 24 твердых частиц выхлопа дизельного двигателя (DPF), осуществляемого электронным управляющим устройством 40. Как видно на фиг.3, в начале порядка оценки количества отложившихся твердых частиц на фильтре 24 твердых частиц выхлопа дизельного двигателя (DPF), то есть на шаге S1, давление PU перед фильтром 24 твердых частиц выхлопа дизельного двигателя (DPF) определяется датчиком 33 давления, а давление PL за фильтром 24 твердых частиц выхлопа дизельного двигателя (DPF) определяется средством оценки давления электронного управляющего устройства 40.
[0049] В этом случае, как указано выше со ссылкой на фиг.1, фильтр 24 твердых частиц выхлопа дизельного двигателя (DPF) соединяется с атмосферой через выхлопной канал 34 на выходной стороне фильтра 24 твердых частиц выхлопа дизельного двигателя (DPF). Таким образом, давление PL за фильтром 24 твердых частиц выхлопа дизельного двигателя (DPF) является значением большим, чем значение атмосферного давления, на величину суммарной потери давления в выхлопном канале 34 на выходной стороне фильтра 24 твердых частиц выхлопа дизельного двигателя (DPF). Таким образом, средство оценки давления оценивает давление PL путем прибавления данной суммарной потери давления к атмосферному давлению. В этом случае, согласно особенности данного примера осуществления изобретения, первая потеря давления Р1, которая является потерей давления во втором участке 34b, и вторая потеря давления Р2, которая является потерей давления в первом участке 34а и третьем участке 34с, извлекаются отдельно с целью извлечения суммарной потери давления.
[0050] Во-первых, первая потеря давления Р1 будет рассмотрена как потеря давления во втором участке 34b. На фиг.4 представлен график, на котором показана зависимость между температурой отработавших газов, количеством всасываемого воздуха Ga и первой потерей давления Р1 в двигателе 10 внутреннего сгорания при полностью закрытом выпускном дроссельном клапане 18. Как видно из фиг.4, если количество всасываемого воздуха Ga постоянно, первая потеря давления Р1 при полностью закрытом выпускном дроссельном клапане 18 увеличивается по мере повышения температуры отработавших газов, так как удельный объем отработавших газов увеличивается, и, если температура отработавших газов постоянна, первая потеря давления Р1 увеличивается по мере увеличения количества всасываемого воздуха Ga. Далее, поскольку перепад давления между входной и выходной частями выпускного дроссельного клапана 18 только увеличивается до вышеуказанного заданного значения давления вследствие саморегулирования давления перепускным клапаном 21, как описано выше, несмотря на то, что первая потеря давления Р1 увеличивается с увеличением количества всасываемого воздуха Ga или повышением температуры отработавших газов, верхнее предельное значение Рmax, которого может достигнуть первая потеря давления Р1, становится вышеуказанным заданным значением давления.
[0051] Таким же образом, хотя это не показано, если количество всасываемого воздуха Ga постоянно, первая потеря давления Р1 при полностью открытом выпускном дроссельном клапане 18 увеличивается по мере повышения температуры отработавших газов и, если температура отработавших газов постоянна, эта потеря давления увеличивается с увеличением количества всасываемого воздуха Ga. Однако первая потеря давления Р1 при полностью открытом выпускном дроссельном клапане 18 является пренебрежимо малой величиной, которая может считаться практически равной 0 кПа.
[0052] Далее будет рассмотрена со ссылкой на фиг.5 вторая потеря давления Р2 как потеря давления в первом участке 34а и третьем участке 34с. На фиг.5 представлен график, на котором показана зависимость между температурой отработавших газов, количеством всасываемого воздуха Ga и второй потерей давления Р2 в двигателе 10 внутреннего сгорания. Как видно из фиг.5, если количество всасываемого воздуха Ga постоянно, вторая потеря давления Р2 увеличивается по мере повышения температуры отработавших газов, так как увеличивается удельный объем отработавших газов, и, если температура отработавших газов постоянна, вторая потеря давления Р2 увеличивается по мере увеличения количества всасываемого воздуха Ga. Следует отметить, что, хотя конкретное верхнее предельное значение второй потери давления Р2 не установлено, вторая потеря давления Р2 обычно может увеличиваться только до значения (например, 60 кПа), которое меньше вышеуказанного заданного значения давления;
[0053] Следует отметить, что, когда выпускной дроссельный клапан 18 переходит из полностью открытого состояния в полностью закрытое состояние, протекание отработавших газов в третий участок 34с временно становится затруднительным. Однако, обычно перепад давления между входной и выходной частями выпускного дроссельного клапана 18 вскоре достигает вышеуказанного заданного значения давления, и перепускной клапан 21 срабатывает, заставляя отработавшие газы протекать к третьему участку 34 с через перепускной канал 20. Поэтому можно сказать, что практически не остается таких ситуаций, в которых отработавшие газы не протекают к третьему участку 34с, и, следовательно, зависимость между температурой отработавших газов, количеством всасываемого воздуха Ga и второй потерей давления Р2 является такой, как показано на фиг.5, независимо от состояния активации выпускного дроссельного клапана 18.
[0054] Поскольку температура отработавших газов и количество всасываемого воздуха Ga определяются соответственно датчиком 32 температуры и измерителем 31 количества воздуха, первая потеря давления Р1 и вторая потеря давления Р2 могут быть извлечены путем нанесения значений определения данных датчиков соответственно на графики фиг.4 и фиг.5. Например, когда определенной температурой отработавших газов является температура Ts [°C] и определенное количество всасываемого воздуха Ga равно 50 г/ч, первая потеря давления Р1 извлекается практически равной 0 кПа при полностью открытом выпускном дроссельном клапане 18. Когда выпускной дроссельный клапан 18 полностью закрыт, первая потеря давления Р1 извлекается как значение потери Pmax [кПа] на основании фиг.4, а вторая потеря давления Р2 извлекается как значение потери Ps [кПа] на основании фиг.5, Следовательно, суммарная потеря давления в выхлопном канале 34 на выходной стороне фильтра 24 твердых частиц выхлопа дизельного двигателя (DPF) становится значением потери Ps [кПа], когда выпускной дроссельный клапан 18 полностью открыт, и становится значением потери (Pmax+Ps), когда выпускной дроссельный клапан 18 полностью закрыт.
[0055] Следует отметить, что в данном примере осуществления изобретения, несмотря на то, что выпускной дроссельный клапан 18 переходит с перерывами в полностью закрытое состояние во время контроля регенерации фильтра 24 твердых частиц выхлопа дизельного двигателя (DPF), в момент времени определения момента времени начала контроля регенерации, то есть когда контроль регенерации не осуществляется, выпускной дроссельный клапан 18 находится в полностью открытом состоянии, поэтому суммарная потеря давления извлекается путем использования только второй потери давления Р2, которая показана на фиг.5. Однако, для транспортного средства, использующего двигатель 10 внутреннего сгорания, как указано выше, в зависимости от обстоятельств, может быть принята конфигурация, в которой выпускной дроссельный клапан 18 полностью закрыт, даже когда контроль регенерации не осуществляется для таких целей, как, например, прогрев двигателя внутреннего сгорания в районах с холодным климатом. В таких случаях при определении момента времени начала контроля регенерации суммарная потеря давления может быть извлечена путем сложения первой потери давления Р1, которая показана на фиг.4, и второй потери давления Р2, которая показана на фиг.5, когда выпускной дроссельный клапан 18 полностью закрыт, а суммарная потеря давления может быть извлечена только из второй потери давления Р2, когда выпускной дроссельный клапан 18 полностью открыт.
[0056] Как описано выше, средство оценки давления извлекает суммарную потерю давления в выхлопном канале 34 с учетом количества всасываемого воздуха Ga и температуры отработавших газов, которые служат индикаторами рабочего состояния двигателя 10 внутреннего сгорания, и конфигурации выхлопного канала 34 на выходной стороне фильтра 24 твердых частиц выхлопа дизельного двигателя (DPF). Далее, средство оценки давления прибавляет суммарную потерю давления, извлеченную таким образом, к атмосферному давлению, тем самым оценивая давление PL за фильтром 24 твердых частиц выхлопа дизельного двигателя (DPF). В этом случае, когда на давление PL за фильтром 24 твердых частиц выхлопа дизельного двигателя (DPF) оказывают особое влияние состояния активации выпускного дроссельного клапана 18 и перепускного клапана 21, при извлечении суммарной потери давления потеря давления во втором участке 34b, в котором установлены данные клапаны, извлекается отдельно от потери давления в других участках 34а и 34с с учетом состояний активации данных клапанов и тому подобного. Поскольку суммарная потеря давления в выхлопном канале 34 может быть извлечена таким образом более точно, давление PL за фильтром 24 твердых частиц выхлопа дизельного двигателя (DPF), которое определено путем прибавления суммарной потери давления, извлеченной таким образом, к атмосферному давлению, является высокодостоверной величиной, соответствующей текущему состоянию. Далее, как описано выше, первая потеря давления Р1 и вторая потеря давления Р2 в основном увеличиваются с увеличением количества всасываемого воздуха Ga и повышением температуры отработавших газов. В результате этого давление PL за фильтром 24 твердых частиц выхлопа дизельного двигателя (DPF) также оценивается как увеличивающееся с увеличением количества всасываемого воздуха Ga и повышением температуры отработавших газов.
[0057] Следует отметить, что поскольку давление перед фильтром 24 твердых частиц выхлопа дизельного двигателя (DPF), определяемое датчиком 33 давления, определяется как манометрическое давление, которое определяется относительно атмосферного давления, давление PL на выходной стороне фильтра также оценивается как манометрическое давление. То есть, средство оценки давления может непосредственно использовать значение суммарной потери давления, извлеченной таким образом, как давление PL за фильтром 24 твердых частиц выхлопа дизельного двигателя (DPF).
[0058] Далее, на шаге S2 средство вычисления вычисляет перепад давления Р между входной и выходной частями фильтра 24 твердых частиц выхлопа дизельного двигателя (DPF) путем вычитания давления PL за фильтром 24 твердых частиц выхлопа дизельного двигателя (DPF), оцененного средством оценки давления, из давления PU перед фильтром 24 твердых частиц выхлопа дизельного двигателя (DPF), определенного датчиком 33 давления. Далее, поскольку достигнуто повышение достоверности значения давления PL за фильтром 24 твердых частиц выхлопа дизельного двигателя (DPF), оцененного средством оценки давления как описано выше, достигнуто также и повышение достоверности значения перепада давления Р между входной и выходной частями фильтра 24 твердых частиц выхлопа дизельного двигателя (DPF), вычисленного с использованием оцененного значения давления.
[0059] Затем на шаге S3 средство оценки электронного управляющего устройства 40 оценивает количество отложения твердых частиц по перепаду давления Р, вычисленному на шаге S2. В частности, количество отложившихся твердых частиц оценивается как ставшее заранее установленным заданным количеством М, когда перепад давления Р принимает заданное значение. Таким образом, начинается контроль регенерации фильтра 24 твердых частиц выхлопа дизельного двигателя (DPF).
[0060] Момент времени прекращения контроля регенерации фильтра 24 твердых частиц выхлопа дизельного двигателя (DPF) определяется следующим образом. То есть, суммарный объем обработки твердых частиц вычисляется по скорости окисления (сгорания) твердых частиц и времени регенерации фильтра 24 твердых частиц выхлопа дизельного двигателя (DPF), а количество отложившихся твердых частиц оценивается как практически равное нулю, когда количество отложения твердых частиц М в начале контроля регенерации и данный суммарный объем обработки твердых частиц становятся практически равными.
[0061] Следует отметить, что момент времени прекращения контроля регенерации также может быть определен путем вычисления перепада давления Р электронным управляющим устройством 40 и оценки количества отложившихся твердых частиц на фильтре 24 твердых частиц выхлопа дизельного двигателя (DPF) по перепаду давления Р. То есть, электронное управляющее устройство 40 может оценить, что количество отложившихся твердых частиц на фильтре 24 твердых частиц выхлопа дизельного двигателя (DPF) становится нулевым, когда вычисленный перепад давления Р принимает заданное или меньшее значение, в результате чего контроль регенерации прекращается. Далее, поскольку открытие и закрытие выпускного дроссельного клапана 18 повторяются во время контроля регенераций фильтра 24 твердых частиц выхлопа дизельного двигателя (DPF), как описано выше, когда выпускной дроссельный клапан 18 полностью открыт, суммарная потеря давления извлекается путем использования только второй потери давления Р2, которая показана на фиг.5, и, когда выпускной дроссельный клапан 18 полностью закрыт, суммарная потеря давления извлекается путем использования значения, полученного путем сложения потери давления Р1, которая показана на фиг.4, и потери давления Р2, которая показана на фиг.5. Следует отметить, что вычисление перепада давления Р и оценка количества отложившихся твердых частиц на фильтре 24 твердых частиц выхлопа дизельного двигателя (DPF) могут производиться только во время полностью открытого состояния выпускного дроссельного клапана 18 или полностью закрытого состояния выпускного дроссельного клапана 18.
[0062] Устройство для вычисления перепада давления, предназначенное для вычисления перепада давления между входной и выходной частями фильтра, и устройство для оценки количества отложения, предназначенное для оценки количества отложившихся твердых частиц на фильтре, обеспечивают, согласно вышеуказанному примеру осуществления изобретения, следующие эффекты.
[0063] (1) Устройство для вычисления перепада давления, соответствующее данному примеру осуществления изобретения, адаптировано для вычисления перепада давления Р между входной и выходной частями фильтра 24 твердых частиц выхлопа дизельного двигателя (DPF) по давлению PU перед фильтром 24 твердых частиц выхлопа дизельного двигателя (DPF), определенному датчиком 33 давления, и давлению PL за фильтром 24 твердых частиц выхлопа дизельного двигателя (DPF), по оцененному средством оценки давления путем извлечения суммарной потери давления в выхлопном канале 34 на выходной стороне фильтра 24 твердых частиц выхлопа дизельного двигателя (DPF). В частности, поскольку в данном примере осуществления изобретения выпускной дроссельный клапан 18 установлен в выхлопном канале 34 на выходной стороне фильтра 24 твердых частиц выхлопа дизельного двигателя (DPF) 24, данная суммарная потеря давления извлекается путем отдельного извлечения первой потери давления Р1, представляющей потерю давления во втором участке 34b, в котором установлен выпускной дроссельный клапан 18, и второй потери давления Р2, представляющей потерю давления в участках 34а и 34с. Поскольку суммарная потеря давления может быть таким образом точно извлечена в соответствии с характеристиками и состоянием активации выпускного дроссельного клапана 18, значение давления за фильтром 24 твердых частиц выхлопа дизельного двигателя (DPF), определенное путем прибавления данной суммарной потери давления к атмосферному давлению, более соответствует действительности. То есть, поскольку достигается повышение достоверности значения давления PL за фильтром, оцененного средством оценки давления, достигается также и повышение достоверности значения перепада давления Р между входной и выходной частями фильтра, вычисленного по оцененному значению давления.
[0064] (2) Система очистки отработавших газов, соответствующая данному примеру осуществления изобретения, включает перепускной канал 20, который обходит выпускной дроссельный клапан 18, и перепускной клапан 21, который устанавливается в перепускном канале 20 и регулирует перепад давления между входной и выходной частями выпускного дроссельного клапана 18 до заданной величины давления. Средство оценки давления устройства для вычисления перепада давления устанавливает заданное значение давления как верхнее предельное значение первой потери давления Р1. Поскольку первая потеря давления Р1 может быть извлечена таким образом с учетом регулирования давления перепускным клапаном 21, давление PL за фильтром 24 твердых частиц выхлопа дизельного двигателя (DPF) может быть оценено более точно, что позволяет более точно вычислить перепад давления Р между входной и выходной частями фильтра 24 твердых частиц выхлопа дизельного двигателя (DPF).
[0065] (3) В устройстве для вычисления перепада давления, соответствующем данному примеру осуществления изобретения, средство оценки давления оценивает давление за фильтром 24 твердых частиц выхлопа дизельного двигателя (DPF) как увеличивающееся по мере увеличения количества всасываемого воздуха Ga, который всасывается в двигатель 10 внутреннего сгорания, и оценивает давление за фильтром 24 твердых частиц выхлопа дизельного двигателя (DPF) как увеличивающееся по мере повышения температуры отработавших газов двигателя 10 внутреннего сгорания. То есть, при оценке давления PL за фильтром учитывается влияние рабочего состояния двигателя 10 внутреннего сгорания на давление PL за фильтром. Вследствие этого достигается повышение достоверности значения давления PL и также достигается повышение достоверности значения перепада давления Р, вычисленного по данному оцененному значению давления.
[0066] (4) В устройстве для вычисления перепада давления, соответствующем данному примеру осуществления изобретения, датчик 33 давления адаптирован для определения давления перед фильтром 24 твердых частиц выхлопа дизельного двигателя (DPF) как манометрического давления. Таким образом, значение суммарной потери давления можно использовать непосредственно как давление за фильтром 24 твердых частиц выхлопа дизельного двигателя (DPF) при вычислении перепада давления Р средством вычисления. То есть, при вычислении перепада давления Р нет необходимости определять атмосферное давление как абсолютное давление при определении вакуума как нулевого, и операцию прибавления суммарной потери давления к атмосферному давлению можно исключить относительно давления PL за фильтром 24 твердых частиц выхлопа дизельного, двигателя (DPF), достигая тем самым упрощения операции оценки.
[0067] (5) Устройство для оценки количества отложившихся твердых частиц, соответствующее данному примеру осуществления изобретения, включает устройство для вычисления перепада давления, которое описано выше, и оценивает количество отложившихся твердых частиц по перепаду давления Р, вычисленному устройством для вычисления перепада давления. Поскольку количество отложившихся твердых частиц может быть таким образом оценено по высокодостоверному значению перепада давления, вычисленному устройством для вычисления перепада давления, достигается также и повышение достоверности значения количества отложения твердых частиц, оцененного средством оценки.
[0068] В системе очистки отработавших газов, соответствующей данному примеру осуществления изобретения, момент времени начала контроля регенерации фильтра 24 твердых частиц выхлопа дизельного двигателя (DPF) определяется по количеству отложившихся твердых частиц, оцененному таким образом. Это позволяет предотвратить ситуацию, в которой контроль регенерации фильтра начинается без необходимости даже тогда, когда количество отложившихся твердых частиц на фильтре 24 твердых частиц выхлопа дизельного двигателя (DPF) относительно невелико, или ситуацию, в которой контроль регенерации фильтра не начинается даже тогда, когда количество отложившихся твердых частиц на фильтре 24 твердых частиц выхлопа дизельного двигателя (DPF) стало чрезмерным. В случае применения конфигурации, в которой момент времени прекращения контроля регенерации фильтра 24 твердых частиц выхлопа дизельного двигателя (DPF) определяется по количеству отложившихся твердых частиц, оцененному вышеописанным образом, возможно предотвратить возникновение ситуации, в которой данный контроль регенерации прекращается, даже если фильтр 24 твердых частиц выхлопа дизельного двигателя (DPF) регенерирован неполностью, или ситуации, в которой данный контроль регенерации продолжается, даже если фильтр 24 твердых частиц выхлопа дизельного двигателя (DPF) регенерирован полностью. То есть, поскольку контроль регенерации фильтра 24 твердых частиц выхлопа дизельного двигателя (DPF) может быть начат или прекращен в соответствующие моменты времени, регенерация фильтра 24 твердых частиц выхлопа дизельного двигателя (DPF) может быть осуществлена с высокой надежностью.
[0069] Следует отметить, что вышеуказанный пример осуществления изобретения может быть модифицирован следующим образом.
[0070] В вышеуказанном примере осуществления изобретения площадь поперечного сечения выхлопного канала 14 изменяется путем переключения выпускного дроссельного клапана 18 с полностью открытого состояния на полностью закрытое состояние и наоборот. Однако, выпускной дроссельный клапан 18 может быть конфигурирован как клапан, отверстие которого может быть свободно установлено произвольным образом. Кроме того, в этом случае перепад давления Р может быть вычислен, например, путем построения такого соответствующего графика, как тот, который показан на фиг.4, для извлечения первой потери давления Р1 в соответствии с отверстием выпускного дроссельного клапана 18.
[0071] В вышеуказанном примере осуществления изобретения подача несгоревших компонентов осуществляется путем последующего впрыска топлива от клапана 16 впрыска топлива или подобного устройства. Однако можно также установить дополнительный клапан перед фильтром 24 твердых частиц выхлопа дизельного двигателя (DPF) в выхлопном канале 14 и подавать несгоревшие компоненты от данного дополнительного клапана.
[0072] В вышеуказанном примере осуществления изобретения используется клапан 21 перепускной заслонки, осуществляющий саморегулирование давления, который автоматически открывается для регулирования давления, когда перепад давления между входной и выходной частями выпускного дроссельного клапана 18 превышает заданное значение давления. Однако можно также использовать электромагнитный клапан перепускной заслонки, который открывается и закрывается по приводному управляющему сигналу электронного управляющего устройства 40.
[0073] В вышеуказанном примере осуществления изобретения в средстве определения давления применяется датчик 33 давления, который определяет манометрическое давление, являющееся давлением относительно атмосферного давления, определяемого как нулевое.
[0074] В вышеуказанном примере осуществления изобретения датчик 32 температуры, предназначенный для определения температуры отработавших газов, установлен между каталитическим окислительным нейтрализатором (ССО) 23 и фильтром 24 твердых частиц выхлопа дизельного двигателя (DPF). Однако датчик 32 температуры может быть установлен, например, на входной стороне каталитического окислительного нейтрализатора (ССО) 23 или выходной стороне фильтра 24 твердых частиц выхлопа дизельного двигателя (DPF). Подобно этому, датчик 33 давления, предназначенный для определения давления перед фильтром 24 твердых частиц выхлопа дизельного двигателя (DPF), может быть предусмотрен, например, перед каталитическим окислительным нейтрализатором (ССО) 23.
[004875] В вышеуказанном примере осуществления изобретения каталитический нейтрализатор располагается на фильтре 24 твердых частиц выхлопа дизельного двигателя (DPF). Однако, каталитический нейтрализатор может не располагаться на фильтре 24 твердых частиц выхлопа дизельного двигателя (DPF), или в том случае, если каталитический нейтрализатор располагается на фильтре 24 твердых частиц выхлопа дизельного двигателя (DPF), как в вышеуказанном примере осуществления изобретения, каталитический окислительный нейтрализатор (ССО) 23 может не применяться. Далее, каталитический нейтрализатор отработавших газов (не показан), устанавливаемый дальше перед каталитическим окислительным нейтрализатором (ССО) 23, может также не применяться.
[004976] В вышеуказанном примере осуществления изобретения, как показано на вышеописанных фиг.4 и фиг.5, зависимость между двумя показателями рабочего состояния двигателя внутреннего сгорания, то есть количеством всасывемого воздуха Ga и температурой отработавших газов и певой и второй потерями давления P1, P2, устанавливается заранее. Однако, зависимость между одним из двух показателей и каждой из потерь давления Р1, Р2 может быть установлена заранее. Даже тогда, когда давление за фильтром 24 твердых частиц выхлопа дизельного двигателя (DPF) оценивается таким образом по зависимости между одним из двух показателей и каждой из потерь давления P1, P2, достоверность оцененного таким образом значения по меньшей мере выше достоверности значения давления за фильтром 24 твердых частиц выхлопа дизельного двигателя (DPF), которое оценивается совершенно без учета рабочего состояния двигателя 10 внутреннего сгорания как в аналоге. Следует отметить, что, поскольку фиг.4 и фиг.5 предназначены для концептуального иллюстирования данных зависимостей, фактически нет необходимости строить данные графики, и каждая из потерь давления Р1, P2 может быть извлечена по расчетной формуле или подобному средству, основанному на данной концепции.
[005077] В вышеуказанном примере осуществления изобретения средство оценки давления извлекает суммарную потерю давления после извлечения первой потери давления Р1 и второй потери давления P2. Однако, суммарная потеря давления может быть извлечена непосредственно путем исключения операции извлечения потерь давления Р1, P2 относительно отдельных участков. В частности, хотя в вышеуказанном примере осуществления изобретения система очистки отработавших газов включает выпускной дроссельный клапан 18, суммарная потеря давления может быть извлечена непосредственно таким образом независимо от наличия или отсутствия выпускного дроссельного клапана 18.
[005178] В вышеуказанном примере осуществления изобретения когда выпускной дроссельный клапан 18 полностью открыт, средство оценки давления принимает первую потерю давления Р1 практически равной нулю и извлекает суммарную потерю давления только по второй потере давления P2. Однако, даже в случае, когда выпускной дроссельный клапан 18 полностью открыт, значение первой потери давления Р1 может быть точно извлечено и сложено со второй потерей давления P2 для извлечения суммарной потери давления. В том случае, если в выхлопном канале 34 на выходной стороне фильтра 24 твердых частиц выхлопа дизельного двигателя (DPF) предусмотрен элемент, который вызывает изменение потери давления в зависимости от состояния активации, потеря давления в заданном участке от входной до выходной части данного элемента и потеря давления в участках, отличных от заданного участка, могут быть извлечены отдельно для извлечения суммарной потери давления.
[005279] В вышеуказанном примере осуществления изобретения средство оценки давления извлекает первую потерю давления Р1 при использовании второго участка 34b, принятого за заданный участок. Однако, средство оценки давления может извлечь первую потерю давления Р1 при использовании участка от выходного конца фильтра 24 твердых частиц выхлопа дизельного двигателя (DPF) до выходной стороны выпускного дроссельного клапана 18 (то есть первого и второго участков 34а, 34b), принятого за заданный участок.
Формула изобретения
1. Устройство для вычисления перепада давления, предназначенное для вычисления перепада давления между входной и выходной частями фильтра в системе очистки отработавших газов, указанная система очистки отработавших газов включает фильтр (24), который расположен в выхлопном канале двигателя внутреннего сгорания и улавливает твердые частицы, выпускаемые из двигателя внутреннего сгорания, и выпускной дроссельный клапан (18), который расположен в выхлопном канале на выходной стороне фильтра и регулирует площадь поперечного сечения выхлопного канала, характеризующееся тем, что оно содержит средство (33) определения давления, предназначенное для определения давления перед фильтром (24); средство оценки давления, предназначенное для оценки давления за фильтром по суммарной потере давления в выхлопном канале (34) на выходной стороне фильтра посредством извлечения по отдельности первой потери давления и второй потери давления, при этом первая потеря давления является потерей давления в заданной части (34b) от входной части до выходной части выпускного дроссельного клапана (18) в выхлопном канале на выходной стороне фильтра (24), а вторая потеря давления является потерей давления в части, отличной от заданной части в выхлопном канале на выходной стороне фильтра; и средство вычисления, предназначенное для вычисления перепада давления между входной частью и выходной частью фильтра по определенному давлению перед фильтром и оцененному давлению за фильтром.
2. Устройство для вычисления перепада давления по п.1, в котором средство оценки давления оценивает давление за фильтром путем прибавления суммарной потери давления к атмосферному давлению.
3. Устройство для вычисления перепада давления по п.1 или 2, в котором система очистки отработавших газов включает перепускной канал (20), который подсоединен между входной частью и выходной частью выпускного дроссельного клапана (18) в заданной части (34b) и обходит выпускной дроссельный клапан (18), и перепускной клапан (21), который установлен в перепускном канале и регулирует перепад давления между входной частью и выходной частью выпускного дроссельного клапана так, чтобы он имел заданное или меньшее значение давления; при этом средство оценки давления оценивает давление за фильтром при заданном значении давления, установленном как верхнее предельное значение первой потери давления.
4. Устройство для вычисления перепада давления по п.1, в котором средство оценки давления оценивает давление за фильтром (24), как повышенное при увеличении количества всасываемого воздуха двигателя внутреннего сгорания.
5. Устройство для вычисления перепада давления по п.1, в котором средство оценки давления оценивает давление за фильтром (24), как повышенное при повышении температуры отработавших газов двигателя внутреннего сгорания.
6. Устройство для вычисления перепада давления по п.1, в котором перепад давления получен с использованием зависимости между двумя показателями рабочего состояния двигателя внутреннего сгорания.
7. Устройство для оценки количества отложившихся твердых частиц, предназначенное для оценки количества отложившихся на фильтре твердых частиц, характеризующееся тем, что оно содержит устройство для вычисления перепада давления по п.1; и средство оценки, предназначенное для оценки количества отложившихся твердых частиц на основании перепада давления на фильтре (24), вычисленного устройством для вычисления перепада давления.
8. Способ вычисления перепада давления между входной и выходной частью фильтра (24), который расположен в выхлопном канале двигателя внутреннего сгорания и улавливает твердые частицы, выпускаемые из двигателя внутреннего сгорания, характеризующийся тем, что он содержит следующие шаги: определение давления перед фильтром (24); оценка давления за фильтром (24) по суммарной потере давления в выхлопном канале (34) на выходной стороне фильтра (24) посредством извлечения по отдельности первой потери давления и второй потери давления, при этом первая потеря давления является потерей давления в заданной части (34b) от входной части до выходной части выпускного дроссельного клапана (18) в выхлопном канале на выходной стороне фильтра (24), а вторая потеря давления является потерей давления в части, отличной от заданной части в выхлопном канале на выходной стороне фильтра; и вычисление перепада давления между входной и выходной частями фильтра по определенному давлению перед фильтром и оцененному давлению за фильтром.
9. Способ оценки количества отложившихся твердых частиц, предназначенный для оценки количества отложившихся на фильтре твердых частиц, заключающийся в том, что оценку количества отложившихся твердых частиц производят с помощью способа по п.8.
РИСУНКИ
|
|