|
|
(21), (22) Заявка: 2008146568/06, 25.11.2008
(24) Дата начала отсчета срока действия патента:
25.11.2008
(46) Опубликовано: 27.05.2010
(56) Список документов, цитированных в отчете о поиске:
RU 2316655 C1, 10.02.2008. RU 2302537 C2, 10.05.2005. FR 2588041 A1, 03.04.1987. US 6679219 B1, 20.01.2004. US 5020486 A, 04.06.1991.
Адрес для переписки:
399770, Липецкая обл., г. Елец, ул. Коммунаров, 28, Елецкий государственный университет им. И.А. Бунина
|
(72) Автор(ы):
Сливинский Евгений Васильевич (RU), Савин Леонид Алексеевич (RU), Пивоваров Олег Андреевич (RU)
(73) Патентообладатель(и):
Государственное образовательное учреждение высшего профессионального образования “Елецкий государственный университет им. И.А. Бунина” (RU)
|
(54) ГАЗОРАСПРЕДЕЛИТЕЛЬНЫЙ МЕХАНИЗМ
(57) Реферат:
Предлагаемое изобретение относится к области двигателей внутреннего сгорания и может быть использовано в конструкциях двухтактных и четырехтактных дизелей. Газораспределительный механизм преимущественно двухтактного дизеля содержит клапаны и рычаги приводного механизма. Клапан состоит из головок (1) и стержней (2). Каждый клапан состоит, по крайней мере, из двух частей. Части симметричны и подвижны относительно друг друга. Стержни (3) частей клапанов снабжены продольными канавками (5). Канавки (5) выполнены полукруглого сечения. Канавки (5) сопрягаются с поперечно размещенными каналами (6). Рычаги (12) приводных механизмов в зоне их контакта с частями стержней (3) выполнены трехступенчатыми (14). Одна из ступеней образует поступательную кинематическую пару с лыской (16). Лыска (16) изготовлена на одной из круговых образующих части стержня (3). Технический результат заключается в увеличении проходного сечения, лучшей продувки цилиндра от отработанных газов и улучшении теплового режима клапана. 2 ил.
Предлагаемое изобретение относится к области двигателей внутреннего сгорания и может быть использовано в конструкциях двухтактных и четырехтактных дизелей.
Известен газораспределительный механизм четырехтактного дизеля М750, используемого в конструкциях маневровых тепловозов (см. книгу Глаголев Н.М. и др. Тепловозные двигатели и газовые турбины. Государственное транспортное железнодорожное издательство. М.: 1957, стр.187-188, рис.128). У такого дизеля в головке цилиндров расположено по два выхлопных и два впускных клапана на каждый цилиндр. Клапаны садятся на запрессованные в головку стальные седла. Седла представляют собой цилиндрические втулки и в рабочей зоне, где они контактируют с головкой клапана, имеют наклонную поверхность такую же, какую и головка клапана. Клапаны расположены на пути движения газов и понятно, что оказывают им известное сопротивление. В тоже время клапаны, а следовательно, и их седла работают в очень тяжелых температурных условиях в области порядка 300-800°С и вопросы повышения их надежности и на сегодняшний день являют весьма актуальными.
Известен также газораспределительный механизм двухтактного дизеля 14Д40, используемого на тепловозах М62 (см. книгу Тепловоз М 62. М.: Транспорт, 1977 г., стр.31 рис.9). Такой газораспределительный механизм состоит из четырех выхлопных клапанов на каждый цилиндр и также расположен в головках цилиндров, снабженных седлами. В целом конструкция такого механизма аналогична вышеописанному и поэтому недостатки их подобны.
Поэтому целью предлагаемого изобретения является повышение эффективности технико-экономических показателей газораспределительных механизмов двухтактных и четырехтактных дизелей.
Поставленная цель достигается тем, что каждый из клапанов состоит, по крайней мере, из двух симметрично и подвижно расположенных относительно друг друга частей, и их стержни снабжены продольными полукруглого сечения канавками, сопрягаемыми с поперечно размещенными каналами, причем рычаги приводных механизмов в зоне контакта их с частями стержней выполнены трехступенчатыми и одни из таких ступеней образуют поступательную кинематическую пару с лысками, изготовленными на одних из круговых образующих упомянутых частей стержней.
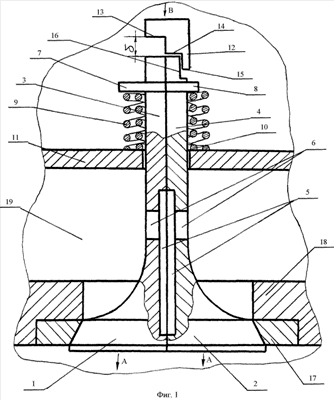
На чертежах фиг.1 показан общий вид с разрезами одного из клапанов газораспределительного механизма в момент режима сжатия двигателя внутреннего сгорания, а на фиг.2 – положение части клапана в начальный момент режима выхлопа.
Газораспределительный механизм состоит из головок 1 и 2 клапана, жестко закрепленных на соответствующих стержнях 3 и 4. Внутренние поверхности стержней 3 и 4 снабжены продольными канавками полукруглого сечения 5 и поперечными каналами 6. Стержни 3 и 4 соответственно имеют бурты 7 и 8 и подпружинены пружинами сжатия 9 и 10 относительно крышки 11. В верхней части стержней расположен рычаг 12 механизма управления ими, который снабжен ступенями 13, 14 и 15, причем последняя ступень контактирует с лыской 16, выполненной на стержне 4. Головки 1 и 2 клапана расположены в седле 17, запрессованном в корпусе дизеля 18. Пространство, образованное крышкой 11 и корпусом дизеля 18, является выхлопным коллектором 19.
Работает газораспределительный механизм следующим образом. При режиме, например, «рабочий ход», когда поршень двигателя (на чертежах он не показан, но работа дизеля 14Д40 подробно описана в книге, представленной в прототипе) совершает поступательное движение по стрелке А (см. фиг.1), его газораспределительный механизм находится в таком положении, как это показано на фиг.1, и газы не могут проникать в выхлопной коллектор 19, так как головки 1 и 2 клапана с помощью пружин сжатия 9 и 10 плотно прижаты к седлу 17. Пройдя нижнюю мертвую точку поршень начинает поступательное движение противоположно стрелкам А и тогда за счет известного механизма управления (этот механизм и его работа описаны в книге, представленной в прототипе) рычагом 12, последний получает движение по стрелке В, нажимая одновременно на торцевую часть стержня 4 клапана и он, сжимая пружину сжатия 10 своим буртом 8, также перемещается в направлении указанной стрелки В, занимая в итоге положение, показанное на фиг.2. При этом газы, находящиеся в цилиндре (цилиндр на чертежах также не показан), проходят по стрелкам С через канавки полукруглого сечения 5 стержней 3 и 4, и поперечные каналы 6, попадая в выхлопной коллектор 19 дизеля. В дальнейшем выбрав зазор « » (см. фиг.1) рычаг 12 своей ступенью 13 входит в контакт со стержнем 3 клапана и он также получает перемещение в направлении стрелки В, сжимая буртом 7 пружину сжатия 9, и тем самым отводя головку 2 клапана от его седла 17 в этом же направлении и образуя в итоге зазор между ними. Следовательно, проходное сечение клапана увеличивается, и отработанные газы будут вытиснятся в выхлопной коллектор 19. Анализируя работу предложенного устройства видно, что за счет наличия канавок полукруглого сечения 5 и поперечных каналов 6 сопротивление потоку отработанных газов снизится и одновременно снизится температурная напряженность головок 1 и 2 и стержней 3 и 4 клапана. После окончания режима выхлопа поршень дизеля вновь начнет движение в направлении стрелок А и под действием ранее сжатых пружин сжатия 9 и 10 клапан и его составные элементы займут положение, показанное на фиг.1. Далее описанные процессы могут повторятся неоднократно.
Технико-экономическое преимущество предложенного технического решения в сравнении с известными конструкциями очевидно, так как оно за счет увеличения проходного сечения, расположенного между головками клапана, его стержней и седла происходит лучшая продувка цилиндра от отработанных газов, улучшается тепловой режим, а следовательно, и возрастает термический КПД дизеля.
Формула изобретения
Газораспределительный механизм, преимущественно двухтактного дизеля, содержащий клапаны с приводящим их в действие рычагами приводного механизма, и состоящие из головок со стержнями подпружиненных относительно корпусной части двигателя, отличающийся тем, что каждый из клапанов состоит, по крайней мере, из двух симметрично и подвижно расположенных относительно друг друга частей, и их стержни снабжены продольными полукруглого сечения канавками, сопрягаемыми с поперечно размещенными каналами, причем рычаги приводных механизмов в зоне контакта их с частями стержней выполнены трехступенчатыми, и одни из таких ступеней образуют поступательную кинематическую пару с лысками, изготовленными на одних из круговых образующих упомянутых частей стержней.
РИСУНКИ
|
|