|
(21), (22) Заявка: 2008125133/06, 20.06.2008
(24) Дата начала отсчета срока действия патента:
20.06.2008
(30) Конвенционный приоритет:
30.07.2007 JP 2007-197946
(43) Дата публикации заявки: 27.12.2009
(46) Опубликовано: 27.05.2010
(56) Список документов, цитированных в отчете о поиске:
JP 3498784 B2, 07.09.1999. JP 3094762 B2, 18.07.1995. JP 3834921 B2, 20.10.1998. US 5857437 A, 12.01.1999. SU 1686194 A1, 23.10.1991.
Адрес для переписки:
129090, Москва, ул. Б.Спасская, 25, стр.3, ООО “Юридическая фирма Городисский и Партнеры”, пат.пов. С.А.Дорофееву, рег. 146
|
(72) Автор(ы):
МУРАТА Синити (JP)
(73) Патентообладатель(и):
МИЦУБИСИ ДЗИДОСЯ КОГИО КАБУСИКИ КАЙСЯ (JP)
|
(54) ДВИГАТЕЛЬ С МЕХАНИЗМОМ СИНХРОНИЗАЦИИ РЕГУЛИРУЕМЫХ КЛАПАНОВ
(57) Реферат:
Двигатель с механизмом синхронизации регулируемых клапанов содержит механизм изменения периода времени открытия впускного клапана, включенный в состав механизма синхронизации регулируемых клапанов, изменяющий период времени открытия впускного клапана; контроллер периода времени открытия впускного клапана, управляющий механизмом изменения периодов времени открытия впускного клапана согласно режиму работы двигателя; механизм изменения периода времени открытия впускного клапана, устанавливающий период времени открытия впускного клапана на первый период времени впуска, когда двигатель работает при большой нагрузке и больших оборотах; механизм изменения периода времени открытия впускного клапана, также устанавливающий период времени открытия впускного клапана на второй период времени впуска, в котором завершение периода времени открытия впускного клапана замедленно по сравнению с завершением периода времени открытия впускного клапана в первом периоде времени, когда двигатель работает при малой нагрузке и на малых оборотах. Такое выполнение позволяет повысить топливную экономичность и мощность двигателя. 9 з.п. ф-лы, 10 ил.
Настоящее изобретение относится к двигателю с механизмом синхронизации регулируемых клапанов, в основном применяемому в автомобилях.
Традиционно известен поршневой двигатель (здесь и далее именуемый просто «двигатель»), который устанавливается на автомобилях и который оснащен механизмом для изменения динамических характеристик (характеристики подъема клапана) впускного клапана и выхлопного клапана, таких как: синхронизация открытия/закрытия, период времени открытия и величины подъема.
Этот механизм называется механизмом синхронизации клапанов с возможностью регулировки. Пример такого механизма раскрыт в японском патенте 3094762 (далее – Документ 1).
В Документе 1 раскрыт способ изменения характеристик подъема впускного клапана и выпускного клапана в зависимости от нагрузки и оборотов коленчатого вала двигателя для улучшения топливной экономичности и мощность двигателя.
Однако возросший за последнее время интерес к защите окружающей среды требует дальнейшего улучшения топливной экономичности, что не может удовлетворительно обеспечить способ, описанный в Документе 1. Дополнительно, даже если топливная экономичность улучшится, снижение мощности двигателя окажется неблагоприятным явлением, поскольку это приведет к снижению изначального удобства автомобиля.
В свете имеющихся проблем целью настоящего изобретения является создание двигателя, оснащенного механизмом синхронизации регулируемых клапанов, при помощи которого можно достичь как высокой топливной экономичности, так и высокой мощности двигателя.
Для достижения упомянутой цели создан двигатель с механизмом синхронизации регулируемых клапанов, содержащий механизм изменения периода времени открытия впускного клапана, входящий в состав механизма синхронизации регулируемых клапанов, для изменения периода времени открытия впускного клапана; контроллер периода времени открытия впускного клапана, управляющий механизмом изменения периода времени открытия впускного клапана согласно режиму работы двигателя; при этом механизм изменения периода времени открытия впускного клапана устанавливает период времени открытия впускного клапана на первый период времени впуска, когда двигатель работает при большой нагрузке и больших оборотах; и механизм изменения периода времени открытия впускного клапана, также устанавливающий период времени открытия впускного клапана на второй период времени впуска, в котором завершение периода времени открытия впускного клапана замедленно по сравнению с завершением периода времени открытия впускного клапана в первом периоде времени впуска, когда двигатель работает при малой нагрузке и на малых оборотах.
Предпочтительно контроллер периода времени открытия впускного клапана устанавливает период времени открытия впускного клапана на третий период времени впуска, в котором завершение периода времени открытия впускного клапана замедленно по сравнению с завершением периода времени открытия впускного клапана в первом периоде времени, когда двигатель работает при большой нагрузке и малых оборотах.
Предпочтительно контроллер периода времени открытия впускного клапана устанавливает завершение периода времени открытия впускного клапана на вторую половину такта сжатия, когда двигатель работает при малой нагрузке и малых оборотах.
Предпочтительно контроллер периода времени открытия впускного клапана устанавливает завершение периода времени открытия впускного клапана на первую половину такта сжатия, когда двигатель запускается.
Предпочтительно двигатель дополнительно содержит механизм сдвига фазы параметров впуска, сдвигающий фазу параметра величины подъема клапана впускного клапана; и контроллер фазы параметров впуска, управляющий механизмом сдвига фазы параметров впуска, причем контроллер фазы параметров впуска устанавливает фазу параметра величины подъема клапана на первую фазу впуска, когда двигатель работает при большой нагрузке, и контроллер фазы параметров впуска также устанавливает фазу параметра величины подъема клапана на вторую фазу впуска с замедлением по сравнению с первой фазой впуска, когда двигатель работает при малой нагрузке и малых оборотах.
Предпочтительно контроллер фазы параметров впуска устанавливает фазу параметра величины подъема клапана на третью фазу впуска с опережением по сравнению с первой фазой впуска, когда двигатель работает при большой нагрузке и малых оборотах.
Предпочтительно контроллер периода времени открытия впускного клапана и контроллер фазы параметров впуска устанавливают период времени открытия впускного клапана и фазу параметра величины подъема клапана впуска таким образом, что время начала открытия клапана впуска находится вблизи времени начала такта впуска, когда двигатель работает при малой нагрузке и малых оборотах.
Предпочтительно контроллер периода времени открытия впускного клапана устанавливает период времени открытия впускного клапана на четвертый период времени впуска, который короче, чем второй период времени впуска, когда двигатель работает на максимальной мощности.
Предпочтительно контроллер периода времени открытия впускного клапана и упомянутый контроллер фазы параметров впуска устанавливают период времени открытия впускного клапана и фазу параметра величины подъема клапана, чтобы выполнить период времени перекрытия, во время которого открывается как впускной клапан, так и выпускной клапан на первый период времени перекрытия, когда двигатель работает при большой нагрузке и больших оборотах, причем контроллер периода времени открытия впускного клапана и контроллер фазы параметров впуска устанавливают также период времени перекрытия на второй период времени перекрытия, который длиннее, чем первый период времени перекрытия, когда двигатель работает при малой нагрузке и малых оборотах.
Предпочтительно контроллер периода времени открытия впускного клапана и контроллер фазы параметров впуска устанавливают период времени перекрытия на четвертый период времени перекрытия, который длиннее, чем второй период времени перекрытия, когда двигатель работает на максимальной мощности.
Сущность данного изобретения, а также его задачи и преимущества будут пояснены в нижеследующем описании со ссылками на прилагаемые чертежи, на которых одинаковыми ссылочными позициями обозначены аналогичные или схожие элементы. На чертежах:
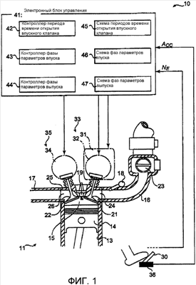
Фиг.1 – блок-схема, на которой представлена полная конфигурация поршневого двигателя с механизмом синхронизации регулируемых клапанов в соответствии с вариантом осуществления данного изобретения;
Фиг.2 – график (схематический), иллюстрирующий динамические параметры впускного клапана и выпускного клапана поршневого двигателя с механизмом синхронизации регулируемых клапанов, показанного на Фиг.1;
Фиг.3 – график (схематический), иллюстрирующий динамические характеристики впускного клапана поршневого двигателя с механизмом синхронизации регулируемых клапанов, показанного на Фиг.1;
Фиг.4 – график (схематический), иллюстрирующий динамические характеристики выпускного клапана поршневого двигателя с механизмом синхронизации регулируемых клапанов, показанного на Фиг.1;
Фиг.5 – график (схематический), иллюстрирующий динамические характеристики впускного клапана и выхлопного клапана поршневого двигателя с механизмом синхронизации регулируемых клапанов, показанного на Фиг.1, показывающий, главным образом границу между тактом выхлопа и тактом впуска;
Фиг.6 – график, схематически показывающий период открытия впускного клапана поршневого двигателя с механизмом синхронизации регулируемых клапанов, показанного на Фиг.1;
Фиг.7 – график, иллюстрирующий схему характерных параметров фазы впуска поршневого двигателя с механизмом синхронизации регулируемых клапанов, показанного на Фиг.1;
Фиг.8 – график, иллюстрирующий схему процесса управления открытием впускного клапана поршневого двигателя с механизмом синхронизации регулируемых клапанов, показанного на Фиг.1;
Фиг.9 – график, иллюстрирующий схему характерных параметров фазы выпуска поршневого двигателя с механизмом синхронизации регулируемых клапанов, показанного на Фиг.1; и
Фиг.10 – график технологического процесса, иллюстрирующий последовательность этапов операций управления, выполняемых в поршневом двигателе с механизмом синхронизации регулируемых клапанов, показанном на Фиг.1.
Здесь и далее будет дано описание двигателя, имеющего механизм синхронизации регулируемых клапанов, согласно предпочтительному варианту настоящего изобретения со ссылками на прилагаемые чертежи.
Как показано на Фиг.1, поршневой двигатель 11 установлен на автотранспортном средстве 10.
Поршень 14 установлен внутри первого цилиндра 13 двигателя 11, а камера 15 сгорания сформирована над поршнем 14. Для упрощенного представления на чертеже показан только первый цилиндр 13, и данное описание сосредотачивается на первом цилиндре 13. Однако двигатель 11 является 4-х цилиндровым двигателем и фактически включает в себя цилиндры со второго по четвертый (не показаны).
Дополнительно двигатель 11 включает в себя впускной коллектор 16, выпускной коллектор 17, топливную форсунку 18, свечу 19 зажигания, впускной клапан 21 и выпускной клапан 22.
Впускной коллектор 16 выполнен в виде коллектора для подачи воздуха, забираемого за пределами транспортного средства, в каждую камеру 15 сгорания цилиндров с первого по четвертый. На входе со стороны впуска впускного коллектора 16 установлен дроссельный клапан 23.
Выпускной коллектор 17 выполнен в виде коллектора для соединения каждой из камер 15 сгорания цилиндров с первого по четвертый с выхлопной трубой (не показана), через который отработавший газ из каждой камеры сгорания направляется в выхлопную трубу.
По сигналу от регулятора впрыска топлива (не показан), находящегося в электронном блоке управления (ЭБУ) 41, который будет детально описан далее, топливная форсунка 18 впрыскивает топливо через впускное отверстие 24. Топливная форсунка 18 может быть заменена топливной форсункой, которая впрыскивает топливо в камеру 15 сгорания (т.е. топливной форсункой, предназначенной для двигателя с прямым впрыском топлива).
Свеча 19 зажигания расположена на головке 25 цилиндра таким образом, что ее концевая часть выступает внутрь камеры 15 сгорания и вызывает образование искры внутри камеры 15 сгорания за счет электротока высокого напряжения, подаваемого от не показанной катушки зажигания, вызывая, таким образом, зажигание топливовоздушной смеси в камере 15 сгорания. Свечой 19 зажигания управляет электронный блок управления (ЭБУ) 41.
Впускной клапан 21, который перемещается, реагируя на перемещение не показанного на чертеже впускного кулачка, открывается и закрывается между впускным отверстием 24 и камерой 15 сгорания.
Выпускной клапан 22, который перемещается, реагируя на перемещение не показанного на чертеже выхлопного кулачка, открывается и закрывается между впускным отверстием 26 и камерой 15 сгорания.
Кроме того, двигатель 11 включает в себя механизм 33 синхронизации впускных регулируемых клапанов (механизм синхронизации регулируемых клапанов), который имеет механизм 31 изменения периода времени открытия впускного клапана и механизм 32 сдвига фазы параметров впуска, а также механизм 35 синхронизации выпускных регулируемых клапанов (механизм регулировки синхронизации регулируемых клапанов), который включает в себя механизм 34 сдвига фазы параметров выпуска.
Среди упомянутых выше механизмов механизм 31 изменения периода времени открытия впускного клапана постоянно изменяет скорость вращения впускного кулачка относительно числа оборотов коленчатого вала (не показан) и, таким образом, постоянно изменяет длину периода Т10 времени открытия (продолжительность открытия) впускного клапана 21.
Конфигурация механизма 31 изменения периода времени открытия впускного клапана хорошо известна, поэтому его описание здесь опущено. Однако в конфигурации применен способ, раскрытый в Японском Патенте 3834 921 и публикации выложенной заявки на патент Японии HEI 10-220209.
Механизм 32 сдвига фазы параметров впуска сдвигает фазы PI параметров LI01, LI02, LI03 величины подъема впускного клапана 21, показанные на Фиг.2.
Аналогично механизм 34 сдвига фазы параметров выпуска сдвигает фазы РЕ параметров LE01, LE02, LE03 величины подъема выпускного клапана 22, показанные на Фиг.2.
Кривая LI01 величины подъема впускного клапана представляет параметр величины подъема впускного клапана 21, когда двигатель 11 работает в режиме большой нагрузки и больших оборотов; кривая LI02 величины подъема клапана представляет параметр величины подъема впускного клапана 21, когда двигатель 11 работает в режиме малой нагрузки и малых оборотов; кривая LI03 величины подъема клапана представляет параметр величины подъема впускного клапана 21, когда двигатель 11 работает в режиме большой нагрузки и малых оборотов.
Кривая LE01 величины подъема клапана представляет параметр величины подъема выпускного клапана 22, когда двигатель 11 работает в режиме большой нагрузки и больших оборотов; кривая LE02 величины подъема клапана представляет собой параметр величины подъема выпускного клапана 22, когда двигатель 11 работает в режиме малой нагрузки и малых оборотов; кривая LE03 величины подъема клапана представляет собой параметр величины подъема выпускного клапана 22, когда двигатель 11 работает в режиме большой нагрузки и малых оборотов.
Конфигурация механизма 32 сдвига фазы параметров впуска и механизма 34 сдвига фазы параметров выпуска хорошо известны, поэтому их описание опускается. В приведенном примере используется ссылка на способ, описанный в японском патенте 3498784, и другие ссылки.
Кроме того, двигатель 11 имеет датчик скорости вращения коленчатого вала двигателя (датчик числа оборотов двигателя, не показан), датчик 36 акселератора (датчик положения педали акселератора) и ЭБУ (Электронный Блок Управления) 41.
Датчик скорости вращения коленчатого вала двигателя регистрирует частоту NE вращения коленчатого вала двигателя 11, а результат регистрации считывает ЭБУ 41.
Датчик 36 акселератора регистрирует величину Асс нажатия педали 30 акселератора, а результат регистрации считывает ЭБУ 41.
ЭБУ 41 включает в себя стыковочное устройство, компьютерный процессор, блок памяти и другие элементы (не показаны). В блоке памяти ЭБУ 41 находятся программное обеспечение функционирования контроллера 42 периода времени открытия впускного клапана, контроллера 43 фазы параметра впуска, контроллера 44 фазы параметра выпуска, схема 45 периодов времени открытия впускного клапана, схема 46 фазы параметра впуска и схема 47 фаз параметра выпуска.
Контроллер 42 периода времени открытия впускного клапана управляет механизмом 31 изменения периода времени открытия впускного клапана согласно величине Acc нажатия на педаль 30 акселератора, регистрируемый датчиком 36 акселератора и числом NE оборотов коленчатого вала двигателя, регистрируемого датчиком скорости вращения коленчатого вала двигателя с тем, чтобы изменять период TI0 времени открытия впускного клапана 21.
Когда двигатель 11 работает в режиме большой нагрузки и больших оборотов, контроллер 42 периодов времени открытия впускного клапана устанавливает периодов TI0 времени открытия впускного клапана 21 на «первый период TI01 времени впуска», как показано на Фиг.3.
Когда двигатель 11 работает в режиме малой нагрузки и малых оборотов, контроллер 42 периодов времени открытия впускного клапана устанавливает период TI0 времени открытия впускного клапана 21 на «второй период TI02 времени впуска».
Когда двигатель 11 работает в режиме большой нагрузки и малых оборотов, контроллер 42 периодов времени открытия впускного клапана устанавливает период TI0 времени открытия впускного клапана 21 на «третий период TI03 времени впуска».
Первый период TI01 времени впуска устанавливается приблизительно на 270° угла поворота коленчатого вала, второй период TI02 времени впуска и третий период TI03 времени устанавливаются приблизительно на 300° угла поворота коленчатого вала и 230° угла поворота коленчатого вала, соответственно.
Другими словами, контроллер 42 периодов времени открытия впускного клапана устанавливает первый период TI01 времени впуска, второй период TI02 времени впуска и третий период TI03 времени впуска для установления соотношения по следующему выражению (1):

Соотношение между периодом TI0 времени открытия впускного клапана для первого периода TI01 времени впуска, второго периода TI02 времени впуска и третьего периода TI03 времени впуска с нагрузкой двигателя и частотой NE вращения коленчатого вала задается схемой 45 периодов времени открытия впускного клапана, показанной на Фиг.6.
Другими словами, контроллер 42 периодов времени открытия впускного клапана устанавливает каждый период TI0 времени открытия впускного клапана согласно схеме 45 периода времени открытия впускного клапана.
Фиг.6 примечательна тем, что период TI0 времени открытия впускного клапана 21, когда двигатель работает на максимальной мощности (т.е. максимальной мощности, выраженной в лошадиных силах, см. «MAXP» на Фиг.6), устанавливается на первый период TI01 впуска.
Другими словами, когда двигатель 11 работает на максимальной мощности, контроллер 42 периодов времени открытия впускного клапана устанавливает период времени открытия (четвертый период TI04, TI04=TI01 времени впуска в данном варианте осуществления изобретения) впускного клапана 21 более коротким, чем второй период TI02 времени впуска.
Аналогично, когда двигатель 11 работает на максимальном крутящем моменте (см. «МАХТ» на Фиг.6), период TI0 времени открытия впускного клапана 21 устанавливается более коротким, чем первый период TI01 времени впуска. Соответственно, когда двигатель 11 развивает максимальный крутящий момент, контроллер 42 периодов времени открытия впускного клапана устанавливает период времени открытия впускного клапана 21 более коротким, чем второй период TI02 времени впуска.
Контроллер 43 фазы параметра впуска управляет механизмом 32 сдвига фазы параметров впуска для осуществления сдвига фазы PI параметра величины подъема клапана (кривых величины подъема клапана) LI01, LI02 и LI03 впускного клапана 21. Здесь вторая фаза PI2 впуска и третья фаза PI3 впуска рассматриваются как ограничение угла замедления и ограничитель угла опережения, соответственно, а первая фаза PI1 впуска как промежуточная фаза этих ограничений.
Другими словами, контроллер 43 фазы параметров впуска устанавливает первую фазу PI1 впуска вторую фазу PI2 впуска и третью фазу PI3 впуска для установления соотношения по следующему выражению (2):

Соответственно, как показывает параметр LI02 величины подъема впускного клапана 21 на Фиг.3, если двигатель 11 считается работающим в режиме малой нагрузки и малых оборотов, то контроллер 43 фазы параметров впуска устанавливает фазу PI кривой параметра LI02 величины подъема впускного клапана 21 на вторую фазу PI2 впуска, которая рассматривается как ограничение угла замедления, и, таким образом, время IC завершения открытия впускного клапана 21 может быть значительно замедлено, тем самым осуществляя дополнительное чрезмерно замедленное закрытие впускного клапана 21.
И наоборот, как показывает параметр LI03 величины подъема впускного клапана 21, если двигатель 11 считается работающим в режиме большой нагрузки и малых оборотов, то контроллер 43 фазы параметров впуска устанавливает фазу PI кривой параметра LI03 величины подъема впускного клапана 21 на третью фазу PI3 впуска, которая рассматривается как ограничение угла опережения и, таким образом, время IC завершения открытия клапана впуска 21 может быть значительно ускорено.
Кроме того, как показывает параметр LI02 величины подъема впускного клапана 21, если двигатель 11 считается работающим в режиме большой нагрузки и больших оборотов, то контроллер 43 фазы параметров впуска устанавливает фазу PI кривой параметра LI03 величины подъема впускного клапана 21 на первую фазу PI1, которая рассматривается как промежуточный угол или ограничение угла опережения и, таким образом, время IC завершения открытия клапана впуска 21 устанавливается.
Таким образом, фазовое управление параметрами впуска может еще больше расширить возможности изменения времени IC завершения открытия клапана впуска 21.
Как показано на Фиг.7 и 8, первая фаза PI1 впуска, вторая фаза PI2 впуска и третья фаза PI3 впуска являются фазами кривых LI01, LI02 и LI03 величины подъема клапана впуска 21, соответственно, и задаются схемой 46 фаз параметров впуска и/или схемой 47 фаз параметров выпуска.
Другими словами, контроллер 43 фазы параметра впуска устанавливает первую фазу PI1 впуска, вторую фазу PI2 впуска и третью фазу PI3 впуска, которые представляют собой фазы кривых LI01, LI02 и LI03 величины подъема клапана впуска 21, соответственно, согласно схемы 46 фаз параметров впуска и/или схемы 47 фаз параметров выпуска.
Если электромотор работает как стартер (т.е. двигатель запускается), то контроллер 43 фазы параметра впуска устанавливает фазу PI параметра величины подъема клапана для впускного клапана 21, чтобы время IC завершения открытия клапана впуска 21 оказывалось в первой половине хода сжатия (от +180° до +270° коленчатого вала [СА]), где получается давление сжатия большее, чем давление, необходимое для зажигания.
Контроллер 44 фазы параметров выпуска управляет механизмом 34 сдвига фазы параметров выпуска для осуществления сдвига фазы РЕ параметров LE01, LE02 и LE03 величины подъема выпускного клапана 22. Здесь вторая фаза РЕ2 выпуска и первая фаза PE1 выпуска рассматриваются как ограничение угла замедления и ограничение угла опережения, соответственно, а третья фаза РЕ3 выпуска как промежуточная фаза этих ограничений.
Как показано параметрами величины подъема выпускного клапана 22 на Фиг.4, если двигатель 11 считается работающим в режиме большой нагрузки и больших оборотов, тогда контроллер 44 фазы параметра выпуска устанавливает фазу кривой LE01 величины подъема выпускного клапана 22 на первую фазу РЕ2 выпуска.
Как показано параметром LE02 величины подъема выпускного клапана 22, если двигатель 11 считается работающим в режиме малой нагрузки и малых оборотов, то контроллер 44 фазы параметра выпуска устанавливает фазу кривой LE02 величины подъема выпускного клапана 22 на вторую фазу РЕ2 выпуска.
Кроме того, как показано параметром LE03 величины подъема выпускного клапана 22, если двигатель 11 считается работающим в режиме большой нагрузки и малых оборотов, то контроллер 44 фазы параметров выпуска устанавливает фазу кривой LE03 величины подъема выпускного клапана 22 на вторую фазу РЕ3 выпуска.
Другими словами, контроллер 44 фазы параметров выпуска устанавливает первую фазу PEI выпуска, вторую фазу РЕ2 выпуска и третью фазу РЕ3 выпуска для установления соотношения по следующему выражению (3):

В отличие от впускного клапана 21 период ТЕ0 времени открытия (продолжительность открытия) выпускного клапана 22 является величиной постоянной, вне зависимости от режима работы двигателя 11. В частности, как показано на Фиг.4, первый период TE01 времени выпуска, второй период ТЕ02 времени выпуска и третий период ТЕ03 времени выпуска, когда двигатель 11 работает в режиме большой нагрузки и больших оборотов, в режиме малой нагрузки и малых оборотов, а также в режиме большой нагрузки и малых оборотов, в значительной степени одинаковы, как видно из следующего выражения (4):

Кроме того, контроллер 43 фазы параметров впуска и контроллер 44 фазы параметров выпуска устанавливают фазу PI параметра величины подъема впускного клапана 21 и фазу РЕ параметра величины подъема выпускного клапана 22 для создания периода VOL времени перекрытия для выполнения перекрытия времени начала (10) работы впускного клапана 21 и времени завершения (ЕС) работы выпускного клапана 22.
В частности, когда двигатель 11 работает в режиме больших оборотов и большой нагрузки, контроллер 43 фазы параметров впуска и контроллер 44 фазы параметров выпуска устанавливают первую фазу PI1 впуска и первую фазу PE1 выпуска, соответственно, для выполнения первого периода VOL1 времени перекрытия, как показано на Фиг.5.
Дополнительно, когда двигатель 11 работает в режиме малых оборотов и малой нагрузки, контроллер 43 фазы параметра впуска и контроллер 44 фазы параметра выпуска устанавливают вторую фазу PI2 впуска и вторую фазу РЕ2 выпуска, соответственно, для выполнения второго периода VOL2 времени перекрытия.
Дополнительно, когда двигатель 11 работает в режиме большой нагрузки и малых оборотов, контроллер 43 фазы параметров впуска и контроллер 44 фазы параметров выпуска устанавливают третью фазу PI3 впуска и третью фазу РЕ3 выпуска, соответственно, для выполнения третьего периода VOL3 времени перекрытия.
Другими словами, контроллер 43 фазы параметров впуска и контроллер 44 фазы параметров выпуска устанавливают первый период VOL1 времени перекрытия, второй период VOL 2 времени перекрытия и третий период VOL3 времени перекрытия для установления соотношения по следующему выражению (5):

Здесь вновь обращая внимание на MAXP на Фиг.6, 7, 8 и 9, даже когда двигатель 11 работает с максимальным крутящим моментом (МАХТ) или с максимальной мощностью (МАХР), период TI0 времени открытия и фаза PI впускного клапана 21, а также период ТЕ0 времени открытия выпускного клапана 22 одинаковы в каждом случае и представляют собой период TI01 времени первого впуска, фазу PI1 первого впуска и фазу PE1 первого выпуска, соответственно.
Другими словами, контроллер 43 фазы параметров впуска и контроллер 44 фазы параметров выпуска определяют период времени перекрытия (четвертого периода VOL4 времени перекрытия), в данном варианте осуществления изобретения, VOL4=VOL1 и при двигателе 11, работающем в режиме максимального выходного крутящего момента, чтобы он был короче, чем второй период VOL2 времени перекрытия.
Двигатель, оснащенный механизмом синхронизации клапана с возможностью регулировки в данном варианте осуществления изобретения, имеет описанную выше конфигурацию, которая последовательно обеспечивает следующие преимущества и положительный эффект.
Период TI0 времени открытия (т.е. второй период TI02 времени впуска) впускного клапана 21 при двигателе 11, работающем на режиме малой нагрузки и малых оборотов, устанавливается так, чтобы он был длиннее периода TI0 времени открытия (т.е. первого периода TI01 времени впуска) впускного клапана 21, при двигателе, работающем в режиме большой нагрузки и больших оборотов.
Дополнительно, фаза PI (т.е. вторая фаза PI2 впуска) параметра величины подъема впускного клапана 21, когда двигатель 11 работает в режиме малой нагрузки и малых оборотов, устанавливается с замедлением по сравнению с фазой PI (т.е. первой фазой PI1 впуска) параметра величины подъема впускного клапана 21, когда двигатель 11 работает в режиме большой нагрузки и больших оборотов.
Поэтому степень заполнения воздухом камеры 15 сгорания улучшается за счет использования эффекта наддува, вызванного инерцией потока впускаемого воздуха, когда двигатель 11 работает при большой нагрузке и на больших оборотах.
Поскольку фаза выхлопа опережает, небольшое результирующее значение периода VOL времени перекрытия повышает степень сгорания, сокращая рециркуляцию отработавших газов внутри. Хотя при работе в режиме большой нагрузки и больших оборотов увеличивается объем отработавшего газа, синхронизация с ранним открытием выпускного клапана 22 плавно выпускает отработавший газ и уменьшает насосные потери при выпуске отработавшего газа, что дополнительно увеличивает мощность двигателя.
Когда двигатель 11 работает с низкой нагрузкой и на малых оборотах, время IC завершения открытия впускного клапана 21 сильно замедляется (т.е. происходит чрезмерное замедление закрытия) для значительного уменьшения насосных потерь. Другими словами, объем впуска воздуха регулируется обратным выдуванием воздуха, временно забранного в цилиндр через впускное отверстие 24 и, таким образом, можно увеличить степень открытия дроссельного клапана с тем, чтобы препятствовать насосным потерям и улучшить топливную экономичность.
Дополнительно, поскольку фаза PI параметра величины подъема впускного клапана 21 задается такой, что время 10 начала открытия впускного клапана 21 оказывается близким времени начала такта впуска, можно препятствовать насосным потерям, происходящим на ранней стадии такта всасывания.
Поскольку всасываемый воздух нагревается внутри цилиндра, улучшается испарение жидкого топлива, прилипшего и оставшегося во впускном отверстии 24, и количество воздуха, необходимого для создания требуемого вращающего момента, уменьшается согласно сокращению насосных потерь. Даже в ситуации, в которой фактическая степень сжатия снижается, сгорание топлива улучшается для дополнительного улучшения топливной экономичности.
Как следствие, на высоком уровне может реализовываться как высокая топливная экономичность, так и высокая выходная мощность.
Период TI0 времени открытия впускного клапана 21, когда мощность двигателя 11 достигает максимальной величины (т.е. четвертый период TI04 времени выпуска = периоду TI01 времени), устанавливается аналогичным способом.
Когда двигатель 11 запускается, фаза PI параметра величины подъема для впускного клапана 21 устанавливается так, чтобы время IC завершения закрытия впускного клапана 21 было опережающим в пределах диапазона: от нижней мертвой точки до второй половины такта сжатия, при этом можно сохранить давление внутри камеры сгорания, требуемое для запуска (включения зажигания) двигателя 11, и, таким образом, улучшить характеристики двигателя 11. Кроме того, поскольку фаза PI параметра величины подъема клапана 21 устанавливается соответственно с опережением и период VOL времени устанавливается относительно большим, отработавший газ с силой выдувается во впускную трубу, когда впускной клапан 21 открывается, чтобы выдуть жидкое топливо, прилипшее к впускному отверстию 24, тем самым заставляя топливо превращаться в мелкодисперсные частицы и испаряться. Дополнительно, испарение топлива обеспечивается также нагревом от отработавших газов и, соответственно, количество несгоревших углеводородов значительно уменьшается.
Период TI0 времени открытия (второй период TI02 времени впуска) впускного клапана 21, когда двигатель 11 работает на режиме малой нагрузки и малых оборотов, устанавливается так, чтобы он был длиннее периода TI0 времени (третьего периода TI03 времени впуска) впускного клапана 21, когда двигатель 11 работает в режиме большой нагрузки и малых оборотов, и фаза PI (вторая фаза PI2 впуска) параметра величины подъема клапана впускного клапана 21, когда двигатель 11 работает в режиме малой нагрузки и малых оборотов, устанавливается с замедлением по сравнению с фазой PI (третья фаза PI3 впуска) параметра величины подъема клапана впускного клапана 21, когда двигатель 11 работает в режиме большой нагрузки и малых оборотов.
Вышеупомянутая установка позволяет улучшить степень заполнения воздухом камеры 15 сгорания за счет использования эффекта наддува, вызванного инерцией потока и пульсирующей струей всасываемого потока воздуха, когда двигатель 11 работает при большой нагрузке и на малых оборотах, для улучшения эффекта, вызванного сокращением насосных потерь, когда двигатель работает с малой нагрузкой и на малых оборотах.
Дополнительно, период VOL времени перекрытия (второй период VOL2 времени перекрытия), когда двигатель 11 работает с малой нагрузкой и на малых оборотах, устанавливается более коротким, чем период VOL времени (первый период VOL1 времени перекрытия), когда двигатель 11 работает с большой нагрузкой и на больших оборотах.
В то время, как двигатель 11 работает с малой нагрузкой и на малых оборотах, стабильность сгорания улучшается за счет сокращения объема газа (так называемого отработавшего газа рециркуляции), остающегося в камере 15 сгорания после сгорания; и в то время, как двигатель 11 работает при малой нагрузке и больших оборотах, увеличившийся объем отработавших газов плавно выпускается за счет опережающего открытия выпускного клапана 22 и насосные потери во время впускания отработавшего газа подавляются, дополнительно увеличивая выходную мощность двигателя 11.
Период VOL времени перекрытия клапана может регулироваться периодом TI0 времени открытия клапана или фазой PI параметра величины подъема клапана 21, а эффективность может дополнительно повышаться за счет регулирования на основе фазы РЕ параметров выпускного клапана 22.
Один из вариантов осуществления настоящего изобретения подробно описан выше, хотя настоящее изобретение никоим образом не может ограничиваться только описанным вариантом осуществления. Возможны различные изменения и модификации, без отхода от сущности изобретения.
Например, каждое значение времени ЕС завершения закрытия выхлопного клапана 22, стартовой синхронизации IO впускного клапана 21, завершающей синхронизации IC впускного клапана 21, период ТЕ0 времени открытия выпускного клапана 22, период TI0 времени открытия впускного клапана 21, фаза РЕ параметров величины подъема впускного клапана 21 и продолжительность VOL перекрытия могут изменяться в объеме настоящего изобретения.
Дополнительно, в вышеизложенном варианте осуществления изобретения продолжительности и фазы открытия клапанов устанавливаются на постоянные величины в зависимости от режима работы на малой, средней или большой нагрузке и при малых, средних или больших оборотах коленчатого вала, хотя, как вариант, эти величины могут непрерывно изменяться в зависимости от крутящего момента и оборотов двигателя.
Из описанного таким образом изобретения должно быть очевидно, что возможно внесение самых различных изменений. Такие изменения не рассматриваются как отступление от сущности и объема изобретения, и специалисту в данной области очевидно, что все подобные модификации входят в объем прилагаемой формулы изобретения.
Формула изобретения
1. Двигатель с механизмом синхронизации регулируемых клапанов, содержащий механизм изменения периода времени открытия впускного клапана, входящий в состав механизма синхронизации регулируемых клапанов, для изменения периода времени открытия впускного клапана; контроллер периода времени открытия впускного клапана, управляющий механизмом изменения периода времени открытия впускного клапана согласно режиму работы двигателя; при этом механизм изменения периода времени открытия впускного клапана устанавливает период времени открытия впускного клапана на первый период времени впуска, когда двигатель работает при большой нагрузке и больших оборотах; и механизм изменения периода времени открытия впускного клапана, также устанавливающий период времени открытия впускного клапана на второй период времени впуска, в котором завершение периода времени открытия впускного клапана замедленно по сравнению с завершением периода времени открытия впускного клапана в первом периоде времени впуска, когда двигатель работает при малой нагрузке и на малых оборотах.
2. Двигатель по п.1, в котором контроллер периода времени открытия впускного клапана устанавливает период времени открытия впускного клапана на третий период времени впуска, в котором завершение периода времени открытия впускного клапана замедленно по сравнению с завершением периода времени открытия впускного клапана в первом периоде времени, когда двигатель работает при большой нагрузке и малых оборотах.
3. Двигатель по п.2, в котором контроллер периода времени открытия впускного клапана устанавливает завершение периода времени открытия впускного клапана на вторую половину такта сжатия, когда двигатель работает при малой нагрузке и малых оборотах.
4. Двигатель по п.2, в котором контроллер периода времени открытия впускного клапана устанавливает завершение периода времени открытия впускного клапана на первую половину такта сжатия, когда двигатель запускается.
5. Двигатель по п.1, дополнительно содержащий механизм сдвига фазы параметров впуска, сдвигающий фазу параметра величины подъема клапана впускного клапана; и контроллер фазы параметров впуска, управляющий механизмом сдвига фазы параметров впуска, причем контроллер фазы параметров впуска устанавливает фазу параметра величины подъема клапана на первую фазу впуска, когда двигатель работает при большой нагрузке, и контроллер фазы параметров впуска также устанавливает фазу параметра величины подъема клапана на вторую фазу впуска с замедлением по сравнению с первой фазой впуска, когда двигатель работает при малой нагрузке и малых оборотах.
6. Двигатель по п.5, в котором контроллер фазы параметров впуска устанавливает фазу параметра величины подъема клапана на третью фазу впуска с опережением по сравнению с первой фазой впуска, когда двигатель работает при большой нагрузке и малых оборотах.
7. Двигатель по п.5, в котором контроллер периода времени открытия впускного клапана и контроллер фазы параметров впуска устанавливают период времени открытия впускного клапана и фазу параметра величины подъема клапана впуска таким образом, что время начала открытия клапана впуска находится вблизи времени начала такта впуска, когда двигатель работает при малой нагрузке и малых оборотах.
8. Двигатель по п.1, в котором контроллер периода времени открытия впускного клапана, устанавливающий период времени открытия впускного клапана на четвертый период времени впуска, который короче, чем второй период времени впуска, когда двигатель работает на максимальной мощности.
9. Двигатель по п.5, в котором контроллер периода времени открытия впускного клапана и упомянутый контроллер фазы параметров впуска устанавливают период времени открытия впускного клапана и фазу параметра величины подъема клапана, чтобы выполнить период времени перекрытия, во время которого открывается как впускной клапан, так и выпускной клапан, на первый период времени перекрытия, когда двигатель работает при большой нагрузке и больших оборотах, причем контроллер периода времени открытия впускного клапана и контроллер фазы параметров впуска устанавливают также период времени перекрытия на второй период времени перекрытия, который длиннее, чем первый период времени перекрытия, когда двигатель работает при малой нагрузке и малых оборотах.
10. Двигатель по п.9, в котором контроллер периода времени открытия впускного клапана и контроллер фазы параметров впуска устанавливают период времени перекрытия на четвертый период времени перекрытия, который длиннее, чем второй период времени перекрытия, когда двигатель работает на максимальной мощности.
РИСУНКИ
|