|
|
(21), (22) Заявка: 2008144900/11, 14.11.2008
(24) Дата начала отсчета срока действия патента:
14.11.2008
(46) Опубликовано: 27.05.2010
(56) Список документов, цитированных в отчете о поиске:
SU 87148 A1, 01.01.1950. US 2887743 A, 26.05.1959. US 2482093 A, 20.09.1949. US 2401048 A, 28.05.1946.
Адрес для переписки:
681013, Хабаровский край, г. Комсомольск-на-Амуре, пр. Ленина, 27А, Комсомольский-на-Амуре филиал общества с ограниченной ответственностью “Информационные Технологии” (ООО “ИнфоТех”)
|
(72) Автор(ы):
Аркатов Виктор Степанович (RU), Васин Валерий Викторович (RU), Емельянов Евгений Николаевич (RU), Конаков Александр Викторович (RU), Фадеев Валерий Сергеевич (RU), Чигрин Юрий Леонидович (RU), Штанов Олег Викторович (RU), Паладин Николай Михайлович (RU), Щитов Виктор Николаевич (RU)
(73) Патентообладатель(и):
Общество с ограниченной ответственностью “Научно-Технический Центр Информационные Технологии” (RU)
|
(54) СПОСОБ ПАЙКИ РЕЛЬСОВЫХ СОЕДИНИТЕЛЕЙ К РЕЛЬСУ И УСТРОЙСТВО ДЛЯ ЕГО ОСУЩЕСТВЛЕНИЯ
(57) Реферат:
Изобретение относится к способам пайки металлов с использованием специальных устройств и может быть использовано при пайке соединителей рельсовых стыковых к рельсу. Способ пайки рельсовых соединителей к рельсу заключается в произведении пайки термосмесью, которая одновременно закладывается в реакционные полости корпуса для пайки и полость крышки корпуса для прогрева головки рельса. Для реализации способа предложено устройство, которое крепится на головке рельса, например, с помощью магнитов. Технический результат от использования данного изобретения заключается в повышении прочности соединения. 2 н.п. ф-лы, 1 ил.
Изобретения относятся к способам пайки металлов с использованием специальных устройств и могут быть использованы при пайке соединителей рельсовых стыковых к рельсу.
Известен способ присоединения гибкого проводника к рельсам (заявка 93042093, опубликована 10.20.1966 г.), где гибкий проводник вставляют в узлы крепления в виде штепселей с гайками. Выступающие концы гибкого проводника дополнительно обжимают клиньями и оплавляют сварочной дугой. Штепсели закрепляют в отверстиях на рельсах.
Недостатком данного способа является его высокая трудоемкость и ограниченные возможности использования в автономных условиях при отсутствии электрической энергии.
Наиболее близким к заявляемому способу является способ электрического стыкового соединения железнодорожных рельсов, включающий пайку-сварку термитной смесью в среде инертных газов, нагретых теплотой горения термитной смеси (заявка 2006104566, опубликована 27.09.2007 г.).
Недостатком данного способа является невысокая прочность соединения, обусловленная наличием высоких температур в зоне соединения, превышающих температуру плавления привариваемых материалов. Данный способ обеспечивает достаточно интенсивный нагрев и охлаждение зоны соединения и, как следствие, появление высоких термических напряжений в местах соединения соединителя с рельсом и в дальнейшем появление трещин в рельсе. Образование прочного соединения пайкосваркой возможно при наличии практически ювенальных поверхностей, т.е. поверхности должны быть очищены от окислов, имеющихся на поверхности. В данном способе защита поверхности от окисления производится путем проведения процесса в среде инертных газов. Использование инертного газа снижает возможности процесса термитной пайки в автономных условиях.
Задачей, на решение которой направлено предлагаемое изобретение, является создание способа соединения рельсовых стыков соединителем, позволяющего получать соединения с высокими физико-механическими свойствами, исключающего плавление соединяемых деталей и, как следствие, высоких термических напряжений и проведения процесса пайки без использования инертных газов.
Технический результат, получаемый в процессе решения поставленной задачи, заключается в повышении прочности соединения и достигается за счет проведения процесса пайки при высоких температурах, что позволяет использовать припои, обладающие высокой температурой плавления, и получать высокие прочностные свойства паяного соединения. Проведение процесса пайки без использования инертного газа расширяет возможности использования способа в автономных условиях.
Предложен способ пайки рельсовых соединителей к рельсу с использованием термитной смеси, при этом первоначально на место пайки наносят термореактивную смесь, затем на головку рельса с помощью прижимного держателя, устанавливают устройство, имеющее реакционную полость для проведения процесса пайки и полость для прогрева головки рельса, выкладывают полости термостойким картоном, после этого закладывают в полость пайки термостержень таким образом, чтобы зажигательный элемент термостержня касался термитной смеси полости прогрева головки рельса, производят поджог термостержня и производят процесс пайки.
Для реализации заявляемого способа предлагается устройство, позволяющее проводить качественную и надежную пайку рельсовых соединителей к рельсам, без применения инертного газа в процессе пайки, исключающего плавление соединяемых деталей.
Уровень техники устройства известен из портативного устройства для термитной сварки (ПАТЕНТ RU 2174459, опубликован 10.10.2001 г.), которое содержит заключенный в несгораемую оболочку термитный стержень, выполненный в виде, по крайней мере, одного цилиндра, спрессованного из термитной смеси, содержащей оксиды металлов, восстановитель и газогенерирующую добавку. Устройство снабжено держателем, содержащим корпус с рукояткой, сменным графитовым наконечником, выполненным с осевым конусным каналом и установленным в корпусе подпружиненным толкателем, при этом термитный стержень с оболочкой установлены в металлической трубке, закрепленной одним своим концом в держателе, оболочка выполнена в виде графитовой втулки, зафиксированной в металлической трубке посредством графитового наконечника, термитный стержень поджат в сторону графитового стержня посредством подпружиненного толкателя, а термитная смесь содержит компоненты в следующем соотношении, мас.%: восстановитель – 10-15, газогенерирующая добавка – 1-4, оксиды металлов – остальное.
Данное портативное устройство позволяет произвести приварку рельсового стыкового соединителя к рельсу. При сварке термитной смесью данным устройством образуется зона плавления и, как следствие, возникают высокие термические напряжения в местах приварки соединителя с рельсом, снижающие прочностные свойства паяного соединения.
Наиболее близким, принятым за прототип, по уровню техники к заявляемому устройству является устройство для термитной приварки выводов электрохимзащиты к магистральным трубопроводам (ПАТЕНТ RU 2323075, опубликован 27.04.2008 г.). Устройство содержит тигель-форму, имеющую реакционную камеру, литниковую камеру и литник, а также крышку, и размещенную внутри тигель-формы термитную смесь и медную мембрану, при этом оно снабжено электрозапалом, а тигель-форма выполнена из огнеупорной керамики, основой огнеупорной керамики является высокоглиноземистый цемент и порошковый графит, термитная смесь использована в виде цельного уплотненного заряда, содержащего в верхней части слой легко воспламеняемого переходного заряда, а электрозапал выполнен в виде тонкого нихромового проводника, обмазанного легко воспламеняемым составом, электрозапал имеет два электрических вывода для соединения с исполнительным устройством поджога.
К недостаткам данного устройства следует отнести невозможность проведения процесса приварки выводов к вертикальным и наклонным поверхностям, в частности, к поверхности головки рельса, а также появление высоких термических напряжений в местах сварки, снижающих прочностные свойства соединения.
Технический результат изобретения – улучшение прочностных свойств паяного соединения, расширение технологических возможностей процесса пайки, т.е. выполнение пайки электрических рельсовых соединителей к поверхности головки рельса.
Технический результат достигается тем, что устройство для пайки рельсовых соединителей к рельсу, включающее корпус с крышкой, снабженный реакционной камерой, внутри которой помещена термитная смесь, при этом реакционная камера имеет две полости, одна полость камеры выполнена в корпусе и заполнена термитной смесью в виде цельного уплотненного заряда, содержащего в верхней части легко воспламеняемый переходной заряд и запал, в виде тонкого нихромового проводника, обмазанного легко воспламеняемым составом, а вторая в крышке корпуса, при этом реакционная полость в корпусе объединена с цилиндрической полостью, служащей для плотного схватывания и крепления манжеты рельсового соединителя и оставляющей свободное пространство для размещения термитного стержня. Полость крышки расположена над поверхностью головки рельса в месте пайки, корпус зафиксирован и прижат к рельсу с помощью держателя, закрепленного на головке рельса неподвижно, например, с помощью магнитов.
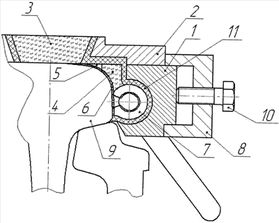
На чертеже изображено устройство, подготовленное к работе.
Предлагаемое устройство для соединения пайкой рельсовых стыков с соединителем содержит корпус 1 с реакционной полостью 4, крышку 2 с реакционной полостью 3, с заложенными в них термитными смесями, термитная смесь в полости 4 выполнена в виде цельного уплотненного заряда, содержащего в верхней части легко воспламеняемый переходной заряд 5 и запал в виде тонкого нихромового проводника, обмазанного легко воспламеняемым составом (не показан), находящегося в контакте с термитной смесью в полости 3 крышки 2 и термитной смесью 6 в корпусе 1, в цилиндрической полости корпуса плотно охвачена и закреплена манжета рельсового соединителя 7, корпус прижат к рельсу в месте пайки с помощью держателя 8, закрепленного на головке рельса 9 неподвижно, например, с помощью магнитов, и зафиксирован на держателе с помощью винтов 10, полость, выполненная в крышке, расположена над поверхностью головки рельса над местом пайки, все реактивные полости выложены термостойким картоном 11. Аналогичное устройство устанавливается на головку второго стыкуемого рельса
Заявляемый способ осуществляется при помощи заявляемого устройства следующим образом.
Корпуса 1 крепят с помощью винтов 10 на держатель 8, реакционные полости 4 корпусов и крышек 3 выкладывают термостойким картоном 11, в корпуса вставляют и крепят манжеты рельсового соединителя 7, на головку рельса 9 в месте пайки наносят термитную смесь 6, с помощью держателя 8 на головку рельса устанавливают и прижимают корпуса 1, в реакционную полость 4 закладывают термитную смесь в виде цельного уплотненного заряда, содержащего в верхней части легко воспламеняемый переходной заряд 5 и запал в виде тонкого нихромового проводника, обмазанного легко воспламеняемым составом, и закрывают крышкой 2, в реакционную полость 4 закладывают термитную смесь 6. Далее осуществляют поджог термитного заряда через электрозапал и промежуточный заряд.
На место пайки наносили состав для термитной пайки, содержащий, мас.%: бор – 7, перхлорат полиэтиленполиамина – 20, этиленгликоль – 8, оксид никеля – 10, оксид меди – остальное.
В камеру корпуса помещалась спрессованная термитная смесь, содержащая, мас.%: алюминий – 8, медь – 11, ферромарганец молотый – 13, свинец – 1, оксид меди – остальное.
В камеру крышки помещались термитные шашки на основе оксида железа и алюминия, шашки имели форму камеры, вес шашки составлял 200 г.
После проведения процесса пайки проводили обследование паяного соединения. Установлено: прочность соединения высокая, зоны подплавления металла головки рельса не обнаружено.
Формула изобретения
1. Способ пайки рельсовых соединителей к рельсу с использованием термитной смеси, отличающийся тем, что первоначально на место пайки наносят термореактивную смесь, затем на головку рельса с помощью прижимного держателя устанавливают устройство, имеющее реакционную полость для проведения процесса пайки, и полость для прогрева головки рельса, выкладывают полости термостойким картоном, после этого закладывают в полость пайки термостержень таким образом, чтобы зажигательный элемент термостержня касался термитной смеси полости прогрева головки рельса, производят поджог термостержня и производят процесс пайки.
2. Устройство для пайки рельсовых соединителей к рельсу, включающее корпус с крышкой, снабженный реакционной камерой, внутри которой помещена термитная смесь, отличающееся тем, что реакционная камера имеет две полости, одна полость камеры выполнена в корпусе и заполнена термитной смесью в виде цельного уплотненного заряда, содержащего в верхней части легко воспламеняемый переходной заряд и запал в виде тонкого нихромового проводника, обмазанного легко воспламеняемым составом, а вторая в крышке корпуса, при этом реакционная полость в корпусе объединена с цилиндрической полостью, служащей для плотного схватывания и крепления манжеты рельсового соединителя и оставляющей свободное пространство для размещения термитного стержня, полость крышки расположена над поверхностью головки рельса в месте пайки, корпус зафиксирован и прижат к рельсу с помощью держателя, закрепленного на головке рельса неподвижно, например, с помощь магнитов.
РИСУНКИ
|
|