|
| На основании пункта 1 статьи 1366 части четвертой Гражданского кодекса Российской Федерации патентообладатель обязуется заключить договор об отчуждении патента на условиях, соответствующих установившейся практике, с любым гражданином Российской Федерации или российским юридическим лицом, кто первым изъявил такое желание и уведомил об этом патентообладателя и федеральный орган исполнительной власти по интеллектуальной собственности. |
|
(21), (22) Заявка: 2008127000/15, 02.07.2008
(24) Дата начала отсчета срока действия патента:
02.07.2008
(43) Дата публикации заявки: 10.01.2010
(46) Опубликовано: 27.05.2010
(56) Список документов, цитированных в отчете о поиске:
US 4011149 A, 08.03.1977. RU 94001593 A, 20.07.1995. UA 79076 C2, 25.05.2007. SU 807672 A1, 29.12.1982.
Адрес для переписки:
461430, Оренбургская обл., Сакмарский р-н, п. Красный Коммунар, ул. Новая, 1, кв.36, А.С. Ронжину
|
(72) Автор(ы):
Ронжин Андрей Савельевич (RU)
(73) Патентообладатель(и):
Ронжин Андрей Савельевич (RU)
|
(54) УСТРОЙСТВО РАЗЛОЖЕНИЯ ВОДЫ НА КИСЛОРОД И ВОДОРОД
(57) Реферат:
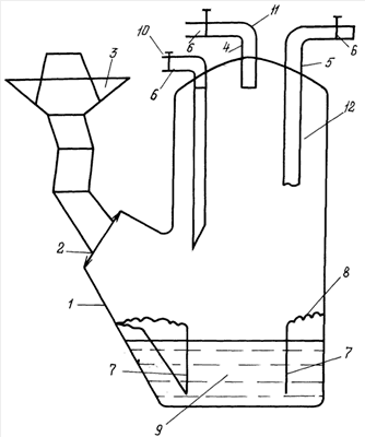
Изобретение относится к области применения солнечной энергии для разложения воды на кислород и водород. Сущность изобретения заключается в том, что устройство разложения воды на кислород и водород содержит корпус 1 с электролитической средой 9, в которую помещены две металлические пластины 7, одна из которых покрыта диоксидом титана, причем оно дополнительно содержит менисковую светоантенну 3 с отражателем, световодом и собирающей линзой 2. Технический результат заключается в повышении эффективности процесса разложения воды на кислород и водород. 1 ил.
Изобретение относится к области применения солнечной энергии для разложения воды на кислород и водород. Известно устройство разложения воды, содержащее корпус с электролитической средой, в которую помещены две металлические пластины, одна из которых покрыта диоксидом титана, смотрите журнал «Наука и жизнь» 1984 г. 12, стр.41-45. Недостатком объекта является то, что освещение среды происходит без применения светоантенны и собирающей линзы. Описанное в журнале устройство (см. выше) взято за прототип, который не может быть применен вследствие того, что в описании не раскрыта полнота действий и его выполнение. Предложено устройство, содержащее корпус с электролитической средой, в которую помещены две металлические пластины, одна из которых покрыта диоксидом титана и дополнительно содержит светоантенну с собирающей линзой. Предлагаемое устройство позволяет добиться повышения эффективности.
На чертеже изображено сечение на виде сбоку на устройство.
Заявляемое устройство содержит корпус 1, две металлические пластины 7, одна из которых покрыта диоксидом титана, погруженные в электролит 9.
Устройство работает следующим образом.
Солнечный свет в светоантенне 3 собирается через отражатель, попадает на собирающую линзу 2 по световоду, где увеличивается в зависимости от мощности линзы.
Солнечный свет попадает через светоантенну 3 и собирающую линзу 2, освещает расположенную в низу корпуса систему (7, 9), где происходит разложение воды на кислород и водород (см. журнал «Наука и жизнь» 1984 г. 12, стр.41-45).
Вода в корпус подается капельным путем через трубу 10, водород выводится через трубу 11, кислород через трубу 12.
Через провода 8 может подаваться или выводится электрический ток в зависимости от применения для поддержания стабильной работы этого аппарата, материалы корпуса: керамика, пластмасса, металопластик, любой диэлектрик, так же, как и трубы, выводы компонентов и подачи воды.
Применение заявляемого устройства существенно повышает эффективность разложения воды при использовании вышеописанного с применением светоантенны, собирающих линз и линз с тепловизора. Возможен второй вариант, электролит заменяем водой без применения двух пластин, освещаем и проводим следующие действия.
Располагаем собирающие линзы и линзы с тепловизора в горизонтальный ряд и освещаем этот ряд светоантенной особой конструкции (она одна освещает этот ряд). Свет, проходя через антенну и эти линзы, попадает на внизу расположенную тонкостенную железную трубу. Вода в виде пара, проходя через эту трубу, образует водород. Так делал, например, Лавуазье, пропуская воду в виде пара через раскаленный на жаровне ружейный ствол, получал водород. Так же можно получать водород, пропуская его через железные стружки, заполняющие кварцевую трубку воду в виде пара. Можно получать водород по так называемой реакции конверсии путем электролиза «дистиллированная вода, в которую для повышения электропроводности добавлено немного кислоты, разлагается при прохождении постоянного тока».
Материалы описания существенно повысят эффективность заявленного устройства в случае применения светоантенны, собирающих линз и линз с тепловизора.
Формула изобретения
Устройство разложения воды на кислород и водород, содержащее корпус с электролитической средой, в которую помещены две металлические пластины, одна из которых покрыта диоксидом титана, отличающееся тем, что оно дополнительно содержит менисковую светоантенну с отражателем, световодом и собирающей линзой.
РИСУНКИ
|
|