|
|
(21), (22) Заявка: 2008151287/13, 23.12.2008
(24) Дата начала отсчета срока действия патента:
23.12.2008
(46) Опубликовано: 27.05.2010
(56) Список документов, цитированных в отчете о поиске:
RU 2206616 C1, 20.06.2003. RU 2280694 C1, 27.07.2006. SU 587160, 05.01.1978. АЗРИЛЕВИЧ М.Я. Технологическое оборудование свеклосахарных заводов. – М.: 1986, с.117. RU 2103370 C1, 27.01.1998.
Адрес для переписки:
305040, г.Курск, ул. 50 лет Октября, 94, КурскГТУ, ОИС
|
(72) Автор(ы):
Емельянов Сергей Геннадьевич (RU), Кобелев Николай Сергеевич (RU), Шикунова Елена Сергеевна (RU), Шикунов Дмитрий Александрович (RU)
(73) Патентообладатель(и):
Государственное образовательное учреждение высшего профессионального образования “Курский государственный технический университет” (RU)
|
(54) РОТАЦИОННАЯ МЕЗГОЛОВУШКА ДЛЯ ОЧИСТКИ ДИФФУЗИОННОГО СОКА
(57) Реферат:
Изобретение относится к сахарной промышленности. Ротационная мезголовушка включает корытообразный корпус с патрубками для подвода нефильтрованного сока и размещенный на валу сетчатый цилиндрический барабан из биметалла, отверстия которого имеют форму усеченного конуса с большим основанием, обращенным внутрь барабана. Мезголовушка снабжена установленной на валу рамой, имеющей гибкие игольчатый штыри для очистки отверстий барабана, при этом рама выполнена из биметалла. Материал на наружной поверхности рамы, контактирующей с воздухом, имеет коэффициент теплопроводности в 2,0-2,5 раза, превышающий коэффициент теплопроводности материала поверхности рамы со стороны гибких игольчатых штырей. Изобретение обеспечивает снижение теплопотерь в окружающую среду в процессе работы. 4 ил.
Изобретение относится к сахарной промышленности.
Известна ротационная мезголовушка для очистки диффузионного сока, включающая корытообразный корпус с патрубком для подвода нефильтрованного сока, размещенный в нем на валу сетчатый цилиндрический барабан, привод вала, содержащий электродвигатель и цепную передачу с зубчатыми колесами, установленными на валу, приемник фильтрованного сока с патрубком отвода его, бункер для мезги и раму, поверхность которой обращена к сетчатому цилиндрическому барабану и имеет гибкие игольчатые штыри с диаметром, меньшим диаметра отверстий сетчатого цилиндрического барабана, служащие для очистки отверстий. Рама установлена на валу при помощи жестко укрепленных на нем звездочек и связанных подвижно со звездочками роликов (см. RU 2103370, С13D 3/00 27.01.1998).
Недостатком данной ротационной мезголовушки является уменьшение производительности в результате уменьшения размеров отверстий сетчатого цилиндрического барабана из-за налипания мезги на поверхность отверстий и практически неполного удаления ее гибкими игольчатыми штырями.
Ближайшим аналогом изобретения является ротационная мезголовушка для очистки диффузионного сока, включающая корытообразный корпус с патрубками для подвода нефильтрованного сока, размещенный в нем на валу сетчатый цилиндрический барабан, привод вала, содержащий электродвигатель и цепную передачу с зубчатыми колесами, установленными на валу, приемник фильтрованного сока с патрубком отвода сока, бункер для мезги и установленную на валу раму, снабженную гибкими игольчатыми штырями для очистки отверстий сетчатого цилиндрического барабана, выполненного из биметалла, при этом его отверстия имеют форму усеченного конуса, большее основание которого обращено внутрь сетчатого цилиндрического барабана (см. RU 2206616, С13D 3/00 20.06.2003).
Недостаток мезголовушки заключается в наличии теплопотерь через раму, снабженную гибкими игольчатыми штырями в окружающую среду при контакте с воздухом помещения, в котором размещена ротационная мезголовушка, что нарушает постоянство температурного режима очистки диффузионного сока, в результате чего ухудшается его качество.
Технический результат изобретения заключается в снижении теплопотерь в окружающую среду в процессе работы мезголовушки и обеспечении постоянства температурного режима очистки диффузионного сока.
Технический результат достигается тем, что в предложенной ротационной мезголовушке, включающей корытообразный корпус с патрубком для подвода нефильтрованного сока, размещенный в нем на валу сетчатый цилиндрический барабан из биметалла, отверстия которого имеют форму усеченного конуса с большим основанием, обращенным внутрь барабана, привод вала, приемник фильтрованного сока с патрубком его отвода, бункер для мезги и установленную на валу раму, снабженную гибкими игольчатыми штырями для очистки отверстий барабана, рама выполнена из биметалла. Материал на наружной поверхности рамы, контактирующий с воздухом, имеет коэффициент теплопроводности, в 2,0-2,5 раза превышающий коэффициент теплопроводности материала поверхности рамы со стороны гибких игольчатых штырей.
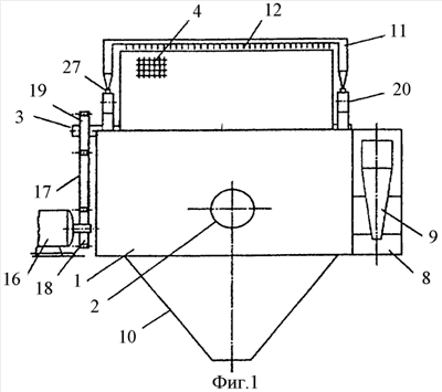
Изобретение поясняется чертежами, на которых фиг.1 схематично изображает общий вид ротационной мезголовушки, фиг.2 – поперечный разрез барабана в верхней части и участок рамы со штырями, фиг.3 – элемент сетчатого барабана с отверстием, имеющим форму усеченного конуса, и фиг.4 – часть рамы из биметалла со штырями и сетчатого цилиндрического барабана из биметалла.
Ротационная мезголовушка включает корытообразный корпус 1 с патрубками 2 для подвода нефильтрованного сока, размещенный в нем на валу 3 сетчатый цилиндрический барабан 4 из биметалла, отверстия 5 которого имеют форму усеченного конуса с меньшим основанием 6 и большим основанием 7, обращенным внутрь барабана, приемник 8 фильтрованного сока с патрубком 9 его отвода, бункер 10 для мезги и установленную на валу 3 раму 11, снабженную гибкими игольчатыми штырями 12 для очистки отверстий 5 барабана.
Рама 11 выполнена из биметалла, при этом материал 13 на ее наружной поверхности, контактирующей с воздухом помещения, в котором установлена мезголовушка, имеет коэффициент теплопроводности, в 2,0-2,5 раза превышающий коэффициент теплопроводности материала 14 поверхности рамы со стороны гибких игольчатых штырей. Слои материала 13 и 14 расположены с образованием между ними границы 15 контакта.
Привод вала 3 содержит электродвигатель 16, цепную передачу 17, зубчатые колеса 18 и 19, звездочки 20, укрепленные на торцах вала, и ролики 21, связанные со звездочками 20 и рамой 11.
Ротационная мезголовушка работает следующим образом. Нефильтрованный сок по патрубку 2 (см. фиг.1) подается в корытообразный корпус 1 и фильтруется через отверстия барабана 4, после чего фильтрованный сок поступает в приемник 8 и при его избытке через патрубок 9 отводится из мезголовушки. Выделенная из сока мезга располагается на поверхности биметаллической стенки барабана 4 и забивает отверстия 5. Очистка последних осуществляется при помощи периодически перемещающейся сверху вниз и снизу вверх рамы 11 с гибкими игольчатыми штырями 12. Отделенная от сока мезга удаляется как в бункер 10, так и внутрь барабана 4.
Известно (см. Азрилевич М.Я. Технологическое оборудование свеклосахарных заводов. М., 1986, стр.117), что температура нефильтрованного сока находится в пределах 50°С, а температура в помещении, в котором расположена мезголовушка, около 20°С. В результате этого создаются температурные градиенты как в раме 11 из биметалла, так и в стенке из биметалла барабана 4. При этом температурный градиент (gradt1) в раме 11 и температурный градиент (gradt2) в биметалле сетчатого цилиндрического барабана и при вхождении гибких игольчатых штырей 12 в отверстия 5, имеющих форму усеченного конуса, на границе контакте 15 материала 13 совпадают по направлению.
Выполнение рамы 11 с гибкими игольчатыми штырями 12 таким образом, что материал 13 поверхности рамы соприкасающийся с воздухом помещения, в котором расположена ротационная мезголовушка, имеет коэффициент теплопроводности, в 2,0-2,5 раза выше, чем материал 14 поверхности рамы со стороны гибких игольчатых штырей, обеспечивает более быстрый нагрев материала 13 поверхности рамы потоком тепла q1 (см. фиг.4), идущего к воздуху помещения с температурой около 20°С и более, медленный нагрев материала 14 поверхности рамы 11 потоком тепла q2, идущим от нефильтрованного сока с температурой около 50°С через биметалл сетчатого цилиндрического барабана 4.
В результате на границе 15 контакта материала 13 и материала 14 тепло, поступающее от нефильтрованного сока, переходит во внутреннюю энергию рамы 11 (см. Нащокин В.В. Техническая термодинамика и теплопередача. – М.: Высш. школа, 1980, с.340). Следовательно, со стороны рамы практически отсутствует отдача теплоты в воздух помещения и процесс очистки диффузионного сока поддерживается в условиях необходимого температурного режима для ротационной мезголовушки в целом.
При работе электродвигатель 16 посредством цепной передачи 17 от зубчатого колеса 18 через зубчатое колесо 19 передает вращение на вал 3, на торцах которого жестко укреплены звездочки 20. В результате сетчатый цилиндрический барабан 4 и звездочки 20 вращаются синхронно. В момент положения роликов 21 в нижней точке поверхности зуба звездочки 20 рама 11 находится в крайнем нижнем положении, и ее гибкие игольчатые штыри 12 находятся в отверстиях 5 барабана, выдавливая в его внутреннюю полость мезгу на секторе площадью, например, в 1/8 поверхности барабана 4. По мере вращения звездочки 20 ролики 21 (синхронно по обе стороны вала 3) перемещаются по поверхности звездочек 20, и гибкие игольчатые штыри 12 выходят из отверстий 5 барабана 4. Гибкость игольчатых штырей 12 и синхронность вращения звездочек 20 с сетчатым цилиндрическим барабаном практически устраняют возможность процесса его торможения.
При выполнении отверстий 5 в виде усеченного конуса (см. фиг.3) с большим основанием 7, направленным внутрь барабана 4, процесс выдавливания мезги осуществляется следующим образом.
Гибкие игольчатые штыри 12, перемещаясь вертикально в отверстиях стенки из биметалла барабана, проталкивают массу мезги от меньшего основания 6 отверстия 5 к большему основанию 7. В результате практически не наблюдается размазывания мезги во внутренней поверхности отверстия 5. Однако часть мезги, хотя и достаточно малая, размазывается в начале процесса вхождения гибких игольчатых штырей 12 в отверстия 5 по их внутренней поверхности.
При выполнении сетчатого цилиндрического барабана 4 из биметалла в нем под воздействием температурного градиента происходит термовибрация. В результате та часть мезги, которая размазывается по внутренней поверхности непосредственно у малого основания отверстия 5, в форме усеченного конуса, постоянно сбрасывается внутрь барабана 4.
По мере вращения звездочки 20 происходит движение роликов 21 от нижней части поверхности зуба звездочки к его верхней точке, и осуществляется перемещение рамы 11 перпендикулярно от оси вала 3. Часть мезги, находящаяся на гибких игольчатых штырях 12, стряхивается в бункер 10, из которого направляется в диффузионный аппарат.
Достигнув верхней точки поверхности зуба звездочек 20, ролики 21 перемещаются к нижней точке поверхности зуба благодаря тому, что поверхность зуба имеет специальную форму (см. фиг.2), и таким образом осуществляется быстрое проникновение гибких игольчатых штырей 12 в отверстия 5 барабана. Уменьшение диаметра гибких игольчатых штырей 12 по отношению к диаметру отверстий 5 барабана устраняет вероятность несовпадения в процессе контакта.
Предложенная конструкция ротационной мезголовушки поддерживает постоянство температурного режима очистки диффузионного сока путем снижения теплопотерь рамы с гибкими игольчатыми штырями в окружающую среду. Это достигается выполнением рамы из биметалла таким образом, что материал ее поверхности, соприкасающейся с воздухом помещения, имеет коэффициент теплопроводности, в 2,0-2,5 раза превышающий коэффициент теплопроводности материала поверхности рамы со стороны гибких игольчатых штырей.
Формула изобретения
Ротационная мезголовушка для очистки диффузионного сока, включающая корытообразный корпус с патрубками для подвода нефильтрованного сока, размещенный в нем на валу сетчатый цилиндрический барабан из биметалла, отверстия которого имеют форму усеченного конуса, большее основание его обращено внутрь барабана, привод вала, приемник фильтрованного сока с патрубком его отвода, бункер для мезги и установленную на валу раму, снабженную гибкими игольчатыми штырями для очистки отверстий барабана, отличающаяся тем, что рама выполнена из биметалла, при этом материал на наружной поверхности рамы, контактирующий с воздухом, имеет коэффициент теплопроводности, в 2,0-2,5 раза превышающий коэффициент теплопроводности материала поверхности рамы со стороны гибких игольчатых штырей.
РИСУНКИ
|
|