|
|
(21), (22) Заявка: 2008144433/15, 10.11.2008
(24) Дата начала отсчета срока действия патента:
10.11.2008
(46) Опубликовано: 27.05.2010
(56) Список документов, цитированных в отчете о поиске:
RU 2317943 С2, 27.02.2008. RU 2064889 C1, 10.08.1996. RU 2318722 С2, 10.03.2008. US 5266175 A, 30.11.1993. JP 2008063169 A, 21.03.2008. JP 63210010 A, 31.08.1988. CN 1944238 A, 11.04.2007. WO 00/05167, 03.02.2000.
Адрес для переписки:
634050, г.Томск, пр. Ленина, 2а, ГОУВПО ТПУ НИИЯФ, патентный отдел
|
(72) Автор(ы):
Жерлицын Алексей Григорьевич (RU), Шиян Владимир Петрович (RU), Медведев Юрий Васильевич (RU)
(73) Патентообладатель(и):
Государственное образовательное учреждение высшего профессионального образования Томский политехнический университет (RU)
|
(54) УСТРОЙСТВО ДЛЯ ПОЛУЧЕНИЯ УГЛЕРОДА И ВОДОРОДА ИЗ УГЛЕВОДОРОДНОГО ГАЗА
(57) Реферат:
Изобретение относится к производству водорода и углеродных материалов нановолокнистой структуры из углеводородов. Через реактор 1 продувают азот и включают генератор 5 сверхвысокочастотного излучения, соединенный со сверхвысокочастотным волноводом 11 элементом связи 2, выполненным в виде коаксиально-волноводного перехода пуговичного типа. Разогрев частиц газопроницаемого электропроводящего вещества-инициатора 10, выбранного из группы: железо, никель, молибден, никелид титана, осуществляется создаваемым сверхвысокочастотным излучением. Затем включают генератор 6 сверхвысокочастотного излучения, который соединен с концентратором 13, изготовленным из отрезков вольфрамовой микропроволоки, с помощью элемента связи 3. Создаваемое сверхвысокочастотное излучение инициирует в области концентратора 13 высокочастотный объемный разряд. Прекращают подачу азота, замещая его смесью углеводородных газов. Газ, пройдя камеру с веществом-инициатором 10, поступает через нерадиопрозрачную газопроницаемую перегородку 12, выполненную в виде металлической сетки из нержавеющей проволоки, в концентратор 13, в зоне которого осуществляется окончательное разложение. Чистые выходные компоненты собирают в сборнике углерода и блоке отбора водородосодержащей газовой смеси. Изобретение позволяет улучшить эксплуатационные характеристики устройства, повысить эффективность технологического процесса конверсии углеводородного газа. 1 з.п. ф-лы, 1 ил., 2 табл.
Изобретение относится к технике переработки углеводородного газа и производства чистых продуктов – углерода и водорода.
Для эффективного использования природного и попутного газов необходимы поиск и исследование новых процессов превращения углеводородного сырья в ценные продукты. Примерами такого продукта являются углерод и водород. Углерод, как один из основных химических элементов природы, является необходимым сырьевым компонентом многих производств. Его роль возрастает не только в связи с расширением традиционных потребностей, но и с появлением новых перспектив его использования, например в нанотехнологиях. Углеродные нанотрубки и фуллерены, обладающие уникальными физическими свойствами, чрезвычайно интересны для решения широкого круга задач. Например, искусственные кристаллы на основе фуллеренов превосходят по твердости алмазы. С помощью нанотрубок создаются новые уникальные полупроводниковые материалы для микроэлектроники, разрушаются злокачественные новообразования в организме и т.д.
Важны и актуальны задачи производства водорода для развивающейся водородной энергетики. Концепции совершенствования энергоносителей все больше определяются проблемой токсичности, экологически чистых продуктов, и водород в нынешнем представлении решает ее наиболее полно. Так использование химического водородного топлива в двигателях внутреннего сгорания, в космических аппаратах обеспечивает в выхлопных продуктах преобладание чистой воды.
Таким образом, актуальность решения задачи производства углерода и водорода из углеводородного сырья, повышение эффективности их производства в крупных масштабах трудно переоценить.
Известно устройство [Патент РФ 2064889, МПК С01В 3/26, С01В 31/02, публ. 1996.08.10], реализующее способ получения углерода из углеводородного газа путем пиролиза – диссоциации молекулы углеводорода при повышенных температурах в отсутствии воздуха. Устройство содержит реактор, состоящий из корпуса, заполненного слоем катализатора, узла подачи реагента, отводящего патрубка и нагревателя. Слой катализатора в реакторе виброожижается с помощью вибропривода, подключенного к корпусу реактора. Водород и частично непрореагировавший метан выводятся из реактора через патрубок. Образовавшийся углерод остается на катализаторе и полностью удерживается в реакторе. Устройство малопроизводительное, поэтому процесс стимулируют катализаторами, а для сокращения непроизводительного расхода тепла рабочую смесь газа и катализатора ворошат вращением реактора, воздействуют ультразвуком, коротко- или микроволновым электромагнитным излучением. Недостатки устройства – низкая производительность, техническая сложность вывода чистого продукта, который адсорбируется на поверхности катализатора, закоксовывание катализатора и, следовательно, малый срок его службы.
Известно устройство получения углерода и водорода из углеводородного газа (метана), в котором используется плазменный катализ процесса диссоциации в импульсно-периодическом микроволновом (сверхвысокочастотном) СВЧ-разряде [А.И.Бабарицкий и др. Импульсно-периодический СВЧ-разряд как катализатор химической реакции. ЖТФ. – 2000. – Т.70. – вып.11. – С.36-41]. Здесь реализован процесс термической диссоциации метана на углерод и водород: при воздействии плазмы микроволнового импульсно-периодического псевдокоронного разряда атмосферного давления на предварительно нагретый газ (400°С-600°С). Устройство содержит плазмокаталитический реактор, выполненный в виде металлической камеры, с входом углеводородного газа и выходом водорода и углерода, расположенными на противоположных концах цилиндра. Корпус одновременно служит резонатором на основе цилиндрического сверхвысокочастотного волновода. На расстоянии четверти длины волны от «выходного» конца реактора, ортогонально оси реактора на его стенке установлена вольфрамовая игла. Недостатки устройства – низкий уровень конверсии газа на углерод и водород и, следовательно, низкий процентный выход углерода и водорода.
Наиболее близким к предлагаемому изобретению является устройство для получения углерода и водорода из углеводородного газа [Патент RU 2317943, С01В 3/26, публ. 2008.02.27]. Устройство содержит проточный реактор с раздельными входом углеводородного газа и выходом углерода и водорода, источник сверхвысокочастотного электромагнитного поля, связанный со сверхвысокочастотным волноводом. Проточный реактор помещен в сверхвысокочастотный волновод, выполненный прямоугольным. Реактор выполнен в виде продолговатой цилиндрической камеры из радиопрозрачного термостойкого материала, частично заполненной газопроницаемым, электропроводящим веществом-инициатором (титан, никель, никелид титана и т.п.), и снабжен концентратором сверхвысокочастотного электромагнитного поля. Концентратор размещен непосредственно после вещества-инициатора. Для получения углерода и водорода осуществляют предварительный нагрев и последующее разложение углеводородного газа под воздействием сверхвысокочастотного электромагнитного поля с выделением и сепарацией углерода и водорода. Предварительный нагрев углеводородного газа (400°С-600°С) происходит под действием энергии сверхвысокочастотного электромагнитного поля в тепловой зоне проточного реактора, заполненной веществом-инициатором. Разложение газа на углерод и водород осуществляют на выходе из тепловой зоны реактора в зоне концентратора сверхвысокочастотного электромагнитного поля при повышенной, по сравнению с тепловой зоной реактора, напряженности сверхвысокочастотного электромагнитного поля, за счет плазмо-каталитической реакции при генерации плазмы атмосферного давления с высокой температурой (400°С-500°С) сверхвысокочастотного разряда.
Недостатком устройства-прототипа является то, что нагрев вещества-инициатора и образование высокотемпературной плазмы в области концентратора осуществляют СВЧ-энергией, поступающей от одного общего источника СВЧ-излучения, что усложняет регулировку технологического процесса и приводит к нерациональному использованию СВЧ-энергии. Кроме того, вещество-инициатор и концентратор сверхвысокочастотного электромагнитного поля размещены в одном и том же объеме, что усложняет обслуживание и контроль работы этих узлов.
Задачей изобретения является создание устройства для получения углерода и водорода из углеводородного газа, позволяющего регулировать уровни мощностей сверхвысокочастотного излучения в разных зонах реактора.
Технический результат предлагаемого изобретения заключается в улучшении эксплуатационных характеристик устройства, повышении эффективности технологического процесса конверсии углеводородного газа.
Указанный технический результат достигается тем, что устройство для получения углерода и водорода из углеводородного газа, как и прототип, содержит проточный реактор, выполненный в виде продолговатой цилиндрической камеры из радиопрозрачного термостойкого материала, заполненной газопроницаемым электропроводящим веществом-инициатором, снабженный концентратором сверхвысокочастотного электромагнитного поля, раздельными входом углеводородного газа и выходом углерода и водорода и помещенный в сверхвысокочастотный волновод, соединенный элементами связи с источником энергии сверхвысокочастотного электромагнитного поля. В отличие от прототипа, камера реактора размещена соосно в цилиндрическом сверхвысокочастотном волноводе, концентратор отделен от камеры нерадиопрозрачной газопроницаемой перегородкой. Кроме того, источник энергии сверхвысокочастотного электромагнитного поля выполнен в виде двух несвязанных между собой генераторов сверхвысокочастотного электромагнитного излучения, один из которых дополнительно соединен элементами связи с камерой реактора, другой – с концентратором сверхвысокочастотного электромагнитного поля.
Для более эффективного использования тепла, выделяемого в тепловой зоне реактора, а также для охлаждения стенки сверхвысокочастотного волновода вход газа выполнен в нижней части волновода вблизи расположения нерадиопрозрачной перегородки, а между стенками камеры и сверхвысокочастотного волновода выполнен зазор для прохождения углеводородного газа на вход газа в верхней части камеры реактора.
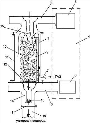
На чертеже схематически представлено устройство для получения углерода и водорода из углеродного газа с входом газа, выполненным в нижней части волновода вблизи расположения нерадиопрозрачной перегородки.
Устройство состоит из проточного реактора 1, элементов связи 2 и 5, источника энергии сверхвысокочастотного электромагнитного поля 4, выполненного в виде двух генераторов сверхвысокочастотного электромагнитного излучения 5 и 6, входа газа 7 и выхода газа 8. Проточный реактор 1 содержит продолговатую цилиндрическую камеру 9 из радиопрозрачного термостойкого материала, например кварцевого стекла, заполненную газопроницаемым электропроводящим веществом-инициатором 10 (например: порошок железа, никеля, никелид титана и т.п.). Камера 9 размещена в цилиндрическом сверхвысокочастотном волноводе 11 вдоль его оси. На выходе камеры 9 установлена нерадиопрозрачная газопроницаемая перегородка 12 (например, металлическая сетка). Выход камеры 9 через нерадиопрозрачную газопроницаемую перегородку 12 соединен с концентратором 13 сверхвысокочастотного электромагнитного поля, в зоне которого осуществляют разложение возбужденных молекул газа на углерод и водород действием энергии сверхвысокочастотного электромагнитного излучения от генератора 6 сверхвысокочастотного электромагнитного излучения, который соединен с концентратором 13 и с сверхвысокочастотным волноводом 11 с помощью элемента связи 5. Нерадиопрозрачная газопроницаемая перегородка 12 обеспечивает прохождение газового потока из объема камеры 9 в объем, где располагается концентратор 13 сверхвысокочастотного электромагнитного поля, и исключает проникновение сверхвысокочастотных полей из одного объема в другой. Концентратор 13 может быть выполнен, например, в виде семейства игл из тугоплавкого материала или обрезков тонкой проволоки из этого материала. Другой генератор 5 сверхвысокочастотного электромагнитного излучения соединен элементом связи 2 с сверхвысокочастотным волноводом 11 и камерой 9 реактора 1. В качестве элементов связи 2 и 5 могут быть использованы коаксиально-волноводные переходы пуговичного типа. При этом концентратор 13 соединен с камерой 9 через газопроницаемую перегородку 12 с помощью полого электрода 14 коаксиально-волноводного перехода 3. В нижней части сверхвысокочастотного волновода 11 вблизи нерадиопрозрачной газопроницаемой перегородки 12 выполнен вход газа 7. В этом случае для подачи углеводородного газа на вход цилиндрической камеры 9 в полом электроде коаксиально-волноводного перехода 2 выполнены отверстия 15. Для удаления углерода и водорода из реактора 1 выход газа 8 соединен с трубой 16.
Конкретным примером реализации предлагаемого устройства, подтверждающим достижимость технического результата, является лабораторная установка, включающая кроме самого устройства измерительные блоки для корректной оценки параметров процесса. Проточный реактор 1 цилиндрического типа содержит цилиндрическую кварцевую камеру 9 диаметром 54 мм, длиной 400 мм. Камера 9 заполнена веществом-инициатором 10 из порошка железа с размером зерен порошка 0,1-2,0 мм на 80% ее объема. Кварцевая камера 9 расположена соосно в цилиндрическом сверхвысокочастотном волноводе 11 с фланцами. Диаметр цилиндра волновода 11 составляет 110 мм, высота 420 мм. На выходе камеры 9 установлена перегородка 12 из сетки из нержавеющей проволоки с геометрической прозрачностью 0,3-0,4. Подвод СВЧ-энергии в камеру 9 осуществляется из источника 4 от генератора 5 сверхвысокочастотного излучения магнитного типа с частотой 2450 МГц с регулируемой мощностью до 1,5 кВт в непрерывном режиме колебаний с помощью коаксиально-волноводного перехода 2 пуговичного типа, сечение которого 90×45 мм. Внешний электрод коаксиально-волноводного перехода 2 с диаметром 40 мм плавно переходит к диаметру 110 мм и соединяется с помощью фланцев с сверхвысокочастотным волноводом 11. Внутренний электрод коаксиально-волноводного перехода 2 выполнен в виде полого конуса с вершиной диаметром 16 мм, с основанием диаметром 36 мм, с отверстиями 15 диаметром 8 мм для прохождения газа в камеру. Электрический контакт конуса с веществом-инициатором обеспечивается путем его погружения в вещество-инициатор. Такая конструкция подвода сверхвысокочастотной энергии обеспечивает хорошее согласование выхода генератора сверхвысокочастотного излучения с входом реактора и обеспечивает эффективное поглощение сверхвысокочастотной энергии веществом-инициатором от 80% до 90%. Подвод СВЧ-энергии в область концентратора 13 осуществляется из источника 4 от генератора 6 сверхвысокочастотного излучения магнетронного типа с частотой 2450 МГц с регулируемой мощностью до 3 кВт в непрерывном режиме колебаний с помощью коаксиально-волноводного перехода 3 пуговичного типа, сечение которого 90×45 мм. Внешний электрод коаксиально-волноводного перехода 3 диаметром 40 мм соединен с помощью фланцев с трубой 16, также имеющей диаметр 40 мм, и образует выход газа 8. Концентратор 13 изготовлен из отрезков вольфрамовой микропроволоки, которая разупорядочена, и установлен на конце полого внутреннего электрода коаксиально-волноводного перехода 3, имеющего диаметр 16 мм. Газ в область концентратора поступает с выхода кварцевой камеры через перегородку 12 через полый внутренний электрод 14 и через неупорядоченные отрезки вольфрамовой микропроволоки. Вход газа 7 с помощью газопровода через регулятор расхода газа подключается либо к емкости с углеводородным газом, либо к емкости с азотом.
Для сбора выходных продуктов к трубе 16 подключены сборник углерода, блок отбора водородосодержащей газовой смеси и трубопровод для экстренного сброса продуктов в атмосферу.
Устройство работает следующим образом.
Через реактор для вытеснения из него кислорода продувают в течение 2-4 минут азот со скоростью 10 мл/с, после чего включают генератор 5 сверхвысокочастотного излучения. Сверхвысокочастотным излучением мощностью до 1,5 кВт от этого генератора 5 осуществляется разогрев частиц вещества-инициатора под действием наведенных вихревых токов и диссипации энергии на резистивных потерях до температуры 450°С-600°С. Измерение температурного режима реактора осуществляется пирометром. Температурный режим регулируется путем изменения выходной мощности генератора 5. Одновременно между частицами вещества-инициатора 10 за счет сверхвысокочастотных полей возникают электрические микроразряды, а также автоэлектронная эмиссия, переходящая по мере повышения температуры частиц в термоэлектронную. Эти микроразряды препятствуют отложению углерода на частицах вещества-инициатора 10, возникающему в результате конверсии углеводородного газа на углерод и водород. Это позволяет увеличить срок активности частиц вещества-инициатора и эффективности процесса конверсии в целом.
При достижении рабочей температуры в тепловой зоне реактора 1 включают генератор 6 сверхвысокочастотного излучения. Сверхвысокочастотное излучение мощностью до 3 кВт от этого генератора 6 в области концентратора 13 инициирует высокочастотный объемный разряд, который создает плазму с температурой 1000°С и выше.
Высокочастотный объемный разряд инициируется за счет того, что концентратор 13 выполнен в виде отрезков тонкой проволоки, что приводит к увеличению напряженности сверхвысокочастотного поля.
Увеличение напряженности поля может быть стократным и более [С.П.Бугаев, Е.Н.Литвинов, Г.А.Месяц, Д.И.Прокуровский. УФН. – 1975 – т.115 – вып.1 – с.101-120]. При таких напряженностях нарастает автоэлектронная эмиссия, разогрев острий проволоки катализатора до 1000°С и выше и рост термоэлектронной эмиссии. В совокупности возникает лавинно развивающийся процесс, приводящий к псевдокоронному разряду. Последний, проходя стадии стримеров и плазменных каналов, заполняет объем реактора с максимумом в области концентратора. Для такого разряда характерна генерация плазмы атмосферного давления с высокой температурой 4000°С-5000°С. Действие такой плазмы на углеводородный газ по внешним признакам (разложение молекул газа) сходно с действием катализатора в химических реакциях и получило название плазмо-каталитическая реакция.
Возникновение разряда определяется визуально по его свечению через смотровое окно, установленное в области концентратора. После этого регулятором газа прекращают подачу азота, замещая его смесью углеводородных газов с преимущественным (94,9%) содержанием метана (таблица 1). Время контакта газа с веществом-инициатором, т.е. его промежуточных превращений и возбуждение молекул газа, около 3 с. Окончательное разложение газа на углерод и водород происходит в области разряда. Чистые выходные компоненты, а также не успевшие (в небольшом количестве) прореагировать остатки исходного газа выносятся плазменной струей через выход реактора 8 в трубу 16, где далее собираются селективно в сборнике углерода и в блоке отбора водородосодержащей газовой смеси. Результаты тестовых испытаний устройства, полученные из хроматографического анализа и анализа на рентгеновском дифрактометре, приведены в таблице 2 для четырех примеров вариации вещества-инициатора.
Результаты свидетельствуют:
1. При вводе углеводородного газа на вход реактора и его прохождении через вещество-инициатор под действием повышенной температуры (400°С-700°С) и энергии микроразрядов, возбуждаемых между отдельными частицами вещества-инициатора короткоимпульсными пучками эмитированных электронов, происходит образование непредельных углеводородов (этилен, ацетилен), а также генерация активных частиц (радикалы, ионы, возбужденные молекулы), способствующих разложению углеводородов в цепных реакциях [В.Д.Русинов, С.А.Этиван и др. Химия высоких энергий. – 1999 – т.3 – 1 – с.59-66]. Конвертированные и оставшиеся с возбужденными молекулами газы газовым потоком выносятся в зону концентратора СВЧ-поля, где в высокотемпературной плазме разряда окончательно разлагаются на углерод и водород с высокой степенью конверсии и выносятся из реактора интенсивным газовым потоком.
2. На степень конверсии газа и модификацию углерода существенное влияние оказывают уровни мощностей сверхвысокочастотного излучения, подаваемые как в вещество-инициатор, так и в область концентратора сверхвысокочастотного электромагнитного поля, которые можно независимо изменить во время конверсии газа и достигать наибольшую эффективность технологического процесса.
3. Устройство в части энергопитания и эксплуатации в результате независимой работы генераторов сверхвысокочастотного излучения позволяет оптимизировать энергопотребление установки, вести технологический процесс непрерывно и в масштабах промышленного производства получать заметное сокращение расхода энергии и издержек (экономическая эффективность).
4. Использование устройства для производства таких ценных для нанотехнологий и водородной технологии продуктов, как ультрадисперсные углеродные нанотрубки, фуллерены и водород, позволяет снизить их себестоимость, что предвещает хорошую перспективу их производства и реализации.
5. В устройстве абсолютный выход углерода и водорода прямопропорционален объему реактора и мощности сверхвысокочастотных генераторов. Поэтому нет принципиальных препятствий для экстенсивного промышленного масштабирования производства продуктов.
Приведенные выводы, а также нынешняя степень готовности устройства достаточны для удовлетворения критерия «промышленная применимость».
| Таблица 1 |
| Состав углеводородного газа, об.% |
| Метан (СН4) |
Этан (С2Н6) |
Пропан (С3Н3) |
i-Бутан (I-C4) |
n-Бутан (n-С4) |
| 94,9 |
2,65 |
1,46 |
0,38 |
0,61 |
| Таблица 2 |
| Выход продуктов от используемых материалов инициатора |
| Инициатор |
Конверсия метана, % |
Концентрация водорода, об.% |
Концентрация об.% |
Содержание нанотрубок углерода и размер окр. |
Содержание аморфного углерода, об.% |
| об.% |
нм |
| Fe |
54,5 |
69,39 |
2,19 |
78,24 |
3,7 12,4 |
4,04 |
| Ni |
71,97 |
81,11 |
4,02 |
56,51 |
7,12 14,92 |
21,24 |
| TiNi |
42,4 |
52,25 |
8,77 |
46,13 |
9,12 |
45,00 |
| Mo |
77,56 |
84,63 |
3,11 |
24,91 |
26,26 37,22 |
64,89 |
Формула изобретения
1. Устройство для получения углерода и водорода из углеводородного газа, включающее проточный реактор, содержащий продолговатую цилиндрическую камеру из кварцевого стекла, заполненную газопроницаемым электропроводящим веществом-инициатором, выбранным из группы: железо, никель, молибден, никелид титана, снабженный концентратором сверхвысокочастотного электромагнитного поля, изготовленным из отрезков вольфрамовой микропроволоки, раздельными входом углеводородного газа и выходом углерода и водорода, и помещенный в сверхвысокочастотный волновод, соединенный элементами связи с источником энергии сверхвысокочастотного электромагнитного поля, отличающееся тем, что камера реактора размещена в цилиндрическом сверхвысокочастотном волноводе вдоль его оси, причем концентратор отделен от камеры нерадиопрозрачной газопроницаемой перегородкой, выполненной в виде металлической сетки из нержавеющей проволоки, а источник энергии сверхвысокочастотного электромагнитного поля выполнен в виде двух несвязанных между собой генераторов сверхвысокочастотного электромагнитного излучения, один из которых соединен с волноводом элементами связи, выполненными в виде коаксиально-волноводного перехода пуговичного типа, а другой генератор – с концентратором сверхвысокочастотного электромагнитного поля.
2. Устройство по п.1, отличающееся тем, что вход газа выполнен в нижней части сверхвысокочастотного волновода вблизи металлической сетки из нержавеющей проволоки, а между стенками камеры и сверхвысокочастотного волновода выполнен зазор для прохождения углеводородного газа на вход газа в верхней части камеры реактора.
РИСУНКИ
|
|