|
|
(21), (22) Заявка: 2007117031/15, 08.05.2007
(24) Дата начала отсчета срока действия патента:
08.05.2007
(43) Дата публикации заявки: 20.11.2008
(46) Опубликовано: 27.05.2010
(56) Список документов, цитированных в отчете о поиске:
US 6517708 B1, 11.02.2003. RU 2295493 C2, 20.03.2007. RU 2270017 C1, 20.02.2006. RU 2270590 C1, 27.02.2006. RU 2287318 C2, 20.11.2006. US 6332914 B1, 25.12.2001. RU 2182592 C2, 20.05.2002. US 6348153 B1, 19.02.2002.
Адрес для переписки:
123100, Москва, Шмитовский пр., 2, стр. 2, Агентство “Ермакова, Столярова и партнеры”, И.А.Столяровой
|
(72) Автор(ы):
Соловьев Сергей Павлович (RU)
(73) Патентообладатель(и):
Вудфорд Ассошиэйтс Лимитэд (GB)
|
(54) СПОСОБ И УСТАНОВКА ДЛЯ ПРОИЗВОДСТВА ЛЕГКОЙ ВОДЫ
(57) Реферат:
Изобретение может быть использовано в пищевой промышленности, косметике и парфюмерии, медицине, сельском и жилищно-коммунальном хозяйстве, промышленности. Установка состоит из отдельной емкости 1 для хранения исходной воды, насоса 2 для подачи исходной воды в фильтровальный элемент 3, продуктовой емкости 7 и регулятора потока 6 в виде ламинарного сопротивления. До поступления в установку воду подвергают предварительной очистке от механических примесей, умягчению, обезжелезиванию, удалению органики. В корпусе фильтровального элемента 3 поток воды V с концентрацией 1H2 16О, равной С, пропускают вдоль оси мембраны 4. Под действием давления от 0,1 до 30 бар часть воды объемом V1 проходит через мембрану 4 и в виде легкой высокочистой воды 1H2 16О с концентрацией C1 направляется в продуктовую емкость 7. Второй поток воды объемом V2 движется вдоль мембраны 4, омывая и регенерируя ее, затем поступает на слив 5 в виде отработанной воды, проходя через регулятор соотношения потоков 6. При этом V=V1+V2 и C1>C. Полученный объем легкой воды V1 составляет от 0,05 до 0,8 от общего объема V исходной воды, поступившей на фильтрацию. Содержание C1 легких молекул 1H2 16О в полученной легкой воде составляет не менее 99,734% от общего количества Н2О, концентрация 17O в полученной легкой воде составляет не более 372 ppm, а концентрация 18О в полученной легкой воде составляет не более 1960 ppm. Изобретение позволяет получать легкую высокочистую воду без применения дополнительных реагентов и растворителей, минимизировать фазовые переходы, повысить энергосбережение при соблюдении экологических норм. 2 н. и 58 з.п. ф-лы, 10 табл., 2 ил.
Изобретение относится к способу и устройству для очистки воды от примесей в виде молекул воды, содержащих в своем составе тяжелые изотопы водорода и кислорода, а более конкретно – к способу и установке для получения легкой, высокочистой воды с бóльшим содержанием легких молекул 1Н2 16О.
Качество и чистота воды, используемой в различных областях промышленности, вносят существенный вклад в качество конечного продукта и влияют на технологические характеристики процесса производства. Качество и экологичность пищевых продуктов и напитков, в том числе питьевой воды, определяют качество жизни и здоровья человека. В связи с этим проблема очистки воды для её использования в различных отраслях промышленности стоит очень остро.
Вода, с точки зрения химии, является веществом, состоящим из молекул Н2О. В природе совершенно чистой воды не существует. Природная вода всегда в той или иной мере содержит механические, химические и биологические примеси. Разными способами очистки количество этих примесей в воде может быть снижено до весьма низких уровней. Однако при этом примеси в виде молекул воды, содержащих тяжелые изотопы водорода и кислорода, могут составлять в природной воде суммарно по весу до 2,97 г/кг (расчеты приведены ниже).
Вода является неотъемлемым компонентом всех биологических систем. Ее функции чрезвычайно многообразны и не ограничиваются ролью среды, в которой происходят биохимические процессы и диффузия метаболитов. Вода принимает непосредственное участие в химических и биохимических реакциях, активно участвует в структурообразовании и стабилизации биополимеров и надмолекулярных систем, обеспечивает конформационную подвижность биополимеров, участвует в процессах осморегуляции и транспорта веществ [«Пищевая химия». Под ред. Нечаева А.П. Санкт-Петербург, из-во «ГИОРД», 2003 г]. Присутствие в воде избыточного количества тяжелых изотопов негативно влияет на живые организмы [Kushner D.J., Baker F., Dunstall T.G. Can. J. Physiol. Pharmacol. 1999, Feb. 77(2): 79-88].
Научные разработки и многие технологические процессы в промышленности также требуют применения воды с очень высокой степенью чистоты, включая однородность ее изотопного состава.
В связи с этим актуальной является разработка способов получения воды с меньшим содержанием тяжелых изотопов и одновременно являющейся высокочистой водой, т.е. водой с минимальным количеством посторонних примесей.
Общеизвестно, что молекула воды Н2О состоит из двух химических элементов – водорода Н и кислорода О. В свою очередь каждый элемент представляет собой совокупность нескольких изотопов [Глинка. «Общая химия». Из-во «Химия», 1975 г].
В дальнейшем в тексте:
понятие «водород» (буквенное обозначение: Н) подразумевает под собой химический элемент как совокупность всех возможных изотопов водорода;
понятие «кислород» (буквенное обозначение: О) подразумевает под собой химический элемент как совокупность всех возможных изотопов кислорода;
понятие «вода» подразумевает под собой любую реальную воду, в том числе природную или полученную промышленным способом, представляющую собой смесь Н2О и большого числа различных веществ, в виде механических примесей, растворенных газов, солей, биологических примесей и т.д., подлежащих или не подлежащих удалению в зависимости от дальнейшего применения воды;
буквенное обозначение Н2О подразумевает под собой совокупность всех возможных изотопных разновидностей молекул воды, образованных изотопами химических элементов – водорода Н и кислорода О.
Водород в природе представлен стабильными нерадиоактивными изотопами:
– протием (буквенное обозначение 1Н);
– дейтерием (буквенное обозначение 2Н, историческое обозначение D, далее по тексту используются буквенные обозначения D либо равнозначное 2Н).
Кислород, в свою очередь, представлен тремя стабильными нерадиоактивными изотопами:
– кислородом-16 (буквенное обозначение 16О);
– кислородом-17 (буквенное обозначение 17О);
– кислородом-18 (буквенное обозначение 18О).
Данное изобретение касается только вышеперечисленных стабильных, нерадиоактивных изотопов, так как присутствие в воде, используемой для нужд человека, радиоактивных элементов недопустимо.
Стабильные изотопы водорода со стабильными изотопами кислорода образуют 9 изотопных разновидностей молекул воды, а именно: 1Н2 16О, 1Н2 17О, 1Н2 18О, 1HD16O, 1HD17O, 1HD18O, D16O, D17O, D18O. В количественном отношении основная масса воды природных источников представлена молекулами 1Н2 16О, состоящими из легких изотопов 1Н и 16О. Количество молекул воды, содержащих тяжелые изотопы D, 17О, 18О, зависит от концентрации указанных изотопов, которая в природной воде колеблется в пределах, зафиксированных в основных стандартах изотопного состава гидросферы SMOW и SLAP
Объем запасов воды в различных резервуарах гидросферы Земли равен примерно 1834 млн м3. Из них доля вод Мирового океана составляет 1370 млн м3, речных и озерных вод – 0,231 млн м3, ледниковых вод – 24 млн м3 и.т.д. [Андреев Б.М., Зельвенский Я.Д., Катальников С.Г. «Тяжелые изотопы водорода в ядерной технике». Москва, «ИздАТ», 2000 г.].
Поскольку основная часть воды на Земле сосредоточена в Мировом океане и океаническая вода весьма стабильна по изотопному составу, количественное содержание тяжёлых изотопов 2H и 18О в ней принято в качестве международного стандарта SMOW (стандарт среднеокеанической воды).
Для стандарта SMOW отношение содержания в воде дейтерия к протию составляет D/1H=155,76×10-6, а отношение содержания изотопов кислорода составляет 18О/16О=2005,20×10-6 [Ферронский В.И., Поляков В.А. «Изотопия гидросферы». Из-во «Наука», 1983 г.].
Концентрация изотопов D, 17О, 18О в воде может выражаться либо в долях, либо в атомных процентах (ат.% или ), либо в единицах ppm (part per million – часть на миллион) [Андреев Б.М., Зельвенский Я.Д., Катальников С.Г. «Тяжелые изотопы водорода в ядерной технике». Москва, «ИздАТ», 2000 г; Somlyai G. «Let’s Defeat Cancer !». Akademiai Kiado, Budapest, 2001]. Сумма концентраций протия и дейтерия, равно как и сумма концентраций трех изотопов кислорода, равна 100 ат.% или миллиону (в единицах ppm).
По международному стандарту SMOW абсолютное содержание дейтерия и кислорода-18 в океанической воде составляет:
DSMOW/1HSMOW=(155,76±0,05)×10-6 или 155,76 ppm
18OSMOW/16OSMOW=(2005,20±0,45)×10-6 или 2005 ppm [Ферронский В.И., Поляков В.А. «Изотопия гидросферы». Из-во «Наука», 1983 г.].
Именно эти значения в стандарте SMOW приняты за точку отсчета.
Существуют относительные единицы, выражающие содержание дейтерия и кислорода-18 в молекулах воды, приравненные к нулю и обозначаемые для дейтерия как D=0 0/00 (или 155,76 ppm), для кислорода-18 18О=0 0/00 (или 2005,2 ppm).
В образцах проб воды с содержанием изотопных разновидностей молекул H2O, отличающихся от SMOW, величины D и 18О выражаются 0/00 в виде относительного отклонения от нулевого значения в большую (со знаком +) или меньшую (со знаком -) сторону.
Для расчета единиц D и 18О используется следующая формула [Creig Н. «Standard for reporting concentration of deuterium and oxygen-18 in natural water». Science,1961, vol.133, p.1833-1834]:


В результате проведения математических преобразований и подстановок значений вышеуказанных величин, получаем следующую формулу для пересчета концентрации из относительных величин D и 18О в единицы ррm:
(D)ppm=155,46( D/1000+1)
(18O)ppm=2005,2( 18O/1000+1),
где: (D)ррm и (18О) ррm – содержание соответственно D и 18О, выраженное в ррm.
Наименьшие концентрации дейтерия и кислорода-18, обнаруженные в природной воде, описываются международным стандартом SLAP (стандарт легких антарктических осадков). Концентрация дейтерия по SLAP составляет
D/1H=89×10-6 (89 ррт или D=-428 0/00). Концентрация кислорода-18 по SLAP составляет 18О/16О=1894×10-6 (1894 ррm или 18О=-55,50/00) [Ферронский В.И., Поляков В.А. «Изотопия гидросферы». Из-во «Наука», 1983 г.].
Изменение концентрации кислорода-17 в природных водах в связи с его физико-химическими свойствами достаточно жестко связано с изменением концентрации кислорода-18. По данным разных авторов соотношение концентраций 18О/17O находится в пределах от 4,9 до 5,5 [Шатенштейн А.И., Варшавский Я.М. и соавт. «Изотопный анализ воды». Москва. Издательство Академии Наук, 1954 г., стр.15; ACOS Bulletin, 21, October 1979, стр.14].
Таким образом, концентрация кислорода-17 в природных водах по SMOW составляет 372 ppm (0,0372 ат.%), а по SLAP снижается до 368 ppm (0,0368 ат.%) [Андреев Б.М., Зельвенский Я.Д., Катальников С.Г. «Тяжелые изотопы водорода в ядерной технике». Москва, «ИздАТ», 2000 г; Ферронский В.И., Поляков В.А. «Изотопия гидросферы». Из-во «Наука», 1983 г.; Шатенштейн А.И., Варшавский Я.М. и соавт. «Изотопный анализ воды». Москва. Издательство Академии Наук, 1954 г., стр.15; ACOS Bulletin, 21, October 1979, стр.14].
Вышеприведенные стандартные значения концентраций тяжелых изотопов дают возможность подсчитать процентное и, в конечном итоге, весовое количество изотопных разновидностей молекул Н2О в воде из природных источников в рамках стандартов SMOW и SLAP.
В воде между молекулами H2O происходит интенсивный изотопный обмен атомами водорода (протием и дейтерием). При этом устанавливается термодинамическое равновесие между изотопными разновидностями молекул воды, содержащими дейтерий. В результате этого процесса наибольшую в количественном отношении долю молекул воды, содержащих дейтерий, составляют молекулы 1HD16O. В водах, близких по изотопному составу к природным, количественная доля молекул D2 16О, D2 17О, D2 18О, 1HD17O, 1HD18O мала и составляет в сумме менее 0,0009 г/кг. В дальнейшем в некоторых упрощенных расчетах доля этих молекул может присоединяться к доле 1HD16O.
В результате перераспределения атомов дейтерия между молекулами воды величина 1HD16O/1Н2 16О удваивается по сравнению с величиной D/1H.
Так, для SMOW при соотношении концентрации D/1H=155,76×10-6 соотношение 1HD16O/1Н2 16О удваивается и составляет 311,52×10-6.
Таким образом, в природных водах в 1000 000 молекул Н2О в среднем содержится 997284 молекул 1H2 16O, 311 молекул 1HD16O, 390 молекул 1H2 17O и около 2005 молекул 1H2 18O. Массовая доля и соответствующее ей весовое количество изотопных разновидностей молекул Н2О в природной воде, соответствующей стандарту SMOW, приведено в таблице 1. Аналогичные показатели для природной воды, соответствующей стандарту SLAP, приведены в таблице 2.
 
При расчете молекулярных масс изотопных разновидностей молекул воды использовались следующие значения атомных масс в международных углеродных единицах:
масса 1Н равна 1,007825035
масса D равна 2,014101779
масса 16О равна 15,99491463
масса 17O равна 16,9991312
масса 18O равна 17,9991603 [Куликов И.С. «Изотопы и свойства элементов». Справочник. Москва. «Металлургия», 1990].
Как видно из таблиц, содержание 1Н2 16О в природной воде находится в пределах от 997,0325 г/кг (что составляет 99,729%) до 997,3179 г/кг (что составляет 99,755%). Приведенные расчеты полностью согласуются с данными других авторов, в соответствие с которыми концентрация 1H2 16O в природной воде лежит в диапазоне от 99,731% до 99,757% [Rothman et al., J. Quant. Spectrosc. Radial Transfer, 1998, 60, 665. Rothman et al., J. Quant. Spectrosc. Radiat. Transfer, 2003, 82, p.9; R. van Trigt, Laser Spectrometry for Stable Isotope Analysis of Water Biomedical and Paleoclimatological Applications, 2002, Groningen: University Library Groningen, p. 50].
В совокупности в природной воде весовая концентрация молекул 1Н2 17О, 1Н2 18О, 1HD16O, 1HD17O, 1HD18O, D2 16O, D2 17O, D2 18O может составлять до 2,97 г/кг, что является значимой величиной, сопоставимой с содержанием в природной воде других характерных компонентов. Например, общее солесодержание в питьевой воде может составлять до 1 г/кг, а в минеральной до 5 г/кг и выше. Переход от условных атомарных единиц к весовым показателям количества изотопных разновидностей молекул H2O позволяет наглядно оценить чистоту и однородность воды по изотопному составу.
Наличие примесей в виде тяжелых молекул воды, уменьшая долю 1Н2 16О, ухудшает качество воды, так как активным действующим началом является именно вода с молекулярным составом 1Н2 16О, т.е. собственно «вода по определению» в химическом, физическом и биологическом смыслах. Т.е. эффективность воды в качестве универсального растворителя, катализатора, носителя и т.д. как в биосистемах, так и в технологических процессах, может быть существенно повышена за счет увеличения в ее составе доли 1Н2 16О.
Молекула 1Н2 16О является наиболее легкой из совокупности изотопных разновидностей молекул воды. Поэтому вода с увеличенной долей 1Н2 16О характеризуется меньшим молекулярным весом, обладает меньшей плотностью. Такая вода в заявленном изобретении терминологически определяется как легкая вода.
В уровне техники представлены способы получения легкой воды, основанные на процессах разделения изотопов: ректификация, электролиз, центрифугирование, способ, включающий операции охлаждения воды и последующего оттаивания замороженной воды [RU 2295493; RU 2182562; RU 2031085; RU 2091335; RU 2091336]. Тем не менее, в связи с увеличением в настоящее время потребности в легкой воде разработка новых способов ее производства остается актуальной. Кроме того, предполагается, что в ближайшем будущем основой мировой энергетики станет управляемый термоядерный синтез, а дейтерий и радиоактивный тяжелый водород тритий – компоненты термоядерного топлива. Следовательно, вероятность их накопления в окружающей среде будет нарастать.
В уровне техники также представлены мембранные методы разделения изотопов. Однако до настоящего времени эти технологии применялись лишь для веществ в газообразном состоянии (Шапошник В.А. «Мембранные методы разделения смесей веществ»).
Задача настоящего изобретения – реализация принципиально нового подхода в производстве легкой воды, т.е. воды с бóльшим содержанием легких молекул 1Н2 16О, который не имеет аналогов в уровне техники.
Поставленная задача решается за счет разработки способа получения легкой воды, представляющей собой высокочистую воду с большим содержанием легких молекул 1Н2 16О, предусматривающего очистку исходной воды через фильтровальный элемент мембранного типа, при этом содержание легких молекул 1Н2 16О в полученной легкой воде составляет не менее 99,734% от общего количества Н2О.
Предложенный способ относится к физическим методам разделения изотопов, основанным непосредственно на разности масс изотопных молекул, атомов и ионов, в том числе в гидратированном состоянии. Это позволяет удалять из воды молекулы, содержащие в своем составе тяжелые изотопы водорода и кислорода, включая их радиоактивные разновидности, в частности тритий.
Количественной характеристикой разделительного эффекта является коэффициент разделения изотопов, представляющий собой отношение относительных концентраций целевого продукта, в данном случае – это молекула 1Н2 16О в богатой и бедной фракциях:
=х(1-у)/[(1-х)у],
где х,у – молекулярные доли целевого продукта в богатой и бедной фракциях;
х/(1-х); у/(1-у) – относительные концентрации целевого продукта в богатой и бедной фракциях.
Коэффициент разделения молекул при данном способе зависит от характеристик мембраны (материал, конфигурация, размер и геометрия пор и т.д.) и технологии процесса (параметры давления, температуры, дополнительные воздействия, например магнитное), которые, в свою очередь, определяются желаемыми количественными характеристиками получаемой легкой воды.
Отличительной чертой предложенного мембранного способа является также то, что и бедная, и богатая фракция представляют собой воду, при этом фазовые переходы в процессе разделения на мембране отсутствуют.
Более того, предложенный способ позволяет в едином технологическом процессе, т.е. одновременно, осуществлять процесс изотопного разделения и очистку воды от всех посторонних примесей, включая механические, химические, биологические загрязнения.
Содержание легких молекул 1Н2 16О в полученной легкой воде может составлять не менее 997,08 г/кг от общего количества Н2O.
Концентрация D в полученной легкой воде может составлять не более 138 ppm.
Концентрация 17О в полученной легкой воде может составлять не более 372 ppm.
Концентрация 18О в полученной легкой воде может составлять не более 1960 ppm.
Значение D в полученной легкой воде может находиться в диапазоне от -994 0/00 до -114 0/00.
Значение 18О в полученной легкой воде может находиться в диапазоне от -500 0/00 до -22 0/00
Суммарное солесодержание в полученной легкой воде может составлять не более 20 мкг/л.
Легкая вода может представлять собой воду, выбранную из группы: дистиллированная вода, вода общелабораторного качества, деионизованная вода, суперчистая вода, сверхчистая вода, ультрачистая вода, вода реагентного качества.
Легкая вода может представлять собой воду, выбранную из группы: вода для питьевых целей, в том числе для производства алкогольных и безалкогольных напитков; вода для пищевых целей, в том числе для производства пищевых продуктов; вода для косметических целей и процедур, в том числе для производства косметической продукции; вода для парфюмерно-гигиенических целей и процедур, в том числе для производства парфюмерно-гигиенической продукции; вода для медицинских целей и процедур, в том числе для производства лекарственных средств и бальнеологии; вода для технических целей, в том числе для сельского хозяйства, растениеводства, животноводства; вода для технологических процессов, в том числе в промышленности, жилищно-коммунальном хозяйстве.
Неэксклюзивными примерами воды для косметических целей и процедур могут являться: вода для умывания, вода для ванн, вода для компрессов, во всех случаях – как в исходном виде, так и с разнообразными добавками.
Неэксклюзивными примерами воды для парфюмерно-гигиенических целей и процедур могут являться: вода для умывания, вода для ванн, вода для компрессов, во всех случаях – как в исходном виде, так и с разнообразными добавками.
Преимущественно, легкая вода для медицинских целей и процедур может представлять собой воду для ванн, фармацевтическую воду, стерильную воду, апирогенную воду, воду для инъекций.
Метод разделения на мембране фильтровального элемента выбран из группы: диализ, осмос, диффузия, взаимодиффузия, облегченная диффузия, электродиализ, Доннановский диализ, баромембранный метод, метод первапорации или их сочетание.
Баромембранный метод выбран из группы: микрофильтрация, ультрафильтрация, нанофильтрация, обратный осмос или их сочетание.
Фильтровальный элемент выбран из группы: фильтровальный элемент плоского типа, фильтровальный элемент объемного типа или их сочетание
Фильтровальный элемент объемного типа выбран из группы: капсульный фильтровальный элемент, фильтровальный элемент патронного типа или их сочетание.
Конфигурация мембраны фильтровального элемента выбрана из группы: плоская мембрана, объемная мембрана, рулонная мембрана, трубчатая мембрана, мембрана из полых волокон
Мембрана фильтровального элемента выбрана из группы: однослойная мембрана, двухслойная мембрана, многослойная мембрана, асимметричная мембрана, изотропная мембрана.
Фильтровальный элемент выбран из группы: фильтровальный элемент с однослойной мембраной, фильтровальный элемент с двухслойной мембраной, фильтровальный элемент с многослойной мембраной, фильтровальный элемент с асимметричной мембраной, фильтровальный элемент с изотропной мембраной или их сочетанием.
Межмембранное пространство в фильтровальном элементе может быть заполнено гранулированными ионообменниками.
Материал мембраны фильтровального элемента может быть выбран из группы: природные материалы, модифицированные природные материалы, синтетические материалы или их сочетание.
Модифицированные природные материалы могут быть выбраны из группы: целлюлоза, ацетилцеллюлоза, гидратцеллюлоза, целлофан, медно-аммиачный целлофан, купрофан, смесь триацетата целлюлозы с ацетатом целлюлозы.
Синтетические материалы могут быть выбраны из группы: капрон, полиимиды, полиамиды, полисульфоны, фторопласты, полимеры фторпроизводных олефинов.
Мембрана фильтровального элемента может быть выбрана из группы: катионообменная мембрана, анионообменная мембрана, микрофильтрационная мембрана, ультрафильтрационная мембрана, нанофильтрационная мембрана, обратноосмотическая мембрана.
Размер пор в мембране фильтровального элемента может быть выбран в диапазоне: от 0,0001 мкм до 0,5 мкм
Геометрия пор в мембране фильтровального элемента может быть выбрана из группы: линейные поры, поры сложной конфигурации, сквозные поры, прерывистые поры, перпендикулярные поры, наклонные поры, трековые поры, упорядоченные поры, хаотичные поры, смешанные поры или их сочетание.
Мембрана фильтровального элемента может быть трековой мембраной.
Процесс фильтрации может происходить при давлении от 0,1 бар до 30 бар.
Фильтрация может производиться методом разделения потоков, при котором общий поток воды V с концентрацией 1Н2 16О, равной С, направляется вдоль мембраны, при этом часть воды V1 отфильтровывается через мембрану в виде легкой воды с концентрацией 1Н2 16О, равной C1, a оставшаяся часть воды V2, омывая и регенерируя мембрану, поступает на слив через регулятор соотношения потоков в виде отработанной воды, при этом V= V1+V2 и C1>С.
Полученный объем легкой воды V1 может составлять от 0,05 до 0,8 от общего объема V исходной воды, поступившей на фильтрацию.
Исходная вода, поступающая на фильтрацию, может подвергаться дополнительной обработке, выбранной из группы: механическая обработка, обработка магнитными полями, обработка электрическими полями, обработка излучением, термическая обработка, химическая обработка.
Химическая обработка исходной воды может включать в себя добавление в исходную воду компонентов, улучшающих процесс очистки исходной воды на мембране. Неэксклюзивными примерами химических агентов для такой обработки могут служить различные коагулянты, флокулянты, адсорбенты, осветлители, пеногасители, вещества, разрыхляющие осадок, образующийся на фильтровальном элементе и пр. Целью их добавления является облегчение фильтрования как технологического процесса (снижение сопротивления мембраны из-за образования плотного слоя осадка), продление службы фильтровального элемента (исключение грубых механических и некоторых химических примесей из исходной воды) и пр.
Мембрана фильтровального элемента в течение технологического процесса может подвергаться дополнительному воздействию, выбранному из группы: механическое воздействие, воздействие магнитными полями, воздействие электрическими полями, воздействие излучением, термическое воздействие, химическое воздействие. Все это также способствует облегчению фильтрования, с точки зрения технологии. Электрическая, термическая, магнитная обработка, воздействие излучением также препятствуют образованию плотного осадка на мембране, препятствуют ее бактериальному заросту. Химическая обработка служит для тех же целей. Она может осуществляться различными регенерирующими растворами, известными в уровне техники.
Мембранный способ получения легкой воды может включать каскад однотипных фильтровальных элементов, начиная с двух.
Мембранный способ получения легкой воды может включать каскад разнотипных фильтровальных элементов, начиная с двух.
Каскад может быть выбран из ряда: параллельный каскад, последовательный каскад или их сочетание.
Поставленная задача также решается за счет разработки установки для получения легкой высокочистой воды с большим содержанием легких молекул 1Н2 16О, основным узлом которой является фильтровальный элемент мембранного типа, при этом содержание легких молекул 1Н2 16О в полученной легкой воде составляет не менее 99,734% от общего количества Н2О.
Более того, предложенная установка позволяет достаточно просто решать задачу умножения однократного акта изотопного разделения путем создания многоступенчатой системы.
Более того, предложенная установка позволяет в едином технологическом процессе, т.е. одновременно, осуществлять процесс изотопного разделения и очистку воды от всех посторонних примесей, включая механические, химические, биологические загрязнения.
Содержание легких молекул 1Н2 16О в полученной легкой воде может составлять не менее 997,08 г/кг от общего количества Н2О.
Концентрация D в полученной легкой воде может составлять не более 138 ppm.
Концентрация 17O в полученной легкой воде может составлять не более 372 ppm.
Концентрация 18О в полученной легкой воде может составлять не более 1960 ppm.
Значение D в полученной легкой воде может находиться в диапазоне от -994 0/00 до -114 0/00.
Значение 18О в полученной легкой воде может находиться в диапазоне от -500 0/00 до -22 0/00.
Суммарное солесодержание в полученной легкой воде может составлять не более 20 мкг/л.
Легкая вода может представлять собой воду, выбранную из группы: дистиллированная вода, вода общелабораторного качества, деионизованная вода, суперчистая вода, сверхчистая вода, ультрачистая вода, вода реагентного качества.
Легкая вода может представлять собой воду, выбранную из группы: вода для питьевых целей, в том числе для производства алкогольных и безалкогольных напитков; вода для пищевых целей, в том числе для производства пищевых продуктов; вода для косметических целей и процедур, в том числе для производства косметической продукции; вода для парфюмерно-гигиенических целей и процедур, в том числе для производства парфюмерно-гигиенической продукции; вода для медицинских целей и процедур, в том числе для производства лекарственных средств и бальнеологии; вода для технических целей, в том числе для сельского хозяйства, растениеводства, животноводства; вода для технологических процессов, в том числе в промышленности, жилищно-коммунальном хозяйстве.
Неэксклюзивными примерами воды для косметических целей и процедур могут являться: вода для умывания, вода для ванн, вода для компрессов, во всех случаях – как в исходном виде, так и с разнообразными добавками.
Неэксклюзивными примерами воды для парфюмерно-гигиенических целей и процедур могут являться: вода для умывания, вода для ванн, вода для компрессов, во всех случаях – как в исходном виде, так и с разнообразными добавками.
Преимущественно, легкая вода для медицинских целей может представлять собой воду для ванн, фармацевтическую воду, стерильную воду, апирогенную воду, воду для инъекций.
Метод разделения на мембране фильтровального элемента выбран из группы: диализ, осмос, диффузия, взаимодиффузия, облегченная диффузия, электродиализ, Доннановский диализ, баромембранный метод, метод первапорации или их сочетание.
Баромембранный метод выбран из группы: микрофильтрация, ультрафильтрация, нанофильтрация, обратный осмос или их сочетание.
Фильтровальный элемент выбран из группы: фильтровальный элемент плоского типа, фильтровальный элемент объемного типа или их сочетание.
Фильтровальный элемент объемного типа выбран из группы: капсульный фильтровальный элемент, фильтровальный элемент патронного типа или их сочетание.
Конфигурация мембраны фильтровального элемента выбрана из группы: плоская мембрана, объемная мембрана, рулонная мембрана, трубчатая мембрана, мембрана из полых волокон.
Мембрана фильтровального элемента выбрана из группы: однослойная мембрана, двухслойная мембрана, многослойная мембрана, асимметричная мембрана, изотропная мембрана.
Фильтровальный элемент выбран из группы: фильтровальный элемент с однослойной мембраной, фильтровальный элемент с двухслойной мембраной, фильтровальный элемент с многослойной мембраной, фильтровальный элемент с асимметричной мембраной, фильтровальный элемент с изотропной мембраной или их сочетанием.
Межмембранное пространство в фильтровальном элементе может быть заполнено гранулированными ионообменниками.
Материал мембраны фильтровального элемента может быть выбран из группы: природные материалы, модифицированные природные материалы, синтетические материалы или их сочетание.
Модифицированные природные материалы могут быть выбраны из группы: целлюлоза, ацетилцеллюлоза, гидратцеллюлоза, целлофан, медно-аммиачный целлофан, купрофан, смесь триацетата целлюлозы с ацетатом целлюлозы.
Синтетические материалы могут быть выбраны из группы: капрон, полиимиды, полиамиды, полисульфоны, фторопласты, полимеры фторпроизводных олефинов.
Мембрана фильтровального элемента может быть выбрана из группы: катионообменная мембрана, анионообменная мембрана, микрофильтрационная мембрана, ультрафильтрационная мембрана, нанофильтрационная мембрана, обратноосмотическая мембрана.
Размер пор в мембране фильтровального элемента может быть выбран в диапазоне: от 0,0001 мкм до 0,5 мкм.
Геометрия пор в мембране фильтровального элемента может быть выбрана из группы: линейные поры, поры сложной конфигурации, сквозные поры, прерывистые поры, перпендикулярные поры, наклонные поры, трековые поры, упорядоченные поры, хаотичные поры, смешанные поры или их сочетание.
Мембрана фильтровального элемента может быть трековой мембраной.
Процесс фильтрации может происходить при давлении от 0,1 бар до 30 бар.
Фильтрация может производиться методом разделения потоков, при котором общий поток воды V с концентрацией 1Н2 16О, равной С, направляется вдоль мембраны, при этом часть воды V1 отфильтровывается через мембрану в виде легкой воды с концентрацией 1Н2 16О, равной C1, a оставшаяся часть воды V2, омывая и регенерируя мембрану, поступает на слив через регулятор соотношения потоков в виде отработанной воды, при этом V=V1+V2 и C1>С.
Полученный объем легкой воды V1 может составлять от 0,05 до 0,8 от общего объема V исходной воды, поступившей на фильтрацию.
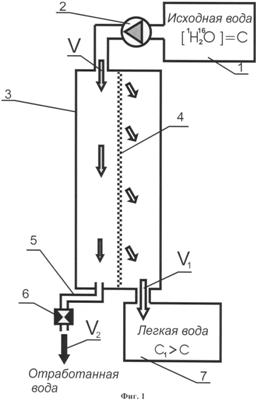
Процесс фильтрации исходной воды через мембрану с целью получения легкой высокочистой воды с бóльшим содержанием легких молекул 1Н2 16О иллюстрируется фиг. 1, где схематично изображена установка, где С концентрация 1Н2 16О в исходной воде, V объем поступающей на фильтрацию исходной воды, C1 концентрация 1Н2 16О в полученной легкой воде, причем C1>С, V1 объем полученной легкой воды, V2 объем отработанной воды, проходящей через регулятор соотношения потоков. Стрелками показаны направления потоков.
Исходная вода, поступающая на фильтрацию, может подвергаться дополнительной обработке, выбранной из группы: механическая обработка, обработка магнитными полями, обработка электрическими полями, обработка излучением, термическая обработка, химическая обработка. Все виды дополнительной обработки служат для предварительного удаления нежелательных примесей, что позволяет продлить срок службы мембранного элемента.
Химическая обработка исходной воды может включать в себя добавление в исходную воду компонентов, улучшающих процесс очистки исходной воды на мембране. Неэксклюзивными примерами химических агентов для такой обработки могут служить различные коагулянты, флокулянты, адсорбенты, осветлители, пеногасители, вещества, разрыхляющие осадок, образующийся на фильтровальном элементе, и пр. Целью их добавления также является облегчение фильтрования как технологического процесса (снижение сопротивления мембраны из-за образования плотного слоя осадка), продление службы фильтровального элемента (исключение грубых механических и некоторых химических примесей из исходной воды) и пр.
Мембрана фильтровального элемента в течение технологического процесса может подвергаться дополнительному воздействию, выбранному из группы: механическое воздействие, воздействие магнитными полями, воздействие электрическими полями, воздействие излучением, термическое воздействие, химическое воздействие. Все это также способствует облегчению фильтрования, с точки зрения технологии. Электрическая, термическая, магнитная обработка, воздействие излучением также препятствуют образованию плотного осадка на мембране, препятствуют ее бактериальному заросту. Химическая обработка служит для тех же целей. Она может осуществляться различными регенерирующими растворами, известными в уровне техники.
Все виды дополнительной обработки воды или мембраны фильтровального элемента, приведенные в зависимых пунктах, преследуют самостоятельные технические результаты, хорошо известные из уровня техники. В рамках данной заявки заявитель на них не претендует. Они приводятся лишь для указания возможности использования совместно с заявляемым способом.
Мембранный способ получения легкой воды может включать каскад однотипных фильтровальных элементов, начиная с двух.
Мембранный способ получения легкой воды может включать каскад разнотипных фильтровальных элементов, начиная с двух.
Каскад может быть выбран из ряда: параллельный каскад, последовательный каскад или их сочетание.
Разделительные ступени каскадов снабжаются необходимыми регулировочными органами: регуляторами потоков и давлений, критическими шайбами, ламинарными сопротивлениями, позволяющими выполнить условия каскадирования с достижением максимальной разделительной способности ступеней
Варьируя технологические параметры процесса мембранного разделения, можно получить заданную степень обогащения воды ее наиболее легкой составляющей 1Н2 16О, степень обогащения зависит от конкретной цели применения легкой высокочистой воды.
Техническим результатом настоящего изобретения является создание нового эффективного способа и установки для производства легкой высокочистой воды. Способ и установка, предложенные в патенте, позволяют получать легкую высокочистую воду без применения дополнительных реагентов и растворителей, минимизировать фазовые переходы, повысить энергосбережение, вести процессы при сравнительно низких температурах, итогом чего являются уменьшение затрат и удовлетворение экологических норм. При этом получение легкой воды и очищение от посторонних примесей происходит одновременно в едином технологическом процессе. Поэтому исходной водой для производства легкой высокочистой воды с повышенным содержанием 1Н2 16О может служить натуральная, природная вода, в том числе с посторонними примесями и различной степенью загрязнения, водопроводная вода, вода любой степени очистки (дистиллированная, деионизированная и т.д.).
Процесс производства легкой высокочистой воды с бóльшим содержанием легких молекул 1Н2 16О с применением способа и установки, заявленных в изобретении, продемонстрирован в примерах. Примеры приведены только для иллюстрации эффективности и возможностей данного изобретения, ни в коей мере не ограничивая области его применения.
Пример 1. Процесс производства легкой высокочистой воды с большим содержанием легких молекул 1Н2 16О с применением способа и установки, заявленных в изобретении (фиг. 1).
До поступления на установку вода с общим солесодержанием 400 мг/л подвергается предварительной очистке. Для этого она проходит через систему фильтров, в результате чего полностью освобождается от механических примесей, в ней до возможного минимума снижается содержание посторонних примесей, в том числе происходит умягчение, обезжелезивание, удаление органики.
После чего исходная вода (фиг.1) с концентрацией 1Н2 16О, равной С=99,730%, поступает в отдельную емкость [1], из которой насос [2] под давлением 15 бар подает воду объемом V=1000 л/час в корпус фильтрующего элемента [3]. Вода, попадая в корпус фильтрующего элемента [3], движется вдоль оси мембраны [4] рулонного типа. Под действием давления часть воды, двигаясь по порам мембраны, проходит через нее и по системе каналов мембраны продвигается на выход в виде легкой высокочистой воды объемом V1=300 л/час с концентрацией 1Н2 16О, равной C1=99,742%, при общем солесодержании не более 15 мкг/л для накопления в продуктовой емкости [7]. Второй поток объемом V2=700 л/час движется вдоль мембраны, омывая и регенерируя ее поверхность, и поступает на слив [5] в виде отработанной воды, проходя при этом через регулятор соотношения потоков [6].
| Таблица 3 |
 |
1Н2 16О, % |
1Н2 16О, г/кг |
D, ppm |
17O, ppm |
18O, ppm |
D, 0/00 |
18О, 0/00 |
| Исходная вода |
99,730 |
997,03 |
155 |
390 |
2005 |
0 |
0 |
| Легкая вода |
99,742 |
997,17 |
130 |
368 |
1950 |
-165 |
-27 |
Корпус фильтрующего элемента [3] выполнен из нержавеющей стали. Мембрана [4] выполнена из специально модифицированной смеси триацетат целлюлозы с размером пор 0,0001 мкм, упорядоченные поры имеют сложную конфигурацию.
Регулятор соотношения потоков [6] представляет собой регулируемое ламинарное сопротивление и поддерживает соотношение потоков таким образом, что V1 составляет 0,3 от общего объема V исходной воды, поступившей на фильтрацию.
Процесс происходит при температуре 15-30°С.
Пример 2. Процесс производства легкой высокочистой воды с большим содержанием легких молекул 1Н2 16О с применением способа и установки, заявленных в изобретении, при последовательном каскаде из двух ступеней с однотипными фильтровальными элементами (фиг. 2).
Процесс и устройство для производства легкой высокочистой воды с большим содержанием легких молекул 1Н2 16О на первой ступени каскада аналогичны описанным в примере 1.
Полученная на первой ступени каскада легкая высокочистая вода с концентрацией 1Н2 16О, равной C1=99,742%, при общем солесодержании 15 мкг/л, непосредственно (или через накопительную емкость [7]) нагнетается с помощью насоса [8] объемом V1=300 л/час в фильтровальный блок второй ступени каскада. Попадая в корпус фильтрующего элемента [9] второй ступени каскада, вода движется вдоль оси мембраны рулонного типа. Под действием давления часть воды, двигаясь по порам мембраны, проходит через нее и по системе каналов мембраны продвигается на выход в виде легкой высокочистой воды объемом V3=90 л/час с концентрацией Н2 16О, равной С3=99,747%, при общем солесодержании не более 5 мкг/л для накопления в продуктовой емкости [11]. Второй поток объемом V4=210 л/час движется вдоль мембраны, омывая и регенерируя ее поверхность, и поступает на слив [12] в виде отработанной воды второй ступени каскада, проходя при этом через регулятор соотношения потоков [13].
| Таблица 4 |
 |
1Н2 16О, % |
1Н2 16О, г/кг |
D, ppm |
17O, ppm |
18O, ppm |
D, 0/00 |
18О, 0/00 |
| Исходная вода |
99,730 |
997,03 |
155 |
390 |
2005 |
0 |
0 |
| Легкая вода |
99,742 |
997,17 |
130 |
368 |
1950 |
-165 |
-27 |
| первой ступени |
 |
 |
 |
 |
 |
 |
 |
| Легкая вода второй ступени |
99,747 |
997,22 |
117 |
364 |
1930 |
-249 |
-37 |
Регулятор соотношения потоков [13] представляет собой регулируемое ламинарное сопротивление и поддерживает соотношение потоков таким образом, что V3 составляет 0,3 от объема V1 исходной легкой воды первой ступени каскада, поступившей на фильтрацию во вторую ступень.
В результате применения последовательного каскада из двух ступеней с однотипными фильтровальными элементами концентрация [1Н2 16О] в готовом продукте возрастает: С3>C1>С.
Пример 3
Исходная вода с концентрацией 1Н2 16О, равной С=99,730%, и с общим солесодержанием 400 мг/л подвергается предварительной очистке аналогично описанной в примере 1.
Процесс очистки согласно изобретению также идет аналогично описанному в примере 1. Единственным отличием является лишь то, что корпус фильтрующего элемента [3] выполнен из пластмассы, пригодной для применения в пищевой промышленности, а мембрана [4] выполнена из специально модифицированного полиамидного композита (например, таких торговых марок, как Filmtec и Aspring) с размером пор 0,0001 мкм, упорядоченные поры имеют сложную конфигурацию.
Результаты эксперимента сведены в таблицу 5.
| Таблица 5. |
 |
1Н2 16О, % |
1Н2 16О, г/кг |
D, ppm |
17О, ppm |
18O, ppm |
D, 0/00 |
18О, 0/00 |
| Исходная вода |
99,730 |
997,03 |
155 |
390 |
2005 |
0 |
0 |
| Легкая вода |
99,745 |
997,20 |
120 |
368 |
1940 |
-230 |
-33 |
Пример 4
Исходная вода с концентрацией 1Н2 16О, равной С=99,730%, и с общим солесодержанием 400 мг/л подвергается предварительной очистке аналогично описанной в примере 1.
Процесс очистки согласно изобретению идет аналогично описанному в дополнительном примере 1. Отличием является то, что установленное ламинарное сопротивление поддерживает соотношение потоков таким образом, что V1 составляет 0,1 от общего объема V исходной воды, поступившей на фильтрацию.
Результаты эксперимента сведены в таблицу 6.
| Таблица 6 |
 |
1Н2 16О, % |
1Н2 16О, г/кг |
D, ppm |
17O, ppm |
18O, ppm |
D, 0/00 |
18O, 0/00 |
| Исходная вода |
99,730 |
997,03 |
155 |
390 |
2005 |
0 |
0 |
| Легкая вода |
99,747 |
997,22 |
117 |
364 |
1930 |
-249 |
-37 |
Пример 5
Исходная вода с концентрацией 1Н2 16О, равной С=99,730%, и с общим солесодержанием 400 мг/л подвергается предварительной очистке аналогично описанной в примере 1.
Процесс очистки согласно изобретению идет аналогично описанному в дополнительном примере 1. Отличием является то, что установленное ламинарное сопротивление поддерживает соотношение потоков таким образом, что V1 составляет 0,5 от общего объема V исходной воды, поступившей на фильтрацию.
Результаты эксперимента сведены в таблицу 7.
| Таблица 7 |
 |
1Н2 16О, % |
1Н2 16О, г/кг |
D, ppm |
17O, ppm |
18O, ppm |
D, 0/00 |
18O, 0/00 |
| Исходная вода |
99,730 |
997,03 |
155 |
390 |
2005 |
0 |
0 |
| Легкая вода |
99,735 |
997,10 |
148 |
378 |
1974 |
-50 |
-16 |
Пример 6
Исходная вода с концентрацией 1Н2 16О, равной С=99,730%, и с общим солесодержанием 400 мг/л подвергается предварительной очистке аналогично описанной в примере 1.
Процесс очистки согласно изобретению идет аналогично описанному в дополнительном примере 1. Отличием является то, что давление, создаваемое насосом, подающим воду на фильтрацию, равно 7 бар, общий объем V, подаваемый на фильтрацию, составляет 500 л/ч, объем высокочистой воды, полученной в результате, составляет 150 л/ч соответственно.
Результаты эксперимента приведены в таблице 8.
| Таблица 8 |
 |
1Н2 16О, % |
1Н2 16О, г/кг |
D, ppm |
17O, ppm |
18O, ppm |
D, 0/00 |
18O, 0/00 |
| Исходная вода |
99,730 |
997,03 |
155 |
390 |
2005 |
0 |
0 |
| Легкая вода |
99,740 |
997,14 |
138 |
370 |
1960 |
-177 |
-23 |
Пример 7
Исходная вода с концентрацией 1Н2 16О, равной С=99,730%, и с общим солесодержанием 400 мг/л подвергается предварительной очистке аналогично описанной в примере 1.
Процесс мембранной очистки проводят на аппарате плоскокамерного типа, разделительный элемент которого состоит из двух плоских (листовых) мембран, между которыми расположен пористый дренажный материал. Аппарат содержит 10 таких элементов. Элементы размещены на расстоянии 5 мм один от другого, в результате чего между ними образуются мембранные каналы, по которым циркулирует разделяемая смесь. Образовавшийся концентрат выводится из аппарата, а пермеат отводится по дренажному материалу в коллектор. Для турбулизации потока путем поперечного перемешивания и предотвращения соприкосновения проницаемых элементов применяют сетку-сепаратор. Рабочее давление аппарата составляет 40 бар. Прочие параметры процесса аналогичны приведенным в примере 1 (общий объем, поступающий на фильтрацию, 1000 л/ч, соотношение потоков – 0,3, материал мембраны – специально модифицированная смесь триацетат целлюлозы с размером пор 0,0001 мкм).
Результаты эксперимента приведены в таблице 9.
| Таблица 9 |
 |
1Н2 16О, % |
1Н2 16О, г/кг |
D, ppm |
17O, ppm |
18O, ppm |
D, 0/00 |
18O, 0/00 |
| Исходная вода |
99,730 |
997,03 |
155 |
390 |
2005 |
0 |
0 |
| Легкая вода |
99,745 |
997,2 |
120 |
368 |
1940 |
-230 |
-33 |
Пример 8
Исходная вода с концентрацией 1Н2 16О, равной С=99,730%, и с общим солесодержанием 400 мг/л подвергается предварительной очистке аналогично описанной в примере 1.
Процесс очистки согласно изобретению идет аналогично описанному в дополнительном примере 1. Отличием является то, что установленное ламинарное сопротивление поддерживает соотношение потоков таким образом, что V1 составляет 0,05 от общего объема V исходной воды, поступившей на фильтрацию, а размер пор мембраны составляет 0,5 мкм.
Результаты эксперимента сведены в таблицу 10.
| Таблица 10 |
 |
1Н2 16О, % |
1Н2 16О, г/кг |
D, ppm |
17O, ppm |
18O, ppm |
D, 0/00 |
18O, 0/00 |
| Исходная вода |
99,730 |
997,03 |
155 |
390 |
2005 |
0 |
0 |
| Легкая вода |
99,734 |
997,14 |
138 |
372 |
1960 |
-114 |
-23 |
Формула изобретения
1. Способ получения легкой воды, представляющей собой высокочистую воду с большим содержанием легких молекул 1Н2 16О, характеризующийся тем, что очистку исходной воды производят через фильтровальный элемент мембранного типа, фильтрация в фильтровальном мембранном элементе производится методом разделения потоков, при котором общий поток воды V с концентрацией 1H2 16O, равной С, направляется вдоль мембраны, при этом часть воды V1 отфильтровывается через мембрану в виде легкой воды с концентрацией 1Н2 16О, равной C1, а оставшаяся часть воды V2, омывая и регенерируя мембрану, поступает на слив через регулятор соотношения потоков в виде отработанной воды, при этом V=V1+V2 и C1>C, полученный объем легкой воды V1 составляет от 0,05 до 0,8 от общего объема V исходной воды, поступившей на фильтрацию, при этом содержание C1 легких молекул 1Н2 16О в полученной легкой воде составляет не менее 99,734% от общего количества Н2О, концентрация 17О в полученной легкой воде составляет не более 372 млн-1, а концентрация 18О в полученной легкой воде составляет не более 1960 млн-1.
2. Способ получения легкой воды по п.1, отличающийся тем, что содержание легких молекул 1H2 16О в полученной легкой воде составляет не менее 997,08 г/кг от общего количества Н2О.
3. Способ получения легкой воды по п.1, отличающийся тем, что концентрация D в полученной легкой воде составляет не более 138 млн-1.
4. Способ получения легкой воды по п.1, отличающийся тем, что значение D в полученной легкой воде находится в диапазоне от -994 до -114 .
5. Способ получения легкой воды по п.1, отличающийся тем, что значение 18О в полученной легкой воде находится в диапазоне от -500 до – 22 .
6. Способ по п.1, отличающийся тем, что суммарное солесодержание в полученной легкой воде составляет не более 20 мкг/л.
7. Способ по п.1, отличающийся тем, что легкая вода представляет собой воду, выбранную из группы: суперчистая вода, сверхчистая вода, ультрачистая вода, вода реагентного качества.
8. Способ по п.1, отличающийся тем, что легкая вода представляет собой воду, выбранную из группы: вода для питьевых целей, в том числе, для производства алкогольных и безалкогольных напитков; вода для пищевых целей, в том числе, для производства пищевых продуктов; вода для косметических целей и процедур, в том числе, для производства косметической продукции; вода для парфюмерно-гигиенических целей и процедур, в том числе, для производства парфюмерно-гигиенической продукции; вода для медицинских целей и процедур, в том числе, для производства лекарственных средств и бальнеологии; вода для технических целей, в том числе, для сельского хозяйства, растениеводства, животноводства; вода для технологических процессов, в том числе, в промышленности, жилищно-коммунальном хозяйстве.
9. Способ по п.8, отличающийся тем, что легкая вода для медицинских целей представляет собой воду, выбранную из группы: вода для ванн, фармацевтическая вода, вода для инъекций.
10. Способ по п.1, отличающийся тем, что метод разделения на мембране фильтровального элемента выбран из группы: диализ, осмос, диффузия, взаимодиффузия, облегченная диффузия, электродиализ, баромембранный метод, метод первапорации или их сочетание.
11. Способ по п.10, отличающийся тем, что баромембранный метод выбран из группы: микрофильтрация, ультрафильтрация, нанофильтрация, обратный осмос или их сочетание.
12. Способ по п.1, отличающийся тем, что фильтровальный элемент выбран из группы: фильтровальный элемент плоского типа, фильтровальный элемент объемного типа или их сочетание,
13. Способ по п.12, отличающийся тем, что фильтровальный элемент объемного типа выбран из группы: капсульный фильтровальный элемент, фильтровальный элемент патронного типа или их сочетание.
14. Способ по п.1, отличающийся тем, что конфигурация мембраны фильтровального элемента выбрана из группы: плоская мембрана, объемная мембрана, рулонная мембрана, трубчатая мембрана, мембрана из полых волокон.
15. Способ по п.1, отличающийся тем, что мембрана фильтровального элемента выбрана из группы: однослойная мембрана, двухслойная мембрана, многослойная мембрана, асимметричная мембрана, изотропная мембрана.
16. Способ по п.1, отличающийся тем, что фильтровальный элемент выбран из группы: фильтровальный элемент с однослойной мембраной, фильтровальный элемент с двухслойной мембраной, фильтровальный элемент с многослойной мембраной, фильтровальный элемент с асимметричной мембраной, фильтровальный элемент с изотропной мембраной или их сочетание.
17. Способ по п.1, отличающийся тем, что межмембранное пространство в фильтровальном элементе заполнено гранулированными ионообменниками.
18. Способ по п.1, отличающийся тем, что материал мембраны фильтровального элемента выбран из группы: целлюлоза, ацетилцеллюлоза, гидратцеллюлоза, целлофан, медно-аммиачный целлофан, смесь триацетата целлюлозы с ацетатом целлюлозы.
19. Способ по п.1, отличающийся тем, что материал мембраны фильтровального элемента выбран из группы: капрон, полиимиды, полиамиды, полисульфоны, фторопласты, полимеры фторпроизводных олефинов.
20. Способ по п.1, отличающийся тем, что мембрана фильтровального элемента выбрана из группы: катионообменная мембрана, анионообменная мембрана, микрофильтрационная мембрана, ультрафильтрационная мембрана, нанофильтрационная мембрана, обратноосмотическая мембрана.
21. Способ по п.1, отличающийся тем, что размер пор в мембране фильтровального элемента выбран в диапазоне от 0,0001 до 0,5 мкм.
22. Способ по п.1, отличающийся тем, что геометрия пор в мембране фильтровального элемента выбрана из группы: линейные поры, поры сложной конфигурации, сквозные поры, перпендикулярные поры, наклонные поры, трековые поры, упорядоченные поры, хаотичные поры, смешанные поры или их сочетание.
23. Способ по п.1, отличающийся тем, что мембрана фильтровального элемента является трековой мембраной.
24. Способ по п.1, отличающийся тем, что процесс фильтрации происходит при давлении от 0,1 до 30 бар.
25. Способ по п.1, отличающийся тем, что исходная вода, поступающая на фильтрацию, подвергается дополнительной обработке, выбранной из группы: механическая обработка, обработка магнитными полями, обработка электрическими полями, обработка излучением, термическая обработка, химическая обработка.
26. Способ по п.25, отличающийся тем, что химическая обработка исходной воды включает в себя добавление в исходную воду компонентов, улучшающих процесс очистки исходной воды на мембране.
27. Способ по п.1, отличающийся тем, что мембрана фильтровального элемента в течение технологического процесса подвергается дополнительному воздействию, выбранному из группы: механическое воздействие, воздействие магнитными полями, воздействие электрическими полями, воздействие излучением, термическое воздействие, химическое воздействие.
28. Способ по п.1, отличающийся тем, что включает каскад однотипных фильтровальных элементов, начиная с двух.
29. Способ по п.1, отличающийся тем, что включает каскад разнотипных фильтровальных элементов, начиная с двух.
30. Способ по любому из пп.28 и 29, отличающийся тем, что каскад выбран из ряда: параллельный каскад, последовательный каскад или их сочетание.
31. Установка для получения легкой высокочистой воды с большим содержанием легких молекул 1H2 16O, характеризующаяся тем, что она состоит из: отдельной емкости для хранения исходной воды; насоса, подающего исходную воду в фильтровальный элемент; фильтровального элемента; установленных после фильтровального элемента продуктовой емкости и регулятора потока в виде ламинарного сопротивления, обеспечивающего разделение потоков в фильтровальном элементе таким образом, что общий поток воды V с концентрацией 1H2 16О, равной С, направляется вдоль мембраны, при этом часть воды V1 отфильтровывается через мембрану в виде легкой воды с концентрацией 1Н2 16О, равной C1, a оставшаяся часть воды V2, омывая и регенерируя мембрану, поступает на слив через регулятор соотношения потоков в виде отработанной воды, при этом V=V1+V2 и C1>C, полученный объем легкой воды V1 составляет от 0,05 до 0,8 от общего объема V исходной воды, поступившей на фильтрацию, при этом содержание C1 легких молекул 1Н2 16О в полученной на данной установке легкой воде составляет не менее 99,734% от общего количества H2O, концентрация 17O в полученной легкой воде составляет не более 372 млн-1, а концентрация 18O в полученной легкой воде составляет не более 1960 млн-1.
32. Установка для получения легкой воды по п.31, отличающаяся тем, что содержание легких молекул 1Н2 16О в полученной легкой воде составляет не менее 997,08 г/кг от общего количества Н2О.
33. Установка для получения легкой воды по п.31, отличающаяся тем, что концентрация D в полученной легкой воде составляет не более 138 млн-1.
34. Установка для получения легкой воды по п.31, отличающаяся тем, что значение D в полученной легкой воде находится в диапазоне от -994 до -114 .
35. Установка для получения легкой воды по п.31, отличающаяся тем, что значение 18О в полученной легкой воде находится в диапазоне от -500 до -22 .
36. Установка по п.31, отличающаяся тем, что суммарное солесодержание в полученной легкой воде составляет не более 20 мкг/л.
37. Установка по п.31, отличающаяся тем, что легкая вода представляет собой воду, выбранную из группы: суперчистая вода, сверхчистая вода, ультрачистая вода, вода реагентного качества.
38. Установка по п.31, отличающаяся тем, легкая вода выбрана из группы: вода для питьевых целей, в том числе, для производства алкогольных и безалкогольных напитков; вода для пищевых целей, в том числе, для производства пищевых продуктов; вода для косметических целей и процедур, в том числе, для производства косметической продукции; вода для парфюмерно-гигиенических целей и процедур, в том числе, для производства парфюмерно-гигиенической продукции; вода для медицинских целей и процедур, в том числе, для производства лекарственных средств и бальнеологии; вода для технических целей, в том числе, для сельского хозяйства, растениеводства, животноводства; вода для технологических процессов, в том числе, в промышленности, жилищно-коммунальном хозяйстве.
39. Установка по п.31, отличающаяся тем, что легкая вода для медицинских целей представляет собой воду, выбранную из группы: вода для ванн, фармацевтическая вода, стерильная вода, вода для инъекций.
40. Установка по п.31, отличающаяся тем, что метод разделения на мембране фильтровального элемента выбран из группы: диализ, осмос, диффузия, взаимодиффузия, облегченная диффузия, электродиализ, баромембранный метод, метод первапорации, или их сочетание.
41. Установка по п.40, отличающаяся тем, баромембранный метод выбран из группы: микрофильтрация, ультрафильтрация, нанофильтрация, обратный осмос или их сочетание.
42. Установка по п.31, отличающаяся тем, что фильтровальный элемент выбран из группы: фильтровальный элемент плоского типа, фильтровальный элемент объемного типа или их сочетание
43. Установка по п.42, отличающаяся тем, что фильтровальный элемент объемного типа выбран из группы: капсульный фильтровальный элемент, фильтровальный элемент патронного типа или их сочетание.
44. Установка по п.31, отличающаяся тем, что конфигурация мембраны фильтровального элемента выбрана из группы: плоская мембрана, объемная мембрана, мембрана из полых волокон.
45. Установка по п.31, отличающаяся тем, что мембрана фильтровального элемента выбрана из группы: однослойная мембрана, двухслойная мембрана, многослойная мембрана, асимметричная мембрана, изотропная мембрана.
46. Установка по п.31, отличающаяся тем, что фильтровальный элемент выбран из группы: фильтровальный элемент с однослойной мембраной, фильтровальный элемент с двухслойной мембраной, фильтровальный элемент с многослойной мембраной, фильтровальный элемент с асимметричной мембраной, фильтровальный элемент с изотропной мембраной или их сочетание.
47. Установка по п.31, отличающаяся тем, что межмембранное пространство в фильтровальном элементе заполнено гранулированными ионообменниками.
48. Установка по п.31, отличающаяся тем, что материал мембраны фильтровального элемента выбран из группы: целлюлоза, ацетилцеллюлоза, гидратцеллюлоза, целлофан, медно-аммиачный целлофан, смесь триацетата целлюлозы с ацетатом целлюлозы.
49. Установка по п.31, отличающаяся тем, что материал мембраны фильтровального элемента выбран из группы: капрон, полимииды, полиамиды, полисульфоны, фторопласты, полимеры фторпроизводных олефинов.
50. Установка по п.31, отличающаяся тем, что мембрана фильтровального элемента выбрана из группы: катионообменная мембрана, анионообменная мембрана, микрофильтрационная мембрана, ультрафильтрационная мембрана, нанофильтрационная мембрана, обратноосмотическая мембрана.
51. Установка по п.31, отличающаяся тем, что размер пор в мембране фильтровального элемента выбран в диапазоне от 0,0001 до 0,5 мкм.
52. Установка по п.31, отличающаяся тем, что геометрия пор в мембране фильтровального элемента выбрана из группы: линейные поры, поры сложной конфигурации, сквозные поры, перпендикулярные поры, наклонные поры, трековые поры, упорядоченные поры, хаотичные поры, смешанные поры или их сочетание.
53. Установка по п.31, отличающаяся тем, что мембрана фильтровального элемента является трековой мембраной.
54. Установка по п.31, отличающаяся тем, что процесс фильтрации происходит при давлении от 0,1 до 30 бар.
55. Установка по п.31, отличающаяся тем, что исходная вода, поступающая на фильтрацию, подвергается дополнительной обработке, выбранной из группы: механическая обработка, обработка магнитными полями, обработка электрическими полями, обработка излучением, термическая обработка, химическая обработка.
56. Установка по п.55, отличающаяся тем, что химическая обработка исходной воды включает в себя добавление в исходную воду компонентов, улучшающих процесс очистки исходной воды на мембране.
57. Установка по п.31, отличающаяся тем, что мембрана фильтровального элемента в течение технологического процесса подвергается дополнительному воздействию, выбранному из группы: механическое воздействие, воздействие магнитными полями, воздействие электрическими полями, воздействие излучением, термическое воздействие, химическое воздействие.
58. Установка по п.31, отличающаяся тем, что включает каскад однотипных фильтровальных элементов, начиная с двух.
59. Установка по п.31, отличающаяся тем, что включает каскад разнотипных фильтровальных элементов, начиная с двух.
60. Установка по любому из пп.58-59, отличающаяся тем, что каскад выбран из ряда: параллельный каскад, последовательный каскад или их сочетание.
РИСУНКИ
|
|