|
|
|
|
РОССИЙСКАЯ ФЕДЕРАЦИЯ

ФЕДЕРАЛЬНАЯ СЛУЖБА ПО ИНТЕЛЛЕКТУАЛЬНОЙ СОБСТВЕННОСТИ, ПАТЕНТАМ И ТОВАРНЫМ ЗНАКАМ |
(19) |
RU |
(11) |
2390487 |
(13) |
C2 |
|
| (51) МПК
B65G47/34 (2006.01) B65G47/76 (2006.01)
|
(12) ОПИСАНИЕ ИЗОБРЕТЕНИЯ К ПАТЕНТУ
| Статус: по данным на 09.08.2010 – действует |
|
|
|
|
| На основании пункта 1 статьи 1366 части четвертой Гражданского кодекса Российской Федерации патентообладатель обязуется заключить договор об отчуждении патента на условиях, соответствующих установившейся практике, с любым гражданином Российской Федерации или российским юридическим лицом, кто первым изъявил такое желание и уведомил об этом патентообладателя и федеральный орган исполнительной власти по интеллектуальной собственности. |
|
(21), (22) Заявка: 2009103384/11, 02.02.2009
(24) Дата начала отсчета срока действия патента:
02.02.2009
(43) Дата публикации заявки: 20.05.2009
(46) Опубликовано: 27.05.2010
(56) Список документов, цитированных в отчете о поиске:
SU 1177243 А1, 07.09.1985. SU 1186561 А1, 23.10.1985. SU 1684190 А1, 15.10.1991.
Адрес для переписки:
188992, Ленинградская обл., г. Светогорск, ул. Красноармейская, 20, кв.33, А.М.Гультяеву
|
(72) Автор(ы):
Гультяев Александр Михайлович (RU)
(73) Патентообладатель(и):
Гультяев Александр Михайлович (RU)
|
(54) СБРАСЫВАТЕЛЬ КОРЫ
(57) Реферат:
Сбрасыватель коры содержит плиту, прикрепленную к втулке, неподвижно закрепленной на фланце, в свою очередь закрепленном к резьбовому фланцу болтами. Втулка, фланец и резьбовой фланец надеты на неподвижную ось, возможность движения вокруг и вдоль которой имеет плита. Повышается эффективность работы сбрасывателя. 2 ил.
Изобретение относится к бумажной промышленности и служит для сброса коры с работающего ленточного транспортера.
Известна конструкция сбрасывателя (см. Степанов Ю.А. Краткий политехнический словарь.-М., 1955. Стр.827) состоявшего из плиты.
Данная конструкция неудобна.
Изобретение направлено на устранение данного недостатка. Это достигается тем, что плита подвижна, движение ее как вокруг оси, так и вдоль, и находится на неподвижной оси.
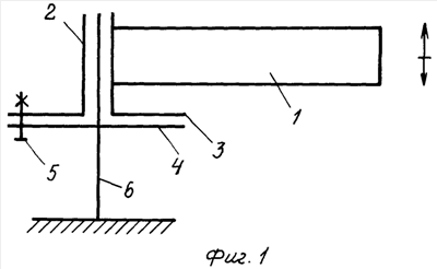
На фиг.1 изображен сбрасыватель коры, на фиг.2 – то же, вид сверху.
Сбрасыватель коры состоит из подвижной плиты 1, прикрепленной к втулке 2. Втулка 2 неподвижно крепится к фланцу 3. Фланец 3 крепится к резьбовому фланцу 4 болтами 5. Втулка 2, фланец 3 и резьбовой фланец 4 надеты на ось 6.
Сбрасыватель коры работает следующим образом
При выставлении плиты 1 по высоте нужно снять болт 5 и передвинуть резьбовой фланец 4. Затем придаем плите заданный угол и ставим болт 5 на место.
Формула изобретения
Сбрасыватель коры, содержащий плиту, отличающийся тем, что плита прикреплена к втулке, неподвижно закрепленной на фланце, в свою очередь, закрепленном к резьбовому фланцу болтами, причем втулка, фланец и резьбовой фланец надеты на неподвижную ось, при этом плита имеет возможность движения вокруг и вдоль указанной оси.
РИСУНКИ
|
|
|
|
|