|
|
(21), (22) Заявка: 2009108581/11, 10.03.2009
(24) Дата начала отсчета срока действия патента:
10.03.2009
(46) Опубликовано: 27.05.2010
(56) Список документов, цитированных в отчете о поиске:
RU 2276651 С2, 20.05.2006. RU 2174657 С2, 10.10.2001. SU 699302 А1, 25.11.1979. US 4879877 А, 14.11.1989. Космодром./ Под ред. А.П.ВОЛЬСКОГО. – М.: Воениздат, 1977, с.208-213.
Адрес для переписки:
141070, Московская обл., г. Королев, ул. Ленина, 4а, ОАО “РКК “Энергия” им. С.П. Королева”, отдел интеллектуальной собственности
|
(72) Автор(ы):
Клиппа Владимир Петрович (RU), Веселов Виктор Николаевич (RU), Журавлев Владимир Иванович (RU), Негодяев Виктор Иванович (RU), Рожков Михаил Викторович (RU)
(73) Патентообладатель(и):
Открытое акционерное общество “Ракетно-космическая корпорация “Энергия” имени С.П. Королева” (RU)
|
(54) УСТРОЙСТВО ОБЕСПЕЧЕНИЯ ТЕПЛОВОГО РЕЖИМА И ЧИСТОТЫ КОСМИЧЕСКОЙ ГОЛОВНОЙ ЧАСТИ В СОСТАВЕ РАКЕТЫ КОСМИЧЕСКОГО НАЗНАЧЕНИЯ И СПОСОБ ЕГО ЭКСПЛУАТАЦИИ
(57) Реферат:
Изобретения относятся к управлению параметрами среды внутри изделий ракетно-космической техники. Устройство содержит побудитель расхода, подающий газовый компонент, с фильтром на его входе, газоводы и термостатирующие элементы. В головном обтекателе (ГО) выполнены два люка, расположенные в его верхней и нижней частях. На них с внутренней стороны установлены рассекатели, в корпусе каждого из которых выполнены окна. Во внутренней полости рассекателей установлены пластины, с помощью которых газовый компонент направляется к окнам. Рассекатель в верхней части ГО имеет три окна, оси двух из которых направлены в противоположные стороны и перпендикулярны оси космической головной части (КГЧ). Ось третьего окна направлена параллельно оси КГЧ в сторону ракетного разгонного блока. Рассекатель в нижней части ГО имеет два окна, оси которых направлены аналогично двум окнам в верхней части ГО. С наружной стороны ГО к патрубкам подсоединены газоводы наземного устройства для подачи газового компонента в КГЧ. В способе газовый компонент подают одновременно в указанные рассекатели. Пластины и окна в верхней части ГО обеспечивают направление потоков газового компонента в пространстве под ГО в трех направлениях: двух – по бортам ГО в противоположные стороны, а третьем – в сторону ракетного разгонного блока. Пластины и окна в нижней части ГО обеспечивают поток газового компонента в двух направлениях, аналогичных указанным верхним двум. Выброс газового компонента из КГЧ производят через люки, расположенные на среднем и нижнем переходниках ракетного разгонного блока. Техническим результатом изобретений является обеспечение наряду с тепловым режимом высокой степени чистоты как составных частей, расположенных под обтекателем, так и внутренней полости ракетного разгонного блока. 2 н.п. ф-лы, 3 ил.
Изобретение относится к ракетно-космической технике.
К современным космическим аппаратам, головным обтекателям, ракетным разгонным блокам и другим составным частям ракет космического назначения предъявляются высокие требования по обеспечению чистоты поверхностей этих узлов.
Это вызвано тем, что в составе космических аппаратов применяются высокоточные электронные приборы, оптическая аппаратура, солнечные батареи и другие элементы, которые изготавливаются в условиях повышенных требований промышленной чистоты и требуют высокой надежности выполнения поставленных перед ними задач.
Поэтому к изготовлению, сборке, испытаниям и эксплуатации составных частей головного бока и самого головного бока предъявляются повышенные требования по обеспечению чистоты.
Известен способ обеспечения теплового режима и чистоты головного блока (космической головной части) в составе ракеты космического назначения и устройство для осуществления способа по патенту 2276651.
Головной блок (космическая головная часть) по патенту 2276651 состоит из головного обтекателя, космического аппарата, переходной системы и ракетного разгонного блока, причем ракетный разгонный блок расположен под обтекателем, подача газового компонента производится через верхний люк головного обтекателя, а выход газового компонента – через нижний люк, расположенный в нижней части головного обтекателя на уровне нижнего переходника ракетного разгонного блока.
Зачастую космическая головная часть состоит из головного обтекателя, переходной системы, космического аппарата и ракетного разгонного блока, который находится вне головного обтекателя, причем головной обтекатель стыкуется к ракетному разгонному блоку, а внутренние полости головного обтекателя и ракетного разгонного блока сообщаются между собой (см. журнал «Новости космонавтики», том 15, 10, август 2005 г.).
Способ и устройство по патенту 2276651 не позволяют обеспечить тепловой режим и чистоту ракетного разгонного блока, т.к. он расположен вне подобтекательного пространства космической головной части.
Поэтому в этом варианте обеспечение теплового режима и чистоты всех составных частей космической головной части требует иного подхода в решении задачи.
Способ и устройство по патенту 2276651 выбраны за прототип.
Задачей предложенного устройства и способа его эксплуатации является обеспечение повышенного качества чистоты как составных частей, расположенных в подобтекательном пространстве, так и внутренней полости ракетного разгонного блока, с одновременным обеспечением теплового режима космической головной части в составе ракеты космического назначения.
Задача решается за счет того, что в устройстве обеспечения теплового режима и чистоты космической головной части в составе ракеты космического назначения с головным обтекателем, установленным на ракетный разгонный блок, содержащем фильтр, очищающий поступающий на вход побудителя расхода газовый компонент, побудитель расхода, подающий газовый компонент, газоводы, термостатирующие элементы устройства, обеспечивающие поддержание теплового режима, в головном обтекателе выполнены два люка, расположенные в его верхней и нижней частях, на оба люка с внутренней стороны головного обтекателя установлены рассекатели, в корпусе каждого рассекателя выполнены окна, во внутренней полости рассекателей установлены пластины, с помощью которых газовый компонент направляется к окнам; рассекатель люка, расположенный в верхней части головного обтекателя, имеет три окна, оси двух из которых направлены в противоположные стороны и перпендикулярны оси космической головной части, а ось третьего окна направлена параллельно оси космической головной части в сторону ракетного разгонного блока; рассекатель люка, расположенный в нижней части головного обтекателя, имеет два окна, оси которых направлены в противоположные стороны и перпендикулярны оси космической головной части; с наружной стороны головного обтекателя к патрубкам подсоединены газоводы наземного устройства для подачи газового компонента в космическую головную часть.
Задача решается за счет того, что в способе обеспечения теплового режима и чистоты космической головной части в составе ракеты космического назначения с головным обтекателем, установленным на ракетный разгонный блок, включающий подачу газового компонента в космическую головную часть с последующим выбросом газового компонента из нее, газовый компонент подают одновременно в рассекатели, установленные на люках головного обтекателя, пластины и окна рассекателя люка, расположенного в верхней части головного обтекателя, обеспечивают направление потоков газового компонента в подобтекательном пространстве в трех направлениях: два направления – по бортам головного обтекателя в противоположные стороны и третье направление – в сторону ракетного разгонного блока, а пластины и окна рассекателя люка, расположенного в нижней части головного обтекателя, обеспечивают направление потоков газового компонента по бортам головного обтекателя в противоположные стороны, выброс газового компонента из космической головной части производят через люки, расположенные на среднем и нижнем переходниках ракетного разгонного блока.
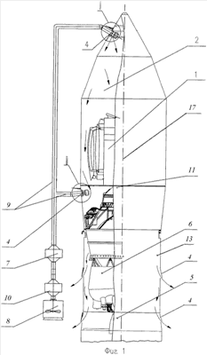
На фиг.1, 2 и 3 схематично представлено устройство для обеспечения теплового режима и чистоты космической головной части с головным обтекателем, установленным на ракетный разгонный блок.
1. космический аппарат;
2. подобтекательное пространство;
3. рассекатели;
4. люки;
5. нижний переходник;
6. ракетный разгонный блок;
7. фильтр;
8. побудитель расхода;
9. газоводы;
10. термостатирующие элементы устройства;
11. головной обтекатель;
12. направления потоков;
13. средний переходник;
14. окна;
15. пластины;
16. оси;
17. ось космической головной части.
В устройстве обеспечения теплового режима и чистоты космической головной части в составе ракеты космического назначения с головным обтекателем 11, установленным на ракетный разгонный блок 6, содержащем фильтр 7, очищающий поступающий на вход побудителя расхода 8 газовый компонент, побудитель расхода 8, подающий газовый компонент, газоводы 9, термостатирующие элементы устройства 10, обеспечивающие поддержание теплового режима, в головном обтекателе 11 выполнены два люка 4, расположенные в его верхней и нижней частях, на оба люка 4 с внутренней стороны головного обтекателя 11 установлены рассекатели 3, в корпусе каждого рассекателя 3 выполнены окна 14, во внутренней полости рассекателей 3 установлены пластины 15, с помощью которых газовый компонент направляется к окнам 14.
Рассекатель 3 люка 4, расположенный в верхней части головного обтекателя 11, имеет три окна 14, оси 16 двух из которых направлены в противоположные стороны и перпендикулярны оси космической головной части 17, а ось 16 третьего окна 14 направлена параллельно оси космической головной части 17 в сторону ракетного разгонного блока 6.
Рассекатель 3 люка 4, расположенный в нижней части головного обтекателя 11, имеет два окна 14, оси 16 которых направлены в противоположные стороны и перпендикулярны оси космической головной части 17; с наружной стороны головного обтекателя 11 к рассекателям 3 подсоединены газоводы 9 для подачи газового компонента в космическую головную часть.
Люк 4, расположенный в верхней части головного обтекателя 11, размещают максимально приближенным к верхней зоне космического аппарата 1, а люк 4, расположенный в нижней части головного обтекателя 11, – в зоне сопряжения космического аппарата 1 и ракетного разгонного блока 6. Выход газового компонента организован через люки 4 сброса газового компонента среднего 13 и нижнего переходника 5 ракетного разгонного блока 6.
Крышки люков 4 подачи и выброса газового компонента выполнены самозахлопывающимися, которые закрываются после отвода газоводов 9 наземных устройств от ракеты космического назначения.
Рассекатели 3 с пластинами 15 и окнами 14 обеспечивают необходимое заданное направление потоков 12 газового компонента с тем, чтобы исключить направленное действие газового компонента на элементы конструкции космического аппарата 1 (например, теплоизоляция, оптические элементы, солнечные батареи и т.п.).
Рассекатели 3 введены в состав головного обтекателя 11, а газоводы 9, фильтр 7, побудитель расхода 8 и термостатирующие элементы устройства 10 используются на время обеспечения чистоты и теплового режима космической головной части при подготовке ракеты космического назначения к пуску до отвода наземных устройств.
Устройство обеспечения теплового режима и чистоты космической головной части в составе ракеты космического назначения с головным обтекателем 11, установленным на ракетный разгонный блок 6, содержащее фильтр 7, очищающий поступающий на вход побудителя расхода 8 газовый компонент, побудитель расхода 8, подающий газовый компонент, газоводы 9, термостатирующие элементы устройства 10, обеспечивающие поддержание теплового режима, работает следующим образом.
С помощью побудителя расхода 8 одновременно в рассекатели 3 люков 4, расположенных в верхней и в нижней части головного обтекателя 11, подают газовый компонент, очищенный фильтром 7 и с температурой, полученной с помощью термостатирующих элементов устройства 10 (например, электроподогревателей или охладителей). Газовый компонент через газоводы 9 наземных устройств поступает в рассекатели 3 люков 4 головного обтекателя 11, при этом за счет обеспечения в космической головной части избыточного давления исключается проникновение загрязненного атмосферного воздуха в космическую головную часть при подготовке ракеты космического назначения к пуску и выбрасывается из люков 4 сброса газового компонента среднего 13 и нижнего 5 переходников ракетного разгонного блока 6.
В способе обеспечения теплового режима и чистоты космической головной части в составе ракеты космического назначения с головным обтекателем 11, установленным на ракетный разгонный блок 6, включающий подачу газового компонента в космическую головную часть с последующим выбросом газового компонента из нее, газовый компонент подают одновременно в рассекатели 3, установленные на люках 4 головного обтекателя 11, пластины 15 и окна 14 рассекателя 3 люка 4, расположенного в верхней части головного обтекателя 11, обеспечивают направление потоков газового компонента в подобтекательном пространстве в трех направлениях: два направления – по бортам головного обтекателя 11 в противоположные стороны и третье направление – в сторону ракетного разгонного блока 6, а пластины 15 и окна 14 рассекателя 3 люка 4, расположенного в нижней части головного обтекателя 11, обеспечивают направление потоков газового компонента по бортам головного обтекателя 11 в противоположные стороны, выброс газового компонента из космической головной части производят через люки 4, расположенные на среднем 13 и нижнем 5 переходниках ракетного разгонного блока 6.
Применение такого устройства и способа его эксплуатации для обеспечения теплового режима и чистоты космической головной части в составе ракеты космического назначения с головным обтекателем 11, установленным на ракетный разгонный блок 6, позволяет:
– обеспечить повышенное качество чистоты как составных частей, расположенных в подобтекательном пространстве 2, так и во внутренней полости ракетного разгонного блока 6, с одновременным обеспечением теплового режима космической головной части в составе ракеты космического назначения;
– дополнительно решать задачи пожаровзрывобезопасности, влагозащищенности и, в итоге, надежности выведения космических аппаратов 1 при применении соответствующих инертных сухих газов;
– препятствовать проникновению неочищенного атмосферного воздуха в космическую головную часть;
– использовать их при отмене пуска, в этом случае наземные устройства стыкуются к ракете космического назначения, с помощью которых подают газовый компонент, создавая в полости космической головной части необходимый тепловой режим и избыточное давление.
Формула изобретения
1. Устройство обеспечения теплового режима и чистоты космической головной части в составе ракеты космического назначения, содержащее фильтр, очищающий поступающий на вход побудителя расхода газовый компонент, побудитель расхода, подающий газовый компонент, газоводы, термостатирующие элементы устройства, обеспечивающие поддержание теплового режима, отличающееся тем, что в головном обтекателе выполнены два люка, расположенные в его верхней и нижней частях, на оба люка с внутренней стороны головного обтекателя установлены рассекатели, в корпусе каждого рассекателя выполнены окна, во внутренней полости рассекателей установлены пластины, с помощью которых газовый компонент направляется к окнам; рассекатель люка, расположенный в верхней части головного обтекателя, имеет три окна, оси двух из которых направлены в противоположные стороны и перпендикулярны оси космической головной части, а ось третьего окна направлена параллельно оси космической головной части в сторону ракетного разгонного блока; рассекатель люка, расположенный в нижней части головного обтекателя, имеет два окна, оси которых направлены в противоположные стороны и перпендикулярны оси космической головной части, при этом с наружной стороны головного обтекателя к патрубкам подсоединены газоводы наземного устройства для подачи газового компонента в космическую головную часть.
2. Способ обеспечения теплового режима и чистоты космической головной части в составе ракеты космического назначения, включающий подачу газового компонента в космическую головную часть с последующим выбросом газового компонента из нее, отличающийся тем, что газовый компонент подают одновременно в рассекатели, установленные на люках головного обтекателя, пластины и окна рассекателя люка, расположенного в верхней части головного обтекателя, обеспечивают направление потоков газового компонента в пространстве под обтекателем в трех направлениях: двух – по бортам головного обтекателя, в противоположные стороны и третьем – в сторону ракетного разгонного блока так, что пластины и окна рассекателя люка, расположенного в нижней части головного обтекателя, обеспечивают направление потоков газового компонента по бортам головного обтекателя в противоположные стороны, при этом выброс газового компонента из космической головной части производят через люки, расположенные на среднем и нижнем переходниках ракетного разгонного блока.
РИСУНКИ
|
|