|
(21), (22) Заявка: 2007106237/11, 11.08.2005
(24) Дата начала отсчета срока действия патента:
11.08.2005
(30) Конвенционный приоритет:
16.08.2004 DE 102004039666.3 16.08.2004 US 60/601,882
(43) Дата публикации заявки: 27.09.2008
(46) Опубликовано: 27.05.2010
(56) Список документов, цитированных в отчете о поиске:
SU 429984 А2, 30.05.1974. SU 1119885 A1, 23.10.1984. US 4234278 A, 18.11.1980. US 3724814 A, 03.04.1973. US 4331412 A, 25.05.1982. US 2003049421 A1, 13.03.2003. EP 0541928 A1, 19.05.1993.
(85) Дата перевода заявки PCT на национальную фазу:
16.03.2007
(86) Заявка PCT:
EP 2005/008745 20050811
(87) Публикация PCT:
WO 2006/018224 20060223
Адрес для переписки:
119034, Москва, Пречистенский пер., 14, стр.1, 4 этаж, “Гоулингз Интернэшнл ИНК.”, В.Н.Дементьеву
|
(72) Автор(ы):
БОГЕНШТАЛЛЬ Лудгер (DE), ХИНЕН Томас (DE), ЗОЛЛЕР Йохен (DE)
(73) Патентообладатель(и):
ЭЙРБАС ДОЙЧЛАНД ГМБХ (DE)
|
(54) УСТРОЙСТВО ДЛЯ ФИКСАЦИИ ОБЪЕКТОВ В НУЖНОМ ПОЛОЖЕНИИ
(57) Реферат:
Изобретение относится к средствам для фиксации объектов в транспортных средствах. Устройство для фиксации контейнеров в нужном положении содержит раму (2), к которой прикреплена по меньшей мере одна запирающая лапа (3), и регулировочный элемент (10), который прикреплен к запирающей лапе (3) таким образом, что положение контейнера, который должен быть зафиксирован в нужном положении, может регулироваться по отношению к запирающей лапе в продольном направлении рамы (2) путем изменения толщины регулировочного элемента. Запирающая лапа удерживающим устройством удерживается в убранном положении или в поднятом положении. Удерживающее устройство содержит дополнительную запирающую лапу, прикрепленную к раме с возможностью поворота, и пружинный элемент, который подпружинивает обе запирающие лапы, так что в поднятом положении они поддерживают друг друга и удерживаются в убранном положении. Изобретение обеспечивает возможность легкой и удобной фиксации контейнера. 8 з.п. ф-лы, 3 ил.
Настоящее изобретение относится к устройствам для фиксации объектов, в частности для фиксации контейнеров, поддонов и вспомогательных топливных баков (ВТБ) в системе складирования грузов, которая может быть размещена, например, в грузовом отсеке летательного аппарата.
В грузовых отсеках летательных аппаратов обычно используются роликовые конвейеры, которые прикрепляются к раме пола. Роликовый конвейер, с помощью которого в грузовом отсеке летательного аппарата могут размещаться например ВТБ или грузовые контейнеры, обычно содержит ролики конвейера и фиксирующие элементы. Поскольку обычно несколько роликовых конвейеров проходят параллельно под нижней частью ВТБ, то бак должен быть точно направлен на роликовом конвейере и закреплен с помощью фиксирующих элементов. Такие фиксирующие элементы должны быть точно выровнены отдельно на каждом роликовом конвейере таким образом, чтобы во время полета нагрузка распределялась как можно более равномерно на этих элементах.
Однако фиксирующие элементы, используемые до настоящего времени, не обеспечивают возможности регулировки, и поэтому на летательном аппарате необходимо проводить дорогостоящие измерительные работы. Как правило, после этого необходимо сверлить стыковочные отверстия для того, чтобы обеспечить установленные жесткие допуски на положение установленных грузов. В результате происходит повреждение защиты поверхности, которая затем должна восстанавливаться. Возможность последующей коррекции отсутствует.
Целью изобретения является создание устройства, которое обеспечивает возможность легкой и удобной фиксации контейнеров в нужном положении в системе складирования грузов в соответствии с установленными жесткими допусками.
Достижение этой цели обеспечивается фиксирующим устройством в соответствии с настоящим изобретением, которое содержит раму и запирающую лапу, причем для точного и удобного регулирования фиксирующего устройства в нем используется регулировочный модуль, прикрепленный к запирающей лапе таким образом, что положение контейнера, который должен быть зафиксирован в нужном положении, может регулироваться по отношению к запирающей лапе в продольном направлении рамы.
Предпочтительно, запирающая лапа устанавливается в раме с возможностью поворота и может поворачиваться между убранным и поднятым положениями. В убранном положении лапа устанавливается в раме примерно в продольном направлении рамы. В поднятом положении запирающая лапа примерно перпендикулярна продольному направлению рамы и выступает из нее. В поднятом положении запирающей лапы может быть осуществлена фиксация объекта.
В соответствии с другим вариантом осуществления изобретения фиксирующее устройство содержит удерживающее устройство, которое может удерживать запирающую лапу в убранном положении и/или в поднятом положении.
Удерживающее устройство может содержать еще одну запирающую лапу, которая прикреплена к раме с возможностью поворота. Эта еще одна запирающая лапа предпочтительно устанавливается таким образом по отношению к первой запирающей лапе, чтобы обе запирающие лапы поддерживали друг друга в поднятом положении. Удерживающее устройство содержит дополнительно пружинный элемент, который подпружинивает обе запирающие лапы таким образом, чтобы они удерживались в убранном положении, то есть практически внутри рамы, проходя в продольном направлении рамы.
Если предлагаемое в изобретении устройство содержит две запирающие лапы, то в поднятом положении каждая из запирающих лап фиксирует объект в нужном положении.
В соответствии с другим вариантом предлагаемого в изобретении устройства запирающая лапа жестко соединена с рамой и выступает из нее так, что она примерно перпендикулярно продольному направлению рамы. Конец запирающей лапы, поверхность которого обращена в сторону от рамы, устроен таким образом, чтобы объект мог быть зафиксирован в нужном положении с одной стороны и/или с другой стороны запирающей лапы.
В соответствии с изобретением по меньшей мере одна из запирающих лап имеет регулировочный модуль, прикрепленный к ней с возможностью замены. Регулировочный модуль предпочтительно проходит примерно поперек запирающей лапы в области, взаимодействующей с объектом, который должен быть зафиксирован в нужном положении.
Например, регулировочный элемент может быть привинчен сбоку к запирающей лапе и проходит поперек нее, то есть примерно перпендикулярно продольному направлению рамы устройства. Предпочтительно толщина регулировочного устройства и соответственно относительное положение объекта, который должен быть зафиксирован в нужном положении в продольном направлении рамы, может регулироваться. Регулировка смещения может осуществлять разными способами, в частности с использованием металлических пластин различной толщины, которые могут быть прикреплены, например привинчены, к запирающим лапам. Один возможный вариант может содержать “пакет” тонких металлических пластин (приклеенных друг к другу), которые можно отрывать одну за другой после того, как предлагаемое в изобретении устройство установлено на летательном аппарате, для точной установки требуемого смещения объекта.
Предлагаемое в изобретении устройство содержит также болты, которые проходят поперечно раме. С помощью этих болтов предлагаемое в изобретении устройство может быть закреплено в роликовом конвейере системы складирования грузов.
В соответствии с изобретением фиксирующие элементы и соответственно также и роликовые конвейеры (и рама пола, расположенная под ними) могут подвергаться малым нагрузкам, поскольку положение контейнеров, которые зафиксированы на роликовых конвейерах с помощью фиксирующих элементов, может быть установлено с достаточной точностью. Таким образом, могут быть использованы фиксирующие элементы, имеющие уменьшенную массу, в результате чего достигается соответствующее снижение веса конструкции.
Кроме того, в соответствии с изобретением можно осуществлять точную регулировку (фиксацию в нужном положении) контейнера даже после установки фиксирующих элементов на роликовом конвейере за счет использования регулировочного элемента с изменяемой толщиной, который может быть прикреплен к запирающей лапе предлагаемого в изобретении фиксирующего устройства.
Ниже описываются предпочтительные варианты осуществления изобретения со ссылками на прилагаемые чертежи, на которых одинаковые или соответствующие элементы указаны одними и теми же ссылочными обозначениями. На чертежах показано:
фигура 1 – вид в перспективе фиксирующего устройства в соответствии с первым вариантом осуществления изобретения.
Фигура 2 – вид в перспективе фиксирующего устройства в соответствии со вторым вариантом осуществления изобретения.
Фигура 3а – вид фиксирующего устройства в разрезе в соответствии с третьим вариантом осуществления изобретения.
Фигура 3b – вид сверху фиксирующего устройства в соответствии с третьим вариантом осуществления изобретения.
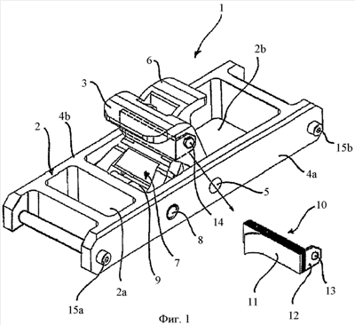
На фигуре 1 показано устройство фиксации объектов в нужном положении, например фиксации ВТБ (вспомогательного топливного бака), в соответствии с первым вариантом осуществления изобретения. Фиксирующее устройство 1 содержит раму 2, которая может быть фрезерованной деталью. Фиксирующее устройство, показанное на фигуре 1, является фиксатором так называемого XZ-типа.
Как можно видеть на фигуре 1, в раме имеется первая выемка 2а и вторая выемка 2b рамы. Во второй выемке 2b установлена первая запирающая лапа 3. Первая запирающая лапа 3 прикреплена с возможностью поворота (шарнирно) к боковым стенкам 4а, 4b рамы 2 и может поворачиваться вокруг оси 5 вращения.
Далее, на фигуре 1 можно видеть вторую запирающую лапу 6, которая формирует часть удерживающего устройства 7 и установлена таким образом по отношению к первой запирающей лапе 3, чтобы в поднятом положении обе запирающие лапы 3 и 6 поддерживали друг друга, как показано на фигуре 1.
Вторая запирающая лапа 6 также прикреплена к боковым стенкам 4а, 4b рамы 2 и может поворачиваться вокруг оси 8 вращения.
Предлагаемое в изобретении устройство изображено на фигуре 1 в таком положении, в котором первая запирающая лапа 3 и вторая запирающая лапа 6 находятся в поднятом положении. Для того чтобы перевести предлагаемое в изобретении устройство в убранное положение первая запирающая лапа 3 поворачивается вокруг оси 5 вращения (см. фигуру 1) влево так, что в крайнем положении свободный конец первой запирающей лапы 3 убирается в первую выемку 2а рамы. Кроме того, вторая запирающая лапа 6 поворачивается вокруг оси 8 вращения так, что свободный конец запирающей лапы 6 убирается во вторую выемку 2b рамы. В убранном положении предлагаемое в изобретении устройство может удерживаться пружинным элементом 9, который является частью удерживающего устройства 7. После ручного приведения в действие освобождающего устройства (не показано) запирающие лапы 3 и 6 перемещаются из убранного положения в поднятое положение.
Как можно видеть на фигуре 1, к первой запирающей лапе прикреплен регулировочный модуль (элемент) 10. Регулировочный элемент 10 также может быть прикреплен к запирающей лапе 6 или одновременно к обеим лапам.
В соответствии с данным вариантом осуществления изобретения регулировочный элемент 10 содержит набор тонких металлических пластин 11, которые скреплены друг с другом таким образом, чтобы можно было легко снимать отдельные металлические пластины. Толщина регулировочного элемента 10 может быть установлена удалением отдельных металлических пластин.
На одном конце регулировочного элемента 10 имеется область 12, которая тянется примерно в перпендикулярном направлении и на которой имеется проходное отверстие 13. Как можно видеть на фигуре 1, регулировочный элемент 10 может быть прикреплен к первой запирающей лапе 3 с помощью винта 14, проходящего сквозь отверстие 13. В качестве альтернативного варианта аналогичный регулировочный модуль может быть прикреплен аналогичным образом ко второй запирающей лапе 6.
Далее, также возможно использование другого способа прикрепления регулировочного элемента 10, например с помощью заклепок или клея. Однако предпочтительно использовать такой вариант прикрепления регулировочного элемента 10, который обеспечивает простоту и удобство съема или замены элемента.
Как можно видеть на фигуре 1, регулировочный элемент 10 предпочтительно проходит поперек по всей поверхности запирающей лапы 3, то есть так, что он практически перпендикулярен продольной оси рамы 2 в области, в которой устанавливается контакт с ВЦТБ, положением которого фиксируется зажимом.
Как показано на фигуре 1, на каждом конце рамы 2 имеются болты 15а, 15b, которые соединяют две боковые стороны 4а, 4b рамы 2. С помощь этих болтов 15а, 15b предлагаемое в изобретении фиксирующее устройство прикрепляется к рельсу с роликами системы складирования грузов (не показан).
Как можно видеть на фигуре 1, в поднятом положении первая запирающая лапа может фиксировать ВЦТБ в нужном положении, в то время как вторая запирающая лапа 6 также может фиксировать ВЦТБ или грузовой контейнер в нужном положении.
Фиксирующее устройство 1 устанавливается в продольном направлении рельса с роликами (не показан).
На фигуре 2 представлен вид фиксирующего устройства в соответствии со вторым вариантом осуществления изобретения.
Фиксирующее устройство, показанное на фигуре 2, отличается от фиксирующего устройства в соответствии с первым вариантом осуществления изобретения только тем, что регулировочный элемент 10 имеет другую конструкцию. В соответствии с вариантом осуществления изобретения, представленным на фигуре 2, для выравнивания грузового контейнера (или ВЦТБ), который должен быть зафиксирован в нужном положении, используются металлические листовые части 16а, 16b, 16с различной толщины.
Примерно так же, как и в первом варианте осуществления изобретения, металлические листовые части 16а-16с содержат зоны 12а-12с, которые отходят примерно в перпендикулярном направлении, и в них имеются проходные отверстия 13а-13с. Соответствующие металлические листовые части прикрепляются к первой запирающей лапе 3 вместе или каждая отдельно с помощью винта 14. Металлические листовые части 16а-16с, используемые для выравнивания грузового контейнера, который должен быть зафиксирован в нужном положении, также могут быть изготовлены и из другого подходящего материала, например из пластмассы.
Конечно, во втором варианте осуществления изобретения регулировочный элемент 10 (16а-16с) может быть также дополнительно или в качестве альтернативного варианта прикреплен к запирающей лапе 6.
На фигуре 3 представлен вид фиксирующего устройства в соответствии с третьим вариантом осуществления изобретения. Это фиксирующее устройство является неподвижным фиксатором XZ-типа. Фиксирующее устройство 1, показанное на фигуре 3, содержит раму 2, которая прикреплена к роликовому конвейеру 17 между его боковыми сторонами 17а, 17b. Как показано на фигуре 3а, для этого могут использоваться крепежные болты 15а, 15b.
В соответствии с конструкцией фиксирующего устройства типа неподвижного фиксатора XZ, показанного на фигурах 3а и 3b, запирающая лапа 18 отходит из рамы 2 примерно в перпендикулярном направлении.
Как показано на фигуре 3а, запирающая лапа 18 выступает из роликового конвейера 17. Свободный конец 19 запирающей лапы 18 устроен таким образом, что грузовой контейнер или ВЦТБ может быть зафиксирован в нужном положении.
Как можно видеть на фигуре 3а, на внутренней поверхности запирающей лапы 18 имеется регулировочный элемент 10. Этот регулировочный элемент может быть прикреплен к запирающей лапе 18 так же, как в первом и втором вариантах осуществления изобретения, для обеспечения возможности его замены, и его толщина может быть изменена таким образом, чтобы обеспечить необходимую регулировку при фиксации контейнера или ВЦБТ в нужном положении.
В отличие от первого и второго вариантов в третьем варианте осуществления изобретения запирающая лапа 18 жестко соединена с рамой 2. Если на роликовом конвейере 17, показанном на фигуре 3а, установлено фиксирующее устройство в соответствии с первым или вторым вариантом осуществления изобретения, две запирающие лапы 3 и 6 могут быть опущены так, чтобы они располагались ниже уровня роликов для обеспечения возможности транспортировки по конвейеру грузового контейнера и ВЦТБ. Этого нельзя сделать в третьем варианте осуществления изобретения.
На фигурах 3а и 3b также показана опора 20 для контейнера (поддона) или ВЦТБ, которая обеспечивает поглощение нагрузок, действующих по оси Z, также и рамой запирающего устройства.
Хотя выше были описаны предпочтительные варианты осуществления изобретения, ясно, что могут быть произведены различные модификации и изменения без выхода за пределы объема изобретения до тех пор, пока к фиксатору прикрепляется регулировочный элемент так, что за счет соответствующего изменения размера регулировочного элемента может быть обеспечена регулировка фиксации контейнера или ВЦБТ (или другого объекта) в нужном положении.
Изобретение было описано в отношении грузового отсека (кабины) летательного аппарата. Однако изобретение также применимо к системам складирования грузов на судах, на железнодорожном транспорте и т.п. или на других транспортных средствах или в зданиях, где необходима точная регулировка фиксирующих элементов.
Перечень ссылочных обозначений
1 – фиксирующее устройство
2 – рама
2а – первая выемка рамы
2b – вторая выемка рамы
3 – первая запирающая лапа
4а, 4b – боковые стенки рамы
5 – ось вращения
6 – вторая запирающая лапа
7 – удерживающее устройство
8 – ось вращения
9 – пружинный элемент
10 – регулировочный элемент
11 – регулировочные пластины
12 – область регулировочного элемента
13 – проходное отверстие
14 – винт
15а, 15b – крепежный болт
16а, 16b, 16с – металлические листовые части
17 – роликовый конвейер
17а, 17b – боковые стенки роликового конвейера
18 – запирающая лапа
19 – свободный конец запирающей лапы
20 – опора для ВЦТБ, контейнера, поддона и др.
Формула изобретения
1. Устройство для фиксации контейнеров в нужном положении, содержащее раму, запирающую лапу, прикрепленную к раме, и регулировочный элемент, имеющий изменяемую толщину, и прикрепленный к запирающей лапе таким образом, чтобы можно было регулировать положение объекта по отношению к запирающей лапе в продольном направлении рамы путем изменения толщины регулировочного элемента.
2. Устройство по п.1, в котором запирающая лапа установлена в раме с возможностью поворота таким образом, что в убранном положении лапа устанавливается в раме примерно в ее продольном направлении, в то время как в поднятом положении она выступает из рамы так, что примерно перпендикулярна продольному направлению рамы.
3. Устройство по п.2, которое дополнительно снабжено удерживающим устройством, с помощью которого запирающая лапа удерживается в убранном положении или в поднятом положении с помощью.
4. Устройство по п.3, в котором удерживающее устройство содержит дополнительную запирающую лапу, прикрепленную к раме с возможностью поворота и установленную таким образом по отношению к первой запирающей лапе, что в поднятом положении они поддерживают друг друга, а удерживающее устройство содержит пружинный элемент, который подпружинивает обе запирающие лапы таким образом, чтобы они удерживались в убранном положении.
5. Устройство по п.4, в котором запирающие лапы в поднятом положении фиксируют контейнер в нужном положении.
6. Устройство по п.1, в котором запирающая лапа жестко присоединена к раме и выступает из рамы примерно в перпендикулярном направлении для удержания контейнера в нужном положении.
7. Устройство по п.6, в котором конец запирающей лапы, поверхность которого обращена в сторону от рамы, выполнен таким образом, чтобы контейнер мог фиксироваться в нужном положении с обеих сторон.
8. Устройство по любому из предшествующих пунктов, в котором регулировочный элемент прикреплен с возможностью замены по меньшей мере к запирающей лапе и проходит поперек нее в области, которая в положении фиксации взаимодействует с контейнером.
9. Устройство по п.1, в котором имеются проходящие поперечно раме крепежные болты для крепления устройства на роликовом конвейере.
РИСУНКИ
|