|
(21), (22) Заявка: 2009106390/11, 26.02.2009
(24) Дата начала отсчета срока действия патента:
26.02.2009
(46) Опубликовано: 27.05.2010
(56) Список документов, цитированных в отчете о поиске:
RU 2185999 С2, 27.07.2002. US 2599241 А, 03.06.1952. US 3096047 А, 02.07.1963. US 1653849 А, 27.12.1927.
Адрес для переписки:
127018, Москва, 3-й пр-д Марьиной рощи, 40, ФГУП “НПО ТЕХНОМАШ”, отд. 701, А.В. Корнилову
|
(72) Автор(ы):
Морозов Олег Николаевич (RU)
(73) Патентообладатель(и):
Морозов Олег Николаевич (RU)
|
(54) АЭРОСТАТИЧЕСКИЙ ЛЕТАТЕЛЬНЫЙ АППАРАТ
(57) Реферат:
Изобретение относится к управляемым аэростатическим летательным аппаратам. Аэростатический летательный аппарат содержит корпус, оболочку для несущего газа и энергетическую установку, выполненную в виде атомного реактора. Аппарат снабжен системой охлаждения активной зоны реактора и системой регулирования температуры несущего газа. Система охлаждения активной зоны реактора содержит теплообменник, первый контур охлаждения с циркуляционным насосом и второй контур охлаждения, предназначенный для отбора тепла от охладителя первого контура и снабженный циркуляционным насосом. Система регулирования температуры несущего газа выполнена в виде магистралей, снабженных циркуляционным насосом, подсоединенных к оболочке для несущего газа и проходящих через теплообменник. Изобретение направлено на повышение безопасности в эксплуатации. 3 ил.
Изобретение относится к управляемым аэростатическим летательным аппаратам, дирижаблям, и может быть использовано в их энергетических установках для регулирования температуры несущего газа.
Известен дирижабль, содержащий оболочку, в которой размещен баллонет для подъемного газа. Энергетическая установка дирижабля выполнена в виде двух магистралей, соединенных с баллонетом, а также камеры, вентилятора и нагревателя. Камера соединена с одной магистралью, а нагреватель – с другой.
Камера, вентилятор и нагреватель последовательно соединены друг с другом.
Камера имеет окно с регулируемой заслонкой.
Энергетическая установка дирижабля образует циркуляционный контур, обеспечивающий прокачку подъемного газа из баллонета через магистраль в камеру и далее через вентилятор, нагреватель и вторую магистраль – в баллонет.
В процессе функционирования энергетической установки для подъема дирижабля включают вентилятор и нагреватель энергетической установки, в результате чего циркулирующий по контуру газ нагревается и в нагретом состоянии поступает в баллонет и отдает через его корпус тепло гелию, закачанному в оболочку. Учитывая, что подъемная сила нагретого несущего газа выше, чем холодного, то в результате нагрева несущего газа дирижабль совершает движение подъема. Для совершения посадки отключают нагреватель энергетической установки и открывают заслонку, в результате чего в циркуляционный контур через окно засасывается забортный холодный воздух, который, поступая в баллонет, охлаждает несущий газ в оболочке, в результате чего подъемная сила несущего газа уменьшается и дирижабль опускается.
(См. патент РФ 2028962, кл. В64В 1/62, 1992 г.)
В результате анализа конструкции известного дирижабля необходимо отметить, что его энергетическая установка обеспечивает только подъем и приземление дирижабля за счет изменения подъемной силы несущего газа путем регулирования его температуры.
Для перемещения (полета) дирижабля необходим дополнительный (маршевый) двигатель либо транспортирующее средство, осуществляющее транспортировку дирижабля по воздуху по заданному маршруту.
Известен дирижабль, содержащий корпус с отсеками, заполненными несущим газом легче воздуха, гондолу с двигателями, топливные баки, кабину управления и салон для исследователей, установленные на корпусе солнечные батареи, оборудование для переработки природного газа и заполнения выделенными легкими фракциями корпуса дирижабля, а также энергетическую установку, выполненную в виде компактного ядерного реактора.
(См. патент РФ 2185999, кл. В64В 1/06, 2002 г. – наиболее близкий аналог.)
В результате анализа конструкции известного дирижабля необходимо отметить, что наличие нескольких энергетических модулей (двигатели с топливными баками, солнечные батареи, ядерный реактор), а также оборудование для переработки природного газа чрезвычайно утяжеляют дирижабль, усложняют его управление. Наличие на известном дирижабле энергетической установки в виде ядерного реактора создает вероятность радиоактивного заражения как самого объекта, так и окружающей среды.
Задачей настоящего изобретения является разработка конструкции дирижабля, более эффективного в управлении и экологически безопасного в эксплуатации.
Поставленная задача обеспечивается тем, что в аэростатическом летательном аппарате, содержащем корпус, оболочку для несущего газа и энергетическую установку, выполненную в виде атомного реактора, новым является то, что аэростатический летательный аппарат снабжен системой охлаждения активной зоны реактора и системой регулирования температуры несущего газа, система охлаждения активной зоны реактора содержит теплообменник, первый контур охлаждения выполнен в виде магистралей, снабженных циркуляционным насосом, подведенных к активной зоне реактора и проходящих через теплообменник, второй контур охлаждения предназначен для отбора тепла от охладителя первого контура и выполнен в виде магистралей, снабженных циркуляционным насосом и подведенных к теплообменнику, при этом система регулирования температуры несущего газа выполнена в виде магистралей, снабженных циркуляционным насосом, подсоединенных к оболочке с несущим газом и проходящих через теплообменник.
При проведении патентных исследований из уровня техники не выявлены решения, идентичные заявленному, а следовательно, заявленное изобретение соответствует условию патентоспособности «новизна».
Сущность заявленного изобретения не следует явным образом из решений, известных из уровня техники, а следовательно, заявленное изобретение соответствует условию патентоспособности «изобретательский уровень».
Сведений, изложенных в материалах заявки, достаточно для практического осуществления изобретения.
Сущность изобретения поясняется графическими материалами, на которых:
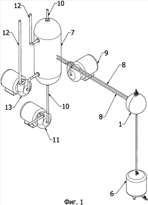
на фиг.1 – энергетическая установка аэростатического летательного аппарата, общий вид;
на фиг.2 – схема энергетической установки;
на фиг.3 – теплообменник энергетической установки в разрезе.
Аэростатический летательный аппарат содержит все традиционные для данного вида летательных аппаратов конструктивные элементы: корпус, оболочку для подъемного (несущего) газа, систему управления летательного аппарата, навигационные средства, энергетическую установку, иные средства, необходимые для выполнения функций, определенных для конкретного летательного аппарата.
Данные конструктивные элементы на графических материалах не показаны, так как давно известны специалистам и не составляют предмета патентной охраны.
Энергетическая установка летательного аппарата выполнена в виде атомного реактора, активная зона 1 которого защищена отражателем 2 нейтронов и защитной (например, свинцовой) оболочкой 3. Доступ к активной зоне осуществляется через колодец 4, закрытый съемной крышкой 5. Для аварийного сброса топливного раствора в случае аварийной остановки реактора предназначен сборник 6, связанный с активной зоной реактора.
В состав энергетической установки входит система охлаждения активной зоны реактора, выполненная в виде теплообменника 7 и контуров охлаждения.
Первый контур предназначен для охлаждения активной зоны реактора прогонкой через нее охладителя. Второй контур предназначен для снижения температуры охладителя перед подачей его в реактор и обеспечения работы систем дирижабля.
Первый контур охлаждения выполнен в виде магистралей (трубопроводов) 8, подведенных к входу и выходу активной зоны реактора, введенных в теплообменник и соединенных друг с другом.
В полости теплообменника для повышения эффективности охлаждения магистрали 8 могут быть свиты в спираль (змеевик). Первый контур охлаждения является замкнутым.
Подпитка его охладителем осуществляется известным образом, например посредством резервной емкости (не показана). Для обеспечения циркуляции охладителя в магистралях 8 установлен насос 9.
Второй контур системы охлаждения предназначен для отбора тепла от охладителя, прошедшего через активную зону реактора и обеспечения работы систем дирижабля.
Он выполнен в виде магистралей 10, подведенных к теплообменнику 7. Магистрали 10 соединены, как правило, с емкостью для охлаждающего агента. Циркуляция охлаждающего агента по магистрали 10 и теплообменнику 7 обеспечивается насосом 11. В качества охладителя и охлаждающей среды используются традиционные компоненты, применяющиеся при эксплуатации реакторов.
К теплообменнику 7 подведены магистрали 12, связанные с оболочкой (не показана) для несущего газа (например, гелия) для обеспечения подъемной силы летательного аппарата и ее регулирования. Циркуляция газа по магистралям 12 осуществляется насосом 13.
Для повышения эффективности нагрева газа магистрали 12 могут образовывать в теплообменнике спираль 14, которая может быть расположена внутри спирали магистралей первого контура охлаждения.
Выполнение насосов, теплообменника, магистралей установки является известным, оно не составляет предмета патентной охраны и поэтому в материалах данной заявки не раскрыто.
Аэростатический летательный аппарат работает следующим образом.
Для осуществления работы аппарата включают энергетическую установку. При функционировании ее реактора приводится в действие маршевый двигатель летательного аппарата, рабочие элементы которого (например, винты) обеспечивают перемещение летательного аппарата.
Для охлаждения активной зоны реактора запуском насосов 9 и 11 вводят в работу первый и второй контуры охлаждения.
Насосы обеспечивают циркуляцию охладителя и охлаждающего агента по магистралям 8 и 10.
Охладитель первого контура охлаждения в процессе циркуляции омывает активную зону реактора и, отбирая от нее тепло, нагревается и поступает для охлаждения в теплообменник 7, находясь в магистралях 8.
Охлаждающий агент второго контура постоянно прокачивается через теплообменник 7.
Проходя через теплообменник, охлаждающий агент второго контура охлаждения охлаждает магистраль 8 (ту часть магистралей, которая расположена в теплообменнике 7), отбирая от нее тепло. Охлажденный охладитель первого контура по магистралям 8 снова направляется для охлаждения активной зоны реактора, а нагретый охлаждающий агент второго контура направляется в системы дирижабля, где обеспечивает их работу и, остывая, снова поступает в теплообменник.
Весьма важным в настоящем устройстве является наличие магистралей 12 для прокачки через теплообменник несущего газа, находящегося в оболочке аппарата. При циркуляции газа через теплообменник газ нагревается и в нагретом состоянии подается в оболочку аппарата.
Как известно, горячий газ обладает гораздо большей подъемной силой, нежели холодный, поэтому подъемная сила летательного аппарата, использующего описанную выше установку, будет значительно превосходить подъемную силу аналогичного аппарата, работающего на холодном газе.
Изменяя температуру подъемного газа, регулируют его подъемную силу, то есть осуществляют управление аппаратом. Такое использование подъемного газа создает большую, например, по сравнению с монгольфьерами, летающими на горячем воздухе, подъемную силу, а регулирование его температуры позволяет в широких пределах менять эту силу и обходиться без балласта.
Учитывая, что первый и второй контуры охлаждения «развязаны» друг с другом, то есть их охлаждающие среды не контактируют друг с другом в процессе эксплуатации реактора, то разработанная конструкция энергетической установки позволяет избежать радиоактивного заражения охлаждающей среды второго контура охлаждения, что повышает уровень безопасности эксплуатации аэростатического летательного аппарата.
Формула изобретения
Аэростатический летательный аппарат, содержащий корпус, оболочку для несущего газа и энергетическую установку, выполненную в виде атомного реактора, отличающийся тем, что аэростатический летательный аппарат снабжен системой охлаждения активной зоны реактора и системой регулирования температуры несущего газа, система охлаждения активной зоны реактора содержит теплообменник, первый контур охлаждения выполнен в виде магистралей, снабженных циркуляционным насосом, подведенных к активной зоне реактора и проходящих через теплообменник, второй контур охлаждения предназначен для отбора тепла от охладителя первого контура и выполнен в виде магистралей, снабженных циркуляционным насосом и подведенных к теплообменнику, при этом система регулирования температуры несущего газа выполнена в виде магистралей, снабженных циркуляционным насосом, подсоединенных к оболочке для несущего газа и проходящих через теплообменник.
РИСУНКИ
|