|
| На основании пункта 1 статьи 1366 части четвертой Гражданского кодекса Российской Федерации патентообладатель обязуется заключить договор об отчуждении патента на условиях, соответствующих установившейся практике, с любым гражданином Российской Федерации или российским юридическим лицом, кто первым изъявил такое желание и уведомил об этом патентообладателя и федеральный орган исполнительной власти по интеллектуальной собственности. |
|
(21), (22) Заявка: 2009107318/11, 27.02.2009
(24) Дата начала отсчета срока действия патента:
27.02.2009
(46) Опубликовано: 27.05.2010
(56) Список документов, цитированных в отчете о поиске:
ЭНЦИКЛОПЕДИЧЕСКИЙ СЛОВАРЬ ЮНОГО ТЕХНИКА. – М.: Педагогика, 1980, с.404. SU 1741835 А1, 23.06.1992. RU 2007106701 А, 27.08.2008. DE 64553 С, 24.09.1892. GB 1074886 А, 05.07.1967.
Адрес для переписки:
153000, г.Иваново, ул. Варенцовой, 17/1, кв.7, Ю.А. Щепочкиной
|
(72) Автор(ы):
Щепочкина Юлия Алексеевна (RU)
(73) Патентообладатель(и):
Щепочкина Юлия Алексеевна (RU)
|
(54) БЫСТРОХОДНЫЙ ПОДВОДНЫЙ АППАРАТ
(57) Реферат:
Изобретение относится, главным образом, к области судомоделизма, в частности, к подводным аппаратам. Быстроходный подводный аппарат содержит корпус с обтекаемой носовой частью, стенку, привод с двигателем. К стенке поперек корпуса прикреплены две крестовины с подшипниками в центре, между которыми на центральной оси, кинематически связанной с приводом двигателя, установлен эксцентрик с возможностью вращения вокруг центральной оси. Достигается возможность высокой маневренности при сохранении общей направленности движения. 1 з.п. ф-лы, 2 ил.
Изобретение относится, главным образом, к области судомоделизма, в частности, к подводным аппаратам.
Известна модель подводного аппарата (лодки) [1], содержащей корпус с обтекаемой носовой частью. Такой модели можно придать характер, прямоидущей или маневрирующей.
Задачей изобретения является упрощение механизма маневренности, быстроходного подводного аппарата.
Техническое решение достигается тем, что в быстроходном подводном аппарате, содержащем корпус с обтекаемой носовой частью, стенку, привод с двигателем, в корпусе установлен с возможностью вращения вокруг центральной оси эксцентрик, кинематически связанный с приводом двигателя. Эксцентрик установлен у носовой части.
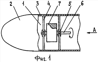
На фиг.1 изображен фрагмент быстроходного подводного аппарата с эксцентриком, расположенным у носовой части, вид сбоку; на фиг.2 – вид по A на фиг.1.
Быстроходный подводный аппарат содержит корпус с обтекаемой носовой частью 2 (хвостовая часть аппарата с гребным винтом не показана). К стенке 3 поперек корпуса прикреплены две крестовины 4 с подшипниками 5 в центре. Между крестовинами на центральной оси 6 установлен с возможностью вращения эксцентрик 7. Центральная ось кинематически связана с приводом двигателя, например, электродвигателя (не показан). Использование вместо эксцентрика иной детали со смещенным, относительно оси вращения, центром массы является эквивалентным техническим решением.
Быстроходный подводный аппарат, содержащий корпус 1 с обтекаемой носовой частью 2, погружают в глубины акватории. Включают привод электродвигателя, при этом кинематически связанная с ним ось 6 получает возможность вращения в подшипниках 5, установленных в крестовинах 4, прикрашенных к стенке 3. Закрепленный на оси эксцентрик 7 изменяет положение (направление) носовой частя подводного аппарата в воде. При включении движителях гребным винтом подводный аппарат начинает перемещаться в водной среде, при этом траектория его перемещения становится многообразной (по винтовой линии).
Конструктивно простой механизм обеспечивает быстроходному подводному аппарату возможность высокой маневренности при сохранения общей направленности движения.
Источники информации
1. Энциклопедический словарь юного техника. – М.: Педагогика, 1980. – С.404.
Формула изобретения
1. Быстроходный подводный аппарат, содержащий корпус с обтекаемой носовой частью, стенку, привод с двигателем, отличающийся тем, что к стенке поперек корпуса прикреплены две крестовины с подшипниками в центре, между которыми на центральной оси, которая кинематически связана с приводом двигателя, установлен с возможностью вращения вокруг центральной оси эксцентрик.
2. Быстроходный подводный аппарат по п.1, отличающийся тем, что эксцентрик установлен в носовой части корпуса.
РИСУНКИ
|
|