|
|
(21), (22) Заявка: 2008142362/11, 28.03.2006
(24) Дата начала отсчета срока действия патента:
28.03.2006
(46) Опубликовано: 27.05.2010
(56) Список документов, цитированных в отчете о поиске:
US 6260914 B1, 17.07.2001. GB 2329363 A, 24.03.1999. WO 2005061314 A1, 07.07.2005. RU 38688 U1, 10.07.2004. SU 1576403 A1, 07.07.1990.
(85) Дата перевода заявки PCT на национальную фазу:
28.10.2008
(86) Заявка PCT:
SE 2006/000385 20060328
(87) Публикация PCT:
WO 2007/111543 20071004
Адрес для переписки:
101000, Москва, Малый Златоустинский пер., д.10, кв.15, “ЕВРОМАРКПАТ”, М.Б.Веселицкому
|
(72) Автор(ы):
НИЛССОН Ян (SE), ОЛОФССОН Бу (SE), ХУБАН Мартин (SE), ТЕНХУНЕН Раймо (SE), ДИВЕРФОРС Микаэль (SE)
(73) Патентообладатель(и):
ВОЛЬВО ЛАСТВАГНАР АБ (SE)
|
(54) СЛОИСТАЯ СТЕНКА ТРАНСПОРТНОГО СРЕДСТВА
(57) Реферат:
Изобретение относится к области транспортного машиностроения. Стенка имеет несколько монтажных отверстий, каждое из которых приспособлено для установки узла для формирования законченной сборочной единицы корпуса транспортного средства. Каждое монтажное отверстие расположено так, что оно совмещается с соответствующим приемным окном при формировании слоистой стенки, когда наружная сторона первой стенки прикреплена к внутренней стороне второй стенки. Корпус транспортного средства содержит первую стенку, имеющую несколько монтажных отверстий, и вторую стенку. Наружная сторона первой стенки прикреплена к внутренней стороне второй стенки так, что каждое монтажное отверстие совмещено с приемным окном для формирования слоистой стенки. Способ формирования законченной сборочной единицы корпуса включает этапы, на которых: осуществляют подготовку первой стенки, установку в каждое монтажное отверстие узла для формирования законченной сборочной единицы корпуса. Способ установки законченной сборочной единицы в корпус включает этапы, на которых: осуществляют подготовку законченной сборочной единицы, содержащей первую стенку, и прикрепляют наружную сторону первой стенки к внутренней стороне второй стенки так, что каждое монтажное отверстие совмещается с приемным окном для формирования слоистой стенки. Достигается улучшение технических характеристик транспортного средства, уменьшение веса конструкции, повышение устойчивости кабины и упрощение сборки. 4 н. и 14 з.п. ф-лы, 6 ил.
Область техники
В целом, изобретение относится к сборочным единицам корпуса транспортного средства, например, модулю кокпита в кабине грузового автомобиля, автобуса, легкового автомобиля или любого другого транспортного средства в автомобилестроении, или кабине поезда, судна или самолета.
Уровень техники
В условиях современного, высокоэффективного производства транспортных средств стало обычным собирать более крупные сборочные единицы перед их окончательной установкой на транспортное средство, например перед установкой в кабину транспортного средства. Сборочной единицей может быть, например, модуль кокпита, включающий такие компоненты, как устройство регулировки положения рулевого колеса, кондиционер, узел педалей, а также и центральный электрический узел и др., т.е. практически полная сборка кокпита. Таким образом, в уровне техники сама по себе известна установка предварительно собранного модуля кокпита в кабину транспортного средства.
Модули кокпита, однако, часто собираются в сборочной оправке, или приспособлении, или в какой-либо иной опорной конструкции, которая отделяется после сборки модуля. Это является очевидным недостатком, поскольку размеры и другие параметры оправок, приспособления и др. должны постоянно подвергаться тщательной проверке, гарантирующей отсутствие ошибок при сборке частей. Такая проверка очень трудоемка, особенно учитывая, что изготовителем используется большое число опорных конструкций в разных монтажных цехах. Кроме того, даже самый жесткий контроль не в состоянии исключить того, что сборочные оправки и приспособления несут в себе возможные источники ошибок изготовления.
Таким образом, в предпочтительном варианте, модули кокпита и другие крупные сборочные единицы должны подвергаться предварительной сборке без использования каких-либо сборочных оправок или приспособлений или др. Известны также попытки усовершенствовать в этом отношении процесс предварительной сборки модуля кокпита.
В ЕР 0736445 В1 описана кабина грузового автомобиля, состоящая из двух предварительно собранных модулей: модуля части кабины и переднего модуля. Модуль части кабины имеет в основе корпус кабины, открытый спереди, т.е. с полностью отделенной передней стенкой. В основе переднего модуля лежит полностью отделенная передняя стенка кабины, которая служит несущей основой и укомплектовывается установкой в ней по меньшей мере большей части частей транспортного средства и узлов, размещаемых в передней зоне кабины.
В US 5,863,093 раскрыт узел приборной панели/противопожарной перегородки, упрощающий установку и сборку определенных компонентов. В частности, противопожарная перегородка предварительно устанавливается и объединяется со сборочной единицей приборной панели перед тем, как эти компоненты устанавливаются в кабину грузового автомобиля. Узел приборной панели/противопожарной перегородки содержит по меньшей мере приборную панель и механизмы тормоза, сцепления и акселератора.
В упомянутых патентах раскрыт модуль кокпита, при сборке которого вся передняя стенка (противопожарная перегородка) кабины используется как сборочная оправка или приспособление. Другими словами, вся передняя стенка отделена от кабины. Однако использование всей противопожарной перегородки как нежесткой сборочной оправки или приспособления для сборки модуля кокпита имеет ряд недостатков.
В качестве первого примера такого недостатка может служить то, что при использовании всей передней стенки (противопожарной перегородки) в качестве сборочной оправки или приспособления, эта оправка или приспособление получается громоздкой и тяжелой. Это затрудняет работу с оправкой или приспособлением и полностью собранным модулем кокпита. Особенно это проявляется, если передняя стенка (противопожарная перегородка) содержит, например, тяжелые арматурные брусья, например, для обеспечения безопасности при столкновении.
Другим недостатком является то, что кабина без передней стенки (противопожарной перегородки) не обладает устойчивостью, что может увеличить риск повреждений при сборке кабины. Поэтому, по соображениям стабильности, было бы лучше установить переднюю стенку (противопожарную перегородку) на место при сборке кабины.
Еще одним недостатком, который можно привести в качестве примера, является то, что части, которые должны быть установлены как на противопожарную перегородку, так и на кабину, не могут быть установлены, пока не прикреплена передняя стенка (противопожарная перегородка). Поэтому, для обеспечения этой установки, переднюю стенку (противопожарную перегородку) целесообразно ставить на место на начальном этапе сборки кабины.
Кроме того, передняя стенка (противопожарная перегородка) обычно используется в качестве нижней опоры ветрового стекла. Установка на кабину отдельной нежесткой передней стенки (противопожарной перегородки) с прикрепленными узлами кокпита потребует тщательной и сложной подгонки к кабине с тем, чтобы не возникало дополнительных напряжений в ветровом стекле или протекания воды по краям ветрового стекла, либо по краям установленной передней стенки (противопожарной перегородки). Сложность подгонки обусловлена, среди прочего, допусками на размеры кабины и нежесткой передней стенки (противопожарной перегородки). Она также связана с обилием различных соединений (кабина-противопожарная перегородка; кабина-ветровое стекло; противопожарная перегородка-ветровое стекло) разного типа, для которых требуются различные средства соединения и/или герметизации, например клеи и т.д., которые не всегда совместимы друг с другом. Поэтому для получения гладкой и неразрывной поверхности кабины, пригодной для установки ветрового стекла, было бы лучше, чтобы передняя стенка (противопожарная перегородка) прочно прикреплялась к кабине при сборке кабины.
Таким образом, существует необходимость в создании усовершенствованной сборочной единицы для транспортных средств и усовершенствованного способа предварительной сборки таких сборочных единиц, в которых устраняется или смягчается по меньшей мере один из упомянутых недостатков.
Краткое изложение сущности изобретения
В настоящем изобретении устраняется или смягчается по меньшей мере один из упомянутых выше недостатков посредством использования первой стенки, приспособленной для образования части слоистой стенки корпуса транспортного средства. Слоистая стенка включает первую стенку и вторую стенку, при этом вторая стенка неразъемно (жестко) прикреплена к корпусу транспортного средства и имеет несколько приемных окон.
Первая стенка, в частности, отличается тем, что:
– в ней имеется несколько монтажных отверстий, каждое из которых приспособлено по меньшей мере для установки одного узла с тем, чтобы сформировать по существу законченную сборочную единицу корпуса транспортного средства; и
– каждое монтажное отверстие расположено так, что оно по существу совмещено с соответствующим приемным окном для формирования слоистой стенки, в которой наружная сторона первой стенки прикреплена к внутренней стороне второй стенки.
По меньшей мере одно из монтажных отверстий в первой стенке может иметь строго индивидуальные форму и размеры с тем, чтобы быть приспособленным для установки с малыми допусками одного или нескольких конкретных узлов.
Кроме того, внутренняя сторона первой стенки может быть оснащена по меньшей мере одними установочными средствами, например крепежной скобой или рамой, для упрощения установки узлов в монтажные отверстия.
В предпочтительном варианте на внутренней стороне первой стенки в монтажных отверстиях закреплены узлы, образуя по существу законченную сборочную единицу, например, модуль кокпита, для ее установки в корпус транспортного средства.
В наиболее предпочтительном варианте первая стенка является внутренней стенкой слоистой стенки, образующей разделительную стенку (противопожарную перегородку), расположенную перед сидениями в корпусе транспортного средства в виде кабины для грузового автомобиля.
В настоящем изобретении также предлагается корпус транспортного средства со слоистой стенкой. Слоистая стенка включает первую стенку и вторую стенку, при этом вторая стенка жестко прикреплена к корпусу транспортного средства и имеет несколько приемных окон.
Корпус транспортного средства, в частности, отличается тем, что:
– в первой стенке имеется несколько монтажных отверстий, в каждом из которых установлен по меньшей мере один узел для формирования по существу законченной сборочной единицы корпуса транспортного средства, причем каждое отверстие расположено так, что по существу совмещено с соответствующим приемным окном, когда наружная сторона первой стенки прикреплена к внутренней стороне второй стенки;
– наружная сторона первой стенки прикреплена к внутренней стороне второй стенки таким образом, что каждое монтажное отверстие существенно совмещено с по меньшей мере одним приемным окном для формирования слоистой стенки.
В первой стенке в корпусе транспортного средства может быть по меньшей мере одно монтажное отверстие со строго индивидуальными формой и размерами с тем, чтобы быть пригодным для установки с малыми допусками одного или нескольких конкретных узлов.
В наиболее предпочтительном варианте на внутренней стороне первой стенки в корпусе транспортного средства в монтажных отверстиях закреплены узлы, образуя по существу законченную сборочную единицу, например модуль кокпита, для ее установки в корпус транспортного средства.
Внутренняя сторона первой стенки в корпусе транспортного средства может быть оснащена по меньшей мере одними монтажными средствами, например крепежной скобой или рамой, для упрощения установки узлов в монтажные отверстия.
В предпочтительном варианте вторая стенка в корпусе транспортного средства имеет по меньшей мере два приемных отверстия, по существу симметрично расположенных с каждой стороны от центра второй стенки. В конкретных вариантах осуществления настоящего изобретения, этим обеспечивается возможность использовать одну и ту же конструкцию корпуса транспортного средства как в условиях левостороннего движения, так и в условиях правостороннего движения.
В предпочтительном варианте осуществления изобретения в наружной стороне первой стенки в корпусе транспортного средства сверху сделано продолговатое углубление, в то время как во внутренней стороне второй стенки сверху сделано соответствующее продолговатое углубление, которые вместе образуют канал. В конкретных вариантах осуществления настоящего изобретения это позволяет создать в корпусе транспортного средства канал антиобледенителя под ветровым стеклом. В соответствующем варианте осуществления изобретения первая стенка в корпусе транспортного средства установлена с интервалом относительно второй стенки с тем, чтобы образовать пространство между внутренней и наружной стенками, которое заполняется звукоизоляционным материалом. В вариантах осуществления настоящего изобретения это позволяет создать под ветровым стеклом в корпусе транспортного средства секцию с улучшенной звукоизоляцией.
В другом варианте осуществления изобретения первая стенка в корпусе транспортного средства жестко прикреплена ко второй стенке в точках скрепления, расположенных снаружи корпуса транспортного средства. В конкретных вариантах осуществления настоящего изобретения этим упрощается доступ сборочному роботу или иному механизму к точкам скрепления для крепления первой стенки ко второй стенке.
В наиболее предпочтительном варианте корпус транспортного средства представляет собой кабину грузового автомобиля, а слоистая стенка является разделительной стенкой (противопожарной перегородкой), располагающейся перед сидениями в кабине.
В настоящем изобретении также предлагается способ формирования по существу законченной сборочной единицы (например, модуля кокпита) корпуса транспортного средства, посредством использования первой стенки, приспособленной для формирования части слоистой стенки в корпусе транспортного средства. Слоистая стенка включает первую стенку и вторую стенку, при этом вторая стенка жестко прикреплена к корпусу транспортного средства и имеет несколько приемных окон.
Способ, в частности, включает шаги:
– подготовка первой стенки, имеющей несколько монтажных отверстий, каждое из которых расположено так, что по существу совмещено с соответствующим приемным окном для формирования слоистой стенки, когда наружная сторона первой стенки прикреплена к внутренней стороне второй стенки;
– установка в каждое монтажное отверстие по меньшей мере одного узла для образования по существу законченной сборочной единицы корпуса транспортного средства.
В настоящем изобретении дополнительно предлагается способ установки по существу законченной сборочной единицы (например, модуля кокпита) в корпус транспортного средства со слоистой стенкой. Слоистая стенка содержит первую стенку и вторую стенку, при этом вторая стенка жестко прикреплена к корпусу транспортного средства и имеет несколько приемных окон.
Способ, в частности, содержит шаги:
– подготовка по существу законченной сборочной единицы, содержащей первую стенку, имеющую несколько монтажных отверстий, в каждом из которых установлен по меньшей мере один узел, и каждое из которых расположено так, что по существу совмещено с соответствующим приемным окном, когда наружная сторона первой стенки прикреплена к внутренней стороне второй стенки;
– прикрепление наружной стороны первой стенки к внутренней стороне второй стенки с тем, чтобы каждое монтажное отверстие существенно совмещалось с по меньшей мере одним приемным окном для формирования слоистой стенки.
В наиболее предпочтительном варианте указанные способы осуществляются применительно к корпусу транспортного средства в форме кабины грузового автомобиля, а слоистая стенка представляет собой разделительную стенку (противопожарную перегородку), размещенную перед сидениями в кабине.
Другие преимущества настоящего изобретения и его варианты осуществления будут ясны из приводимого далее подробного описания изобретения, иллюстрированного прилагаемыми чертежами, на которых:
Краткое описание чертежей
на фиг.1 схематически представлен вид изнутри части кабины грузового автомобиля 100;
на фиг.2а схематически представлен вид наружной стороны приведенной в качестве примера внутренней противопожарной перегородки 210;
на фиг.2б изображена внутренняя сторона внутренней противопожарной перегородки 210, показанной на фиг.2а, оснащенная крепежными скобами 213A-213D;
на фиг.3 схематически представлен вид модуля 300 кокпита, содержащего внутреннюю противопожарную перегородку 210 с установленными на ней узлами кокпита;
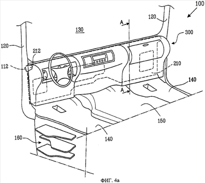
на фиг.4а изображен модуль 300 кокпита, показанный на фиг.3, установленный в кабину 100 грузового автомобиля;
на фиг.4б показано поперечное сечение собранного модуля 300 кокпита по линии А-А на фиг.4а.
Подробное описание предпочтительных вариантов осуществления
На фиг.1 схематически представлен вид изнутри части корпуса транспортного средства в виде приведенной в качестве примера кабины 100 грузового автомобиля. Кабина 100 грузового автомобиля представлена в “чистом”, необорудованном виде, без установленных сборочных единиц или модулей.
В частности, использованная в качестве примера кабина 100 грузового автомобиля содержит необорудованную противопожарную перегородку 110 без прикрепленных к ней узлов, т.е. необорудованную разделительную стенку перед сидениями в кабине 100 грузового автомобиля. Показанная на фиг.1 необорудованная противопожарная перегородка 110 неподвижно (жестко) прикреплена к кабине 100, образуя с кабиной 100 по существу единый корпус. Стык между кабиной 100 и необорудованной противопожарной перегородкой 110 может быть, например, сварен и/или пропаян и обработан до гладкой поверхности, например, подходящей для установки ветрового стекла.
Необорудованная противопожарная перегородка 110 также содержит три приемных окна 111А-111C, приспособленных для ввода различных узлов кокпита. Первое, левое приемное окно 111А может быть, например, приспособлено для ввода узла педалей и устройства регулировки положения рулевого колеса, второе, центральное приемное окно 111В может быть, например, приспособлено для ввода узла обогрева, вентиляции и кондиционирования (ОВКВ), а третье, правое приемное окно 111С может быть, например, приспособлено для ввода центрального электрического узла. Естественно, в необорудованной противопожарной перегородке 110 могут быть приемные окна, приспособленные для ввода одного или нескольких узлов, и в ней также могут быть дополнительные окна различных форм и размеров для различных целей, либо этих окон может быть меньше.
Три приемных окна 111А-111С в использованной в качестве примера необорудованной противопожарной перегородке 110 разделены двумя по существу вертикальными стойками в форме балок. Следует, однако, подчеркнуть, что необорудованная противопожарная перегородка 110 может содержать другие подходящие элементы для разделения приемных окон, например, стальную стенку или ее части, либо любую другую подходящую стенку или ее части.
На фиг.1 также показано, что три приемных окна 111A-111С, в частности левое приемное окно 111А и правое приемное окно 111C, расположены по существу симметрично с каждой стороны относительно центра необорудованной противопожарной перегородки 110. Такая конфигурация предпочтительна, поскольку кабина грузового автомобиля 100 может быть приспособлена как для правостороннего движения, так и для левостороннего движения. Симметричное расположение приемных окон 111А и 111С позволяет устанавливать устройство регулировки положения рулевого колеса либо с правой стороны, либо с левой стороны кабины 100, не производя каких-либо изменений в необорудованной противопожарной перегородке 110.
Кроме того, необорудованная противопожарная перегородка 110 на фиг.1 содержит, в качестве примера, элемент 112 ветрового остекления. В предпочтительном варианте элемент 112 ветрового остекления представляет собой вытянутую балку с С-образным углублением, которая образует часть верхней длинной стороны неподвижно закрепленной необорудованной противопожарной перегородки 110. Элемент 112 ветрового остекления проходит примерно в горизонтальном направлении, по существу перпендикулярно предполагаемому направлению движения кабины 100 грузового автомобиля, для обеспечения опоры переднего ветрового стекла (не показано на фиг.1) кабины 100 грузового автомобиля с нижней горизонтальной стороны ветрового стекла. Две по существу вертикальные передние стойки 120 расположены так, чтобы удерживать ветровое стекло с его боковых вертикальных сторон, и поддерживать крышу кабины 100. Элемент 112 ветрового остекления, вертикальные стойки и крыша образуют по существу прямоугольный проем 130 для ветрового стекла, которое проходит по существу в вертикальном направлении над необорудованной противопожарной перегородкой 110.
Кабина 100 грузового автомобиля на фиг.1 также содержит: пол 140, предназначенный, помимо прочего, для закрепления сидений (не показаны); туннель 150 для двигателя, в котором помещается по меньшей мере часть двигателя грузового автомобиля (не показан); и ступенька 160, облегчающая доступ в кабину 100 грузового автомобиля.
На фиг.2а приведен схематически вид внутренней противопожарной перегородки 210, использованной для иллюстрации варианта осуществления предложенного изобретения. Внутренняя противопожарная перегородка 210 содержит три монтажных отверстия 211А-211C, приспособленных для установки в них различных узлов кокпита. В предпочтительном варианте монтажные отверстия 211А-211С во внутренней противопожарной перегородке 210 имеют индивидуальную форму и размеры, обеспечивающие установку с малыми допусками одного или нескольких конкретных узлов кокпита. Малые допуски подразумевают, что монтажное отверстие несколько больше устанавливаемого в него узла, например, между узлом и краями монтажного отверстия может быть зазор, измеряемый миллиметрами или долями миллиметра. Этим обеспечивается более точное положение узла и улучшается использование материала во внутренней противопожарной перегородке 210. Естественно, монтажные отверстия также могут быть сделаны меньше, что повышает прочность внутренней стенки 210.
Монтажные отверстия 211А-211C во внутренней стенке 210 соответствуют приемным окнам 111А-111С в необорудованной противопожарной перегородке 110, которые предназначены для ввода одного или нескольких узлов кокпита, устанавливаемых в монтажные отверстия 211А-211С во внутренней противопожарной перегородке 210. Предположим, например, что левое приемное окно 111А необорудованной противопожарной перегородки 110 предназначено для ввода узла педалей и узла регулировки положения рулевого колеса, в то время как центральное приемное окно 111В предназначено для ввода блока обогрева, вентиляции и кондиционирования, а правое приемное окно 111C предназначено для ввода центрального электрического узла. В таком случае, приведенная в качестве примера внутренняя противопожарная перегородка 210 слева будет иметь монтажное отверстие 211А для установки узла педалей и узла регулировки положения рулевого колеса, в центре – монтажное отверстие 211В для установки блока обогрева, вентиляции и кондиционирования, а справа – монтажное отверстие 211C для установки центрального электрического узла.
Монтажные отверстия 211А-211С во внутренней противопожарной перегородке 210 расположены таким образом, чтобы совмещаться с приемными окнами 111A-111C необорудованной противопожарной перегородки 110 при прикреплении наружной стороны внутренней противопожарной перегородки 210, показанной на фиг.2а, к внутренней стороне необорудованной противопожарной перегородки 110, показанной на фиг.1. Однако даже если окна 111А-111С и отверстия 211А-211C совмещаются, в их полном и тождественном совпадении нужды может и не быть. Напротив, приемные окна 111A-111C могут быть больше, чем монтажные отверстия 211А-211C. Приемные окна 111А-111С и монтажные отверстия 211А-211C могут также иметь разные формы, т.е. они не обязательно должны иметь одинаковую форму.
Кроме того, как показано на фиг.2а, использованная в качестве примера внутренняя противопожарная перегородка 210 в своей верхней длинной части содержит углубление в виде С-образной продолговатой балки 212. С-образная балка размещена таким образом, чтобы сформировать канал или трубопровод, когда наружная сторона внутренней противопожарной перегородки 210 прикреплена к внутренней стороне необорудованной противопожарной перегородки 110. Канал и обеспечиваемые им преимущества будут описаны далее со ссылкой на фиг.4б.
На фиг.2б показана внутренняя сторона внутренней противопожарной перегородки 210, изображенной на фиг.2а. В предпочтительном варианте, внутренняя сторона внутренней противопожарной перегородки 210 имеет несколько крепежных скоб 213A-213D. Конкретная внутренняя противопожарная перегородка 210 на фиг.2б имеет четыре крепежных скобы 213A-213D, расположенных вертикально по сторонам монтажных отверстий 211А-211D для обеспечения установки узлов кокпита в монтажные отверстия 211А-211C. Естественно, существуют и другие средства, например, рамки, которые могут быть использованы для обеспечения установки узлов в монтажные отверстия 211А-211D.
На фиг.3 показана внутренняя противопожарная перегородка 210, с установленными в монтажные отверстия 211А-211C узлами кокпита. Внутренняя противопожарная перегородка 210 и установленные узлы кокпита образуют сборочную единицу в виде модуля 300 кокпита. В предпочтительном варианте, модуль 300 кокпита полностью собран, т.е., по существу все узлы кокпита, например, узлы приборной панели, и упоминавшиеся выше узел педалей, узел регулировки положения рулевого колеса, блок кондиционера и центральный электрический узел и т.д., установлены на внутренней противопожарной перегородке 210. В предпочтительном варианте по существу законченный модуль 300 кокпита также содержит типичную внешнюю оболочку 310 из подходящего пластического материала, которая образует поверхности внутренних панелей кокпита перед глазами водителя и пассажиров.
Из изложенного выше должно быть ясно, что сборочная единица в виде приведенного в качестве примера модуля 300 кокпита собирается без использования какой-либо дополнительной сборочной оправки или приспособления, или иной опорной конструкции. Вместо этого внутренняя противопожарная перегородка 210 используется в качестве рамы для сборки модуля 300 кокпита. Это представляет собой очевидное усовершенствование по сравнению с известными способами сборки, в которых используются различные сборочные оправки или приспособления для сборки модуля кокпита.
Также из изложенного выше должно быть ясно, что необорудованная противопожарная перегородка 110 остается неразъемно (жестко) закрепленной в кабине 100 грузового автомобиля, в то время как внутренняя противопожарная перегородка 210 используется в качестве рамы для сборки модуля 300 кокпита. Это представляет собой очевидное преимущество по сравнению с технологией, когда вся противопожарная стенка отделяется от кабины транспортного средства, чтобы использоваться как рама для сборки модуля кокпита. Также очевидным преимуществом является то, что внутренняя противопожарная перегородка 210, согласно предложенному изобретению, может быть сделана значительно легче, чем целая противопожарная перегородка.
То, что необорудованная противопожарная стенка 110 неразъмно прикреплена, создает очевидные преимущества в отношении: стабильности формы кабины 100, установки необходимых компонентов как на противопожарную перегородку 110, так и в кабину 100 на начальных этапах сборки, и монтажа ветрового стекла на противопожарную перегородку 110 и остальную часть кабины 100.
В частности, в отношении установки ветрового стекла следует подчеркнуть, что жестко закрепленная необорудованная противопожарная перегородка 110, согласно изобретению, создает однородную поверхность, на которую может быть смонтировано ветровое стекло. Однородная поверхность не имеет стыков сборки между кабиной 100 и противопожарной перегородкой 110, которые бывают в случае использования сплошной противопожарной перегородки кабины в виде нежесткой отделяемой монтажной рамы. Таким образом, в настоящем изобретении исключены проблемы допусков, относящиеся к сборочным стыкам между кабиной и отделяемой нежесткой противопожарной перегородкой, и негативное влияние отклонений этих допусков на установку ветрового стекла. Кроме того, для однородной поверхности, образуемой необорудованной противопожарной перегородкой 110, жестко прикрепленной к кабине 100, согласно настоящему изобретению, не требуется какого-либо крепления или герметизации между кабиной 100 и необорудованной противопожарной перегородкой 110. Напротив, в настоящем изобретении требуется герметизация только одного стыка, а именно стыка между ветровым стеклом и кабиной 100, однородной частью которой является необорудованная противопожарная перегородка 110. Другими словами, отсутствует необходимость применения нескольких различных и, возможно, несовместимых средств соединения и/или герметизации, что, как правило, бывает в случае различных стыков при использовании отдельной нежесткой противопожарной перегородки (стыки между: кабина-противопожарная перегородка; кабина-ветровое стекло; противопожарная перегородка-ветровое стекло).
Далее рассмотрим установку в кабину 100 по существу законченного модуля 300 кокпита. Также рассмотрим полученную в результате этой установки слоистую противопожарную перегородку 400.
На фиг.4а показан модуль 300 кокпита, установленный в кабину 100 грузового автомобиля, показанную на фиг.1, которая, как было показано ранее, содержит необорудованную противопожарную перегородку 110 с С-образным элементом 112 ветрового остекления, двумя передними стойками 120, полом 140, туннелем 150 двигателя и ступенькой 160.
В предпочтительном варианте сборка модуля 300 кокпита выполняется роботом, хотя также может производиться и вручную. Модуль 300 кокпита может, например, вводиться в кабину 100 через дверной проем или проем 130 ветрового стекла. В предпочтительном варианте модуль 300 кокпита устанавливается на необорудованную противопожарную перегородку 110 заключительным по существу горизонтальным движением в направлении Z, т.е. в направлении предполагаемого движения кабины 100. Затем, в предпочтительном варианте, модулю 300 кокпита придается нужное направление направляющими средствами, например, направляющими штырями (не показаны), с тем, чтобы обеспечить правильное положение относительно необорудованной противопожарной перегородки 110, перед его окончательным закреплением. Крепление приведенной в качестве примера внутренней противопожарной перегородки 210 будет описано ниже.
На фиг.4б показано поперечное сечение установленного модуля 300 кокпита, сделанное по линии А-А на фиг.4а. Чтобы было лучше видно необорудованную противопожарную перегородку 110 и внутреннюю противопожарную перегородку 210, не показано несколько частей модуля 300 кокпита. На фиг.4б также показан вид сбоку туннеля 150 двигателя и пола 140, упоминавшихся ранее в связи с фиг.1 и 4а. На фиг.4б также схематически показано ветровое стекло, установленное на необорудованную противопожарную перегородку 110.
Как показано на фиг.4б и, отчасти, на фиг.4а, наружная сторона внутренней противопожарной перегородки 210 прикреплена к внутренней стороне необорудованной противопожарной перегородки 110, т.е. модуль 300 кокпита прикреплен к внутренней стороне необорудованной противопожарной перегородки 110 наружной стороной внутренней противопожарной перегородки 210. Тем самым, необорудованная противопожарная перегородка 110 и внутренняя противопожарная перегородка 210 образуют слоистую противопожарную перегородку 400.
В соответствии с вариантом осуществления изобретения, показанным на фиг.4б, канал 410 антиобледенителя образован С-образным элементом 112 ветрового остекления необорудованной противопожарной перегородки 110 и С-образной балкой 212 внутренней противопожарной перегородки 210. Как видно на фиг.4б и, отчасти, на фиг.4а, С-образный элемент 112 ветрового остекления и С-образная балка 212 обращены друг к другу, образуя овальный канал 410 антиобледенителя. Однако следует подчеркнуть, что даже если в настоящем изобретении элемент 112 ветрового остекления и балка 212 имеют С-образную форму, для необорудованной противопожарной перегородки 110 и внутренней противопожарной перегородки 210 могут быть использованы и другие формы, при которых будет также образован канал антиобледенителя. В качестве других конфигураций может быть использована, например, любая подходящая конфигурация многоугольной формы, или подходящей криволинейной или круглой формы, или любой подходящей комбинации многоугольной и круглой форм. В предпочтительном варианте, необорудованная противопожарная перегородка 110 содержит часть канала, конфигурация которой соответствует первой части формы, а внутренняя противопожарная перегородка 210 содержит часть канала, конфигурация которой соответствует второй части формы, благодаря чему при стыковке наружной стороны внутренней противопожарной перегородки 210 с внутренней стороной необорудованной противопожарной перегородки 110 образуется канал.
Кроме того, в предпочтительном варианте, слоистая противопожарная перегородка 400 образуется путем размещения необорудованной противопожарной перегородки 110 и внутренней противопожарной перегородки 210 с небольшим интервалом, например, 10-50 мм. Расстояние между двумя стенками 110, 210 образует пространство, которое, в предпочтительном варианте, заполняется подходящим изолирующим материалом 420. Желательно, чтобы изолирующий материал 420 был звукоизоляционным материалом, например, любым известным и подходящим звукоизоляционным материалом, обычно используемым для звукоизоляции пассажирских салонов в транспортных средствах. Также желательно, чтобы изолирующий материал 420 обеспечивал изоляцию от воздействия климатических факторов, например, был любым известным и подходящим материалом, обычно используемым для изоляции от воздействия климатических факторов пассажирских салонов транспортных средств. В наиболее предпочтительном варианте изолирующий материал 420 одновременно обеспечивает звукоизоляцию и изоляцию от воздействия климатических факторов. Это может быть достигнуто использованием слоев различных материалов, где первый материал является звукоизоляционным, а второй материал обеспечивает изоляцию от климатических воздействий. Это также может быть достигнуто, например, использованием звукоизоляционных свойств материала, изолирующего от климатических воздействий, либо использованием звукоизоляционного материала, обеспечивающего защиту от воздействия климатических факторов, либо просто использованием материала, обладающего удовлетворительными звукоизоляционными свойствами и обеспечивающего удовлетворительную защиту от климатических воздействий. Выражение “защита от климатических воздействий” следует понимать как защиту по меньшей мере от воздействия одного из факторов – тепла или холода, желательно от обоих воздействий.
В предпочтительном варианте, модуль 300 кокпита также прикреплен к необорудованной противопожарной перегородке 110 в точках 440А-440С скрепления, находящихся на наружной поверхности кабины 100. Этим упрощается доступ робота-сборщика к точкам 440А-440С скрепления для прикрепления внутренней противопожарной перегородки 210 к необорудованной противопожарной перегородке 110. Прикрепление может осуществляться, например, свинчиванием, клепкой, сваркой, пайкой или даже приклеиванием, либо комбинацией двух или нескольких из указанных способов, либо любым другим способом, пригодным для соединения таких деталей как внутренняя противопожарная перегородка 210 и необорудованная противопожарная перегородка 110.
Изобретение было описано посредством примеров его осуществления, которые ни в какой мере не должны восприниматься как ограничивающие область притязаний изобретения. Напротив, другие модификации и изменения могут быть сделаны в рамках изобретения, определяемого приложенной формулой.
Формула изобретения
1. Первая стенка (210), приспособленная для формирования в корпусе транспортного средства (100) части слоистой стенки (400), включающей первую стенку (210) и вторую стенку (110), которая жестко прикреплена к корпусу (100) транспортного средства и имеет несколько приемных окон (111А-111C), отличающаяся тем, что она имеет несколько монтажных отверстий (211А-211С), каждое из которых приспособлено для установки по меньшей мере одного узла для формирования по существу законченной сборочной единицы (300) корпуса (100) транспортного средства, и при этом каждое монтажное отверстие (211А-211С) расположено так, что оно по существу совмещается с соответствующим приемным окном (111A-111С) при формировании слоистой стенки (400), когда наружная сторона первой стенки (210) прикреплена к внутренней стороне второй стенки (110).
2. Первая стенка (210) по п.1, отличающаяся тем, что в ней имеется по меньшей мере одно монтажное отверстие (211А-211С), индивидуальное, например, по размеру и форме, и специально приспособленное для обеспечения установки с малыми допусками одного или нескольких специфичных узлов.
3. Первая стенка (210) по п.1, отличающаяся тем, что на внутренней стороне имеется по меньшей мере одно установочное средство (213A-213D), например, крепежная скоба или рама, для упрощения установки узлов в монтажные отверстия (211А-211D).
4. Первая стенка (210) по п.1, отличающаяся тем, что с внутренней стороны в монтажные отверстия (211А-211D) установлены узлы для формирования, по существу, законченной сборочной единицы, например, модуля (300) кокпита, для установки в корпус (100) транспортного средства.
5. Первая стенка (210) по любому из предшествующих пунктов, отличающаяся тем, что первая стенка (210) является внутренней стенкой в слоистой стенке (400), представляющей собой разделительную стенку, в частности противопожарную перегородку, размещенную перед сиденьями в корпусе транспортного средства, представляющем собой кабину (100) грузового автомобиля.
6. Корпус (100) транспортного средства со слоистой стенкой (400), включающей первую стенку (210) и вторую стенку (110), которая жестко прикреплена к корпусу (100) транспортного средства и имеет несколько приемных окон (111А-111C), отличающийся тем, что первая стенка (210) имеет несколько монтажных отверстий (211А-211C), в каждом из которых установлен по меньшей мере один узел для формирования по существу законченной сборочной единицы (300) корпуса (100) транспортного средства, и каждое из которых расположено так, что оно, по существу, совмещается с соответствующим приемным окном (111A-111С), когда наружная сторона первой стенки (210) прикрепляется к внутренней стороне второй стенки (110), и наружная сторона первой стенки (210) прикреплена к внутренней стороне второй стенки (110) так, что каждое монтажное отверстие (211А-211C), по существу, совмещено с по меньшей мере одним приемным окном (111А-111C) для формирования слоистой стенки (400).
7. Корпус (100) транспортного средства по п.6, отличающийся тем, что в первой стенке (210) имеется по меньшей мере одно монтажное отверстие (211А-211С), индивидуальное, например, по размерам и форме, и специально приспособленное для обеспечения установки с малыми допусками одного или нескольких специфичных узлов.
8. Корпус (100) транспортного средства по п.6, отличающийся тем, что на внутренней стороне первой стенки (210) в монтажные отверстия (211A-211D) установлены узлы для формирования, по существу, законченной сборочной единицы, например, модуля (300) кокпита.
9. Корпус (100) транспортного средства по п.6, отличающийся тем, что на внутренней стороне первой стенки (210) имеется по меньшей мере одно установочное средство (213A-213D), например, крепежная скоба или рама, для упрощения установки узлов в монтажные отверстия (211А-211D).
10. Корпус (100) транспортного средства по п.6, отличающийся тем, что во второй стенке (110) имеется по меньшей мере два приемных окна (111А, 111C), расположенных, по существу, симметрично относительно центра второй стенки (110).
11. Корпус (100) транспортного средства по п.6, отличающийся тем, что с наружной стороны первой стенки (210) имеется сверху продолговатое углубление (212) и с внутренней стороны второй стенки (110) имеется сверху соответствующее продолговатое углубление (112), которые вместе образуют канал (410).
12. Корпус (100) транспортного средства по п.6, отличающийся тем, что первая стенка (210) расположена с интервалом относительно второй стенки (110) с образованием пространства между стенками (110, 210), которое заполнено изолирующим материалом (420), являющимся по меньшей мере звукоизоляционным или изолирующим от климатических воздействий материалом.
13. Корпус (100) транспортного средства по п.6, отличающийся тем, что первая стенка (210) жестко прикреплена ко второй стенке (110) в точках крепления (440А-440С), находящихся снаружи корпуса транспортного средства, в частности кабины 100.
14. Корпус (100) транспортного средства по любому из пп.6-13, отличающийся тем, что он представляет собой кабину (100) грузового автомобиля, а слоистая стенка (400) является разделительной стенкой, в частности противопожарной перегородкой, расположенной перед сиденьями в кабине (100).
15. Способ формирования, по существу, законченной сборочной единицы (300) корпуса (100) транспортного средства с использованием первой стенки (210), приспособленной для формирования в корпусе (100) транспортного средства части слоистой стенки (400), включающей первую стенку (210) и вторую стенку (110), жестко прикрепленную к корпусу (100) транспортного средства и имеющую несколько приемных окон (111А-111C), отличающийся тем, что он включает шаги, на которых: осуществляют подготовку первой стенки (210), имеющей несколько монтажных отверстий (211А-211С), каждое из которых расположено так, что оно, по существу, совмещается с соответствующим приемным окном (111A-111С) при формировании слоистой стенки (400), когда наружная сторона первой стенки (210) прикреплена к внутренней стороне второй стенки (110), устанавливают в каждое монтажное отверстие (211А-211С) по крайней мере один узел для формирования, по существу, законченной сборочной единицы (300) корпуса (100) транспортного средства.
16. Способ установки, по существу, законченной сборочной единицы (300) в корпус (100) транспортного средства, имеющий слоистую стенку (400), включающую первую стенку (210) и вторую стенку (110), которая жестко прикреплена к корпусу (100) транспортного средства и имеет несколько приемных окон (111А-111C), отличающийся тем, что он включает шаги, на которых: осуществляют подготовку, по существу, законченной сборочной единицы (300), содержащей первую стенку (210), имеющую несколько монтажных отверстий (211А-211C), в каждом из которых установлен по меньшей мере один узел, и каждое из которых, по существу, совмещается с соответствующим приемным отверстием (111A-111С), когда наружная сторона первой стенки (210) прикреплена к внутренней стороне второй стенки (110), прикрепляют наружную сторону первой стенки (210) к внутренней стороне второй стенки (110) так, что каждое монтажное отверстие (211А-211C), по существу, совмещается с, по меньшей мере, одним приемным окном (111А-111C) для формирования слоистой стенки (400).
17. Способ по п.15, отличающийся тем, что корпус транспортного средства является кабиной (100) грузового автомобиля, а слоистая стенка (400) является разделительной стенкой, в частности противопожарной перегородкой, расположенной перед сиденьями в кабине (100).
18. Способ по п.16, отличающийся тем, что корпус транспортного средства является кабиной (100) грузового автомобиля, а слоистая стенка (400) является разделительной стенкой, в частности противопожарной перегородкой, расположенной перед сиденьями в кабине (100).
РИСУНКИ
|
|