|
|
(21), (22) Заявка: 2009120149/11, 28.05.2009
(24) Дата начала отсчета срока действия патента:
28.05.2009
(46) Опубликовано: 27.05.2010
(56) Список документов, цитированных в отчете о поиске:
RU 1986 U1, 16.04.1996. SU 432026 А1, 15.06.1974. JP 2008201405 А, 04.09.2008. JP 2007153162 А, 21.06.2007. DE 19828900 А1, 25.11.1999.
Адрес для переписки:
142632, Московская обл., Орехово-Зуевский р-н, д. Демихово, ул. Заводская, 1, ОАО “ДМЗ”, ГПИР УГК
|
(72) Автор(ы):
Гречушкин Виктор Егорович (RU), Павлов Олег Анатольевич (RU)
(73) Патентообладатель(и):
Открытое Акционерное общество “Демиховский Машиностроительный завод” (ОАО “ДМЗ”) (RU)
|
(54) ПЕРЕХОДНАЯ ПЛОЩАДКА ЖЕЛЕЗНОДОРОЖНОГО ТРАНСПОРТНОГО СРЕДСТВА
(57) Реферат:
Изобретение относится к железнодорожному транспорту. Переходная площадка содержит неподвижный мостик (1) на кузове транспортного средства, подвижный мостик (2) на сцепной раме (3), гибкое обрамление (4), закрепленное одним концом на кузове, а другим концом на сцепной раме (3). Сцепная рама (3) соединительными балками (5) соединена с амортизаторами (6) кузова и выполнена асимметричной относительно вертикальной оси. Вертикальные стойки сцепной рамы (3) выполнены в виде равных по величине и ориентированных в противоположные стороны двухгранных углов, ребра которых параллельны вертикальной оси сцепной рамы (3). Верхняя горизонтальная поперечина сцепной рамы (3) выполнена асимметричной относительно вертикальной оси сцепной рамы и содержит по всей длине поперечины вогнутый профиль, а на части вогнутого профиля со стороны вертикальной стойки выпуклого профиля установлен горизонтальный выпуклый профиль. В средней части поперечины вогнутый профиль соединен с выпуклым профилем ребром. Усилием пружин амортизаторов (6) сцепные рамы смежных вагонов образуют неразъемное соединение. Сцепная рама (3) имеет возможность вращаться в горизонтальной и вертикальной плоскостях. Изобретение повышает надежность. 5 з.п. ф-лы, 7 ил.
Область техники
Изобретение относится к железнодорожному транспорту, а именно к конструкции перехода из одного транспортного средства в другое, в частности к конструкции переходной площадки.
Целью разработки конструкций переходных площадок транспортных средств является обеспечение возможности перехода людей из одного транспортного средства в другое на стоянке и во время движения, изоляция людей от воздействия внешней среды при переходе из одного транспортного средства в другое, обеспечение предварительного натяга автосцепных приборов нежесткого типа (автосцепка СА-3), гашение взаимных колебаний двух смежных транспортных средств в движении, в результате чего повышается плавность хода транспортных средств.
Уровень техники
Известна переходная площадка, содержащая упорный элемент, связанный с переходным мостиком, взаимодействующим с опорной плитой, жестко закрепленной на торцевой стенке кузова. Между кузовом и упорным элементом расположен упругий элемент. Между мостиком и опорной плитой расположен элемент качения (патент RU 2020100 B61D 17/20, 1994).
Известна переходная площадка, содержащая шарнирно закрепленную на торцевой стене вагона плиту, подпружиненный фартук, смонтированный на плите с возможностью перемещения в продольном относительно вагона направлении, и опоры для фартука (патент RU 2091259 B61D 17/20, 1997).
Известна переходная площадка, содержащая опору, переходной мостик, шарнирно закрепленный на торцевой стене вагона и опирающийся на опору (патент RU 2104192 B61D 17/20, 1998).
Известна переходная площадка, содержащая настил пола транспортного средства и переходной мостик, опирающийся опорными элементами качения на направляющие (патент RU 2146628 B61D 17/20, 2000).
Известна переходная площадка, содержащая переходный мостик, средство крепления переходного мостика на секции транспортного средства, опорный элемент другой секции с размещенным на нем свободным концом переходного мостика (патент RU 2193985 B61D 17/20, 2002).
Общий недостаток перечисленных выше известных конструкций переходных площадок – они решают только одну задачу обеспечения возможности перехода людей из одного транспортного средства в другое на стоянке и во время движения, не решают в комплексе задач изоляции людей от воздействия внешней среды при переходе из одного транспортного средства в другое, задач предварительного натяга автосцепных приборов нежесткого типа (автосцепка СА-3), гашения взаимных колебаний двух смежных транспортных средств в движении и задач повышения плавности хода транспортных средств.
Переходная площадка (авторское свидетельство СССР 867742 B61D 17/20, 1979 г.) является прототипом предлагаемого изобретения переходной площадки железнодорожного транспортного средства.
Конструкция переходной площадки вагона электропоезда прототипа, содержащая неподвижный мостик, закрепленный на кузове транспортного средства, и расположенный над ним подвижный мостик, жестко закрепленный на упорной балке, имеющий правую и левую нажимные площадки и кинематически связанный с амортизаторами, закрепленными на кузове транспортного средства. Для изоляции перехода от воздействия внешней среды на кузове транспортного средства закреплено гибкое обрамление, состоящее из двух вертикальных и одного верхнего горизонтального резиновых баллонов, поджимаемых к смежным баллонам другого транспортного средства при сцеплении транспортных средств.
Указанная конструкция переходной площадки при сцеплении транспортных средств автоматически обеспечивает возможность перехода пассажиров из вагона в вагон на стоянке и во время движения, а также обеспечивает предварительный натяг автосцепок нежесткого типа (автосцепка СА-3). Недостатком вышеуказанной конструкции является то, что изоляция людей от воздействия внешней среды при переходе из одного транспортного средства в другое обеспечивается частично, а гашение взаимных колебаний смежных транспортных средств в движении практически отсутствует.
Для решения задач по обеспечению автоматического сцепления и расцепления переходных площадок смежных транспортных средств на любых участках магистрального железнодорожного пути независимо от типа автосцепных приборов, обеспечению возможности комфортного перехода людей из одного транспортного средства в другое на стоянке и во время движения, изоляции людей от воздействия внешней среды при переходе из одного транспортного средства в другое, обеспечению предварительного натяга автосцепок СА-3, обеспечению гашения взаимных колебаний двух смежных транспортных средств в движении и повышению плавности хода транспортных средств предлагается следующая переходная площадка железнодорожного транспортного средства, которая иллюстрируется чертежами, представленными на фиг.1-7.
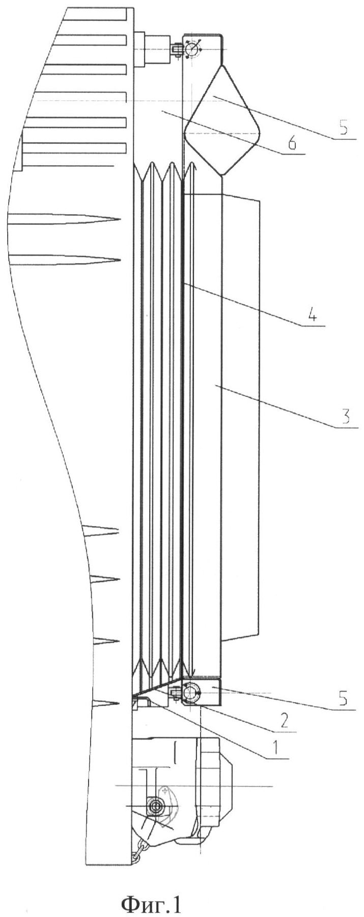
На фиг.1 – общий вид концевой части транспортного средства.
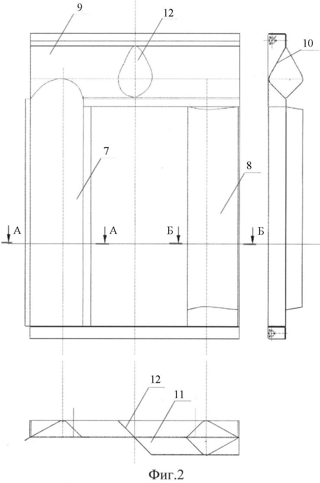
На фиг.2 – сцепная рама.
На фиг.3 – сечение А-А вогнутой вертикальной стойки и сечение Б-Б выпуклой вертикальной стойки сцепной рамы.
На фиг.4 – соединительная балка.
На фиг.5 – узлы соединения соединительной балки с амортизатором и кузовом транспортного средства.
На фиг.6 – положение переходных площадок при взаимных вертикальных смещениях смежных транспортных средств.
На фиг.7 – положение сцепных рам и амортизаторов при горизонтальных взаимных смещениях транспортных средств.
Сущность изобретения
Переходная площадка железнодорожного транспортного средства относится к железнодорожному транспорту и касается устройств для перехода людей из одного транспортного средства в другое в движении и на стоянке. Заявленное техническое решение повышает надежность площадок при сцеплении транспортных средств и безопасность их эксплуатации для людей.
Сущность изобретения: переходная площадка железнодорожного транспортного средства содержит неподвижный мостик (1), закрепленный на кузове транспортного средства, подвижный мостик (2), шарнирно закрепленный на сцепной раме (3), гибкое обрамление в виде гофрированной гибкой гармошки (4), одним концом закрепленной на кузове транспортного средства, а другим концом на сцепной раме (3). Сцепная рама (3) двумя соединительными балками (5) соединена с верхними и нижними амортизаторами (6), шарнирно закрепленными на кузове транспортного средства, сцепная рама (3) выполнена асимметричной относительно ее вертикальной оси. Вертикальные стойки (7, 8) сцепной рамы (3) выполнены в виде равных по величине и ориентированных в противоположные стороны двухгранных углов, ребра которых параллельны вертикальной оси сцепной рамы (3). Верхняя горизонтальная поперечина (9) сцепной рамы (3) также выполнена асимметричной относительно вертикальной оси сцепной рамы (3) – по всей длине поперечины (9) установлен горизонтальный вогнутый профиль (10), а со стороны вертикальной стойки (8) выпуклого профиля на горизонтальный вогнутый профиль (10) установлен горизонтальный выпуклый профиль (11). Профили выполнены в виде равных по величине и ориентированных в противоположные стороны двухгранных углов, ребра которых параллельны горизонтальной оси сцепной рамы (3). В средней части поперечины (9) вогнутый профиль (10) соединен с выпуклым профилем (11) ребром (12), установленным вертикально под углом к горизонтальной оси поперечины. Для соединения с верхними и нижними амортизаторами (6) на сцепной раме (3) сверху и внизу установлены соединительные балки (5). Соединительные балки (5) выполнены из стального профиля (13). В цапфах каждой соединительной балки (5) закреплены две параллельных трубы (15, 19), на одну трубу (15) установлены два ползуна (16) с кронштейнами (17), на другую трубу (19) две пружины сжатия (20), сжимаемые соответствующими упорами (21). Каждый упор (21) одним концом надет на ползун (16), зафиксирован от перемещений вдоль ползуна (16), но имеет возможность вращаться относительно продольной оси ползуна (16). Вторым концом упор (21) надет на трубу (19) с пружинами, имеет возможность вращаться и перемещаться вдоль продольной оси трубы (19). Каждая соединительная балка (5) кронштейнами (17) ползунов (16) и пальцами (23) соединена со штоками (24) амортизаторов (6). Сцепная рама (3) имеет возможность вращаться в горизонтальной плоскости относительно каждого амортизатора (6) по осям пальцев (23), соединяющих ее со штоками (24) амортизаторов (6). В вертикальной плоскости сцепная рама (3) вращается относительно амортизаторов (6) по осям труб (15) с ползунами (16). Шток 24 амортизатора 6 вставлен в корпус 25 амортизатора 6 и поджат пружинами 26 до упора стопора 27 в вырез в корпусе 25 амортизатора 6, что предохраняет шток 24 от выпадения в нерабочем состоянии (на отдельно стоящем транспортном средстве). Корпус 25 каждого амортизатора (6) шарнирно закреплен на кузове транспортного средства, имеет возможность поворота вокруг оси (28) в вертикальной плоскости. На ось (28) установлены пружины кручения (29), которые при перемещении корпуса (25) вниз закручиваются прижимом (30), а после снятия нагрузки возвращают корпус (25) и сцепную раму (3) в исходное положение. Шток 24 выполнен в виде цилиндра с секторными окнами (31), в которые вставлены разрезные конические фрикционные сухари (32). Фрикционные сухари 32 конусами (33, 34) с двух сторон и усилиями пружин 26 прижимаются к внутренней поверхности корпуса (25) и при перемещении вдоль оси корпуса (25) создают силы трения.
Описание чертежей
На фиг.1 изображен общий вид концевой части транспортного средства с предлагаемой переходной площадкой, где 1 – неподвижный мостик, 2 – подвижный мостик, 3 – сцепная рама, 4 – гофрированная гибкая гармошка, 5 – соединительная балка сцепной рамы (3), 6 – межвагонный амортизатор. На фиг.2 изображена сцепная рама (3), где 7 – вертикальная стойка с вогнутым профилем, 8 – вертикальная стойка с выпуклым профилем, 9 – горизонтальная поперечина сцепной рамы (3), 10 – вогнутый профиль горизонтальной поперечины (9) сцепной рамы (3), 11 – выпуклый профиль поперечины (9), 12 – вертикальное ребро, соединяющее профили 10 и 11. На фиг.3 изображены сечения А-А вогнутой вертикальной стойки 7 и сечение Б-Б выпуклой вертикальной стойки 8 сцепной рамы (3). На фиг.4 изображена соединительная балка (5), где 13 – стальной профиль, 14 – две цапфы для закрепления трубы 15, 15 – труба, 16 – ползун, 17 – кронштейн ползуна, 18 – цапфа трубы 19, 19 – труба под пружины 20, 20 – пружина, 21 – упор, 22 – гайка, 23 – палец, соединяющий шток 24 амортизатора (6) с кронштейном 17 ползуна 16, 24 – шток амортизатора (6). На фиг.5 изображены узлы соединения соединительной балки (5) с амортизатором (6) и кузовом транспортного средства, где 24 – шток амортизатора (6), 25 – корпус амортизатора (6), 26 – пружины сжатия амортизатора (6), 27 – стопор, 28 – ось вращения корпуса (25) амортизатора (6), 29 – пружина кручения, 30 – прижим. На фиг.6 изображено положение переходных площадок при взаимных вертикальных смещениях смежных транспортных средств, где 5 – соединительная балка, 6 – амортизатор, 16 – ползун, 24 – шток амортизатора. На фиг.7 изображено положение сцепных рам (3) и амортизаторов (6) при горизонтальных взаимных смещениях транспортных средств, где 17 – кронштейн ползуна (16) (линиями условного контура изображены кронштейны 17 ползунов 16 в исходном положении), 23 – палец, 24 – шток амортизатора, 25 – корпус амортизатора.
Осуществление изобретения
Переходная площадка транспортного средства (фиг.1) содержит неподвижный мостик 1, закрепленный на концевой стене вагона, подвижный мостик 2, шарнирно закрепленный на сцепной раме 3, гофрированную гибкую гармошку 4, закрепленная одним концом на кузове транспортного средства, а другим концом на сцепной раме 3. Сцепная рама 3 двумя соединительными балками 5 соединена с верхними и нижними амортизаторами 6, шарнирно закрепленными на кузове транспортного средства.
Цель изобретения в части достижения автоматического сцепления и расцепления переходных площадок смежных транспортных средств на любых участках магистрального железнодорожного пути достигается тем, что сцепная рама 3 (фиг.2) каждого транспортного средства выполнена асимметричной относительно ее вертикальной оси. Вертикальные стойки 7 и 8 сцепной рамы 3 выполнены в виде равных по величине и ориентированных в противоположные стороны двухгранных углов, ребра которых параллельны вертикальной оси сцепной рамы 3 (фиг.3).
Верхняя горизонтальная поперечина 9 (фиг.2) сцепной рамы 3 также выполнена асимметричной относительно вертикальной оси сцепной рамы 3 – по всей длине поперечины установлен вогнутый профиль 10, а со стороны вертикального выпуклого профиля установлен горизонтальный выпуклый профиль 11. Профили 10 и 11 (фиг.2) выполнены в виде равных по величине и ориентированных в противоположные стороны двухгранных углов, ребра которых параллельны горизонтальной оси сцепной рамы 3. В средней части поперечины 9 профиль 11 соединен с профилем 10 ребром 12 (фиг.2), установленным параллельно вертикальной оси сцепной рамы и под углом к горизонтальной оси поперечины 9.
Для соединения с верхними и нижними амортизаторами 6 на сцепной раме сверху и внизу приварены соединительные балки 5 (фиг.1, 4). Соединительные балки выполнены из стального профиля 13 (фиг.4), по концам которого установлены две цапфы 14. В цапфах 14 закреплена труба 15, на которую надеты два ползуна 16 с кронштейнами 17. В профиле 13 со стороны вертикальной стенки приварены две цапфы 18, в которых параллельно трубе 15 закреплена труба 19. На трубу 19 надеты две пружины сжатия 20. Каждая пружина 20 одним концом упирается в соответствующую цапфу 18, а другой ее конец поджимается соответствующим упором 21. Каждый упор 21 отверстием на одном конце надет на трубу 19, а отверстием на втором конце на соответствующий ползун 16. Упор 21 имеет возможность вращаться и перемещаться относительно продольной оси трубы 19, относительно продольной оси ползуна 16 упор 21 может вращаться, но от перемещений вдоль оси ползуна 16 закреплен на нем гайкой 22.
Каждая соединительная балка 5 двумя кронштейнами 17 и пальцами 23 соединена со штоками 24 двух амортизаторов 6 (фиг.4). Соединительная балка 5 имеет возможность вращаться в горизонтальной плоскости относительно каждого штока 24 по осям пальцев 23 (фиг.4, 7), а в вертикальной плоскости относительно продольной оси трубы 15 (фиг.4, 6). Шток 24 амортизатора 6 вставлен в корпус 25 амортизатора 6 и в своем крайнем положении поджат пружинами 26 до упора стопора 27 в вырез в корпусе 25 амортизатора 6, что предохраняет шток 24 от выпадения в нерабочем состоянии (на отдельно стоящем транспортном средстве). Корпус 25 каждого амортизатора 6 шарнирно закреплен на кузове транспортного средства, имеет возможность поворота вокруг оси 28 в вертикальной плоскости. На ось 28 установлены пружины кручения 29 (фиг.5), которые при перемещении корпуса 25 вниз закручиваются прижимом 30, а после снятия нагрузки возвращают корпус 25 и сцепную раму 3 в исходное положение. Шток 24 выполнен в виде цилиндра с секторными окнами 31, в которые вставлены конические разрезные фрикционные сухари 32. Фрикционные сухари 32 усилием пружин 26 конусами 33 и 34 прижимаются к внутренней поверхности корпуса 25 и при перемещении вдоль оси корпуса создают силы трения.
При сцеплении автосцепок двух смежных транспортных средств выпуклая вертикальная стойка 7 сцепной рамы 3 первого транспортного средства скользит вдоль наклонных граней вогнутой вертикальной стойки 8 второго транспортного средства, и обе сцепные рамы смежных транспортных средств, перемещаясь по горизонтали, входят в зацепление, при этом часть поперечины 9 первого транспортного средства выпуклым профилем 11 скользит по наклонному ребру 12 и вогнутому профилю 10 поперечины 9 второго транспортного средства. Обе сцепные рамы транспортных средств при этом перемещаются по вертикали. При этом развиваемые пружинами 26 амортизаторов 6 усилия в сцепленном состоянии исключают возможность взаимного перемещения сцепных рам 3 обоих транспортных средств как в горизонтальной, так и в вертикальной плоскостях при движении сцепа транспортных средств по магистральным путям.
При прохождении транспортных средств по прямым участкам пути, по круговым кривым, S-образным кривым и при выходе транспортных средств с кривых на прямые участки пути происходят одновременно вертикальные и горизонтальные колебания транспортных средств, их взаимные угловые повороты и горизонтальные смещения как вдоль, так и поперек продольной оси пути.
Взаимные перемещения двух сцепленных транспортных средств в вертикальной (фиг.6) и горизонтальных плоскостях (фиг.7) компенсируются поворотом корпусов амортизаторов 6 в вертикальной плоскости вокруг осей 28, перемещением штоков 24 амортизатора 6 внутри корпусов 25. При этом изменяется межцентровое расстояние между пальцами 23 амортизаторов 6. На фиг.7 кронштейны 17 показаны условными линиями в исходном положении. Взаимные перемещения двух сцепленных транспортных средств в вертикальной и горизонтальных плоскостях, а также изменение межцентрового расстояния между пальцами 23 (фиг.6, 7) компенсируются перемещением ползунов 16 с кронштейнами 17 вдоль трубы 15, поворотом ползунов 16 вокруг трубы 15 и поворотом вокруг пальцев 23 соответствующей соединительной балки 5. При перемещениях ползунов 16 один из упоров 21 сжимает пружину 20. При перемещениях ползунов 16 в другую сторону вступает в работу второй упор 21 и сжимает вторую пружину 20.
При расцеплении транспортных средств усилиями пружин 26 и 29 сцепная рама 3 и вся подвижная часть переходной площадки, если они находятся в нижнем положении, возвращаются в исходное положение по вертикали. Если они находятся в поднятом положении, возврат в исходное происходит под собственным весом конструкции до упора в пружины 29. Усилиями пружин 20 сцепные рамы 3 и все подвижные части переходных площадок возвращаются в исходное положение по горизонтали.
Любые колебания транспортных средств в вертикальной или горизонтальных плоскостях вызывают перемещение штока 24 относительно корпуса 25 амортизаторов 6, фрикционные сухари 32 усилием пружин 26 конусами 33 и 34 прижимаются к внутренней поверхности корпуса 25 и при перемещении вдоль оси корпуса создают силы трения, гасящие взаимные колебания транспортных средств.
Источники информации
1. Патент РФ (19)RU(11) 2020100(13) С1, кл. B61D 17/20, 1994.09.30.
2. Патент РФ (19)RU(11) 2091259(13) С1, кл. B61D 17/20, 1997.09.27.
3. Патент РФ (19)RU(11) 2104192(13) C1, кл. B61D 17/20, 1998.02.10.
4. Патент РФ (19)RU(11) 2146628(13) С1, кл. B61D 17/20, 2000.03.20.
5. Патент РФ (19)RU(11) 2193985 (13), кл. B61D 17/20, 2002.12.10.
6. Авторское свидетельство СССР 867742 B61D 17/20, 1979.
Формула изобретения
1. Переходная площадка железнодорожного транспортного средства, содержащая гибкое обрамление, закрепляемое на кузове транспортного средства, предназначенное для изоляции людей при переходе из одного транспортного средства в другое, сцепное устройство, предназначенное для размещения на нем подвижного мостика, неподвижный мостик, закрепляемый на концевой стене транспортного средства, предназначенный для обеспечения перехода из одного транспортного средства в другое, амортизаторы, предназначенные для поджатия сцепных устройств каждого транспортного средства друг к другу, а также для предварительного натяга автосцепных устройств нежесткого типа, отличающаяся тем, что содержит сцепное устройство, выполненное в виде сцепной рамы с асимметричными относительно ее вертикальной оси вертикальными стойками, выполненными в виде равных по величине и ориентированных в противоположные стороны двухгранных углов, ребра которых параллельны вертикальной оси сцепной рамы, верхняя горизонтальная поперечина сцепной рамы также выполнена асимметричной относительно ее вертикальной оси и по всей длине поперечины установлен вогнутый профиль, а на часть вогнутого профиля со стороны вертикальной стойки выпуклого профиля установлен горизонтальный выпуклый профиль, профили поперечины выполнены в виде равных по величине и ориентированных в противоположные стороны двухгранных углов, ребра которых параллельны горизонтальной оси сцепной рамы, профили поперечины соединены между собой вертикальным ребром, установленным под углом к горизонтальной оси сцепной рамы, сцепная рама кинематически соединена с амортизаторами через верхнюю и нижнюю соединительные балки.
2. Переходная площадка по п.1, отличающаяся тем, что сцепная рама содержит верхнюю и нижнюю соединительные балки, выполненные из стальных профилей, в цапфах которых установлены по две трубы параллельных плоскости сцепления сцепной рамы, на трубе дальней от плоскости сцепления сцепной рамы установлены два ползуна с возможностью углового поворота и перемещения вдоль продольной оси трубы, каждый ползун шарнирно связан с соответствующим штоком амортизатора.
3. Переходная площадка по п.2, отличающаяся тем, что каждый ползун содержит упор, жестко закрепленный на ползуне, перемещающийся вместе с ползуном вдоль продольной оси трубы, но имеющий возможность вращаться вокруг продольной оси ползуна, упор вторым концом шарнирно закреплен на второй трубе соединительной балки, а между упором и цапфой второй трубы установлен упругий элемент (пружина).
4. Переходная площадка по п.1, отличающаяся тем, что содержит верхние и нижние амортизаторы, корпуса которых закреплены на кузове транспортного средства на осях, параллельных горизонтальной оси кузова, с возможностью вращения в вертикальной плоскости, корпус амортизатора подпружинен пружинами кручения, установленными на оси вращения корпуса и включающимися в работу при повороте корпуса.
5. Переходная площадка по п.4, отличающаяся тем, что амортизатор содержит шток, опирающийся на пружины сжатия, установленные в корпусе амортизатора, между пружинами и дном штока установлены нажимной конус, разрезные конические сухари и опорный конус, шток выполнен с окнами по цилиндрической поверхности, в которые установлены разрезные конические сухари, изготовленные из фрикционного материала, трущимися поверхностями усилием пружин прижимаемые к внутренней цилиндрической поверхности корпуса амортизатора.
6. Переходная площадка по п.1, отличающаяся тем, что содержит гибкое обрамление (гармошку), одним концом закрепленное на кузове транспортного средства, а вторым концом – на сцепной раме.
РИСУНКИ
|
|