|
|
(21), (22) Заявка: 2008110648/11, 19.03.2008
(24) Дата начала отсчета срока действия патента:
19.03.2008
(30) Конвенционный приоритет:
06.04.2007 JP 2007-100714
(43) Дата публикации заявки: 27.09.2009
(46) Опубликовано: 27.05.2010
(56) Список документов, цитированных в отчете о поиске:
ЕР 1508466 А1, 23.02.2005. WO 0236383 А1, 10.05.2002. US 2006211532 А1, 21.09.2006. SU 1087375 A, 23.04.1984.
Адрес для переписки:
129090, Москва, ул. Б.Спасская, 25, стр.3, ООО “Юридическая фирма Городисский и Партнеры”, А.В.Мицу
|
(72) Автор(ы):
ИСИИ Таканори (JP), УСИРОДА Юити (JP), ЦУТИЯ Такао (JP)
(73) Патентообладатель(и):
МИЦУБИСИ ДЗИДОСЯ КОГИО КАБУСИКИ КАЙСЯ (JP)
|
(54) ДИФФЕРЕНЦИАЛ ПОВЫШЕННОГО ТРЕНИЯ
(57) Реферат:
Изобретение относится к транспортной технике. Дифференциал повышенного трения содержит двигатель (11), трансмиссию (16), дифференциальный механизм, который можно использовать для распределения крутящего момента двигателя между трансмиссией одной из пар (левое и правое) передних колес (12а, 12b) и задних (левое и правое) колес (15), передаточный механизм, который расположен ближе к центру автомобиля, чем дифференциальный механизм в поперечном относительно продольной оси направлении (т.е. слева направо), и регулятор распределения (10), который можно использовать для управления количеством распределяемого крутящего момента. Дифференциальный механизм (17) расположен на первой стороне передаточного механизма. Регулятор распределения (10) расположен на второй стороне передаточного механизма, который противоположен первой стороне и включает в себя механизм сцепления, который можно использовать для ограничения действия дифференциала между одним из ведущих валов и выходным валом. Изобретение позволяет оборудовать дифференциал транспортного средства регулятором распределения, не увеличивая размеры дифференциала. 2 з.п. ф-лы, 2 ил.
ОБЛАСТЬ ИЗОБРЕТЕНИЯ
Настоящее изобретение относится к дифференциалу повышенного трения (с ограниченной пробуксовкой колес) для транспортного средства с четырьмя ведущими колесами.
ОПИСАНИЕ ПРЕДШЕСТВУЮЩЕГО УРОВНЯ ТЕХНИКИ
В последние годы получили широкое распространение автомобили с четырьмя ведущими колесами с системой трансмиссии типа «on demand» (по требованию) на основе ПП автомобилей (переднее расположение двигателя и передние ведущие колеса) с электронным управлением. Как описано в японском патенте 2005-162097А, автомобили с четырьмя ведущими колесами с системой трансмиссии типа «on demand» (по требованию) с электронным управлением на основе ПП автомобилей, сконструированы так, что крутящий момент двигателя передается передним колесам через трансмиссию, и часть его с помощью электронного управления через муфту включения раздаточной коробки выдается на задние колеса. Следовательно, эти автомобили имеют превосходные характеристики в отношении стабильности движения и погашения пробуксовки (скольжения). При этом характеристики автомобиля с четырьмя ведущими колесами можно улучшить при выполнении в его дифференциале блокирующего механизма или регулятора распределения для ограничения действия дифференциала между его двумя выходными валами для предупреждения пробуксовки колеса.
Однако в случае, когда мы имеем автомобиль с четырьмя ведущими колесами с системой трансмиссии типа «on demand» (по требованию) с электронным управлением, созданным на основе ПП автомобилей, блок цилиндров двигателя, гидроусилитель рулевого управления, управляющий ведущими колесами, передняя поперечина рамы, которая устанавливается в передней части автомобиля, выхлопная труба и т.п. устанавливаются в передней части автомобиля, в результате трансмиссия и раздаточная коробка устанавливаются в автомобиль, используя пространство, оставленное между ними. Следовательно, несмотря на то, что есть попытка включить регулятор распределения передних колес в трансмиссию или в раздаточную коробку, увеличение корпуса трансмиссии или раздаточной коробки благодаря включению регулятора распределения немедленно приводит к пересечению корпуса с блоком цилиндров двигателя или другими компонентами, помещенными в переднюю часть автомобиля, в результате чего не получается легко оборудовать автомобиль подходящим регулятором распределения.
В случае, когда в регуляторе распределения для ограничения действия дифференциала используется механический механизм ограничения пробуксовки, например муфта вязкости, несмотря на то, что в результате регулятор распределения становится компактным по размерам и, следовательно, установка такого регулятора распределения становится легче, способ ограничения действия дифференциала становится простым, а удовлетворить запросы относительно эксплуатации автомобиля в различных условиях становится трудно. В случае, когда предельные характеристики действия дифференциала становятся более активными, несмотря на то, что тяговая характеристика может увеличиться, разница скоростей вращения двух выходных валов или колес не может адекватно трансформироваться в дифференциале и, следовательно, когда автомобиль поворачивает, происходит торможение или т.п. С другой стороны, когда предельные характеристики действия дифференциала становятся менее активны, нельзя получить достаточные меры противодействия, в случае, когда вызывается разница в скоростях вращения между двумя колесами. Справляется с этим, например, механизм, составленный из многодискового сцепления, включающий электромагнитную катушку [1], который предпочтительнее в качестве регулятора распределения в том отношении, что предельные характеристики действия дифференциала можно установить произвольно, но механизм такого узла становится сложным и в связи с этим ему требуется большое установочное пространство, следовательно, узел дифференциала повышенного трения, оборудованный таким регулятором распределения, невозможно легко использовать в автомобилях с четырьмя ведущими колесами на основе ПП, у которых нет лишнего пространства внутри отделения для двигателя.
СУЩНОСТЬ ИЗОБРЕТЕНИЯ
Следовательно, один преимущественный аспект изобретения состоит в том, чтобы обеспечить дифференциал повышенного трения, который имеет регулятор распределения, имеющий высокую скорость вращения или распределительные характеристики крутящего момента и который так мал по размеру, что его можно установить даже в маленькое пространство.
Согласно одному аспекту настоящего изобретения обеспечивается дифференциал повышенного трения для автомобилей, включающий в себя двигатель и трансмиссию, которая располагается в транспортном средстве в поперечном относительно продольной оси направлении (т.е. слева направо), трансмиссию, содержащую выходной вал; дифференциальный механизм, выполненный с возможностью распределения мощности двигателя, которая передается при помощи трансмиссии к одной из пары левого и правого передних колес и пары левого или правого задних колес, как распределенная мощность; передаточный механизм, который расположен в транспортном средстве в поперечном относительно продольной оси направлении (т.е. слева направо), ближе к центру автомобиля, чем дифференциальный механизм, и выполненный с возможностью для передачи мощности трансмиссии к другой одной из пары левого и правого передних колес и пары левого и правого задних колес. Регулятор распределения, выполненный с возможностью регулирования количества распределяемой мощности, в котором дифференциальный механизм включает в себя картер дифференциала, соединенный с выходным валом трансмиссии для того, чтобы вращаться; дифференциальный зубчатый механизм, помещенный внутрь картера дифференциала, который может генерировать распределяемую мощность; и пару ведущих валов, каждый из которых соединен с дифференциальным зубчатым механизмом и проходит в транспортном средстве в поперечном относительно продольной оси направлении (т.е. слева направо). Передаточный механизм включает в себя выходной вал, соединенный с картером дифференциала и установленный соосно с одним из ведущих валов; и карданный вал, который соединен с выходным валом и проходит спереди назад вдоль продольной оси автомобиля.
Дифференциальный механизм расположен на первой стороне передаточного механизма; регулятор распределения расположен на второй стороне передаточного механизма, которая противоположна первой стороне. Регулятор распределения содержит сцепление, способное ограничивать действия дифференциала между одним из ведущих валов и выходным валом.
Двигатель может быть расположен как в передней, так и в задней части автомобиля. При этом в качестве базового автомобиля для автомобиля с четырьмя ведущими колесами можно использовать автомобиль с передними ведущими колесами или задними ведущими колесами. Дифференциальный механизм устанавливается на трансмиссии, а другой дифференциальный механизм можно также установить на другой передней и задней оси, которой отдается выходной крутящий момент трансмиссии через передаточный механизм.
Кроме того, двигатель может быть расположен во второй стороне.
Кроме того, сцепление может включать в себя многодисковое сцепление, установленное между выходным валом и одним из ведущих валов; и электромагнитную катушку, способную принуждать многодисковое сцепление вступать в зацепление или выходить из зацепления с выходным валом или одним из ведущих валов. Далее к блоку цилиндров двигателя можно прикрепить электромагнитное сцепление.
Кроме того, электромагнитная катушка может быть расположена во второй стороне. Далее между электромагнитной катушкой и передаточным механизмом может располагаться многодисковое сцепление.
Автомобиль с дифференциалом повышенного трения по изобретению имеет следующие преимущества.
Поскольку регулятор распределения, имеющий сцепление для того чтобы разрешить подходящее распределенное управление, устанавливается на той стороне, на которой не установлен дифференциальный механизм, – напротив передаточного механизма или так называемой противоположной стороне. Дифференциальный механизм и регулятор распределения могут иметь хорошую балансировку на основании передаточного механизма, в результате позволяя получить свободное пространство. Пространство внутри автомобиля может быть использовано эффективно.
При этом поскольку регулятор распределения использует многодисковое сцепление, которое активируется для работы с помощью электромагнитной катушки, можно получить подходящие характеристики ограничения пробуксовки для рабочего режима. Дополнительно, поскольку принята конструкция, в которой многодисковое сцепление и электромагнитная катушка расположены перпендикулярно друг другу снаружи передаточного механизма, и кроме того, электромагнитная катушка крепится к блоку цилиндров двигателя, от корпуса, который иначе мог бы поддерживать электромагнитную катушку и многодисковое сцепление, можно избавиться. Следовательно, дифференциал повышенного трения, небольшой по размеру и имеющий хорошие характеристики по регулированию распределения мощности, может быть установлен на автомобиль с четырьмя ведущими колесами, который выполнен на основе ПП автомобиля.
КРАТКОЕ ОПИСАНИЕ ЧЕРТЕЖЕЙ
Варианты воплощения изобретения описываются подробно со ссылкой на прилагаемые чертежи, в которых:
Фиг.1 – частичный поперечный разрез, показывающий вариант воплощения дифференциала повышенного трения по изобретению и
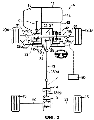
Фиг.2 – типовая схема, показывающая компоновку автомобиля.
ПОДРОБНОЕ ОПИСАНИЕ ИЗОБРЕТЕНИЯ
Вариант воплощения дифференциала повышенного трения по изобретению будет описан со ссылкой на чертежи.
Фиг.1 показывает регулятор распределения 10 для передних колес. Как показано на фиг.2, регулятор распределения 10 устанавливается в передней части автомобиля А.
Автомобиль А – это автомобиль с четырьмя ведущими колесами с системой трансмиссии типа «on demand» (по требованию) с электронным управлением на основе ПП автомобилей (переднее расположение двигателя и передние ведущие колеса), в котором двигатель 11 установлен поперек продольной оси автомобиля в передней части корпуса для того, чтобы управлять передними колесами 12, и мощность двигателя 11, которая подается на задние колеса 15, регулируется управлением соединением (сцеплением) 14 с электронным управлением, которое выполняется на карданном валу 13, автомобиль – четырехколесный автомобиль типа по требованию выполнен.
Чтобы быть более точным, как показано на фиг.2, автомобиль включает в себя трансмиссию 16, которая установлена слева от двигателя 11, передний дифференциал 17, который соединен с трансмиссией 16 в качестве дифференциала левого/правого колеса (межосевого), раздаточную коробку 18, которая установлена сбоку переднего дифференциала 17, и карданный вал 13, который выходит из раздаточной коробки 18 в качестве карданного вала, который тянется спереди назад вдоль продольной оси автомобиля, и задний дифференциал 19.
Трансмиссия 16 соединяется с выходным валом (не показан) двигателя 11 и на выходной шестерне трансмиссии 16 находится в зацеплении с коронной шестерней 22 или картером дифференциала 23 переднего дифференциала 17, вследствие чего картер дифференциала 23 вращается мощностью двигателя 11. Ведущий вал правого колеса 26а, который соединяется с правым колесом 12(а), устанавливается на одной полуосевой шестерне 24а переднего дифференциала 17 и вал левого колеса 26b, который соединяется с левым передним колесом 12(b), устанавливается на другой полуосевой шестерне 24b переднего дифференциала 17, вследствие чего крутящий момент, разделенный или распределенный передним дифференциалом 17, передается левому или правому передним колесам 12а, 12b через ведущие валы передних колес 26а, 26b соответственно.
При этом в картере дифференциала 23 переднего дифференциала 17 устанавливается задний ведомый элемент 27 в качестве элемента, отклоняющего передачу крутящего момента из трансмиссии 16 для того, чтобы вывести его на другую переднюю или заднюю оси. Задний выходной элемент 27 выполняется в виде цилиндра и устанавливается соосно с правым передним ведущим валом 26а, в то же время протягивается в раздаточную коробку 18. Раздаточная коробка 18 имеет внешнюю оболочку, которая обычно используется как внешняя оболочка переднего дифференциала 17, а во внешней оболочке 28 корончатая шестерня 33, установленная на заднем ведомом элементе 27, находится в зацеплении с ведущей шестерней 34, установленной на концевой части карданного вала 13. Трансмиссия передней/задней оси составлена из заднего ведомого элемента 27, корончатой шестерни 33, ведущей шестерни 34 и т.п.
Карданный вал 13 составлен из переднего карданного вала 13а и заднего карданного вала 13b. Задний карданный вал 13b соединяется с задним дифференциалом 19. Ведущие валы правого или левого колес 32 соединены с задним дифференциалом 19, вследствие чего крутящий момент от двигателя 11 через трансмиссию 16 доставляется задним колесам 15 через валы заднего колеса 32 соответственно. При этом соединение (сцепление) с электронным управлением 14 устанавливается между передним карданным валом 13а и задним карданным валом 13b. Соединение (сцепление) с электронным управлением 14 управляется регулятором (электронным управляющим блоком, ЭУБ) 30 для того, чтобы работать в нужном режиме, т.е. регулировать силу вращения, которая передается между передним карданным валом 13а и задним карданным валом 13b, вследствие чего передача крутящего момента двигателя 11 к задним колесам 15 может регулироваться произвольно относительно ее же доставки на передние колеса 12.
При этом регулятор распределения 10 выполняется сбоку раздаточной коробки 18. Далее регулятор распределения 10 подробно будет описан со ссылкой на фиг.1.
Фиг.1 показывает раздаточную коробку 18 и регулятор распределения 10. Задний ведомый элемент 27, который соединяется с передним дифференциалом 17 (показан на фиг.2), выступает по левому краю фигуры и опирается на подшипник 36 во внешней оболочке 28 с возможностью вращаться. Задний ведомый элемент 27 имеет полую конструкцию и правый ведущий вал переднего колеса 26а, располагается внутри него концентрично, с возможностью вращаться. Соединительная часть 31 выполнена справа от правого ведущего вала переднего колеса и ведущий вал правого переднего колеса 26а соединен с правым передним колесом 12а (показано на фиг.2) через соединительную часть 31 (показанную на фиг.2).
Как было описано выше, задний ведомый элемент 27 вступает в зацепление с карданным валом 13 через правую коронную шестерню 33 и ведущую шестерню 34 внутри раздаточной коробки 18. На правом осевом торце задний ведомый элемент 27 крепится шпонкой со шлицевым соединением, выполненным на картере сцепления 37.
Картер сцепления 37 имеет форму цилиндра и включает в себя множество первых дисков сцепления. К правому торцу картера сцепления 37 за одно целое с ним прикреплена торцевая стенка 41. Торцевая стенка 41 выполняется в форме диска для того, чтобы практически закрывать правый торец картера сцепления 37, и устанавливается на внешнюю кольцевую поверхность ступицы диска сцепления 38 на герметик 39.
Ступица диска сцепления 38 устанавливается неотделимо на ведущем валу правого колеса 26а при помощи шлицов, и множество вторых дисков сцепления устанавливаются на его внешнюю кольцевую поверхность, которая противостоит картеру сцепления 37. Первые диски сцепления 40 и вторые диски сцепления 42 выполняются альтернативно для того, чтобы составить многодисковое сцепление 50. Справа от многодискового сцепления 50 расположен нажимной диск 43 и прижимной механизм 44 выполняется между нажимным диском 43 и торцевой стенкой 41.
При этом на левой стороне торцевой стенки 41 устанавливается электромагнитная катушка 45. Электромагнитная катушка 45 устанавливается на монтажную подложку дисковой формы 46 и фиксируется к блоку цилиндров 11а двигателя через опору 47 вместе с монтажной подложкой 46. Электромагнитная катушка 45 соединяется с узлом управления 30. Электромагнитная катушка 45 активируется по требованию при помощи сигнала активации от узла управления 30 или при помощи привода или т.п.
Торцевая стенка 41 устанавливается на монтажную подложку 46 так, что она может вращаться при помощи подшипника 49. При этом торцевая стенка 41 герметизируется герметизирующим материалом 48 и, следовательно, электромагнитная катушка 45, установленная на монтажной подложке 46, и торцевая стенка 41 вращаются друг относительно друга, и при этом электромагнитная катушка 45 и торцевая стенка обращены друг к другу лицевыми поверхностями. Более того, на внутренней кольцевой поверхности торцевой стенки 41 устанавливается подшипник 51, а торцевая стенка 41 устанавливается на ступице диска сцепления 38 с возможностью вращаться при помощи подшипника 51.
К боковой стороне многодискового сцепления 50 устанавливается прижимной механизм 44. Прижимной механизм 44 составлен из направляющего диска сцепления 52 и кулачкового механизма 53. Направляющий диск сцепления выполняется так, чтобы его лицевая поверхность была обращена к электромагнитной катушке 45 через торцевую стенку 41, которая удерживается между ними.
Кулачковый механизм 53 включает в себя канавки, сформированные в противостоящих поверхностях нажимной пластины 43 и диска 54 таким способом, что их глубина уменьшается, когда они выступают в кольцевом направлении, и сферические элементы 55 устанавливаются в пространстве, заданном канавками.
Нажимной диск 43 выполнен за одно целое со ступицей диска сцепления 38, а диск 54 вращается относительно ступицы диска сцепления 38 и соединяется с направляющим диском сцепления 52. Когда электромагнитная катушка 45 возбуждается, направляющий диск сцепления 54 притягивается к торцевой стенке 41, затем возникает (образуется) разница в скоростях вращения между задним ведомым элементом 27 и ведущим валом переднего колеса 26, диск 54 увлекается картером сцепления 37. Затем канавки на нажимном диске 43 и диске 54 расходятся друг от друга в кольцевом направлении, а сферические элементы 55 удерживаются неглубокими частями канавок, в результате чего нажимной диск 43 и диск 54 отделяются друг от друга в осевом направлении благодаря заклиниванию пологих частей канавок. Это давит на многодисковое сцепление 55 в осевом направлении так, что ограничивает разницу скоростей вращения между задним ведомым элементом 27 и ступицей диска сцепления 38, т.е. ведущим валом правого колеса 26а.
Узел управления 30 соединяется с различными типами датчиков, установленных на автомобиле А, которые включают в себя датчик скорости, датчик положения педали акселерации, датчик положения передачи, датчики скоростей колес (ни один из них не показан) и т.п., подает питание соединению (сцепление) с электронным управлением 14 и электромагнитной катушке 45 на основании параметров, получаемых от датчиков. Узел управления 30 преобразует передачу мощности задним колесам при помощи соединения (сцепление) 45 с электронным управлением и снижает разницу в скоростях вращения между левым и правым передними колесами 12а, 12b, управляя электромагнитной катушкой 45 для того, чтобы автомобиль лишался возможности скользить или получал устойчивое управление положением.
Таким образом, в описанном здесь варианте воплощения изобретения многодисковое сцепление 50 используется в качестве регулятора распределения 10 переднего дифференциала 17. Более того, оно выполняется перпендикулярно к наружной поверхности внешней оболочки 28 раздаточной коробки 18 и электромагнитная катушка 45, прикрепленная к опору 47, крепится к блоку цилиндров 11а с противоположной стороны раздаточной коробки 18 напротив многодискового сцепления 50, в результате чего ограничивающие характеристики можно изменять без расширения внешней оболочки 28 раздаточной коробки 18 или корпуса трансмиссии 16, таким образом делая возможным обеспечить установку регулятора распределения 10, который может справляться с изменением рабочего режима в переднем дифференциале 17.
Необходимо отметить, что в то время как в дифференциале повышенного трения регулятор распределения 10 состоит из многодискового сцепления 50, электромагнитной катушки 45, прижимного механизма 44 и т.п., изобретение этим не ограничивается и, следовательно, может применяться регулятор распределения, спроектированный разными способами. При этом, несмотря на то, что в варианте воплощения изобретения автомобиль с четырьмя ведущими колесами, к которому применяется изобретение, выполнен на основании ПП (переднее расположение двигателя, передние ведущие колеса) автомобиля, изобретение не ограничено такой конструкцией и, следовательно, изобретение может применяться в автомобиле с четырьмя ведущими колесами, выполненном на основании ПЗ (переднее расположение двигателя, ведущие задние колеса) автомобиля или ЗЗ (заднее расположение двигателя, задние ведущие колеса) автомобиля.
Формула изобретения
1. Дифференциал повышенного трения для транспортного средства, содержащий двигатель и трансмиссию, которые расположены в направлении слева направо транспортного средства, при этом трансмиссия содержит выходной вал, дифференциальный механизм, выполненный с возможностью распределения мощности двигателя, которая передается посредством трансмиссии к одной из пары левого и правого передних колес и пары левого и правого задних колес, как распределенной мощности; передаточный механизм, который расположен ближе к центру транспортного средства, чем дифференциальный механизм, в направлении слева направо и выполненный с возможностью передавать мощность трансмиссии к другой одной из пары левого и правого передних колес и пары левого и правого задних колес; и регулятор распределения, выполненный с возможностью управления количеством распределяемой мощности, при этом дифференциальный механизм включает в себя картер дифференциала, соединенный с вращаемым выходным валом трансмиссии; дифференциальный зубчатый механизм, размещенный в картере дифференциала и выполненный с возможностью генерирования распределяемой мощности; и пару ведущих валов, каждый из которых соединен с дифференциальным зубчатым механизмом и проходит в направлении слева направо; передаточный механизм включает в себя выходной вал, соединенный с картером дифференциала и установленный соосно с одним из ведущих валов, и карданный вал, который соединен с выходным валом и проходит в направлении спереди назад транспортного средства; дифференциальный механизм, расположенный на первой стороне передаточного механизма; регулятор распределения, расположенный на второй стороне передаточного механизма, которая противоположна первой стороне; и регулятор распределения, содержащий механизм сцепления, выполненный с возможностью ограничения действия дифференциала между одним из ведущих валов и выходным валом, причем механизм сцепления включает в себя многодисковое сцепление, установленное между выходным валом и одним из ведущих валов; электромагнитную катушку, выполненную с возможностью введения многодискового сцепления во взаимодействие или выведения из взаимодействия с выходным валом и одним из ведущих валов; и электромагнитная катушка прикреплена к блоку цилиндров двигателя с помощью опоры.
2. Дифференциал повышенного трения для транспортного средства по п.1, в котором двигатель расположен на второй стороне.
3. Дифференциал повышенного трения для автомобиля по п.1, в котором электромагнитная катушка расположена на второй стороне; и многодисковое сцепление расположено между электромагнитной катушкой и передаточным механизмом.
РИСУНКИ
|
|