|
|
|
|
РОССИЙСКАЯ ФЕДЕРАЦИЯ

ФЕДЕРАЛЬНАЯ СЛУЖБА ПО ИНТЕЛЛЕКТУАЛЬНОЙ СОБСТВЕННОСТИ, ПАТЕНТАМ И ТОВАРНЫМ ЗНАКАМ |
(19) |
RU |
(11) |
2390430 |
(13) |
C2 |
|
| (51) МПК
B60G21/045 (2006.01) B60G21/055 (2006.01)
|
(12) ОПИСАНИЕ ИЗОБРЕТЕНИЯ К ПАТЕНТУ
| Статус: по данным на 09.08.2010 – действует |
|
|
|
|
|
(21), (22) Заявка: 2007121588/11, 09.06.2007
(24) Дата начала отсчета срока действия патента:
09.06.2007
(43) Дата публикации заявки: 20.12.2008
(46) Опубликовано: 27.05.2010
(56) Список документов, цитированных в отчете о поиске:
SU 806477 A1, 23.02.1981. ДРОЗДОВ Ф.В. Детали точного аппарато- и приборостроения. ОНТИ НКТП СССР. – М., 1936. БАТУРИН А.Т. и др. Детали машин, 5-е издание. МАШИНОСТРОЕНИЕ. – М., 1966. JP 2000006627 А, 11.01.2000. RU 23278 U1, 10.06.2002.
Адрес для переписки:
486000, Республика Казахстан, г. Шымкент, ул. Макарова, 114, В.Ф. Полещуку
|
(72) Автор(ы):
Полещук Владимир Федорович (KZ)
(73) Патентообладатель(и):
Полещук Владимир Федорович (KZ)
|
(54) РЕАКТИВНАЯ ШТАНГА-СТАБИЛИЗАТОР
(57) Реферат:
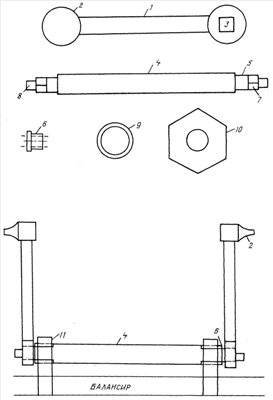
Изобретение относится к области транспортного машиностроения, в частности к балансирным подвескам транспортных средств. Реактивная штанга-стабилизатор для автомобилей с балансирной подвеской мостов прикреплена одним концом к мосту с помощью шарового шарнира. Второй конец реактивной штанги-стабилизатора выполнен с внутренним квадратным отверстием для соединения с квадратным участком оси стабилизатора. Ось стабилизатора установлена в круглое отверстие корпуса балансира. С наружной стороны круглого отверстия установлена втулка, взаимодействующая с посадочным местом оси стабилизатора. Штанга крепится к оси стабилизатора. Достигается увеличение проходимости транспортного средства путем передачи нагрузки через стабилизатор. 1 ил.
Данное изобретение “Реактивная штанга-стабилизатор” относится к области автостроения. Применяется на автомобилях с балансирной подвеской мостов, в данное время не имеет аналогов. Прототипом являются реактивные штанги и стабилизаторы поперечной устойчивости, которые устанавливаются независимо друг от друга на а/м МАЗ-КАМАЗ-ЗИЛ-Урал (лит.тех. описание и каталоги вышеуказанных а/м).
Предлагаемая конструкция одновременно безупречно выполняет роль реактивных штанг и стабилизатора поперечной устойчивости на каждом мосту автомобиля. Конструкция несет увеличение проходимости путем передачи нагрузки через стабилизатор от зависшей стороны моста на противоположную сторону. И предотвращает бесконтрольный ход мостов на неровной дороге. К мостам реактивные штанги 1 крепятся без изменений шаровым пальцем 2.
Второй конец штанги выполнен с внутренним квадратным отверстием 3, которое устанавливается на квадратное место оси стабилизатора 7. Ось стабилизатора 4 устанавливается в круглое отверстие корпуса балансира 11 с наружной стороны отверстия втуляется втулкой 6. В результате взаимодействия втулки 6 и посадочного места оси 5 устраняется осевое хождение стабилизатора. Ушко реактивной штанги 3 крепится к оси стабилизатора с помощью резьбы 8, шайбы 9 и гайки 10.
Чертежи выполнены схематично без учета размеров.
Формула изобретения
Реактивная штанга-стабилизатор для автомобилей с балансирной подвеской мостов, прикрепленная одним концом к мосту с помощью шарового шарнира, второй ее конец выполнен с внутренним квадратным отверстием для соединения с квадратным участком оси стабилизатора, установленной в круглое отверстие корпуса балансира, с наружной стороны круглого отверстия установлена втулка, взаимодействующая с посадочным местом оси стабилизатора, при этом штанга крепится к оси стабилизатора.
РИСУНКИ
|
|
|
|
|