|
|
(21), (22) Заявка: 2007130930/03, 13.08.2007
(24) Дата начала отсчета срока действия патента:
13.08.2007
(43) Дата публикации заявки: 20.02.2009
(46) Опубликовано: 27.05.2010
(56) Список документов, цитированных в отчете о поиске:
SU 1655778 А1, 15.06.1991. RU 2067523 C1, 10.10.1996. SU 1331749 A1, 23.08.1987. SU 394199 A1, 11.01.1971. US 4373563 A, 15.02.1983.
Адрес для переписки:
160013, г.Вологда, ул. Можайского, 52, кв.2, Е.А. Гаспарян
|
(72) Автор(ы):
Хачиров Давид Акимович (RU)
(73) Патентообладатель(и):
Хачиров Давид Акимович (RU)
|
(54) ПОДАЮЩЕЕ УСТРОЙСТВО ДЕРЕВООБРАБАТЫВАЮЩЕГО СТАНКА
(57) Реферат:
Изобретение относится к деревообработке. Устройство содержит подающие вальцы, выполненные в виде обечаек на опорах вращения, установленных на неподвижных осях. Приводы подающих вальцов расположены внутри каждого вальца и связаны с обечайками посредством передаточного механизма. Ось нижнего подающего вальца закреплена на регулируемом или неподвижном столе станины, а ось верхнего подающего прижимного вальца закреплена на качающейся раме, связанной со станиной с одной стороны осью, а с другой стороны пневмоцилиндром подъема и прижима рамы. Изобретение повышает точность подачи заготовки. 2 з.п. ф-лы, 3 ил.
Изобретение относится к области деревообработки, в частности к устройствам подачи деревообрабатывающих станков, и может быть применено на лесопильно-деревообрабатывающих предприятиях.
Известно устройство подачи деревообрабатывающих станков, включающее кинематически связанные посредством передаточного механизма ведущий валец и привод, а также принимающий валец и механизм управления (патент РФ 2067523, МКИ В27С 1/12, В27В 25/02, 1996).
Недостатком данного решения является то, что привод подающего устройства громоздкий и регулирование скорости сложно и ненадежно в работе.
Наиболее близким по технической сущности к заявленному решению является подающее устройство деревообрабатывающего станка, включающее установленные на станине верхние прижимные и нижние подающие вальцы, имеющие приводы и передаточные механизмы.(а.с. СССР 1655778, МКИ В27В 25/02, В27С 5/06, 1991).
При помощи данного подающего устройства невозможно получить точность подачи и надежную фиксацию при остановке заготовки, а также обеспечить широкий диапазон регулирования скорости подачи.
Задачей изобретения является обеспечение точности подачи и надежную фиксацию при остановке заготовки, а также обеспечение широкого диапазона регулирования скорости подачи.
Поставленная задача достигается тем, что подающее устройство деревообрабатывающего станка включает установленные на станине верхний подающий прижимной и нижний подающий вальцы, имеющие приводы и передаточные механизмы. Подающие вальцы выполнены в виде обечаек на опорах вращения, установленных на неподвижных осях. Приводы подающих вальцов расположены внутри каждого вальца и связаны с обечайками посредством передаточного механизма. Ось нижнего подающего вальца закреплена на регулируемом или неподвижном столе станины, а ось верхнего прижимного вальца закреплена на качающейся раме, связанной со станиной с одной стороны осью, а с другой стороны – пневмоцилиндром подъема и прижима рамы. Привод каждого подающего вальца выполнен в виде гидромотора, установленного на диске на неподвижной оси внутри обечайки вальца, а передаточный механизм выполнен в виде зубчатой передачи, шестерня которой установлена на валу гидромотора, а ведомое зубчатое колесо установлено на диске, закрепленном на торце обечайки вальца. Подвод и отвод рабочего давления к гидромотору осуществлен через каналы, выполненные на неподвижной оси.
Новым в данном решении является то, что в устройстве подающие вальцы выполнены в виде обечаек на опорах вращения, установленных на неподвижных осях, приводы подающих вальцов расположены внутри каждого вальца и связаны с обечайками посредством передаточного механизма. Ось нижнего подающего вальца закреплена на регулируемом или неподвижном столе станины, а ось верхнего прижимного вальца закреплена на качающейся раме, связанной со станиной с одной стороны осью, а с другой стороны – пневмоцилиндром подъема и прижима рамы. Привод нижнего подающего вальца выполнен в виде гидромотора, установленного на диске на неподвижной оси внутри обечайки вальца, а передаточный механизм выполнен в виде зубчатой передачи, шестерня которой установлена на валу гидромотора, а ведомое зубчатое колесо установлено на диске, закрепленном на торце обечайки вальца. Подвод и отвод рабочего давления к гидромотору осуществлен через каналы, выполненные в неподвижной оси.
Технический результат заключается в том, что предлагаемая совокупность признаков приводит к достижению неочевидного результата – повышается точность, равномерность подачи и надежная фиксация при остановке заготовки. Кроме того, удается обеспечить широкий диапазон регулирования скорости подачи. Подающее устройство предложенной конструкции более компактно по сравнению с аналогами.
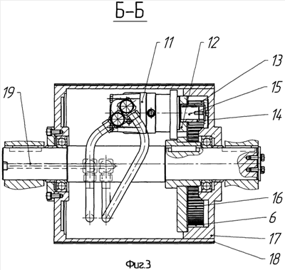
На фиг.1 показано подающее устройство, вид спереди, на фиг.2 – то же, вид сбоку (вид А), на фиг.3 – то же, разрез Б-Б.
Подающее устройство деревообрабатывающего станка включает установленные на станине 1 верхний прижимной подающий валец 2 и нижний подающий валец 3, имеющие приводы 4 и 5, передаточные механизмы 6. Подающие вальцы 2 и 3 выполнены соответственно в виде обечаек 7 и 8 на опорах вращения, установленных на неподвижных осях 9 и 10, а приводы 4 и 5 подающих вальцов расположены внутри каждого вальца и связаны с обечайками посредством передаточного механизма 6. Привод 5 каждого подающего вальца 3 выполнен в виде гидромотора 11, установленного на диске 12 на неподвижной оси 10. Передаточные механизмы 6 выполнены в виде зубчатой передачи 13, шестерня 14 которой установлена на валу 15 гидромотора 11, а ведомое зубчатое колесо 16 установлено на диске 17, закрепленном на торце обечайки 18 вальцов 2 и 3. Подвод и отвод рабочего давления к гидромотору 11 осуществлен через каналы 19, выполненные в неподвижной оси 10. Ось 9 верхнего прижимного подающего вальца 2 закреплена на качающейся раме 20, связанной с одной стороны со станиной 1 осью 21, а с другой стороны – пневмоцилиндром 22 подъема и прижима рамы 20. А ось 10 нижнего подающего вальца 3 закреплена на регулируемом или неподвижном столе 23 станины 1.
Устройство работает следующим образом.
В исходном положении верхний прижимной подающий валец 2 вместе с качающейся рамой 20 установлен в верхнем положении. При поступлении заготовки в зону вальцов 2 и 3 по команде от управляющего устройства станка пневмоцилиндр 22 поджимает раму 20 с верхним прижимным подающим вальцом 2 к заготовке и к нижнему подающему вальцу 3. Одновременно распределительные устройства гидрооборудования станка (не показаны) подают рабочее давление по каналам 19 на гидромоторы 11 обоих подающих вальцов 2 и 3, которые через зубчатые передачи 13 приводят во вращение обечайки 7 и 8. После прохождения заготовки через подающее устройство отключается рабочее давление в гидромоторах 11 и одновременно подается команда на пневмоцилиндр 22 для подъема качающейся рамы 20 с верхним прижимным подающим вальцом 2.
Использование предлагаемого решения дает возможность обеспечить точную и равномерную подачу заготовки, остановить и надежно зафиксировать заготовку по команде, обеспечить широкий диапазон регулирования скорости. Предлагаемая конструкция подающего устройства позволяет встроить его в любом месте деревообрабатывающего станка. Кроме того, повышается надежность и долговечность станка.
Формула изобретения
1. Подающее устройство деревообрабатывающего станка, включающее установленные на станине верхний подающий прижимной и нижний подающий вальцы, имеющие приводы и передаточные механизмы, отличающееся тем, что подающие вальцы выполнены в виде обечаек на опорах вращения, установленных на неподвижных осях, а приводы подающих вальцов расположены внутри каждого вальца и связаны с обечайками посредством передаточного механизма, причем ось нижнего подающего вальца закреплена на регулируемом или неподвижном столе станины, а ось верхнего прижимного вальца закреплена на качающейся раме, связанной со станиной с одной стороны осью, а с другой стороны – пневмоцилиндром подъема и прижима рамы.
2. Подающее устройство деревообрабатывающего станка по п.1, отличающееся тем, что привод каждого подающего вальца выполнен в виде гидромотора, установленного на диске на неподвижной оси, а передаточный механизм выполнен в виде зубчатой передачи, шестерня которой установлена на валу гидромотора, а ведомое зубчатое колесо установлено на диске, закрепленном на торце обечайки вальца.
3. Подающее устройство деревообрабатывающего станка по п.2, отличающееся тем, что подвод и отвод рабочего давления к гидромотору осуществлен через каналы, выполненные в неподвижной оси.
РИСУНКИ
|
|