|
|
(21), (22) Заявка: 2008116264/02, 09.11.2006
(24) Дата начала отсчета срока действия патента:
09.11.2006
(30) Конвенционный приоритет:
09.11.2005 US 60/735,758
(43) Дата публикации заявки: 20.12.2009
(46) Опубликовано: 27.05.2010
(56) Список документов, цитированных в отчете о поиске:
US 5113585 А, 19.05.1992. US 2004181943 A1, 23.09.2004. WO 2004006972 A, 22.01.2004. US 2003014866 A1, 21.01.2003. RU 2003133456 A, 27.12.2004. GB 697510 A, 23.09.1953. KR 900004540 B1, 29.06.1990. GB 1412123 A, 29.10.1975.
(85) Дата перевода заявки PCT на национальную фазу:
09.06.2008
(86) Заявка PCT:
US 2006/043611 20061109
(87) Публикация PCT:
WO 2007/056509 20070518
Адрес для переписки:
105215, Москва, а/я 26, Щелковское ш., 48-1, пат.пов. Н.А.Рыбиной, рег. 508
|
(72) Автор(ы):
О`ГРАДИ Дженет Келли (US), ВЕСТГЕЙТ Марилин Джинн (US), КОРБЕЙЛЬ Кори Эдвард (US), ДЖОНСОН Роберт (US), МОРРИССИ Мауриин Салливен (US), КСУ Юн (US), ДАНТИ Грегори Томас (US), АНДЕРСОН Джон (US), МОЛОНИ Майкл Джон (US), ХОУЛИХАН Роберт Майкл (US)
(73) Патентообладатель(и):
ДЗЕ ЖИЛЛЕТТ КОМПАНИ (US)
|
(54) CОСТАВЫ, КОМПОНЕНТЫ И СПОСОБ ИЗГОТОВЛЕНИЯ ФОРМОВАННОГО ВСПОМОГАТЕЛЬНОГО СРЕДСТВА ДЛЯ БРИТЬЯ
(57) Реферат:
Изобретение относится к средствам для бритья. Картридж для бритья содержит корпус с передним и задним краями, одно или несколько лезвий между этими краями, держатель вспомогательного средства для бритья и, по меньшей мере, одну часть вспомогательного средства для бритья, размещенную на держателе, при этом упомянутая часть вспомогательного средства для бритья содержит 0,1-10 мас.% полиоксиэтилена и мыльную основу. Бритвенный компонент состоит из держателя и установленной на нем формованной части вспомогательного средства для бритья, при этом держатель выполнен с возможностью прикрепления к бритве. Способ изготовления формованной части содержит этапы, на которых нагревают мыльную основу до температуры расплавления, добавляют к мыльной основе один или несколько чувствительных к обработке ингредиентов для образования состава вспомогательного средства для бритья и охлаждают полученный состав, при этом период времени между добавлением чувствительного к обработке ингредиента и охлаждением состава устанавливают из условия предотвращения существенного разрушения уменьшающего истирание ингредиента. Изобретение повышает качество бритья. 4 н. и 15 з.п. ф-лы, 6 табл., 19 ил.
Область техники, к которой относится изобретение
Данное изобретение относится к средствам для бритья, бритвам и картриджам.
Уровень техники
Бритвы для влажного бритья, как правило, включают в себя лезвийный блок, установленный на ручке, причем лезвийный блок включает в себя одно или несколько удлиненных лезвий, каждое с заостренным краем (к примеру, прямолинейным заостренным краем). Лезвийный блок может устанавливаться на ручке неподвижно для того, чтобы выбрасывать всю бритву, когда край или края лезвий станут тупыми. Альтернативно, лезвийный блок может быть соединен с ручкой с возможностью отделения, чтобы обеспечить замену использованного лезвийного блока новым лезвийным блоком. Заменяемые лезвийные блоки обычно называют картриджами.
Некоторые бреющиеся, в особенности женщины, используют этот тип бритвы в душе. Например, при бритье своих ног женщина зачастую наносит мыльную пленку или пену на подлежащую бритью область кожи, сбривает эту область, намыливает другую область и сбривает эту область. Данный процесс повторяется до тех пор, пока бритье не завершится. Бритье подобным образом может быть затруднительным и разочаровывающим, т.к. оно, в общем, требует, чтобы бреющийся держал мокрый кусок мыла в одной руке, орудуя бритвой в другой руке, часто стоя в неудобном положении на скользком полу душа.
Предприняты попытки решить эту проблему путем обеспечения мыла, установленного на бритве. Например, патент США 6.584.690 описывает бритву, которая несет средство для бритья, к примеру, в виде твердого куска мыла, который окружает картридж.
Сущность изобретения
Предлагаются помогающие бритью составы, включающие в себя мыльную основу и один или несколько уменьшающих истирание ингредиентов, как и способы формирования помогающего бритью состава. Уменьшающие истирание ингредиенты могут увеличивать стойкость к истиранию помогающего бритью состава (по сравнению с помогающим бритью составом, не имеющим уменьшающих истирание ингредиентов) так, что этот помогающий бритью состав служит в течение большего числа сбриваний, и (или) так, что помогающий бритью состав не растворяется и не разрушается быстро в присутствии воды.
Многие уменьшающие истирание ингредиенты чувствительны к обработке. Многие другие желательные ингредиенты, например увлажнители, ароматизаторы и т.п., тоже могут быть чувствительны к обработке. Предложены способы, которые позволяют встраивать такие чувствительные к обработке ингредиенты в отформованный на мыльной основе помогающий бритью состав. В общем, помогающий бритью состав образуется, во-первых, приготовлением расплавленной мыльной основы и внедрением чувствительных к обработке ингредиентов в расплавленную мыльную основу для образования помогающего бритью состава. После этого помогающий бритью состав охлаждается. Период времени, проходящий между добавлением чувствительного к обработке ингредиента и охлаждением помогающего бритью состава поддерживается достаточно коротким, чтобы предотвратить существенное разрушение уменьшающего истирание ингредиента, например, не более чем примерно 1 час. Получающийся отформованный помогающий бритью состав может иметь большую стойкость к истиранию вследствие присутствия уменьшающего истирание ингредиента. Отформованный помогающий бритью состав можно встраивать в бритву, например, путем встраивания его в головку или картридж бритвы.
В первом объекте предложены бритвенные картриджи, которые включают в себя корпус с передним краем и задним краем, одно или несколько бритвенных лезвий между передним краем и задним краем и держатель вспомогательного средства для бритья. Картриджи включают в себя по меньшей мере одну часть вспомогательного средства для бритья, размещенную на держателе вспомогательного средства для бритья. Упомянутая часть вспомогательного средства для бритья включает в себя от примерно 0,1 до примерно 10 мас.% полиоксиэтилена и отлитую мыльную основу.
В другом объекте предложены бритвенные компоненты, которые выполнены с возможностью прикрепляться к бритве. Бритвенные компоненты включают в себя формованную часть вспомогательного средства для бритья и держатель вспомогательного средства для бритья, на котором размещена формованная часть вспомогательного средства для бритья. Формованная часть вспомогательного средства для бритья включает в себя от примерно 0,1 до примерно 10 мас.% полиоксиэтилена и отлитую мыльную основу.
В другом объекте предложены составы, которые включают в себя от примерно 0,1 до примерно 10 мас.% полиоксиэтилена и отлитую мыльную основу.
В еще одном объекте предложены способы изготовления формованной помогающей бритью части. Эти способы включают в себя этапы, на которых: нагревают мыльную основу до температуры, достаточной для расплавления мыльной основы; добавляют один или несколько чувствительных к обработке ингредиентов к расплавленной мыльной основе для образования помогающего бритью состава; и охлаждают помогающий бритью состав для образования формованной части вспомогательного средства для бритья. Период времени между добавлением чувствительного к обработке ингредиента и охлаждением помогающего бритью состава поддерживают достаточно коротким, чтобы предотвратить существенное разрушение уменьшающего истирание ингредиента.
Варианты осуществления могут включать в себя один или несколько из следующих признаков.
Состав вспомогательного средства для бритья может иметь от примерно 1 мас.% до примерно 5 мас.% полиоксиэтилена. Полиоксиэтилен может иметь молекулярную массу от примерно 100000 до примерно 5000000. Состав вспомогательного средства для бритья может также включать в себя силиконовый полимер (к примеру, от примерно 0,25 мас.% до примерно 5 мас.% силиконового полимера). Состав вспомогательного средства для бритья может далее включать в себя композицию полиэтилена, полибутилена и минерального масла. Состав может включать в себя от примерно 0,25 мас.% до примерно 5 мас.% силиконового полимера, от примерно 10 мас.% до примерно 60 мас.% солей жирных кислот, от примерно 0,1 мас.% до примерно 8 мас.% сложных эфиров, от примерно 0,25 мас.% до примерно 10 мас.% производных полиэтиленгликоля и от примерно 0,3 мас.% до примерно 10 мас.% композиции полиэтилена, полибутилена и минерального масла. Мыльная основа может быть отлитой мыльной основой, экструдированной мыльной основой или их комбинацией.
Чувствительный к обработке ингредиент может быть уменьшающим истирание ингредиентом. Период времени, проходящий между добавлением чувствительного к обработке ингредиента и охлаждением помогающего бритью состава, может быть, например, не более чем примерно 1 час. Помогающий бритью состав может отливаться в форму до охлаждения. Способ может далее включать в себя этап, на котором омыляют животный или растительный жир для образования мыльной основы. Способ может далее включать в себя образование мыльной основы расплавлением первого состава, содержащего гликоль и соли жирных кислот для образования мыльной основы. Этот первый состав может далее включать в себя глицерин, С15-С25 спирт, стеариновую кислоту, микрокристаллический воск и поверхностно-активные вещества (к примеру, лаурил эфир сульфат натрия). Упомянутая часть вспомогательного средства для бритья может изготавливаться в непрерывном процессе. Формованная часть вспомогательного средства для бритья может встраиваться в бритвенный лезвийный блок.
Чувствительными к обработке ингредиентами являются те, которые подвергнутся разрушению или частичному разрушению, если их подвергнуть условиям обработки (к примеру, температурам, усилиям бритья и времени), предусмотренным при образовании мыльной основы. Эти ингредиенты могут быть способны выдержать условия обработки в течение краткого периода времени, нежели предусмотрено при образовании мыльной основы, либо могут быть способны выдержать некоторые условия обработки (к примеру, температуру или усилие бритья) за период времени, предусмотренный при образовании мыльной основы, но не все условия обработки за этот период времени, и при этом все еще считаться чувствительными к обработке.
Варианты осуществления могут включать в себя один или несколько из следующих признаков.
Формованный состав вспомогательного средства для бритья может проявлять повышенную стойкость и (или) выносливость к истиранию по сравнению с составом вспомогательного средства для бритья, который не включает уменьшающих истирание ингредиентов. Формованный помогающий бритью состав может выдерживать больше сбриваний, может сохраняться дольше при попадании во влажную среду и (или) в воду, и (или) может обеспечивать иные желательные при бритье свойства.
Формованное вспомогательное средство для бритья в некоторых вариантах осуществления можно уменьшить в размере при сохранении того же самого числа сбриваний, что и в помогающем бритью составе, лишенном уменьшающих истирание ингредиентов. Это может позволить снизить общий объем бритвенной головки, что может улучшить эксплуатационные данные и (или) эстетический внешний вид бритвы.
Если не определено иное, все используемые здесь технические и эстетические термины имеют то же самое значение, что и обычно понимаемое специалистом в той области, к которой относится данное изобретение. Ниже описаны пригодные способы и вещества, хотя на практике или при тестировании настоящего изобретения можно использовать способы вещества, сходные с описанными здесь или эквивалентные им. Все упомянутые здесь публикации, заявки на патент и прочие ссылки включены сюда посредством ссылки по всей своей полноте. В случае столкновения господствующим будет настоящее описание, в том числе определения. Помимо того, вещества, способы и примеры являются всего лишь иллюстративными и не предназначенными для ограничения.
Прочие признаки и преимущества этого изобретения станут понятными из нижеследующего подробного описания и из формулы изобретения. В приведенном здесь описании все проценты представляют собой массовые проценты на основе массы всего помогающего бритью состава, если только не указано иное.
Краткое описание чертежей
Фиг.1А представляет собой схему процесса образования формованного состава вспомогательного средства для бритья, использующего отлитую мыльную основу.
Фиг.1В представляет собой схему процесса образования формованного состава вспомогательного средства для бритья, использующего экструдированную мыльную основу.
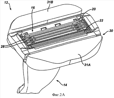
Фиг.2А представляет собой вид в перспективе головки и шейки бритвы согласно варианту осуществления изобретения.
Фиг.2В представляет собой вид в перспективе головки и шейки, показанных на фиг.1, при взгляде сзади.
Фиг.3 представляет собой вид в перспективе в разобранном состоянии бритвы по фиг.1.
Фиг.4А представляет собой вид в перспективе держателя картриджа, показанного на фиг.1, при взгляде сверху.
Фиг.4В представляет собой вид в перспективе держателя, показанного на фиг.3, при взгляде снизу.
Фиг.4С, 4D и 4Е представляют собой, соответственно, виды сверху, спереди и сбоку держателя, показанного на фиг.3. Фиг.4F представляет собой вид сбоку, показывающий створки держателя в отклоненном положении (боковые крепления показаны в их нормальном положении на фиг.4D).
Фиг.5А, 5В, 5С и 5D представляют собой, соответственно, виды в перспективе, сверху, спереди и сбоку держателя с удаленными помогающими бритью частями.
Фиг.6А, 6В, 6С и 6D представляют собой, соответственно, виды в перспективе, сверху, спереди и сбоку держателя с удаленными помогающими бритью частями и эластомерными частями.
Одинаковые ссылочные позиции на разных чертежах указывают одинаковые элементы.
Подробное описание
Бритвы с помогающими бритью составами, которые имеют мыльную основу, могут использоваться без необходимости в отдельном помогающем бритью средстве, таком как, к примеру, мыло или крем либо гель для бритья, что может упростить пользование бритвой, например, за счет обеспечения бритья в душе без необходимости в продолжительном повторном нанесении на кожу помогающего бритью средства. Желательно увеличить стойкость к истиранию помогающего бритью средства, чтобы помогающий бритью состав выдерживал большее число сбриваний, чем в отсутствие увеличения стойкости к истиранию, и (или) чтобы помогающий бритью состав не растворялся и не разрушался быстро в присутствии воды. Однако многие уменьшающие истирание ингредиенты, которые могли бы улучшить характеристики истирания отформованного помогающего бритью состава, чувствительны к обработке и могут разрушиться, когда их подвергают температуре и усилиям бритья и периоду времени, предусмотренным при образовании мыла. Многие другие желательные ингредиенты, например увлажнители, ароматизаторы и т.п., также чувствительны к обработке.
Настоящее изобретение позволяет вводить такие чувствительные к обработке ингредиенты в отформованный помогающий бритью состав на мыльной основе. В общем, состав вспомогательного средства для бритья образуется, во-первых, получением (т.е. изготовлением) мыльной основы, к примеру, экструдированной мыльной основы или отлитой мыльной основы. Чувствительные к обработке ингредиенты вводятся в мыльную основу для образования помогающего бритью состава. Обычно, если мыльная основа представляет собой отлитую мыльную основу, это достигается расплавлением отлитой мыльной основы, добавлением чувствительных к обработке ингредиентов, а затем охлаждением полученного состава, например, путем помещения в форму и охлаждения этого состава в течение периода времени, в котором чувствительные к обработке ингредиенты остаются практически не разрушенными, к примеру, в пределах примерно 1 часа. Если же мыльная основа представляет собой экструдированную мыльную основу, эта мыльная основа и чувствительные к обработке ингредиенты объединяются путем дробления, размалывания и (или) иных методов смешивания, очищаются и экструдируются для образования отформованного помогающего бритью состава. Обычно состав вспомогательного средства для бритья хорошего качества может быть получен за счет отказа от повторного расплавления чувствительных к обработке ингредиентов.
Полученный формованный состав вспомогательного средства для бритья может иметь большую стойкость к истиранию вследствие наличия уменьшающих истирание ингредиентов. Формованный состав вспомогательного средства для бритья может встраиваться в бритву, например, путем встраивания в бритвенную головку или картридж.
Мыльная основа
Состав вспомогательного средства для бритья включает в себя мыльную основу, к примеру, отлитую мыльную основу или экструдированную мыльную основу. Этот базисный компонент мыльной основы может быть растительным маслом или животным жиром, омыленным или нейтрализованным для образования основы, или может быть синтетической отлитой мыльной основой. Можно также использовать сверхжирные вещества, содержащие части (к примеру, больше чем примерно 24 мас.%) кокосовой кислоты или иных жирных кислот. В некоторых вариантах осуществления состав вспомогательного средства для бритья включает в себя растительное масло или животный жир или тому подобное, либо комбинацию приведенных выше веществ, которые омылены или нейтрализованы. Омыление или нейтрализация растительного масла и животного жира дает в результате получение глицерина и солей жирных кислот для образования основы. Состав вспомогательного средства для бритья может включать в себя от примерно 50 мас.% до примерно 100 мас.% омыленной или нейтрализованной основы (к примеру, от примерно 75 мас.% до примерно 100 мас.% омыленной или нейтрализованной основы), которая может быть непрозрачной, полупрозрачной или прозрачной. Примерные соли жирных кислот, которые можно получить, включают в себя карбоксилатные соли натрия, имеющие примерно до 22 атомов углерода.
Мыльная основа может быть синтетической мыльной основой. В некоторых вариантах осуществления синтетическая мыльная основа включает в себя гликоль (к примеру, дипропиленгликоль, пропиленгликоль, трипропиленгликоль и (или) метилпропан диольгликоль), глицерин, соли жирных кислот (к примеру, стеарат натрия и (или) стеарат калия), С15-С25 спирты (к примеру, бегениловый спирт, стеариловый спирт, цетиловый спирт и (или) миристиновый спирт), стеарет (к примеру, стеарет 21, такой, например, как Brij®-721), стеариновую кислоту, микрокристаллический воск (к примеру, микрокристаллический воск SP 16, SP 19, SP 16, SP 18, SP-1674, SP 16W, SP 60W, SP 89, Multiwax 180M, X-145, W-445 и (или) W-835), одно или несколько поверхностно-активных веществ (к примеру, Tegobetaine F-50, Lonzaine®, семейство поверхностно-активных веществ Maskam®, семейство поверхностно-активных веществ Mirastaine® и лаурил эфир сульфат натрия («SLES») (к примеру, 25%-ный SLES). В некоторых вариантах осуществления глицерин не включен в мыльную основу. Глицерин может быть включен необязательно, частично или полностью, в чувствительную к обработке фазу, подробнее описанную ниже.
В некоторых вариантах осуществления мыльная основа может включать в себя от примерно 0,5% до примерно 30% гликоля (к примеру, от примерно 10% до примерно 25% гликоля или от примерно 12% до примерно 15% гликоля), от примерно 10% до примерно 40% глицерина (к примеру, от примерно 18% до примерно 34% глицерина или от примерно 18% до примерно 24% глицерина), от примерно 20% до примерно 40% соли жирной кислоты (к примеру, от примерно 25% до примерно 40% солей жирных кислот (к примеру, стеарата) или от примерно 30% до примерно 35% соли жирной кислоты), от примерно 0,1% до примерно 10% стеариновой кислоты (к примеру, от примерно 2% до примерно 5% стеариновой кислоты), от примерно 0,5% до примерно 10% микрокристаллического воска (к примеру, от примерно 0,5% до примерно 5% микрокристаллического воска или от примерно 1% до примерно 3% микрокристаллического воска), от примерно 1% до примерно 15%; бетаина (к примеру, от примерно 2% до примерно 10% активного бетаина или от примерно 4% до примерно 9% активного бетаина) и от примерно 1% до примерно 20% активного SLES (к примеру, от примерно 1% до примерно 20% активного SLES или от примерно 10% до примерно 15% активного SLES), все на основе массы отлитой мыльной основы. Одна примерная отлитая мыльная основа включает в себя следующее:
| Дипропиленгликоль |
17,2% |
| Глицерин |
21,4% |
| Стеарат натрия |
34,4% |
| Стеариновая кислота (Pristerene® 4980) |
3,7% |
| Микрокристаллический воск SP 89 |
1,2% |
| Tegobetaine F-50 |
7,4% |
| SLES 25%-ный активный |
14,7% |
В некоторых вариантах осуществления может также применяться комбинация основы и синтетических поверхностно-активных веществ.
Можно применять коммерчески доступные мыльные основы. Примерные коммерчески доступные мыльные основы включают в себя, например, чистые полупрозрачные мыльные основы, доступные от Twincraft Soap.
Уменьшители истирания
Состав вспомогательного средства для бритья включает в себя один или несколько уменьшающих истирание ингредиентов. Подходящие уменьшающие истирание ингредиенты включают в себя стеарат натрия, полиоксиэтилен, полиэтилен, сложные эфиры и силиконовые полимеры. Многие из этих ингредиентов (к примеру, сложные эфиры и полиоксиэтилен) являются, как правило, чувствительными к обработке. Уменьшающие истирание вещества могут также сообщать иные качества или характеристики помогающему бритью составу, такие, например, как увеличенное смазывание.
Полиоксиэтилен
Одним подходящим уменьшающим истирание ингредиентом является полиолксиэтилен, который представляет собой чувствительное к обработке вещество. Полиоксиэтилены характеризуются, как правило, их номинальной или средней (среднечисловой) молекулярной массой. Среднечисловая молекулярная масса представляет собой сумму отдельных молекулярных масс, деленную на число полимеров. Как известно в этой области, образец полиоксиэтилена обычно включает в себя распределение молекулярных масс, так что образец будет включать в себя отдельные полимерные молекулы выше и ниже среднечисловой молекулярной массы.
Включение полиоксиэтилена любой номинальной молекулярной массы может улучшить характеристики истирания отформованного помогающего бритью состава. Полиоксиэтилен может иметь приблизительно номинальную молекулярную массу, например, не менее чем примерно 100.000 дальтон (к примеру, не менее чем примерно 500.000, 1.000.000, 2.000.000, 3.000.000, 4.000.000, 5.000.000, 6.000.000 или не менее чем примерно 7.000.000 дальтон) и (или) не более чем примерно 8.000.000 дальтон (к примеру, не более чем примерно 7.000.000, 6.000.000, 5.000.000, 4.000.000, 3.000.000, 2.000.000 или не более чем примерно 1.000.000 дальтон). Опционально, можно использовать два или более полиоксиэтилена с различными номинальными молекулярными массами. Полиоксиэтилен может присутствовать, например, на уровне не менее чем примерно 0,1% (к примеру, не менее чем примерно 0,25%, не менее чем примерно 0,5%, не менее чем примерно 1%, не менее чем примерно 2%, не менее чем примерно 3%, не менее чем примерно 4%, не менее чем примерно 5%, не менее чем примерно 6%, не менее чем примерно 7%, не менее чем примерно 8% или не менее чем примерно 9%) и (или) не более чем примерно 10% (к примеру, не более чем примерно 9%, не более чем примерно 8%, не более чем примерно 7%, не более чем примерно 6%, не более чем примерно 5%, не более чем примерно 4%, не более чем примерно 3%, не более чем примерно 2%, не более чем примерно 1% или не более чем примерно 0,5%) на основе массы помогающего бритью состава. Примеры полиоксиэтилена включают в себя элементы семейства Polyox® полиоксиэтиленов, доступные от Union Carbide Corporation, или полиоксиэтилены Alkox®, доступные от Meisei Chemical Works, Киото, Япония.
Силиконовые полимеры
Силиконовые полимеры также могут быть включены как уменьшающий истирание ингредиент. В частности, можно использовать силиконовые полимеры с перекрестными связями. Силиконовые полимеры с перекрестными связями представляют собой полимеры, включающие силикон (к примеру, с основанной на силиконе главной цепью), которые способны к перекрестному сшиванию (к примеру, которые являются перекрестно сшитыми). Силиконовые полимеры, в особенности силиконовые полимеры с перекрестными связями, могут присутствовать на уровнях по меньшей мере 0,25% активного в растворителе (к примеру, по меньшей мере примерно 0,5%, 1%, 1,5%, 2%, 2,5%, 3%, 3,5%, 4% или по меньшей мере примерно 4,5%) и (или) самое большее примерно 5% (к примеру, самое большее примерно 4,5%, 4%, 3,5%, 3%, 2,5%, 2%, 1,5%, 1% или самое большее примерно 0,5%). В некоторых вариантах осуществления силиконовый полимер с перекрестными связями будет присутствовать на уровнях от примерно 0,25% до примерно 5%. Примерные силиконовые полимеры с перекрестными связями включают в себя, например, лаурил диметикон/полиглицерин-3 полимер с перекрестными связями (к примеру, 30%-ный лаурил диметикон/полиглицерин-3 полимер с перекрестными связями).
Коммерчески доступные силиконовые полимеры с перекрестными связями включают в себя диметикон PEG-7 пантенил фосфат (Pecosil® PS-200), диметикон PEG-7 ундециленат (Pecosil® DCU), сополимер диметикона/метикона (Pecosil® SH-25L) и сополимер перфторнойлетил диметикон метикона (Pecosil® FS-H15), доступные каждый от Phoenix Chemical, Inc.; полимер диметикона/винил диметикона с перекрестными связями в диметиконе (KSG 16), полимер винил диметикона/лаурил диметикона с перекрестными связями в минеральном масле (KSG 41), полимер диметикона/лаурил диметикона с перекрестными связями в сквалане (KSG 44), полимер винил диметикона/метикон силсесквиоксана с перекрестными связями (KSP-100, KSP-101, KSP 105), полимер сквален и лаурил диметикона/полиглицерина-3 с перекрестными связями (KSG 840), полимер триэтилгексанон и лаурил диметикона/полиглицерина-3 с перекрестными связями (KSG-830) и полимер диметикона/полиглицерина-3 с перекрестными связями и диметикон (KSG-710), доступные каждый от Shin-Etsu; PEG/PPG-20/6 диметикон (ABIL® B88184), бегеноксидиметикон (ABIL® воск 2440) и С24-С28 алкил метикон (ABIL® воск 98 10Р), доступные каждый от Degussa; и полимер диметикона/винил диметикона с перекрестными связями и С12-С14 Pareth-12 (DC9509), доступный от Dow Corning.
Сложные эфиры
Сложные эфиры (например, масла и другие нежидкие сложные эфиры) могут быть включены в помогающий бритью состав и могут функционировать как уменьшитель истирания и (или) как смягчитель кожи. В частности, можно применять полутвердые сложные эфиры, и они являются в общем чувствительными к обработке веществами. Полутвердые сложные эфиры могут действовать как умягчитель и (или) как увлажнитель. Примерные полутвердые сложные эфиры включают в себя масла, такие как, например, масло из масляного дерева, кокосовое масло, масло кокум, масло авокадо, оливковое масло, масло манго и из смеси. Сложные эфиры можно включать в состав вспомогательного средства для бритья на уровнях не менее чем примерно 0,5% (к примеру, не менее чем примерно 1%, 2%, 3%, 4%, 5%, 6% или не менее чем примерно 7%) и (или) не более чем примерно 8% (к примеру, не более чем примерно 7%, 6%, 5%, 4%, 3%, 2% или не более чем примерно 1%).
Полиэтиленовые композиции
Состав вспомогательного средства для бритья может включать в себя один или несколько полиэтиленовых составов в качестве уменьшающих истирание ингредиентов. В общем, полиэтилены могут улучшать характеристики истирания помогающего бритью состава, но трудны для встраивания в этот состав непосредственно. Вместо этого полиэтилены можно встраивать в композицию, которая затем встраивается в помогающий бритью состав. Например, можно применять композицию, включающую в себя полиэтилен, полибутилен и минеральное масло (например, продаваемое под торговым наименованием Covagloss фирмой Sensient Technologies). В некоторых вариантах осуществления помогающий бритью состав будет включать в себя не менее чем примерно 0,5% (к примеру, не менее чем примерно 1%, 2%, 3%, 4%, 5%, 6% или не менее чем примерно 7%) и (или) не более чем примерно 8% (к примеру, не более чем примерно 7%, 6%, 5%, 4%, 3%, 2% или не более чем примерно 1%) композиции из полиэтилена, полибутилена и минерального масла.
Увлажнительные компоненты и прочие опциональные ингредиенты
Состав вспомогательного средства для бритья может далее включать в себя другие ингредиенты ухода за кожей и (или) иные добавки. Ингредиенты ухода за кожей, которые можно добавлять в основу для улучшения состава, включают в себя – но не ограничиваются ими – поверхностно-активные вещества (к примеру, изостеарил лакталат натрия, изостеарат аммония, DEA-миристат, алкил глицерин сульфонат и этерифицированный лаурил-16), агенты ухода за кожей (к примеру, умягчители, смазочные вещества, смачиватели, увлажнительные агенты и кондиционеры), вспенивающие агенты, подавители роста волос, ботанические экстракты, антиоксиданты, противомикробные средства, противовоспалительные агенты, вяжущие вещества, противораздражители, депиляторные агенты, медицинские агенты, поглотители, ароматизирующие вещества, красящие агенты (к примеру, красители и пигменты) и отшелушивающие агенты (к примеру, люфа, морские водоросли, толокно, пемза, семена абрикоса и тому подобное). Примерные варианты осуществления агентов ухода за кожей включают в себя – но не ограничиваются ими – увлажнители, такие как глицерин, сорбит и пропиленгликоль; освежающие и успокаивающие кожу агенты, такие как метол, алоэ, алантоин и коллаген; смазочные вещества, такие как полиоксиэтилен; и силиконы (к примеру, диметикон, диметиконол, диметикон сополиол, стеарил диметикон, цетил диметикон сополиол, фенил диметикон, циклометикон и т.п.); соли натрия или калия (к примеру, лактилаты, хлориды, сульфонаты и т.п.); витамины и витаминные комплексы (в том числе провитамины и производные витаминов); кокоаты; окислы металлов, масла (к примеру, кокосовое масло); диметикон; аллантоин; кокоат сахарозы; олеил ланолат; тиомочевину; токоферол ацетат; PPG-33; ундесет-3; мед; морские водоросли; и алоэ барбаденсис. Ингредиенты ухода за кожей могут быть представлены в некоторых вариантах осуществления в количестве не более чем примерно 35% (к примеру, не более чем примерно 30%, 25%, 20%, 15%, 12%, 10%, 8%, 6%, 4% или не более чем примерно 2%). Поглотителями могут быть глины или основанные на глинах составы, каолин, древесная мука, поваренная соль, циклодекстрин, мел, тальк, кремнезем, политетрафторэтилен или тому подобное, и могут быть представлены в количествах не более чем примерно 9% (к примеру, не более чем примерно 5% или не более чем примерно 3%). Глины, которые можно добавлять, включают в себя бентонит, каолин, комбинации вышеприведенных глин и тому подобное.
Примерные красящие агенты включают в себя красители и пигменты, например, двуокись титана, марганцевый фиолетовый, окись цинка, ультрамарин (к примеру, синий ультрамарин 4), оранжевый 4, зеленый 3 или другие красители или пигменты, одобренные для применения в косметике, либо в одиночку, либо в комбинации. Красящие агенты могут добавляться в некоторых вариантах осуществления в количестве не более чем примерно 6% (к примеру, не более чем примерно 4%, 2%, 1%, 0,1%, 0,01%, 0,001%, 0,0001% или даже не более чем примерно 0,00001%) и (или) не менее чем примерно 0,000001% (к примеру, не менее чем примерно 0,00001%, 0,0001%, 0,001%, 0,01%, 0,1% или не менее чем примерно 1%) по массе.
Ароматизаторами являются душистые вещества, используемые для придания желательных запахов составу, и могут маскировать менее желательные запахи других компонентов состава. Можно использовать любой ароматизатор, одобренный для применения в косметике. В некоторых вариантах осуществления по меньшей мере один ароматизатор может добавляться в количестве до примерно 4% (к примеру, до примерно 2%, до примерно 1,5% или до примерно 1%).
В некоторых вариантах осуществления отформованный помогающий бритью состав может быть выполнен с возможностью обеспечения для пользователя указания истирания. Например, формованный состав вспомогательного средства для бритья может включать в себя признаки, которые появляются или исчезают по мере истощения помогающего бритью средства. Такой индикатор истирания может указывать пользователю, когда следует заменить бритвенный картридж. В некоторых вариантах осуществления отформованные помогающие бритью составы могут иметь рецептуру и (или) размеры для истощения в конце намеченного срока службы картриджа, так что изнашивание помогающего бритью средства будет указывать пользователю, что картридж следует заменить. В других вариантах осуществления отформованные помогающие бритью составы могут включать в себя встроенные признаки, такие как логотип или слово, которые появляются, когда заранее заданное количество помогающего бритью средства смыто, либо на помогающем бритью средстве может быть выдавлен признак, который исчезает по мере использования помогающего бритью средства. В этих случаях появление или исчезновение, соответственно, признака будет указывать пользователю, что картридж следует заменить. Аналогично, смазывающая полоска может быть закреплена на одной или обеих створках, лежащих под отформованным(-ыми) помогающим(-ими) бритью составом(-ами). В этом случае по мере истощения помогающего бритью средства смазывающая полоска будет открываться, указывая, что картридж следует заменить. Смазывающая полоска будет обеспечивать дополнительную выгоду от смазывания кожи и улучшения ее состояния в течение периода времени, пока пользователь не будет способен заменить картридж.
Примерная чувствительная к обработке фаза включает в себя следующее:
| Глицерин |
62,4% |
| Масло из семян масляного дерева |
5,4% |
| Ароматизатор (IFF 4473-BH) |
5,4% |
| Коагулянт Polyox® WSR |
 |
| (молекулярная масса приблизительно 5 миллионов) |
26,9% |
| Краситель D&C красный 33 |
0,005% |
Способ изготовления отформованного помогающего бритью состава
Двухстадийный процесс
1. Отлитая мыльная основа
Формируют отлитую мыльную основу, в которую впоследствии добавляют чувствительные к обработке ингредиенты. Отлитая мыльная основа может быть мыльной основой на животной или растительной базе, синтетической мыльной основой или их комбинацией. Для приготовления мыльной основы на базе жира животный жир (жир от животных, таких как крупный рогатый скот или овцы) или растительный жир нагревается в присутствии основания, такого, например, как гидроксид натрия или гидроксид калия. Смесь жира/основания может нагреваться до температуры между примерно 75°С и примерно 100°С. Триглицериды в животном или растительном жире реагируют с основанием для получения глицерина и соли жирной кислоты (к примеру, стеарата или, конкретнее, стеарата натрия), или мыла. Когда эта реакция омыления завершена, мыло осаждается, например, добавлением соли, такой как поваренная соль. Вода и глицерин затем удаляются, например, вакуумной перегонкой. Сырое мыло, полученное из реакции омыления, может содержать примеси, такие, например, как поваренная соль, гидроксид натрия и остаточный глицерин. Эти примеси можно удалить кипячением сгустков сырого мыла в воде и повторным осаждением мыла солью. Данный процесс очистки может быть повторен несколько раз при необходимости.
В некоторых вариантах осуществления приготавливается синтетическая мыльная основа. Синтетическую отлитую мыльную основу можно приготовить смешиванием или соединением в начале гликоля и глицерина. Смесь гликоля/глицерина нагревают сначала до температуры, достаточной для расплавления соли жирной кислоты (к примеру, по меньшей мере примерно 90°С, по меньшей мере примерно 95°С, по меньшей мере примерно 100°С или по меньшей мере примерно 105°С), и к смеси добавляют соль жирной кислоты, которую можно довести до более высокой температуры, чтобы способствовать включению соли жирной кислоты (к примеру, по меньшей мере примерно 85°С, по меньшей мере примерно 90°С, по меньшей мере примерно 95°С, по меньшей мере примерно 100°С, по меньшей мере примерно 105°С или по меньшей мере примерно 110°С). Затем к расплаву добавляют стеариновую кислоту и микрокристаллический воск. Далее к расплаву добавляют бетаин и лаурил эфир сульфат натрия (а также необязательные спирт и стеарет, если таковые применяются), а затем к расплаву добавляют дополнительную соль жирной кислоты. Расплав охлаждают и дают ему возможность отвердеть. Расплаву позволяют, необязательно, отверждаться в любом виде, например, в формах, брусках, хлопьях, полосках, пастилках, крупинках или любой иной форме. Отвержденная мыльная основа может обрабатываться далее или может храниться (к примеру, в течение 2 лет).
В некоторых вариантах осуществления процесс образования мыльной основы включает в себя этап, на котором поднимают температуру ингредиентов мыльной основы до не менее чем примерно 80°С (к примеру, не менее чем примерно 85°С, 90°С, 95°С, 100°С или 105°С). Ингредиенты мыльной основы в некоторых вариантах осуществления подвергаются этим температурам в течение периода времени не менее чем примерно 1 час (к примеру, не менее чем примерно 2, 3, 4, 5, 10 или не менее чем примерно 20 часов).
2. Чувствительная к обработке фаза
Приготавливается вторая фаза, которая может включать в себя один или несколько ингредиентов, которые чувствительны к обработке. Эта чувствительная к обработке фаза включает в себя сложные эфиры, полиоксиэтилен, ароматизаторы, красители и прочие необязательные ингредиенты. Чувствительную к обработке фазу можно приготовить нагреванием глицерина до температуры от примерно 25°С до примерно 50°С (к примеру, до примерно 35°С) и добавлением чувствительных к обработке ингредиентов. Повышенная температура может способствовать включению чувствительных к обработке ингредиентов и может быть выбрана на основе конкретных ингредиентов, которые включаются в состав. Например, масла плавятся, как правило, при примерно 35°С, так что подъем температуры, чувствительной к обработке фазы до примерно 35°С, может помочь в расплавлении масла в эту фазу. Выбор ингредиентов и количеств этих выбранных ингредиентов будет меняться в зависимости от уровней, желательных в конечном помогающем бритью составе. В некоторых вариантах осуществления ингредиенты, которые сами не являются чувствительными к обработке, могут быть включены в чувствительную к обработке фазу.
Температура чувствительной к обработке фазы в некоторых вариантах осуществления может поддерживаться в пределах от примерно 25°С до примерно 50°С (к примеру, на примерно 35°С) до тех пор, пока чувствительная к обработке фаза не будет добавлена к мыльной основе. В некоторых вариантах осуществления чувствительной к обработке фазе можно разрешить охладиться (к примеру, до комнатной температуры) перед тем, как включать ее в мыльную основу.
3. Объединение мыльной фазы и чувствительной к обработке фазы
Вариант осуществления образования помогающего бритью состава из мыльной фазы и чувствительной к обработке фазы иллюстрируется на фиг.1. Отвержденное отлитое мыльное основание 202 нагревают до температуры от примерно 90°С до примерно 100°С (к примеру, до примерно 91°С, примерно 92°С, примерно 93°С, примерно 94°С, примерно 95°С, примерно 96°С, примерно 97°С, примерно 98°С, примерно 99°С или примерно 100°С) и повторно расплавляют для образования расплавленного мыла 204. Расплавленное мыло 204 отмеряется через насос 206 в нагретый наполняющий питающий сосуд 210, который снабжен перемешивающим механизмом 212. Наполняющий питающий сосуд 210 выполнен с возможностью поддерживать температуру своего содержимого на примерно 95°С. Чувствительная к обработке фаза 220 образуется перемешиванием чувствительных к обработке ингредиентов 224 в нагретой камере 222. Чувствительная к обработке фаза 220 затем отмеряется через насос 228 в наполняющий питающий сосуд 210 и перемешивается с мыльной основой 202 для образования расплавленного помогающего бритью состава 230. Смешивание в некоторых вариантах осуществления требуется для получения однородного конечного продукта; смешивание в общем поддерживается минимальным, чтобы снизить срезающие усилия, которые могут разрушить некоторые или все из чувствительных к обработке ингредиентов. В некоторых вариантах осуществления можно использовать и неоднородную смесь. Например, желательный конечный продукт может включать в себя один или несколько ингредиентов, распределенных в мыле в виде перламутра, с прожилками или иным неоднородным образом.
Расплавленный помогающий бритью состав 230 затем отмеряется через насос 232 в отдельные формы 236, образованные в формовом блоке 238, где помогающий бритью состав охлаждается для образования отформованных помогающих бритью составов 240. Температура расплавленного помогающего бритью состава 230 поддерживается при температуре примерно 95°С до тех пор, пока помогающий бритью состав не будет помещен в формы 236.
Поскольку расплавленный состав вспомогательного средства для бритья 230 включает в себя чувствительные к обработке ингредиенты 224, расплавленный помогающий бритью состав 230 удерживается при повышенной температуре в течение периода времени, который меньше, чем тот, то привел бы к существенному разрушению чувствительных к обработке ингредиентов 230. Например, в некоторых вариантах осуществления расплавленный помогающий бритью состав 230 удерживается при повышенной температуре не более чем примерно 120 минут (в том числе, к примеру, не более чем примерно 110 минут, не более чем примерно 100 минут, не более чем примерно 90 минут, не более чем примерно 75 минут, не более чем примерно 60 минут, не более чем примерно 50 минут, не более чем примерно 40 минут, не более чем примерно 30 минут, не более чем примерно 20 минут, не более чем примерно 10 минут, не более чем примерно 5 минут или даже не более чем примерно 2 минуты) перед тем, как он помещается в формы и охлаждается. Таким образом, можно образовать формованный состав вспомогательного средства для бритья, в котором чувствительные к обработке ингредиенты практически не разрушены.
В некоторых вариантах осуществления помогающий бритью состав помещается в форму в установочное устройство для вспомогательного средства для бритья (к примеру, описанные ниже створки), уже расположенное в этой форме. Таким образом, состав вспомогательного средства для бритья может быть встроен сам в установочное устройство для помогающего бритью средства при отверждении.
Когда состав вспомогательного средства для бритья охлажден до достаточной точки (к примеру, до точки, в которой он отвержден в достаточной степени, чтобы легко отделяться от формы), помогающий бритью состав может быть удален из формы. В некоторых вариантах осуществления составу вспомогательного средства для бритья можно позволить охлаждаться приблизительно до комнатной температуры перед удалением из формы. В других вариантах осуществления составу вспомогательного средства для бритья можно позволить охлаждаться до температуры не более чем примерно 80°С (к примеру, не более чем примерно 75°С, 70°С, 65°С, 60°С, 50°С, 40°С, не более чем примерно 30°С, не более чем примерно 25°С, не более чем примерно 20°С, не более чем примерно 15°С, не более чем примерно 10°С, не более чем примерно 5°С или не более чем примерно 0°С) перед удалением из формы.
Одностадийный процесс заправки
В некоторых вариантах осуществления чувствительные к обработке ингредиенты могут добавляться непосредственно к расплаву отлитой мыльной основы в одностадийном процессе заправки. В одном таком варианте осуществления расплав отлитой мыльной основы поддерживается при температуре 95°С, и чувствительная к обработке фаза добавляется к этому расплаву для образования состава вспомогательного средства для бритья без первичного охлаждения и затем повторного плавления расплава отлитой мыльной основы. Состав вспомогательного средства для бритья затем помещается в одну или несколько форм и охлаждается. В другом таком варианте осуществления чувствительные к обработке ингредиенты вмешиваются непосредственно в расплав отлитой мыльной основы без первичного встраивания в чувствительную к обработке фазу. Получающийся состав вспомогательного средства для бритья помещается далее в одну или несколько форм и охлаждается. В каждом случае состав помещается в формы и ему позволяют охлаждаться до того, как истечет достаточное время, чтобы практически разрушить некоторые или все из чувствительных к обработке ингредиентов. В частности, время, которое истекает между добавлением чувствительных к обработке ингредиентов к расплавленной мыльной основе и помещением расплавленного помогающего бритью состава в формы и охлаждением этого помогающего бритью состава, должно быть меньше, чем промежуток времени, в который некоторые или все из чувствительных к обработке ингредиентов, как правило, начнут разрушаться при повышенной температуре и срезании на этапе перемешивания. В общем, это время будет меньше чем примерно 90 минут (к примеру, меньше чем примерно 80, 70, 60, 50, 40, 30, 20, 10 или менее чем примерно 5 минут).
Непрерывной процесс
В некоторых вариантах осуществления формованный состав вспомогательного средства для бритья приготавливается в непрерывном процессе. Ингредиенты для мыльной основы сначала объединяются и протекают через нагретую камеру для увеличения температуры ингредиентов до по меньшей мере 90°С (к примеру, по меньшей мере примерно 95°С, 100°С, 105°С, 110°С, 115°С или по меньшей мере примерно 120°С). Нагретая камера и насосный механизм выполнены с возможностью обеспечить достаточное время выдержки компонентов мыльной основы при повышенной температуре, чтобы обеспечить достаточное расплавление и перемешивание ингредиентов.
Далее, расплав перемещается во вторую камеру, поддерживаемую при температуре не более чем примерно 100°С (к примеру не более чем примерно 90°С, не более чем примерно 80°С или не более чем примерно 70°С). Альтернативно, расплав может оставаться в первой камере, а температура первой камеры может быть снижена до не более чем примерно 100°С (к примеру, не более чем примерно 90°С, не более чем примерно 80°С или не более чем примерно 70°С). При поддержании этой температуры чувствительные к обработке ингредиенты вводятся и смешиваются с расплавом мыльной основы для образования помогающего бритью состава. Эти ингредиенты можно вводить по отдельности или можно вводить в виде чувствительной к обработке фазы, что описано выше. Затем помогающий бритью состав течет в формы, к примеру, инжекционным формованием, и охлаждается для образования отформованного помогающего бритью состава.
Экструдированное мыло
В некоторых вариантах осуществления можно использовать экструдированное мыло. Процесс 250 для образования экструдированного мыла иллюстрируется на фиг.1 В. Мыльная основа, в общем, образуется объединением ингредиентов 252 мыльной основы в реакционном сосуде 254 для образования жидкой мыльной основы 256 (к примеру, посредством реакции омыления или нейтрализации) и глицерина 258, который удаляется из жидкой мыльной основы 256. Жидкая мыльная основа перемещается в сушильную камеру 260, где удаляется по меньшей мере некоторое количество воды (к примеру, вакуум-распылительной сушкой) для образования практически сухих мыльных крупинок 262 (к примеру, сухих мыльных игл или стружек). Сухие мыльные крупинки 262 вводятся затем в мешалку 264 с одной или несколькими лопастями 266 для смешивания и (или) размалывания сухих мыльных крупинок 262 вместе с чувствительными к обработке ингредиентами 270, которые введены в мешалку 264, для образования экструдированной мыльной сухой смеси 272. Экструдированная мыльная сухая смесь 272 в некоторых вариантах осуществления может быть гомогенизирована до макромолекулярного уровня (к примеру, можно достичь практически равномерное распределение чувствительных к обработке ингредиентов среди сухих мыльных крупинок). Экструдированная мыльная сухая смесь 272 затем рафинируется, к примеру, введением экструдированной мыльной сухой смеси 272 в одну или несколько валковых мельниц 274 для достижения практически однородной текстуры. Экструдированная мыльная сухая смесь 272 затем экструдируется с помощью экструдера 276, необязательно с использованием тепла (к примеру не более чем 95°С, 90°С, 85°С, 80°С, 70°С, 60°С, 50°С, 40°С, 30°С или не более чем 25°С) и (или) давления, для образования непрерывного бруска экструдированного мыла 278, который можно подвергать дальнейшим этапам 278 обработки (к примеру, разрезанию и (или) штампованию в желательную конечную форму).
Характеристики истирания мыла
В некоторых вариантах осуществления состав вспомогательного средства для бритья проявляет хорошие характеристики истирания. Характеристики истирания можно определить несколькими путями. Например, помогающий бритью состав можно встраивать на бритву, и можно определить число сбриваний перед тем, как некоторые рабочие характеристики бритья начнут ухудшаться. В других вариантах осуществления истирание можно определить, подвергнув помогающий бритью состав установленным абразивным условиям (к примеру, заданные поверхностный состав и скорость абразивного устройства, такого как, к примеру, абразивное колесо) и определяя, сколько состава истирается за заданный период времени.
В некоторых вариантах осуществления стойкость к истиранию можно измерить, поддерживая поток жидкости по текстурированной поверхности и между этой текстурированной поверхностью и телом помогающего бритью средства. Вода поддерживается в водяной ванне при заранее выбранной температуре. Тело помогающего бритью средства стирается для моделирования процесса бритья. Поток воды через водяную ванну составляет примерно 0,08 галлона в минуту (галлон/мин), а температура воды составляет от примерно 36°С до примерно 40°С. Стирание тела средства вспомогательного средства для бритья выполняется устройством, которое обеспечивает сцепление тела помогающего бритью средства текстурированной поверхностью и перемещение тела помогающего бритью средства по текстурированной поверхности в колебательном движении. Текстурированная поверхность может быть площадкой из нержавеющей стали с числом чистоты поверхности 32 микродюйма (Ra) (примерно 150 грит (grit)). Каждое непрерывное перемещение (вперед и назад) тела помогающего бритью средства по текстурированной поверхности составляет цикл. Один полный цикл представляет собой движение примерно в шесть дюймов в каждом направлении (вперед и назад). Нагрузку в 300 грамм (г) можно поддерживать на теле 12 помогающего бритью средства с помощью разновесов. Процент истирания определяется взвешиванием тела помогающего бритью средства перед началом проверки, взвешиванием тела помогающего бритью средства по завершении проверки (после прохождения проверки в течение заранее заданного числа циклов, к примеру, 30 циклов) и нахождением процента помогающего бритью материала, который остается.
Другая проверка истирания использует картриджи помогающего бритью состава, отформованные на держателе, и проверку этого картриджа с помощью устройства с влажным колесом. Устройство с влажным колесом имеет вращающееся цилиндрическое колесо, к примеру, с диаметром примерно 10 дюймов, с наружной поверхностью, покрытой абразивным материалом (к примеру, наждачной бумагой, войлоком или петлевой частью системы «липучка», такой как система Velcro®). Нижняя часть колеса утапливается в водяную ванну. Бритвенный картридж (без лезвий) устанавливается в держателе, расположенном над колесом, так что картридж прижимается к поверхности колеса с помощью стандартного заранее выбранного усилия (к примеру, 200 г), пока колесо вращается со стандартной заранее выбранной скоростью (к примеру, 30 об/мин). Температура водяной ванны, в которой проходит колесо, может поддерживаться на заданной температуре, которая может быть от примерно 15°С до примерно 45°С. Картридж может проверяться на одиночную продолжительность времени (к примеру, 3 минуты) или для моделирования множества сбриваний в течение следующих друг за другом дней, может проверяться на заданную продолжительность времени (к примеру, 15 минут) за несколько дней, разрешая картриджу сохнуть между периодами проверки. В другом способе колесо вращается на установленное число оборотов (к примеру, 10, 20, 30, 40 или 50 оборотов). Помогающий бритью состав взвешивается перед проверкой, а после проверки ему разрешается высохнуть и уравновеситься до комнатной температуры (к примеру, в течение периода примерно 24 часа) и повторно взвешивается.
Бритвы, включающие в себя формованный состав вспомогательного средства для бритья
Формованные составы вспомогательного средства для бритья в некоторых вариантах осуществления встраиваются в бритву, к примеру, в бритвенную головку. Например, формованный состав вспомогательного средства для бритья может крепиться на одном или нескольких держателях, которые сами выполнены с возможностью прикрепления к бритвенной головке. На фиг.2А, 2В и 3 бритва 10 включает в себя сменный картридж 12 и ручку 14. Как показано на фиг.3, картридж 12 включает в себя соединительный элемент 18, который соединяет с возможностью удаления картридж 12 с соединительной частью 19 ручки 14, лезвийный блок 16, который шарнирно соединяется с соединительным элементом 18, и держатель 30 помогающего бритью средства, установленный на лезвийном блоке 16. На фиг.2А лезвийный блок 16 включает в себя пластмассовый корпус 20, ограждение 22 на передней стороне корпуса 20 и лезвия 28 между ограждением 22 и задней стороной корпуса 20.
Лезвийный блок 16 может быть аналогичен лезвийным блокам, описанным в патенте США 5.661.907. Ручка 14 может быть аналогична ручкам, описанным в патентах США 5.855.071, 5.956.851 и (или) 6.052.903. Соединительный элемент 18, который используется для соединения лезвийного блока 16 с ручкой 14, может быть аналогичен соединительным элементам, описанным в заявке на патент США 10/969.373, озаглавленной «Бритвы и бреющие картриджи», поданной 20.10.2004, и в заявке на патент США 10/969.392, озаглавленной «Бритвы и бреющие картриджи», поданной 20.10.2004.
Как будет обсуждаться более подробно ниже, держатель 20 несет пару частей вспомогательного средства для бритья 31А, 31В. Передняя часть 31А вспомогательного средства для бритья соприкасается с кожей перед лезвиями, т.е. перед сбриванием, а задняя часть 31В вспомогательного средства для бритья соприкасается с кожей позади лезвий. Одна или обе части вспомогательного средства для бритья образованы из описанного здесь состава вспомогательного средства для бритья, причем одна из помогающих бритью частей может опционально включать в себя отличный или дополнительный состав. Например, передняя часть вспомогательного средства для бритья может включать в себя формованный состав вспомогательного средства для бритья, тогда как задняя часть вспомогательного средства для бритья может включать в себя успокаивающие и кондиционирующие кожу ингредиенты, такие как смягчители и увлажнители, вместо части вспомогательного средства для бритья или в дополнение к ней.
Части вспомогательного средства для бритья размещены так, что они будут упруго отклоняться при соприкосновении с кожей из нормального неотклоненного положения (фиг.4Е) в изогнутое положение (фиг.4F). Это отклонение позволяет легко использовать бритву в трудных для достижения или ограниченных областях, таких как подмышка или под коленом. Отклонение части вспомогательного средства для бритья также предотвращает преждевременное истирание помогающей бритью части и неудобство для пользователя в случаях, когда пользователь прикладывает избыточное давление во время сбривания. Предпочтительно, угол отклонения (угол А на фиг.4F) составляет по меньшей мере примерно 10 градусов, к примеру, от примерно 10 до 60 градусов, как правило, примерно 20-40 градусов. Угол А измеряется проведением линии из точки Р поворота, расположенной в приблизительном центре эластомерного шарнира, до наивысшей точки помогающей бритью части 31 А, когда эта помогающая бритью часть находится в своем неотклоненном положении, и измерением угла между этой линией, когда помогающая бритью часть находится в своем неотклоненном положении, и той же самой линией, когда помогающая бритью часть отклонена до своего конструктивного предела. Упругая установка частей вспомогательного средства для бритья будет обсуждаться более подробно ниже. Высоты H1 и Н2 частей вспомогательного средства для бритья в неотклоненном положении (фиг.4Е) будут изменяться, но могут быть, например, от примерно 1 до 4 мм, к примеру, примерно 1,5-3,0 мм. H1 и Н2 в общем находятся в пределах примерно от 0 до 50% друг от друга. Обычно эти высоты двух помогающих бритью частей будут пропорциональны степеням истирания используемых составов, так что помогающие бритью части будут истощаться приблизительно за одно и то же время.
Держатель 30 может быть установлен так, чтобы он мог удаляться с тела картриджа пользователем (к примеру, если пользователь желает добавить держатель помогающего бритью средства к картриджу, который его не содержит), или, альтернативно, мог быть постоянно установлен на теле картриджа или отформован зацело с телом картриджа. В варианте осуществления, показанном на фиг.2A-6D, держатель 30 зажимается на картридж путем зацепления зажимов 32 и 34 (фиг.4В) с задней поверхностью 37 корпуса 20 лезвийного блока, как показано на фиг.2 В. Держатель 30 может сцепляться с корпусом путем вдвигания корпуса под зажимы 34, а затем отклонения зажимов 32 для защелкивания их на месте.
Конструкция держателя средства вспомогательного средства для бритья
На фиг.4А держатель вспомогательного средства для бритья включает в себя рамочный элемент 36, который проходит вокруг периферии тела картриджа, когда держатель 30 находится на месте. Обычно рамочный элемент 36 образован из отформованной пластмассы. В некоторых вариантах осуществления стороны 38 рамочного элемента проходят по боковым областям тела картриджа, чтобы надежно удерживать держатель на месте. Стороны 38 должны в общем быть достаточно тонкими рядом с режущими кромками, чтобы не ухудшать качество бритья. В некоторых вариантах осуществления предусмотрена наклонная область между очень тонкими краями 40 рядом с режущими кромками к области вне этих краев. Например, стороны 38 обычно имеют толщину меньше чем 0,15 мм на краях 40 и меньше чем 0,4 мм на линии L, примерно 0,5 мм внутрь от краев 40. Эта наклонная область 59 обеспечивает поперечины 61 между линией L и наружным боковым краем 63 держателя 30, которые могут улучшить следование бритвы при пользовании.
На фиг.4Е, 5A-5D и 6A-6D помогающие бритью части 31А и 31В находятся на паре створок 42, 44. Створки 42, 44 могут быть образованы из той же самой пластмассы, что и рамка, или могут быть образованы из отличного материала. Например, створки могут быть образованы из того же самого материала, что и шарниры 52, 54 (фиг.5 В, обсуждаемая ниже), которые соединяют створки и рамку. В этом случае створки и шарниры могут быть отформованы на рамку в едином этапе формования.
Створки включают в себя множество отверстий 46 (фиг.5В), которые позволяют помогающему бритью средству протекать через толщу створки и образовывать механическую блокировку (к примеру, путем совместного протекания для образования единой массы) на задней стороне створки, прикрепляя помогающее бритью средство к створке.
На углах створок предусмотрены эластомерные амортизаторы 48, 50, лежащие под частями вспомогательного средства для бритья, так что части вспомогательного средства для бритья истощаются, когда кожа пользователя будет соприкасаться с эластомером, а не твердой пластмассой. Обычно эластомерные амортизаторы имеют толщину Т (фиг.6С) по меньшей мере 1 мм, к примеру, примерно 1,5-3 мм. В некоторых вариантах осуществления эластомер является относительно мягким для удобства пользователя и таким, что шарнир будет иметь мягкий изгиб. Например, эластомер может иметь твердость меньше чем примерно 50 по шкале Shore А, к примеру, меньше чем 40 по шкале Shore А. Эластомер может быть, например, блоковым сополимером, таким как доступные под торговым наименованием KRATON®. В некоторых вариантах осуществления эластомер имеет достаточную химическую стойкость, так что он не будет разрушаться во время продолжительного контакта с ингредиентами помогающего бритью состава.
На фиг.6D даже в их нормальном неотклоненном положении створки 42, 44 искривляются вниз, много ниже плоскости, образованной режущими кромками. Это искривление позволяет створкам нести относительно большое количество мыла без того, чтобы верхняя поверхность помогающей бритью части выступала слишком далеко над плоскостью режущих кромок или нижняя область помогающей бритью части была слишком низкой для постоянного контакта с кожей при пользовании. Обычно самая нижняя точка на каждой из створок 42, 44 находится по меньшей мере на 1 мм ниже плоскости, образованной режущими кромками, к примеру, примерно на 2-6 мм ниже этой плоскости. При желании, к примеру, если средство вспомогательного средства для бритья является относительно стойким к истиранию, створки могут выступать относительно прямо от рамки.
Упругая установка частей вспомогательного средства для бритья
Створки 42, 44 установлены упруго на рамочном элементе 36, чтобы дать возможность отклонять части вспомогательного средства для бритья 31А, 31В во время бритья от нормального положения, показанного на фиг.4Е, к отклоненному положению, показанному на фиг.4F. Гибкие шарниры 52, 54 (фиг.5В) обеспечивают это гибкое соединение между створками и рамкой.
В некоторых вариантах осуществления шарниры 52, 54 образованы из эластомерного материала, к примеру, блокового сополимера. Как правило, шарниры образованы из того же самого эластомерного материала, что и раскрытые выше эластомерные амортизаторы 48, 50. Эластомерный материал обычно выбирается для обеспечения мягкого изгиба, чтобы створки отклонялись сразу при соприкосновении с кожей пользователя, обеспечивая при этом хороший пружинящий возврат к створкам. Например, эластомерный материал может иметь модуль изгиба примерно от 100 до 300 фунтов на квадратный дюйм. Модуль, который обеспечит желательные характеристики продукта, будет зависеть от толщины Т и длины L (фиг.5D) шарниров. Толщина и длина двух шарниров могут быть одинаковыми или разными, и эти размеры и используемый эластомерный материал могут выбираться, чтобы придать двум створкам желательные изгибные характеристики. Толщина шарниров может быть, например, от примерно 0,5 до 2,0 мм, а длина может быть от примерно 0,5 до 3,0 мм. В варианте осуществления, показанном на фиг.5A-5D, шарниры проходят почти по всей ширине держателя 30. Однако, если желательно, эти шарниры могут быть более узкими или могут состоять из прерывистых шарнирных частей.
Эластомерные шарниры могут быть отформованы на рамку. Чтобы помочь этому процессу, в варианте осуществления, показанном на фиг.5A-6D, рамка соединяется с каждой из двух створок посредством пары соединительных элементов 56, которые проходят целиком от рамки к створкам (фиг.6В).
Если желательно,
эти соединительные элементы можно обрезать после того, как формование завершено. Альтернативно, створки и рамка могут быть отдельными компонентами, которые помещаются в заливочную форму и формуются эластомером. Формование шарниров только из эластомера (т.е. практически свободными от жесткого пластика) может привести в некоторых случаях к более мягко изгибающемуся шарниру.
Построение частей вспомогательного средства для бритья
На фиг.4Е передняя часть вспомогательного средства для бритья 31А включает в себя наклонную поверхность 33, которая построена, чтобы заставлять помогающую бритью часть отклоняться при соприкосновении с кожей, так что картридж может отпрыгивать назад, когда часть 31А вспомогательного средства для бритья соприкасается с кожей во время бритья. Как видно на фиг.4А и 4D, ведущая кромка 110 части 31А вспомогательного средства для бритья имеет первую толщину t1 рядом с боковой поверхностью держателя 30 и сужается до второй, меньшей толщины t2 рядом с центральной областью помогающей бритью части. Эта форма позволяет передней помогающей бритью части иметь наклонную ведущую поверхность 33, обеспечивая тем не менее как можно большее помогающее бритью средство рядом с боковыми поверхностями. Если желательно, вся ведущая кромка может иметь меньшую толщину t2. Передняя поверхность 35 помогающей бритью части 31А включает в себя гладко искривленные дуговые боковые области 37А, 37В, чтобы улучшить контур ведущей поверхности 33 и избежать кромок и углов, которые могут быть неудобными во время бритья, и облегчить сбривание компактных областей, таких как подмышки и позади колена. Аналогично, пересечения 39 ведущей поверхности 33 и передней поверхности 35 гладко скруглены.
Как передняя часть 31А вспомогательного средства для бритья, так и задняя часть 31В вспомогательного средства для бритья построены так, что верхняя поверхность каждой помогающей бритью части (поверхность 41 части 31А вспомогательного средства для бритья и поверхность 43 части 31В вспомогательного средства для бритья) прилегает относительно плоско к коже пользователя, когда створка 44 отклонена. Это плоское положение, показанное на фиг.4F, позволяет как можно большей части вспомогательного средства для бритья находиться в контакте с кожей пользователя во время бритья.
Легкость бритья
Части 31А, 31В вспомогательного средства для бритья имеют ширину W в их самой широкой точке (фиг.4С), которая равна или слегка меньше ширины рамки 36 держателя 30. Тем самым части вспомогательного средства для бритья не выходят за боковые стенки рамки 36. В результате область вокруг боковых стенок рамки не загромождена, позволяя бреющемуся определять по виду и (или) тактильному ощущению, какая область сбрита. Если желательно, части вспомогательного средства для бритья могут выступать слегка за боковые стенки рамки, к примеру, на 2 мм или менее на каждой стороне.
Бритье также облегчается поперечинами 61 (фиг.4А, 5С), обсужденными выше, которые могут зацеплять кожу пользователя во время бритья, потенциально улучшая слежение картриджа.
Хотя описанные выше варианты осуществления имеют пару частей вспомогательного средства для бритья, бритвы альтернативно могут иметь единственную часть вспомогательного средства для бритья, которая может располагаться перед лезвиями, позади лезвий или может проходить полностью вокруг лезвий.
ПРИМЕРЫ
Изобретение описывается далее нижеследующими примерами, которые не ограничивают объем изобретения, описанный в формуле изобретения.
Пример 1
Были приготовлены два контрольных образца состава вспомогательного средства для бритья, использующие характерную коммерчески доступную отлитую мыльную основу. Стойкость к истиранию определялась путем нахождения числа сбриваний до заметного ухудшения в качестве бритья, с результатом, устанавливаемым как «число сбриваний» в приведенных ниже таблицах. Составы и результаты приведены в Таблице 1:
| Таблица 1 |
 |
Контрольн. 1 |
Контрольн. 2 |
| Отлитая мыльная основа |
68,35 |
72,33 |
| Гидроксиэтилцеллюлоза |
0,50 |
0,50 |
| Стеарат натрия |
20,0 |
17,5 |
| С16-С17 алкил бензоат |
5,0 |
4,0 |
| Смесь масел кокума/манго |
– |
5,0 |
| Касторил малеат |
5,0 |
– |
| Двуокись титана |
0,5 |
– |
| Ароматизатор |
0,65 |
0,65 |
| Раствор красителя |
– |
0,2 |
| Итого |
100,0 |
100,0 |
Пример 2
В данном примере улучшители точки плавления и истирания были добавлены в характерную отлитую мыльную основу и составлялись в три разных помогающих бритью состава: один без полиоксиэтилена, а два включали в себя различные количества и распределения молекулярных мас.полиоксиэтилена. Определялось число сбриваний до заметного ухудшения качества бритья и выполнялась проверка на истирание, в которой определялись выраженное в процентах количество помогающего бритью состава, остающегося после того, как его подвергли проверке на истирание. Использованная во всех примерах данного описания проверка на истирание включала в себя описанный выше способ влажного колеса с использованием петлевой части застегивающей системы «липучка» в качестве абразивной поверхности; колесо имело диаметр 10 дюймов; скорость вращения колеса составляла 10 об/мин; нагрузка равнялась 200 г; совершалось 30 оборотов колеса; а помогающий бритью состав имел 13,6 мм в ширину, 36,6 мм в длину, 10 мм в высоту и сужение 5° от центра поверхности соприкосновения к краям поверхности соприкосновения. Рецептуры и результаты приведены в Таблице 2:
| Таблица 2 |
 |
Образец А |
Образец В |
Образец С |
| Отлитая мыльная основа |
67,97 |
66,47 |
62,97 |
| Стеарат натрия |
17,50 |
17,50 |
17,50 |
| Смесь полиэтилена-полибутилена-минерального масла |
4 |
4 |
4 |
| Полимер сквалена и лаурил диметикона/полиглицерина-3 с перекрестными связями |
3,33 |
3.33 |
3,33 |
| Трис (тетраметилгидроксипиперидинол) цитрат и вода, и этанол |
0,5 |
0,5 |
0,5 |
| Масло кокума |
1 |
1 |
1 |
| Масло авокадо |
2 |
2 |
2 |
| Оливковое масло |
2 |
2 |
2 |
| Смесь 2:1 Polyox® 1.000.000/4.000.0000 |
– |
1,50 |
– |
| Смесь 1:2 Polyox® 300.000/5.000.0000 |
– |
– |
5,00 |
| Поликватерниум-10 |
0,1 |
0,1 |
0,1 |
| Пантенол |
0,25 |
0,25 |
0,25 |
| Ниацинамид |
0,25 |
0,25 |
0,25 |
| Краситель и ароматизатор |
1,10 |
1,10 |
1,10 |
| % истирания |
51 |
62 |
80 |
Как видно, включение улучшителей точки плавления и истирания привело к большему числу сбриваний до ухудшения качества бритья по сравнению с контрольными образцами 1 и 2 из Примера 1, а также к улучшению характеристик истирания состава. Добавление полиоксиэтилена привело к дальнейшему улучшению.
Пример 3
Шесть образцов формованных составов вспомогательного средства для бритья, включающих в себя полиоксиэтилен, приготовлялись и проверялись при тех же самых условиях, что показаны в Примере 2, как и для контрольного образца без полиоксиэтилена. Рецептуры и результаты приведены в Таблице 3:
| Таблица 3 |
 |
Контр.3 |
Обр. D |
Обр. Е |
Обр. F |
Обр. G |
Обр. Н |
Обр. I |
| Отлитая мыльная основа |
67,97 |
66,47 |
66,30 |
62,97 |
66,97 |
62,97 |
62,97 |
| Трис (тетраметилгидроксипиперидинол) цитрат и вода, и этанол |
0,50 |
0,50 |
0,50 |
0,50 |
0,50 |
0,50 |
0,50 |
| Стеарат натрия |
17,50 |
17,50 |
17,50 |
17,50 |
17,50 |
17,50 |
17,50 |
| Смесь полиэтилена-полибутилена-минерального масла |
4,00 |
4,00 |
4,00 |
4,00 |
– |
– |
4,00 |
| Полимер сквалена и лаурил диметикона/поли-глицерина-3 с перекрестными связями |
3,33 |
3,33 |
– |
3.33 |
3,33 |
3,33 |
3,33 |
| С16-С17 алкил бензоат |
– |
– |
– |
– |
– |
4,00 |
– |
| Масло оливковое, авокадо и кокума |
5,00 |
5,00 |
5,00 |
5,00 |
5,00 |
5,00 |
5,00 |
| Поликватерниум-10 |
0,10 |
0,10 |
0,10 |
0,10 |
0,10 |
0,10 |
0,10 |
| Витамины |
0,50 |
0,50 |
0,50 |
0,50 |
0,50 |
0,50 |
0,50 |
| 1% раствор красителя |
0,10 |
0,10 |
0,10 |
0,10 |
0,10 |
0,10 |
0,10 |
| Ароматизатор (IFF 4473-ВН) |
1,00 |
1,00 |
1,00 |
1,00 |
1,00 |
1,00 |
1,00 |
| Полиоксиэтилен, 300 k |
– |
– |
– |
– |
– |
– |
1,50 |
| Полиоксиэтилен, 1 mil. |
– |
1,00 |
5,00 |
5,00 |
5,00 |
4,00 |
– |
| Полиоксиэтилен, 4 mil. |
– |
0,50 |
– |
– |
– |
1,00 |
– |
| Полиоксиэтилен, 5 mil. |
– |
– |
– |
– |
– |
– |
3,50 |
| 5 истирания |
51 |
62 |
64 |
66 |
63 |
65 |
80 |
Как видно, увеличение количества полиоксиэтилена дает увеличенную стойкость к истиранию в отформованном помогающем бритью составе. Аналогично, увеличение в молекулярной массе полиоксиэтилена приводит к увеличению в стойкости к истиранию. Наконец, включение как смеси полиэтилена-полибутилена-минерального масла и силиконового полимера с перекрестными связями (образец F) дает отформованный помогающий бритью состав с большей стойкостью к истиранию, нежели у отформованного помогающего бритью состава, имеющего только одно из полиэтилена-полибутилена-минерального масла и силиконового полимера с перекрестными связями (образцы Е и G).
Пример 4
Два образца отформованного состава вспомогательного средства для бритья были приготовлены с использованием коммерчески доступной отлитой мыльной основы и проверялись с использованием тех же самых условий, что и в Примерах 1 и 2. Один образец включал в себя силиконовый полимер с перекрестными связями, другой же образец служил в качестве контрольного:
| Таблица 4 |
 |
Контр. 4 |
Образец J |
| Отлитая мыльная основа |
71,30 |
67,97 |
| Стеарат натрия |
17,50 |
17,50 |
| Смесь полиэтилена-полибутилена-минерального масла |
4 |
4 |
| Трис (тетраметилгидро-ксипиперидинол) цитрат и вода, и этанол |
0,5 |
0,5 |
| Масло оливковое, авокадо и кокума |
5,00 |
5,00 |
| Поликватерниум-10 |
0,1 |
0,1 |
| Витамины |
0,50 |
0,50 |
| Увлажняющие компоненты |
0,60 |
0,60 |
| Силиконовый полимер с перекрестными связями |
– |
3,33 |
| Краситель и ароматизатор |
1,10 |
1,10 |
| Данные истирания |
42% |
51% |
Как видно, включение силиконового полимера с перекрестными связями приводит к увеличению стойкости к истиранию формованного состава вспомогательного средства для бритья.
Пример 5
В данном примере создавалась отлитая мыльная основа и добавлялись улучшители точки плавления и истирания, а также другие компоненты помогающего бритью средства. Образцы проверялись на истирание при тех же самых условиях, что использованы в Примере 2:
| Таблица 5 |
 |
Образец К |
Образец L |
Образец М |
| Дипропиленгликоль |
23,55 |
14,00 |
13,50 |
| Вода |
9,75 |
– |
– |
| Сорбитол |
8,00 |
– |
– |
| Глицерин |
8,00 |
29,00 |
25,90 |
| Бегениловый спирт |
– |
– |
1,10 |
| Стеариновая кислота |
– |
3,00 |
– |
| Микрокристаллический воск |
– |
1,00 |
0,50 |
| Кокамидопропил бетаин |
– |
6,00 |
11,00 |
| Лаурил эфир сульфат натрия |
8,00 |
12,00 |
6,00 |
| Стеарет-21 |
– |
– |
5,00 |
| Метилцеллюлоза |
– |
– |
1,00 |
| Тетраметилгидроксипиперидинол цитрат |
0,50 |
– |
– |
| Стеарат натрия |
30,00 |
28,00 |
30,00 |
| Смесь полиэтилена-полибутилена-минерального масла |
4,00 |
– |
– |
| Масло оливковое, авокадо и кокума |
5,00 |
– |
– |
| Масло семян масляного дерева |
– |
1,00 |
1,00 |
| Полимер винил диметикона/ метикон силсесквиоксана с перекрестными связями |
1,00 |
– |
– |
| Поликватерниум-10 |
0,10 |
– |
– |
| Витамины |
0,50 |
– |
– |
| Polyox® (мол. масса = 300.000) |
– |
– |
0,50 |
| Polyox® (мол. масса = 1.000.000) |
0,50 |
– |
– |
| Коагулянт Polyox® (мол. масса = 5.000.000) |
– |
5,00 |
3,50 |
| Краситель и ароматизатор |
1,1 |
1,1 |
1,1 |
| % истирания |
62 |
79 |
70 |
Как видно, более высокий уровень полиоксиэтилена и (или) более высокое распределение молекулярной массы полиоксиэтилена приводило к улучшенным характеристикам истирания.
Пример 6
Изготовлялась отлитая мыльная основа, и состав вспомогательного средства для бритья формировался с помощью этой отлитой мыльной основы и проверялся на истирание с использованием тех же самых условий, что и в Примере 2. Композиция помогающего бритью состава приведена в Таблице 6:
| Таблица 6 |
 |
Образец Х |
| Дипропиленгликоль |
14,0 |
| Глицерин |
28,9 |
| Стеариновая кислота |
3,00 |
| Микрокристаллический воск |
1,00 |
| Кокамидопропил бетаин |
6,00 |
| Лаурил эфир сульфат натрия, 25%-ной активности |
12,0 |
| Стеарат натрия |
28,0 |
| Масло семян масляного дерева |
1,00 |
| Полиоксиэтилен, 5 mil. |
5,00 |
| 1%-ный раствор красителя и ароматизатор |
1,1 |
| % истирания |
79 |
Включение полиоксиэтилена с высокой молекулярной массой (5.000.000 дальтон) приводит к составу вспомогательного средства для бритья с превосходными характеристиками истирания.
ДРУГИЕ ВАРИАНТЫ ОСУЩЕСТВЛЕНИЯ
В то время как вышеприведенные варианты осуществления направлены на формованный состав вспомогательного средства для бритья, который встроен в бритву, состав вспомогательного средства для бритья можно использовать в качестве самостоятельного средства для бритья. Например, состав вспомогательного средства для бритья можно формовать в виде куска, который прикладывается к коже прямо перед бритьем аналогично тому, как используется кусок мыла. Состав вспомогательного средства для бритья может наноситься кисточкой в виде мыла для бритья. Состав вспомогательного средства для бритья можно использовать как мыло для очищения и (или) отшелушивания кожи.
В качестве другого примера, в то время как выше раскрыты конкретные картриджи, держатель помогающего бритью средства можно использовать с любым желательным типом картриджа или можно использовать с бритвой, имеющей лезвийный блок, который сделан заедино с бритвенной ручкой. Если используется отличный картридж, форма рамки держателя помогающего бритью средства и (или) размеры держателя вспомогательного средства для бритья могут быть отрегулированы соответственно.
Помимо того, хотя описанные выше створки включают в себя отверстия для прикрепления помогающего бритью средства на месте, можно использовать твердые створки, если помогающее бритью средство проявляет соответствующую способность прилипания к створкам или прикрепляется к створкам иным образом. Кроме того, хотя описанные выше гибкие шарниры образованы из эластомерного материала, в некоторых случаях шарниры могут быть образованы из жесткой пластмассы, к примеру, «живые шарниры».
В некоторых вариантах осуществления картридж может включать в себя крышку со смазывающей полоской, к примеру, установленной в щели на задней стороне корпуса картриджа. Смазывающая полоска может быть изготовлена из материала, содержащего смесь гидрофобного материала и выщелачиваемого водой гидрофильного полимерного материала, как известно в технике и описано, к примеру, в патентах США 5.113.585 и 5.454.164, которые включены сюда посредством ссылки.
Все документы, приведенные в разделе Подробное описание изобретения, в своей релевантной части включены сюда посредством ссылки; цитирование любого документа не следует толковать как признание того, что он является прототипом по отношению к настоящему изобретению.
Следует понимать, что хотя изобретение описано в сочетании с его подробным описанием, предшествующее описание предназначено для иллюстрации, а не ограничения объема изобретения, который определяется объемом приложенной формулы изобретения. Прочие объекты, преимущества и модификации находятся в пределах объема нижеследующей формулы изобретения.
Раскрытые здесь размерности и значения не следует понимать как строго ограниченные указанными точными числовыми значениями. Вместо этого, если только не определено иное, каждая такая размерность предназначена обозначать как приведенное значение, так и функционально эквивалентный диапазон, окружающий это значение. Например, размерность, раскрытая как «40 мм», предназначена обозначать «примерно 40 мм».
Все документы, приведенные в разделе Подробное описание изобретения, в своей релевантной части включены сюда посредством ссылки; цитирование любого документа не следует толковать как признание того, что он является прототипом по отношению к настоящему изобретению. В той мере, когда любое значение или определение термина в данном документе конфликтует с любым значением или определением того же самого термина в документе, включенном посредством ссылки, значение или определение, назначенное этому термину в данном документе, должно быть главным.
Хотя проиллюстрированы и описаны частные варианты осуществления настоящего изобретения, для специалистов очевидно, что различные иные изменения и модификации можно сделать без отхода от сущности и объема изобретения. Поэтому оно предназначено для охвата в приложенной формуле изобретения всех таких изменений и модификаций, которые находятся в объеме данного изобретения.
Формула изобретения
1. Картридж для бритья, содержащий корпус с передним и задним краями, одно или несколько лезвий между краями, держатель вспомогательного средства для бритья и, по меньшей мере, одну часть вспомогательного средства для бритья, размещенную на держателе, при этом упомянутая часть вспомогательного средства для бритья содержит от примерно 0,1 до примерно 10 мас.% полиоксиэтилена и мыльную основу.
2. Картридж по п.1, отличающийся тем, что полиоксиэтилен имеет молекулярную массу от примерно 100000 до примерно 5000000.
3. Картридж по п.1, отличающийся тем, что упомянутая часть вспомогательного средства для бритья дополнительно содержит силиконовый полимер.
4. Картридж по п.3, отличающийся тем, что упомянутая часть вспомогательного средства для бритья дополнительно содержит силиконовый полимер с перекрестными связями.
5. Картридж по п.4, отличающийся тем, что силиконовый полимер с перекрестными связями выбран из группы, состоящей из диметикон PEG-7 пантенил фосфата, диметикон PEG-7 фосфата, диметикон PEG-7 ундецилената, сополимера диметикона/метикона, сополимера перфторнойлетил диметикон метикона, полимера диметикона/винил диметикона с перекрестными связями в диметиконе, полимера винил диметикона/лаурил диметикона с перекрестными связями в минеральном масле, полимера диметикона/лаурил диметикона с перекрестными связями в сквалане, полимера винил диметикона/метикон силсесквиоксана с перекрестными связями, полимера сквален и лаурил диметикона/полиглицерина-3 с перекрестными связями, полимера триэтилгексанон и лаурил диметикона/полиглицерина-3 с перекрестными связями и полимера диметикона/полиглицерина-3 с перекрестными связями и диметикона, PEG/PPG-20/6 диметикона, бегеноксидиметикона, С24-С28 алкил метикона, полимера диметикона/винил диметикона с перекрестными связями и С12-С14 Pareth-12.
6. Картридж по п.1, отличающийся тем, что упомянутая часть вспомогательного средства для бритья дополнительно содержит композицию из полиэтилена, полибутилена и минерального масла.
7. Картридж по п.1, отличающийся тем, что упомянутая часть вспомогательного средства для бритья дополнительно содержит от примерно 0,25 до примерно 5 мас.% силиконового полимера с перекрестными связями, от примерно 10 до примерно 60 мас.% стеарата натрия, от примерно 0,5 до примерно 8 мас.% полутвердых сложных эфиров, от примерно 0,25 до примерно 10 мас.% производных полиэтилен гликоля и от примерно 0,3 до примерно 10 мас.% композиции полиэтилена, полибутилена и минерального масла.
8. Картридж п.1, отличающийся тем, что мыльная основа является отлитой мыльной основой.
9. Картридж по п.1, отличающийся тем, что мыльная основа является экструдированной мыльной основой.
10. Бритвенный компонент, содержащий держатель вспомогательного средства для бритья и установленную на нем формованную часть вспомогательного средства для бритья, при этом держатель вспомогательного средства для бритья выполнен с возможностью прикрепления к бритве, а формованная часть вспомогательного средства для бритья содержит от примерно 0,1 до примерно 10 мас.% полиоксиэтилена и мыльную основу.
11. Бритвенный компонент по п.10, отличающийся тем, что держатель вспомогательного средства для бритья выполнен с возможностью съемного прикрепления к бритвенному лезвийному блоку.
12. Бритвенный компонент по п.11, отличающийся тем, что мыльная основа является отлитой мыльной основой.
13. Бритвенный компонент по п.11, отличающийся тем, что мыльная основа является экструдированной мыльной основой.
14. Способ изготовления формованной части вспомогательного средства для бритья, содержащий этапы, на которых нагревают мыльную основу до температуры, достаточной для ее расплавления, добавляют к мыльной основе один или несколько чувствительных к обработке ингредиентов для образования состава вспомогательного средства для бритья и охлаждают состав вспомогательного средства для бритья для формования упомянутой части вспомогательного средства для бритья, при этом период времени, проходящий между добавлением чувствительного к обработке ингредиента и охлаждением состава вспомогательного средства для бритья устанавливается из условия предотвращения существенного разрушения уменьшающего истирание ингредиента.
15. Способ по п.14, отличающийся тем, что чувствительный к обработке ингредиент является уменьшающим истирание ингредиентом.
16. Способ по п.15, отличающийся тем, что мыльную основу расплавляют при температуре от примерно 95 до примерно 105°С.
17. Способ по п.15, отличающийся тем, что дополнительно встраивают формованную часть вспомогательного средства для бритья в бритвенный лезвийный блок.
18. Способ по п.17, отличающийся тем, что дополнительно прикрепляют формованное вспомогательное средство для бритья к створке и прикрепляют эту створку к бритвенному лезвийному блоку.
19. Вспомогательное средство для бритья, содержащее от примерно 0,1 до примерно 10 мас.% полиоксиэтилена и мыльную основу.
РИСУНКИ
|
|