Патент на изобретение №2390389

Published by on




РОССИЙСКАЯ ФЕДЕРАЦИЯ



ФЕДЕРАЛЬНАЯ СЛУЖБА
ПО ИНТЕЛЛЕКТУАЛЬНОЙ СОБСТВЕННОСТИ,
ПАТЕНТАМ И ТОВАРНЫМ ЗНАКАМ
(19) RU (11) 2390389 (13) C2
(51) МПК

B05C1/08 (2006.01)

(12) ОПИСАНИЕ ИЗОБРЕТЕНИЯ К ПАТЕНТУ

Статус: по данным на 09.08.2010 – действует

(21), (22) Заявка: 2007142017/12, 28.02.2006

(24) Дата начала отсчета срока действия патента:

28.02.2006

(30) Конвенционный приоритет:

14.04.2005 DE 102005017391.8

(43) Дата публикации заявки: 27.05.2009

(46) Опубликовано: 27.05.2010

(56) Список документов, цитированных в отчете о
поиске:
US 6258168 B1, 10.07.2001. US 2005/022730 A1, 03.02.2005. SU 1655582 A1, 15.06.1991. DE 19835532 A1, 10.02.2000. GB 2111447 A, 24.08.1983.

(85) Дата перевода заявки PCT на национальную фазу:

14.11.2007

(86) Заявка PCT:

EP 2006/001813 20060228

(87) Публикация PCT:

WO 2006/108471 20061019

Адрес для переписки:

129090, Москва, ул.Б.Спасская, 25, стр.3, ООО “Юридическая фирма Городисский и Партнеры”, пат.пов. А.В.Мицу, рег. 364

(72) Автор(ы):

ЭНГЕЛЬМАНН Михель (DE)

(73) Патентообладатель(и):

ХЕБЕНШТРАЙТ ГМБХ (DE)

(54) НАМАЗОЧНАЯ ГОЛОВКА ДЛЯ НАМАЗОЧНОЙ МАШИНЫ ДЛЯ ВАФЕЛЬНЫХ ЛИСТОВ

(57) Реферат:

Изобретение относится к намазочной головке в намазочных машинах для вафельных листов. В намазочной головке намазочный валик и контрвалик аксиально смещены относительно друг друга и выполнены с возможностью аксиальной перестановки относительно друг друга. В области приемного пространства первая боковая ограничительная стенка уплотнена посредством радиального уплотнения относительно окружной поверхности намазочного валика. Вторая боковая ограничительная стенка уплотнена посредством радиального уплотнения относительно окружной поверхности контрвалика. Техническим результатом изобретения является обеспечение возможности простыми мерами изменить длину межвалкового зазора без замены валиков. 3 з.п. ф-лы, 9 ил.

Изобретение относится к намазочной головке в намазочных машинах для вафельных листов с намазочным валиком и с установленным осепараллельно ему контрваликом, которые смонтированы в раме с возможностью вращения и приведения во встречных направлениях и ограничивают между собой межвалковый зазор, над которым находится приемное пространство для намазываемой массы, которое с двух сторон ограничено первой и второй боковыми ограничительными стенками, уплотненными относительно намазочному валику и контрвалику.

Такие намазочные головки служат для нанесения намазываемой массы, как правило кремовой массы, на плоский или имеющий углубления вафельный лист в намазочных машинах для вафельных листов. Намазываемую массу дозируют из образованного двумя валиками приемного пространства через образованный двумя валиками межвалковый зазор с заданной толщиной и наносят на продольно перемещаемый под намазочной головкой вафельный лист.

Для этого применяют, в принципе, два различных способа. При пленочном способе пленочный нож снимает пленку намазываемой массы с намазочного валика и переносит ее небольшой свободной длиной пленки на поверхность вафельного листа. Если вафельный лист имеет углубления, то затем намазываемую массу с помощью намазывающего устройства намазывают в углубления вафельного листа. При контактном способе пленку намазываемой массы переносят непосредственно с намазочного валика на поверхность вафельного листа.

Как правило, толщину пленки намазываемой массы регулируют изменением межвалкового зазора и скорости намазочных валиков. Во многих случаях намазочный валик и контрвалик могут быть темперируемыми с целью поддержания оптимальной температуры, соответствующей намазываемой массы для процесса нанесения.

В зависимости от структуры вафельного листа, на который должна быть нанесена масса, в частности наличия или отсутствия углублений, а также и для оптимальной адаптации к поведению соответствующей намазываемой массы, во многих случаях желателен быстрый и простой переход с пленочного способа на контактный способ, и наоборот. Затруднения вызывает, при этом, установка ширины намазываемой массы. Когда ширина подлежащей намазыванию поверхности вафельного листа предварительно определена, выбор длины межвалкового зазора зависит от того, какой способ должен быть применен, пленочный или контактный.

При контактном способе длина межвалкового зазора должна максимально точно соответствовать ширине подлежащей намазыванию поверхности вафельного листа, так как на поверхность вафельного листа наносят пленку той ширины, с которой он выходит из межвалкового зазора.

При пленочном же способе, в области свободной длины пленки, между намазочным валиком и поверхностью вафельного листа имеется боковое сужение пленки намазываемой массы. Поэтому длину межвалкового зазора следует выбирать соответственно больше, чем ширина подлежащей намазыванию поверхности вафельного листа.

До сих пор, чтобы обеспечить оптимальную ширину пленки для обоих способов, при переходе на другой способ следовало заменять намазочную головку или, по меньшей мере, валики. Так как это приводит к большим издержкам, на практике часто выбирают компромиссную длину межвалкового зазора, которая приемлема как для пленочного способа, так и для контактного способа, но, однако, не является оптимальной.

Поэтому задачей изобретения является создание такой намазочной головки описанного выше типа, чтобы простыми мерами можно было изменить длину межвалкового зазора без замены валиков.

В соответствии с изобретением эту задачу решают посредством того, что намазочный валик и контрвалик установлены с аксиальным смещением относительно друг друга и выполнены с возможностью аксиальной перестановки относительно друг друга, и что, по меньшей мере, в области приемного пространства первая боковая ограничительная стенка уплотнена посредством радиального уплотнения относительно окружной поверхности намазочного валика, а вторая боковая ограничительная стенка уплотнена посредством радиального уплотнения относительно окружной поверхности контрвалика.

Взаимное уплотнение обеих ограничительных стенок посредством радиального уплотнения относительно окружной поверхности соответствующего сопряженного валика позволяет относительное взаимное смещение обоих валиков относительно друг друга, причем уплотнение обеих боковых ограничительных стенок относительно обоих валиков сохраняется. Таким образом, длина межвалкового зазора может быть установлена на оптимальную для соответствующего способа величину только за счет относительного смещения обоих валиков относительно друг друга. Замена валиков не требуется.

Для обеспечения возможности при относительном смещении обоих валиков одновременно переставлять (регулировать) обе боковые ограничительные стенки относительно друг друга без дополнительных мероприятий, предусмотрено, что первая боковая ограничительная стенка установлена без возможности аксиального смещения относительно контрвалика, и что вторая боковая ограничительная стенка установлена без возможности аксиального смещения относительно намазочного валика. Тем самым, возможно, также предусмотреть простое по конструкции аксиальное уплотнение между каждым валиком и согласованной с ним, аксиально не смещаемой боковой ограничительной стенкой.

Согласно предпочтительному выполнению изобретения предусмотрено, чтобы оба радиальных уплотнения между первой боковой ограничительной стенкой и намазочным валиком, а также между второй боковой ограничительной стенкой и контрваликом представляют собой щелевые уплотнения, которые образуют между соответствующей окружной поверхностью валиков и поверхностью цилиндрического участка боковой ограничительной стенки соответствующую уплотнительную щель. Тем самым очень простым способом, конструктивно и технологически, создают уплотнение, которое допускает также аксиальные смещения вследствие относительной перестановки (регулировки) обоих валиков.

Уплотнительное действие этих щелевых уплотнений может быть еще улучшено тем, что соответствующая поверхность цилиндрического участка, ограничивающая уплотнительную щель, имеет ведущую обратно в направлении вращения к приемному пространству валика возвратную спиральную канавку.

Изобретение будет далее более подробно разъяснено на примерах выполнения, которые представлены на чертежах, на которых:

Фиг.1 – вид сверху на намазочную головку для намазочной машины для вафельного листа с аксиально смещаемыми относительно друг друга валиками, с первой установленной шириной,

Фиг.2 – намазочная головка по Фиг.1 со второй установленной шириной,

Фиг.3 – увеличенный продольный разрез по линии III-III на Фиг.1 при применении намазочной головки для пленочного способа,

Фиг.4 – увеличенный продольный разрез по линии III-III на Фиг.1 при применении намазочной головки для контактного способа,

Фиг.5 – увеличенный продольный разрез по линии V-V на Фиг.1,

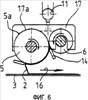
Фиг.6 – увеличенный продольный разрез по линии VI-VI на Фиг.1,

Фиг.7 и 8 повторяют соответственно Фиг.1 с различными исполнениями поверхностей валиков, и

Фиг.9 – вид сверху, соответствующий Фиг.1, со схематическим изображением возможностей перестановки намазочной головки.

Представленная на Фиг.1-6 намазочная головка предназначена для применения в намазочной машине для вафельного листа и служит для нанесения намазываемой массы 1, к примеру кремовой массы, в виде тонкой пленки 2 на вафельные листы 3.

В раме 4 намазочной головки, только схематически показанной на Фиг.1, установлены с возможностью вращения – намазочный валик 5 и контрвалик 6, которые выполнены с возможностью приведения во встречных направлениях, показанных стрелками 9 и 10, и посредством привода 7 и соответственно 8.

Из устройства 11 для подачи намазываемой массы вязкотекучая или жидкотекучая намазываемая масса 1 попадает в приемное пространство 12 над межвалковым зазором 13 между намазочным валиком 5 и контрваликом 6. Выходящая из межвалкового зазора 13 пленка 2 снимается пленочным ножом 14 с поверхности контрвалика 6 и пристает к поверхности намазочного валика 5.

Если намазочную головку применяют для пленочного способа (Фиг.3), то пленка 2 снимается другим пленочным ножом 15 с поверхности намазочного валика 5 и свободно опускается на поверхность передвигаемого под ней в направлении стрелки 16 вафельного листа 3. Если намазочную головку применяют для контактного способа (Фиг.4), опущенный на вафельный лист намазочной валик 5 переносит пленку 2 непосредственно на поверхность вафельного листа 3.

Приемное пространство 12 и межвалковый зазор 13 ограничены с обеих сторон первой боковой ограничительной стенкой 17 и второй боковой ограничительной стенкой 18. В верхней зоне намазочного валика 5 и контрвалика 6, но, по меньшей мере, в области приемного пространства 12, обе боковые ограничительные стенки 17 и 18 уплотнены относительно намазочного валика 5 и контрвалика 6. К тому же первая боковая ограничительная стенка 17, не имеющая возможности аксиального смещения относительно контрвалика 6, установлена в опоре 19 и уплотнена там аксиальным уплотнением относительно контрвалика 6. Таким же образом вторая боковая ограничительная стенка 18 установлена в опоре 20 без возможности аксиального смещения относительно намазочного валика 5 и там также уплотнена аксиальным уплотнением относительно намазочного валика 5.

В представленном примере исполнения, по меньшей мере, в области приемного пространства 12, а, по существу, над верхней частью намазочного валика 5 и контрвалика 6, посредством радиальных уплотнений 17a, 18a осуществляется уплотнение каждой из боковых ограничительных стенок 17, 18. Таким образом, первая боковая ограничительная стенка 17 уплотнена посредством радиального уплотнения 17a относительно окружной поверхности 5a намазочного валика 5; вторая боковая ограничительная стенка 18 уплотнена радиальным уплотнением 18a относительно окружной поверхности 6a контрвалика 6.

Оба радиальных уплотнения 17a и соответственно 18a между первой боковой ограничительной стенкой 17 и контрваликом 5, а также между второй боковой ограничительной стенкой 18 и контрваликом 6, представляют собой щелевые уплотнения, которые образуют между соответствующей поверхностью 5а и соответственно 6а валиков и поверхностью цилиндрического участка боковой ограничительной стенки 17 или соответственно 18 уплотнительную щель. Соответствующая ограничивающая уплотнительную щель поверхность цилиндрического участка имеет идущую обратно в направлении вращения валика в приемное пространство возвратную спиральную канавку так, что вводимая в уплотнительную щель намазываемая масса, по большей части, снова возвращается в приемное пространство.

Намазочный валик 5 и контрвалик 6 аксиально смещены относительно друг друга и имеют возможность взаимной аксиальной перестановки. Для этого – как схематически представлено на Фиг.9 – установочный шпиндель 21 воздействует на намазочный валик 5, с помощью которого намазочный валик 5 вместе с приводом 7 валика может быть аксиально переставлен. Соответствующим способом контрвалик 6 может быть с помощью установочного шпинделя 22 аксиально смещен вместе со своим приводом 8. Кроме того, для обеспечения возможности установки ширины межвалкового зазора 13, контрвалик 6 может быть переставлен радиально относительно намазочного валика 5 с помощью расположенных на двух сторонах регулируемых приводов 23 и 24.

Фиг.1 показывает намазочный валик 5 и контрвалик 6 с первой шириной. Интервал b1 между обеими боковыми ограничительными стенками 17, 18 определяет длину межвалкового зазора 13 и, вместе с этим, ширину выходящей из межвалкового зазора пленки намазываемой массы.

В случае представленной на Фиг.2 ширины, намазочный валик 5 и контрвалик 6 аксиально смещены относительно друг друга так, что получен больший интервал b2 между обеими боковыми ограничительными стенками 17, 18, и, тем самым, большая ширина выходящей пленки намазываемой массы.

На Фиг.1 и 2 показано, что поверхности намазочного валика 5 и контрвалика 6 имеют рифление. Несмотря на это рифление описанными щелевыми уплотнениями (радиальные уплотнения 17a и 18a) обеспечивается достаточное уплотнение между боковыми ограничительными стенками 17, 18 и поверхностями 5a и соответственно 6a валиков. На Фиг.7 показано, что один из двух валиков, к примеру намазочной валик 5, может быть выполнен с рифлением на поверхности 5a, в то время как контрвалик 6 может быть выполнен с гладкой поверхностью 6a. В представленном на Фиг.8 примере намазочный валик 5 и контрвалик валик 6 выполнены с гладкими поверхностями 5a и соответственно 6a.

Формула изобретения

1. Намазочная головка для намазочных машин вафельного листа с намазочным валиком и установленным осепараллельно ему контрваликом, которые смонтированы в раме с возможностью вращения и приведения во встречных направлениях и ограничивают между собой межвалковый зазор, над которым расположено приемное пространство для намазываемой массы, которое с двух сторон ограничено первой и второй боковыми ограничительными стенками, уплотненными относительно намазочного валика и контрвалика, отличающаяся тем, что намазочный валик (5) и контрвалик (6) аксиально смещены относительно друг друга и выполнены с возможностью аксиальной перестановки относительно друг друга, и что, по меньшей мере, в области приемного пространства (12) первая боковая ограничительная стенка (17) уплотнена посредством радиального уплотнения (17а) относительно окружной поверхности (5а) намазочного валика (5), а вторая боковая ограничительная стенка (18) уплотнена посредством радиального уплотнения (18а) относительно окружной поверхности (6а) контрвалика (6).

2. Намазочная головка по п.1, отличающаяся тем, что первая боковая ограничительная стенка (17) установлена без возможности аксиального смещения относительно контрвалика (6), и что вторая боковая ограничительная стенка (18) установлена без возможности аксиального смещения относительно намазочного валика (5).

3. Намазочная головка по п.1, отличающаяся тем, что оба радиальных уплотнения (17а, 18а) между первой боковой ограничительной стенкой (17) и намазочным валиком (5), а также между второй боковой ограничительной стенкой (18) и контрваликом (6) представляют собой щелевые уплотнения, которые образуют между соответствующей окружной поверхностью (5а или соответственно 6а) валика и поверхностью цилиндрического участка боковой ограничительной стенки (17 или соответственно 18) уплотнительную щель.

4. Намазочная головка по п.3, отличающаяся тем, что соответствующая поверхность цилиндрического участка каждого радиального уплотнения (17а, 18а), ограничивающая уплотнительную щель, имеет идущую обратно в направлении вращения валика в приемное пространство возвратную спиральную канавку.

РИСУНКИ

Categories: BD_2390000-2390999