|
|
(21), (22) Заявка: 2009100984/15, 15.01.2009
(24) Дата начала отсчета срока действия патента:
15.01.2009
(46) Опубликовано: 27.05.2010
(56) Список документов, цитированных в отчете о поиске:
SU 1699550 A1, 23.12.1991. RU 2030199 C1, 10.03.1995. RU 2247592 C2, 27.08.2004. US 5242473 A, 07.09.1993.
Адрес для переписки:
109456, Москва, Рязанский пр-кт, 75, корп.4, 1-я башня, 7 этаж, ООО “ИНТЕЛИС-правовая поддержка”, пат.пов. М.Н.Протасенко, рег. 1136
|
(72) Автор(ы):
Морозов Евгений Владимирович (RU), Морозов Владимир Сидорович (RU), Морозов Ярослав Владимирович (RU)
(73) Патентообладатель(и):
Общество с ограниченной ответственностью Научно-производственная компания “Наука” (ООО НПК “Наука”) (RU)
|
(54) СПОСОБ ГЛУБОКОЙ ОСУШКИ ГАЗА И УСТРОЙСТВО ДЛЯ ЕГО ОСУЩЕСТВЛЕНИЯ
(57) Реферат:
Изобретение может быть использовано для получения особо чистых газов. Устройство включает вертикальный цилиндрический аппарат 1 с неподвижным слоем адсорбента 2, снабженный нагревателем 3 наружной боковой поверхности и размещенный внутри теплоизоляции 4 с воздушным зазором 5. Теплоизоляция 4 содержит выше уровня цилиндрического аппарата 1 сквозное отверстие 7, перекрываемое клапаном 8, а ниже уровня – сквозное отверстие 6 для подвода атмосферного воздуха в воздушный зазор 5. Способ включает раздельное нагревание, продувку и охлаждение слоя адсорбента 2. Продувку ведут обратным ходом осушенного газа при атмосферном давлении. По окончании продувки выполняют охлаждение обдувом аппарата снаружи дополнительным потоком атмосферного воздуха до достижения температуры, соответствующей температуре окружающей среды. Технический результат – увеличение глубины осушки газа до остаточного содержания в нем влаги по точке росы не выше минус 100°С при давлении 101,3 кПа вне зависимости от природы используемого адсорбента, 2 н.п. ф-лы, 1 ил., 1 табл.
Изобретение относится к технике получения особо чистых газов (H2, N2, O2, воздуха, инертных газов), а именно к способам глубокой адсорбционной осушки газов. Областью использования изобретения являются производства радиоэлектронной, фармацевтической, химической промышленности, а также производства иных отраслей промышленности, требующие использование газов и их смесей, значение остаточного содержания влаги в которых нормируется по точке росы не выше минус 100°C при давлении 101,3 кПа.
Технологии осушки газов известны и широко используются. Широко известна (Головко Г.А. Криогенное производство инертных газов. – Л.: Машиностроение, Ленинградское отделение, 1983), технология глубокой адсорбционной осушки газа с термической регенерацией адсорбентов, при которой осушаемый газ при рабочем давлении и температуре окружающей среды пропускают через аппарат с неподвижным слоем адсорбента, в качестве которого используют силикагель (алюмогель) или цеолиты. Обычно использование цеолитов связывают с необходимостью достижения более глубокой осушки, чем при использовании силикагеля. После насыщения адсорбента влагой его подвергают регенерации путем продувки газом и нагревания силикагеля до температуры приблизительно 470 K (цеолитов – до температуры приблизительно 600 K). Характерной особенностью этих способов осушки является осуществление нагревания адсорбента одновременно с его продувкой газом. Для уменьшения тепловых потерь при регенерации наружная поверхность адсорбционного аппарата содержит сплошной слой эффективной теплоизоляции, что обуславливает необходимость последующего его охлаждения до температуры адсорбции также его продувкой газом, т.е. одновременно с охлаждением. Количество греющего газа при регенерации синтетических цеолитов, используемых для глубокой осушки воздуха, составляет обычно (15-20)% от количества потока осушаемого газа. Расход газа при последующем охлаждении блоков осушки составляет (30-35)% от количества осушаемого газа. Таким образом, суммарное количество затрачиваемого на регенерацию газа продувки составляет (45-55)% от количества осушаемого газа, что приводит к низкой экономической эффективности осушки с термической регенерацией адсорбентов. Другим недостатком такой осушки является высокое значение остаточного содержания влаги в осушенном газе, исчисляемое обычно миллионными долями (точка росы не ниже минус 70°С при давлении 101,3 кПа).
В качестве ближайшего аналога предложенного технического решения выбран способ осушки газа, описанный в RU 2030199 и основанный на описанных выше принципах. При осуществлении известного способа осушаемый газ под рабочим давлением 2,0-5,5 МПа при температуре адсорбции 313-333 К, то есть на 20-40 градусов выше температуры окружающей среды, пропускают сверху вниз через адсорбционный аппарат с неподвижным слоем цеолита NaA. После насыщения адсорбента влагой производится регенерация адсорбента при температуре 533-583 K, для чего аппарат продувают нагретым газом, то есть нагревание и продувку ведут одновременно. Также одновременно ведут продувку аппарата и его охлаждение от температуры регенерации до температуры адсорбции влаги. Давление газа продувки при регенерации адсорбента поддерживается одинаковым с давлением осушаемого газа, то есть на уровне 2,0-5,5 МПа. Описанный в RU 2030199 способ осуществляется с использованием устройства, которое содержит вертикальный цилиндрический аппарат с неподвижным слоем цеолита NaA, сплошной слой теплоизоляции его наружной поверхности, патрубки с клапанами для подвода и отвода газов в направлении потока сверху вниз аппарата и внешний относительно аппарата нагреватель потока, подаваемого на регенерацию газа.
Достоинства описанного в RU 2030199 технического решения заключаются в экономии газа продувки, затрачиваемого на регенерацию адсорбента за счет уменьшения разности температур стадий регенерации и осушки, что достигается за счет использования специально приготовляемого цеолита NaA, имеющего отличные от известных цеолитов характеристики по насыпной плотности и объему вторичных пор.
При этом известное из RU 2030199 техническое решение имеет ряд существенных недостатков:
использование специально приготовляемого цеолита приводит к значительному усложнению способа за счет фактического включения в технологические операции способа операций по приготовлению цеолита;
возможное разрушение гранул адсорбента при достаточно быстром повышении температуры внутри гранул выше температуры кипения воды вследствие прямого их контакта с потоком нагретого газа, в таком случае превышение скорости нагревания гранул выше 1,5-2 градусов в минуту может приводить к “взрывному” характеру выхода паров воды изнутри гранул к их поверхности вместо необходимого диффузионного процесса, что сокращает срок эксплуатации адсорбента до величины 2,5-2,6 года;
разрушающее воздействие на гранулы капельной влаги в виде ее конденсата, который образуется в еще ненагретых слоях адсорбента впереди медленно, по сравнению со скоростью газа перемещающейся вдоль аппарата тепловой волны при его продувке нагретым газом, что также сокращает срок эксплуатации адсорбента до величины 2,5-2,6 года;
наиболее значительный недостаток известного технического решения заключается в малой глубине осушки газа, составляющей по точке росы минус 70°С при давлении 101,3 кПа.
Предложенное изобретение позволит устранить недостатки известного технического решения и обеспечит увеличение глубины осушки газа до остаточного содержания в нем влаги по точке росы не выше минус 100°С при давлении 101,3 кПа вне зависимости от природы используемого адсорбента влаги при одновременном повышении экономичности осушки за счет сокращения затрат газа продувки на регенерацию адсорбента и увеличения срока его службы.
Технический результат, ожидаемый от использования изобретения, достигается тем, что предложены способ глубокой осушки газа и устройство для осуществления способа.
Способ глубокой осушки газа включает пропуск газа через аппарат с неподвижным слоем адсорбента при рабочем избыточном давлении и температуре адсорбции влаги в направлении потока сверху вниз аппарата с последующей регенерацией адсорбента путем нагревания аппарата до температуры регенерации адсорбента, продувку адсорбента газом, и его охлаждение до температуры адсорбции. В отличие от известного технического решения нагревание, продувку, охлаждение ведут раздельно, причем сначала производится нагревание, затем выполняется продувка обратным ходом осушенного газа при атмосферном давлении, а по окончании продувки выполняется охлаждение обдувом аппарата снаружи дополнительным потоком атмосферного воздуха до достижения температуры, соответствующей температуре окружающей среды.
Устройство для глубокой осушки газа содержит вертикальный цилиндрический аппарат с неподвижным слоем адсорбента влаги, нагреватель, теплоизоляцию, патрубки с клапанами для подвода и отвода газов. В отличие от известного технического решения цилиндрический аппарат снабжен нагревателем его наружной боковой поверхности, размещенным внутри теплоизоляции с воздушным зазором. Теплоизоляция ниже уровня аппарата содержит сквозное отверстие для подвода атмосферного воздуха в воздушный зазор между нагревателем боковой поверхности цилиндрического аппарата и теплоизоляцией. Теплоизоляция выше уровня аппарата содержит перекрываемое клапаном сквозное отверстие для отвода воздуха, прошедшего через воздушный зазор между нагревателем боковой поверхности цилиндрического аппарата и теплоизоляцией.
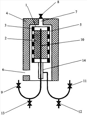
Предложенный способ и устройство поясняются чертежом, на котором приведена принципиальная схема устройства.
Вертикальный цилиндрический аппарат 1 с неподвижным слоем адсорбента 2 оснащен нагревателем 3 его наружной боковой поверхности и размещен внутри теплоизоляции 4 с воздушным зазором 5. Выше уровня цилиндрического аппарата 1 теплоизоляция 4 содержит сквозное отверстие 7, перекрываемое клапаном 8. Ниже уровня цилиндрического аппарата 1 теплоизоляция 4 одержит сквозное отверстие 6 для подвода атмосферного воздуха в воздушный зазор 5. Площади сечения воздушного зазора 5 и сквозных отверстий 6 и 7 имеют приблизительно эквивалентные значения, которые определяются по результатам инженерных расчетов, исходя из практически приемлемого времени охлаждения аппарата в течение 3-6 часов с учетом его теплоемкости и характеристик устройства, например вентилятора, для нагнетания атмосферного воздуха. В простейшем случае необходимый поток воздуха формируется за счет естественной тяги при открытом клапане 8.
Для подачи в верхнюю часть цилиндрического аппарата 1 осушаемого газа служит трубопровод 10, коаксиально расположенный в аппарате 1. Подача осушаемого газа в трубопровод 10 регулируется клапаном 9. Отвод осушенного газа из нижней части цилиндрического аппарата 1 регулируется клапаном 11. Подача в нижнюю часть цилиндрического аппарата 1 осушенного газа продувки из дополнительного источника (например, параллельно работающее устройство, не показано) регулируется клапаном 12. Отвод удаляемого из аппарата газа продувки вместе с десорбированной влагой регулируется клапаном 13. Для уменьшения тепловых потерь на пути подаваемого и отводимого газа продувки устройство содержит рекуперативный теплообменник 14, например типа “труба в трубе”.
Для минимизации массогабаритных характеристик устройства используется адсорбент, обладающей большей адсорбционной емкостью при данном значении относительной влажности осушаемого газа. Так, при относительной влажности более 20-25% используют мелкопористый силикагель, при меньших значениях – цеолиты.
При работе устройства осушаемый газ под рабочим избыточным давлением 0,1-15,0 МПа с температурой окружающей среды, (то есть с температурой атмосферного воздуха), подается через клапан 9 по трубопроводу 10 в верхнюю часть цилиндрического аппарата 1. Прошедший через адсорбент 2 в направлении сверху вниз осушенный газ отводится из цилиндрического аппарата 1 через клапан 11. После насыщения адсорбента влагой клапаны 9 и 11 закрываются, и открывается клапан 13 для сообщения цилиндрического аппарата 1 с атмосферой или коллектором сброса газов продувки, что необходимо для предупреждения увеличения в аппарате 1 давления выше рабочего при последующем нагревании. Далее включают в работу нагреватель 3 нагревания цилиндрического аппарата 1 и адсорбента 2 вместе с ним. Нагрев производится со скоростью 1,5-2,0 градусов в минуту.
После достижения температуры регенерации (~470 K для силикагеля, ~600 K для цеолитов) приступают к продувке цилиндрического аппарата 1 для удаления из него десорбированной влаги, для чего открывают клапан 12 и тем самым в нижнюю часть аппарата 1 подают осушенный газ из его источника. Прошедший через цилиндрический аппарат 1 газ продувки вместе с десорбированной влагой при давлении, близком к атмосферному, сбрасывают через открытый клапан 13. По истечении времени (2-6 часов) удаления из аппарата 1 десорбированной влаги закрывают клапан 13 и приступают к охлаждению аппарата, а вместе с ним и адсорбента. Для этого отключают нагреватель 3, открывают клапан 8 и нагнетают атмосферный воздух через отверстие 6. Нагнетаемый воздух проходит по зазору 5, охлаждая цилиндрический аппарат 1 и сбрасывается в атмосферу через отверстие 7 и клапан 8. После охлаждения аппарата до температуры адсорбции, соответствующей приблизительно значению температуры окружающего атмосферного воздуха, аппарат включают в работу в режиме осушки закрытием клапана 12 и открытием клапанов 9 и 11.
Результаты предварительных испытаний сведены в таблицу, на основании данных которой можно провести сравнительный анализ практического использования предлагаемого технического решения с техническим решением, описанным в патенте RU 2030199.
Таким образом, при практической реализации изобретения остаточное содержание влаги в осушенном газе в 250-1250 раз меньше (точка росы составляет минус (101-110)°С при давлении 101,3 кПа), чем при реализации известного из RU 2030199 способа осушки (точка росы составляет минус 70°С при давлении 101,3 кПа). При этом указанная глубина осушки достигается как на силикагеле, так и на цеолитах, то есть вне зависимости от природы используемого адсорбента, что позволяет читать предложенные технические решения универсальными. При этом доля израсходованного газа продувки в течение одного цикла составляет 0,005-0,9% от количества осушенного газа, что меньше на 60%, чем по известному способу в 67-1200 раз. Срок службы адсорбента при реализации предложенного технического решения увеличивается в 4 раза, то есть до 10 лет, по сравнению с 2,5-2,6 годами по известному техническому решению.
| Таблица |
| Наименование параметров, их размерность |
Значения параметров |
| В соответствии с предложенным изобретением |
В соответствии с патентом RU 2030199 |
| 1 |
2 |
3 |
4 |
5 |
| 1. Осушаемый газ |
H2 |
H2 |
H2 |
N2 |
Ar |
Природный газ |
| 2. Относительная влажность осушаемого газа, % |
100 |
100 |
5 |
15 |
10 |
100 |
| 3. Производительность, нм3/час |
10 |
100 |
50 |
40 |
20 |
8,8 |
| 4. Рабочее давление при осушке, МПа |
0,8-1,0 |
15,0 |
0,8-1,0 |
0,6-0,8 |
2,0 |
2,0 |
| 5. Адсорбент |
силикагель |
силикагель |
NaA |
NaA |
CaA |
NaA |
| 6. Температура, K: |
 |
 |
 |
 |
 |
 |
| 6.1 осушки |
290 |
290 |
300 |
290 |
313 |
313 |
| 6.2 регенерации |
470 |
470 |
600 |
600 |
580 |
573 |
| 7. Давление газа продувки, МПа |
0,01 |
0,01 |
0,01 |
0,01 |
0,01 |
2,0 |
| 8. Расход газа продувки, нм3/час |
0,5 |
2,0 |
1,0 |
0,8 |
0,7 |
8,8 |
| 9. Длительность, ч: |
 |
 |
 |
 |
 |
 |
| 9.1 осушки |
24 |
240 |
24 |
24 |
12 |
10 |
| 9.2 продувки |
4 |
6 |
4 |
3 |
3 |
6 |
| 10. Количество осушенного |
240 |
24000 |
1200 |
960 |
240 |
88 |
| газа в течение одного цикла, нм3 |
 |
 |
 |
 |
 |
 |
| 11. Количество израсходованного газа продувки, нм3 |
2 |
12 |
4 |
2,4 |
2,1 |
53 |
| 12. Доля израсходованного газа продувки от количества осушенного газа, % |
0,83 |
0,05 |
0,33 |
0,25 |
0,9 |
60 |
| 13. Объемная доля влаги в осушенном газе, млн-1, точка росы при давлении 101,3 кПа, °C) |
0,002-110 |
0,004-106 |
0,002-110 |
0,01-101 |
0,01-101 |
2,5-70 |
| 14. Срок службы адсорбента, лет |
10 |
10 |
10 |
10 |
10 |
2,5-2,6 |
Формула изобретения
1. Способ глубокой осушки газа, включающий пропуск газа через аппарат с неподвижным слоем адсорбента при рабочем избыточном давлении и температуре адсорбции влаги в направлении потока сверху вниз аппарата с последующей регенерацией адсорбента путем нагревания аппарата до температуры регенерации адсорбента, продувки его газом, и охлаждения до температуры адсорбции, отличающийся тем, что нагревание, продувку, охлаждение ведут раздельно, причем сначала производится нагревание, затем выполняется продувка обратным ходом осушенного газа при атмосферном давлении, а по окончании продувки выполняется охлаждение обдувом аппарата снаружи дополнительным потоком атмосферного воздуха до достижения температуры, соответствующей температуре окружающей среды.
2. Устройство для глубокой осушки газа, содержащее вертикальный цилиндрический аппарат с неподвижным слоем адсорбента влаги, нагреватель, теплоизоляцию, патрубки с клапанами для подвода и отвода газов, отличающееся тем, что цилиндрический аппарат снабжен нагревателем его наружной боковой поверхности и размещен внутри теплоизоляции с воздушным зазором, при этом теплоизоляция ниже уровня аппарата содержит сквозное отверстие для подвода атмосферного воздуха в воздушный зазор между нагревателем боковой поверхности цилиндрического аппарата и теплоизоляцией, а теплоизоляция выше уровня аппарата содержит перекрываемое клапаном сквозное отверстие для отвода воздуха, прошедшего через воздушный зазор между нагревателем боковой поверхности цилиндрического аппарата и теплоизоляцией.
РИСУНКИ
|
|