|
|
(21), (22) Заявка: 2007146686/09, 08.05.2006
(24) Дата начала отсчета срока действия патента:
08.05.2006
(30) Конвенционный приоритет:
17.05.2005 IT MI2005A000898
(43) Дата публикации заявки: 27.06.2009
(46) Опубликовано: 20.05.2010
(56) Список документов, цитированных в отчете о поиске:
WO 02/073761 А, 19.09.2002. 98116149 A, 20.06.2000. SU 1348931 A1, 30.10.1987. SU 1359836 A1, 15.12.1987. US 5944439 A, 31.08.1999.
(85) Дата перевода заявки PCT на национальную фазу:
17.12.2007
(86) Заявка PCT:
IT 2006/000322 20060508
(87) Публикация PCT:
WO 2006/123383 20061123
Адрес для переписки:
103735, Москва, ул. Ильинка, 5/2, ООО “Союзпатент”, пат.пов. С.Б.Фелицыной, рег. 303
|
(72) Автор(ы):
ЛОДИ Фабрицио (IT), ПИЦЦАДИНИ Алессио (IT)
(73) Патентообладатель(и):
БТИЧИНО С.П.А. (IT)
|
(54) КОРПУС ДЛЯ ЭЛЕКТРИЧЕСКОГО РАСПРЕДЕЛИТЕЛЬНОГО ЩИТА
(57) Реферат:
Изобретение относится к электротехнике и может быть использовано в электрических распределительных щитах. Технический результат состоит в упрощении заземления. Корпус для электрического распределительного щита (1) предназначен для электрических устройств, состоит из задней стенки (2), двух боковых стенок, нижней и верхней стенок и изготовлен из электропроводного материала и четырех угловых элементов (5), изготовленных из электроизолирующего материала. Угловой элемент соединяет упомянутую заднюю стенку (2) с упомянутыми боковой и нижней/верхней стенками. Корпус для электрического распределительного щита дополнительно содержит скобы (6) из электропроводного материала, которые устанавлены в угловые элементы (5) и имеют первую оконечность (16), находящуюся в электрическом контакте с задней стенкой (2), и вторую оконечность (17), находящуюся в электрическом контакте с упомянутой боковой стенкой и нижней/верхней стенкой. 14 з.п. ф-лы, 4 ил.
Область техники, к которой относится изобретение
Настоящее изобретение относится к корпусам для электрических распределительных щитов.
Уровень техники
Как правило, электрический распределительный щит содержит корпус или коробку, в которой установлены каркасы держателей (например, рамы держателей) с электрическими устройствами, устанавливаемыми в них, такими как переключатели. В частности, обычный корпус электрического распределительного щита содержит заднюю стенку или панель, боковые стенки или боковые поверхности и переднюю стенку или панель. Электрические устройства соединены либо непосредственно, или с помощью соответствующих держателей с задней панелью корпуса, которая обычно имеет четырехугольную форму. Передняя панель представляет собой дверцу доступа к электрическому распределительному щиту для пользователя или оператора, осуществляющего техническое обслуживание.
Важное свойство электрического распределительного щита состоит в том, чтобы все металлические детали, обычно задняя панель и боковые поверхности, имели одинаковый потенциал и были соединены с выводом заземления, или в соответствии с принятой в данной области техники терминологией были “заземлены или соединены с землей”.
Для удовлетворения этого требования в настоящее время изготавливают и устанавливают корпуса так называемого моноблочного типа, изготовленные из металлического материала. В этих корпусах задняя панель и боковые поверхности изготовлены как одна деталь и заземлены, например, с помощью соответствующего электрического проводника. Такая моноблочная структура имеет недостаток, состоящий в том, что она является недостаточно универсальной.
Кроме того, известны модульные корпуса, в которых задняя панель и боковые поверхности, изготовленные из металлического материала, соединены друг с другом с помощью угловых стоек, изготовленных из пластмассы. В этом случае обеспечение заземления является не удобным для сборщика, поскольку один или больше проводников требуется использовать для контакта с двумя боковыми поверхностями, которые разделены соответствующей пластмассовой стойкой, и задней панелью.
Цель настоящего изобретения состоит в создании корпуса для электрического распределительного щита, альтернативного корпусам предшествующего уровня техники, в которых, в частности, упрощается операция заземления.
Эта цель достигается с помощью корпуса для электрического распределительного щита, как определено и охарактеризовано в пункте 1 формулы изобретения.
Краткое описание чертежей
Изобретение будет более понятно из следующего подробного описания варианта его выполнения, которое приведено в качестве примера со ссылкой на приложенные чертежи, на которых:
на фиг.1-3 последовательно иллюстрируются частичные виды в перспективе этапов сборки корпуса для электрического распределительного щита в соответствии с примером вариантов выполнения,
на фиг.4 показан общий вид упомянутого корпуса с четырьмя стойками и двумя боковыми стенками, собранными на задней стенке.
Подробное описание изобретения
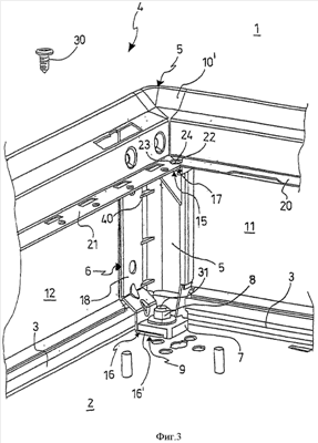
На фиг.1 показан корпус для электрического распределительного щита, обозначенный позицией 1, который содержит, на первом этапе сборки, заднюю стенку или панель 2, имеющую четырехугольную, например прямоугольную, форму, включающую раму в виде профиля 3 и четыре стойки 4 в каждом из углов панели 2.
Стойка 4 содержит внешний угловой элемент 5 и внутренний элемент 6. Внешний угловой элемент 5 изготовлен из электроизолирующего материала, такого как пластик, и имеет снаружи в основном закругленную поверхность. Внешний угловой элемент 5 имеет множество средств крепления, которые могут взаимодействовать со стенками корпуса и с внутренним элементом 6. В частности, под стенками корпуса подразумевается как задняя стенка 2, предназначенная, как указано выше, для установки на ней электрических устройств и/или переключателей, так и боковые стенки или боковые поверхности 11 и 12, схематично представленные на фиг.2 и 3. Задняя стенка 2 и боковые стенки 11 и 12 изготовлены из электропроводного материала, такого как металл.
Внешний угловой элемент 5 имеет ножку 7, предназначенную для установки на заднюю стенку 2 и могущую иметь внешний профиль, который, по меньшей мере, на конечном участке, расположенном рядом с ножкой 7, совпадает с профилем рамы 3 задней стенки 2. Ножка 7 имеет первое сквозное отверстие, выполненное преимущественно в ее центре и не показанное на чертежах, в которое можно устанавливать фиксирующий шип 31, такой как шпилька, приваренная к задней стенке 2. Такая фиксирующая шпилька 31 может взаимодействовать с первой гайкой 8 для фиксации ножки на задней стенке. Ножка 7 частично контактирует с задней стенкой 2 с образованием посадочного места 9 для внутреннего элемента 6.
Угловой элемент 5 напротив ножки 7 дополнительно содержит головку 10 с первым участком 10′ и вторым участком 10″ для плотного соединения с первой боковой стенкой 11 и второй боковой стенкой корпуса соответственно так, как показано на фиг.2 и 3.
В головке 10 дополнительно предусмотрены два ребра 13, образующие направляющую 14, в которую устанавливается внутренний элемент 6. Направляющая 14 также содержит отверстие 15 для пропускания через него второго винта 30, схематично показанного в верхней части фиг.3, для фиксации первой 11 и второй 12 боковых стенок углового элемента 5, который может быть завинчен в соответствующее резьбовое отверстие стенки 11.
В угловом элементе 5 дополнительно предусмотрены распределенные фиксирующие средства, такие как шипы 40, для взаимодействия с внутренним элементом 6.
Внутренний элемент 6 изготовлен из электропроводного материала, такого как металл, и предпочтительно выполнен в виде скобы, конструктивно совмещенной с угловым элементом 5 так, что она установлена внутри корпуса 1 и направлена, по существу, в направлении, ортогональном к задней стенке 2.
Скоба 6, по существу, изогнута с приданием ей формы буквы “С” таким образом, что содержит, например, основную планку 18 в виде пластины, расположенную между первым концом 16 и вторым концом 17, противоположным первому, которые выполнены с возможностью контакта с задней стенкой 2 и, после окончания сборки корпуса, боковыми стенками 11 и 12 соответственно.
Первый конец 16 скобы 6 содержит высверленную пластину 16′, расположенную поперечно основной планке 18. Эта высверленная пластина 16′ выполнена с возможностью расположения в посадочном месте 9, образованном ножкой 7 и задней стенкой 2, и в ней предусмотрено третье отверстие, которое не показано на чертежах и которое может быть совмещено с первым отверстием, образованном в ножке, в которое можно вставить фиксирующую шпильку 31.
Второй конец 17 содержит вторую пластину 17′, в которой предусмотрено сквозное отверстие 19, в которое может быть установлен второй винт 30, и которая может располагаться со скольжением с направляющей 14 головки 10. Дополнительное сквозное отверстие 19 соосно отверстию 15. Основная планка 18 обеспечивает связь первой пластины и имеет профиль, соответствующий профилю рамы 3 задней стенки 2.
Как показано на фиг.2, первая боковая стенка 11 может быть плотно соединена с первым участком 10′ головки 10 углового элемента 5, и на ней предусмотрен первый плоский выступ 20, который частично опирается на направляющую 14 и имеет первый вырез 22 на кромке. Этот плоский выступ 20 имеет такую форму, что его первый вырез наклонен под таким углом, что первый вырез 22, по существу, повторяет часть контура дополнительного сквозного отверстия 19 второй пластины 17′ скобы 6.
Как показано на фиг.3, аналогично первой боковой стенке 11, вторая боковая стенка 12 может быть плотно соединена со вторым участком 10″ головки 10, и на ней предусмотрен второй боковой выступ 21, который может быть частично установлен в направляющей 14 и который имеет второй вырез 23 на второй кромке, которая может быть установлена рядом с первой кромкой. Такой второй выступ 21 в виде пластины имеет форму, в которой вторая кромка наклонена под углом, взаимодополняющим угол наклона первой кромки, и такой, что второй вырез 23 и первый вырез 22 образуют одно отверстие 24, соосное отверстию 19, в которое может быть установлен второй винт 30.
Оператор-установщик на этапе сборки соединяет скобу 6 с угловым элементом 5 и соединяет полученную таким образом стойку с фиксирующей шпилькой 31, приваренной к задней стенке 2, навинчивая первую гайку 8 к фиксирующей шпильке 31 так, чтобы скоба 6 и задняя стенка 2 контактировали друг с другом.
Первая 11 и вторая 12 боковые стенки плотно соединены с головкой 10 углового элемента 5. После этого винт 30 вставляют в отверстие 24, которое соосно соответствующему дополнительному сквозному отверстию 19 второй пластины 17 скобы 6. Винт 30 затягивают таким образом, чтобы обе боковые стенки корпуса были в контакте со скобой 6.
Скоба 6, таким образом, обеспечивает возможность установки боковых стенок и задней стенки корпуса в контакте друг с другом. Скоба имеет незначительное электрическое сопротивление, что позволяет обеспечить равный потенциал между стенками корпуса при использовании корпуса в соответствии с изобретением. Эти операции повторяют со стойками, предусмотренными для корпуса.
Как можно видеть, цель настоящего изобретения полностью достигается тем, что все металлические стенки корпуса для электрического распределительного щита могут быть электрически соединены друг с другом, при этом электрический распределительный щит может быть “заземлен” с помощью электрического провода, соединенного, например, с задней стенкой корпуса. Корпус для электрического распределительного щита, полученный таким образом, имеет эстетическое преимущество, состоящее в том, что скоба размещается внутри корпуса, следовательно, она не видна.
Кроме того, использование пластмассовых угловых элементов облегчают конструкцию, в то время как скобы позволяют сформировать корпус с большей жесткостью.
Формула изобретения
1. Корпус для электрического распределительного щита (1), содержащий: заднюю стенку (2) и боковые стенки (11, 12), изготовленные из электропроводного материала; по меньшей мере, один угловой элемент (5), изготовленный из электроизолирующего материала, предназначенный для соединения задней стенки (2) и двух упомянутых боковых стенок (11, 12) друг с другом, отличающийся тем, что он дополнительно содержит скобу (6), изготовленную из электропроводного материала, которая конструктивно связана с упомянутым, по меньшей мере, одним угловым элементом (5) и имеет первый конец (16), находящийся в контакте с задней стенкой (2), и второй конец (17), находящийся в контакте с упомянутыми боковыми стенками (11, 12).
2. Корпус для электрического распределительного щита (1) по п.1, в котором скоба (6) конструктивно связана с угловым элементом (5) таким образом, что ее можно устанавливать внутри корпуса и располагать в направлении, по существу, ортогональном задней стенке.
3. Корпус для электрического распределительного щита (1) по п.1, в котором скоба содержит, по существу, выполненную в форме пластины основную планку (18), которая продолжается между первым (16) и вторым (17) концами.
4. Корпус для электрического распределительного щита (1) по п.3, в котором упомянутый первый конец (16) содержит первую просверленную пластину, располагающуюся поперечно планке.
5. Корпус для электрического распределительного щита (1) по п.4, в котором второй конец (17) скобы (6) содержит вторую пластину, в которой предусмотрено сквозное отверстие (19).
6. Корпус для электрического распределительного щита (1) по п.4, в котором планка (18) содержит конечный участок, связанный с упомянутой первой пластиной и имеющий профиль, соответствующий профилю рамы (3) задней стенки (2).
7. Корпус для электрического распределительного щита (1) по п.4, в котором упомянутый, по меньшей мере, один угловой элемент (5) содержит ножку (7), выполненную с возможностью частичного контакта с задней стенкой (2) и образующую с ней посадочное место (9) для первой пластины (16); причем корпус содержит первое фиксирующее средство (8) первой пластины и ножки для задней стенки (2).
8. Корпус для электрического распределительного щита (1) по п.7, в котором упомянутый, по меньшей мере, один угловой элемент (5) дополнительно содержит головку (10), расположенную противоположно ножке (7), в которой предусмотрено два ребра (13), образующих соответственно направляющую (14), для установки в нее второй пластины (17 ), причем направляющая дополнительно содержит второе фиксирующее средство второй пластины (17 ) двух боковых стенок, по меньшей мере, одного углового элемента (5).
9. Корпус для электрического распределительного щита (1) по п.3, в котором головка (10) углового элемента (5) имеет первый участок (10 ) и второй участок (10 ), выполненные с возможностью плотного соединения с первой (11) и второй (12) боковыми стенками корпуса соответственно.
10. Корпус для электрического распределительного щита (1) по п.7, в котором упомянутое первое фиксирующее средство содержит фиксирующую шпильку (31) и первую гайку (8); причем в ножке (7) углового элемента (5) первая пластина (16) снабжена соответствующими сквозными отверстиями, для установки в них фиксирующей шпильки (31) ножки на задней стенке.
11. Корпус для электрического распределительного щита (1) по п.8, в котором второе фиксирующее средство включает в себя, по меньшей мере, один второй фиксирующий винт (30), и в котором первая боковая стенка (11) и вторая боковая стенка (12) содержат первый (20) и второй (21) боковые выступы, соответственно, которые устанавливаются на направляющей; причем в направляющей, второй высверленной пластине, первом и втором выступах предусмотрены соответствующие отверстия (15, 19, 22, 23), предназначенные для установки в них фиксирующего винта.
12. Корпус для электрического распределительного щита (1) по п.11, в котором отверстия первого и второго выступов выполнены в виде вырезов на соответствующих кромках, и в котором упомянутые вырезы расположены рядом друг с другом так, что соответствующие вырезы (22, 23) образуют одно отверстие (24).
13. Корпус для электрического распределительного щита (1) по п.3, в котором в угловом элементе (5) предусмотрено распределенное фиксирующее средство, выполненное с возможностью взаимодействия с основной планкой (18).
14. Корпус для электрического распределительного щита (1) по п.1, в котором задняя стенка (2), боковые стенки (11, 12) и скоба (6) изготовлены из металла, и угловой элемент (5) изготовлен из пластика.
15. Корпус для электрического распределительного щита (1) по п.1, в котором задняя стенка (2), боковые стенки (11, 12) и скоба (6) изготовлены из металла, и угловой элемент (5) изготовлен из пластика; при этом скоба обеспечивает, по существу, равный потенциал задней стенки и боковых стенок и придает жесткость угловому элементу.
РИСУНКИ
|
|