|
|
(21), (22) Заявка: 2009106355/28, 24.02.2009
(24) Дата начала отсчета срока действия патента:
24.02.2009
(46) Опубликовано: 20.05.2010
(56) Список документов, цитированных в отчете о поиске:
И.И.Самарцев. Атомно-лучевые цезиевые трубки. Сборник лекций в VI томах. / Под общей редакцией д.т.н. А.Н.Королева. ФГУП “НПП “ИСТОК”, 2004, с.205-223. С.А.Плешанов, И.И.Самарцев, Ю.А.Турутин. Цезиевая атомно-лучевая трубка с оптической селекцией атомных состояний на входе в СВЧ-резонатор. Электронная техника, сер.1, СВЧ-техника, вып.1(489), 2007,с.87-92. RU 2029419 C1, 20.02.1995. Е.И.Абрамов, Н.П.Лобанов, С.А.Плешанов, И.И.Самарцев. Атомно-лучевая трубка с повышенной устойчивостью к воздействиям магнитных полей. Электронная техника, сер.1, СВЧ-техника, вып.2(446), 1992 г., с.11-14.
Адрес для переписки:
141190, Московская обл., г. Фрязино, ул. Вокзальная, 2А, ФГУП “Научно-производственное предприятие “Исток”, патентный отдел
|
(72) Автор(ы):
Голеницкий Иван Иванович (RU), Духина Наталья Германовна (RU), Плешанов Сергей Анатольевич (RU), Харченко Лидия Александровна (RU)
(73) Патентообладатель(и):
Федеральное государственное унитарное предприятие “Научно-производственное предприятие “Исток” (ФГУП НПП “Исток”) (RU)
|
(54) АТОМНО-ЛУЧЕВАЯ ТРУБКА НА ПУЧКЕ АТОМОВ ЦЕЗИЯ
(57) Реферат:
Изобретение относится к технике квантовых дискриминаторов частоты. Техническим результатом является расширение зоны токопрохождения и устойчивое токопрохождение на коллектор в условиях воздействия контактной разности потенциалов (КРП) и других дестабилизирующих факторов. Атомно-лучевая трубка на пучке атомов цезия содержит установленные в корпусе: источник атомного пучка, системы селекции атомных состояний атомов цезия, систему магнитной защиты, СВЧ-резонатор, соленоид слабого однородного магнитного поля, магнитный масс-спектрометр, магнитный электроразрядный насос, поглотители паров цезия, расположенные вдоль пути следования атомного пучка, индикатор атомного пучка, коллектор для сбора ионов и усилитель коллекторного ионного тока. Индикатор атомного пучка содержит корпус с внутренней перегородкой в виде плоской анодной диафрагмы с отверстием, фокусирующий электрод с плоским щелевым отверстием, термический ионизатор в виде металлической ленты, расположенной внутри щелевого отверстия фокусирующего электрода таким образом, что линия симметрии щелевого отверстия фокусирующего электрода и линия симметрии ленты ионизатора находятся в одной плоскости, поглотитель. В фокусирующем электроде со стороны анода на противоположных плоских поверхностях щелевого отверстия выполнены идентичные выступы в виде пластин толщиной t, ограничивающих ширину p щелевого отверстия фокусирующего электрода до ширины h, при этом: 15,0 p/w 20,0; 5,0 h/w 10,0; 0,8 t/w 1,0, где w – ширина ленты термического ионизатора. 3 з.п. ф-лы, 8 ил.
Изобретение относится к технике квантовых дискриминаторов частоты.
Атомно-лучевые трубки (АЛТ) на пучке атомов цезия используются в качестве источников сверхстабильных частот с долговременной относительной нестабильностью выходной частоты на уровне 10-13 10-15.
Уровень долговременной относительной нестабильности частоты, отношение выходного сигнала к собственным шумам и срок службы АЛТ определяются качеством разработки всех функциональных узлов, в том числе одного из наиболее ответственных выходных узлов АЛТ-устройства индикации атомного пучка (индикатора).
В индикаторе АЛТ осуществляется:
– преобразование потока нейтральных атомов цезия, в которых произошел переход энергетического состояния, в положительные однозарядные ионы цезия;
– формирование необходимой конфигурации ионного потока в ионной пушке, состоящей из системы электродов с заданными потенциалами;
– транспортировка ионного потока по направлению к коллектору с попутным удалением из его состава ионов сторонних атомов, являющихся источником собственных шумов АЛТ;
– сбор ионов на коллекторе для последующего усиления ионного тока, например, либо динодами вторично-электронного умножителя, либо электрометрическим усилителем.
Основное техническое требование к индикатору состоит в обеспечении высокого коэффициента преобразования атомного пучка в ионный, а также в сохранении высокого уровня токопрохождения на коллектор в течение длительного срока службы АЛТ. Величина коллекторного ионного тока является мерой интенсивности рабочего атомного пучка, определяющей интенсивность выходного сигнала АЛТ, подаваемого на вход системы автоматической подстройки частоты кварцевого генератора стандарта частоты. Потеря коллекторного ионного тока в процессе работы АЛТ приводит к снижению отношения сигнала к шуму и интенсивности выходного сигнала АЛТ, что является одной из основных причин ограничения срока службы АЛТ и, соответственно, стандарта частоты.
Задача усовершенствования конструкции индикатора с целью повышения уровня и стабильности токопрохождения в течение длительного срока службы приобретает особую актуальность для бортовых АЛТ с высокими требованиями по долговременной относительной нестабильности частоты (~10-15) и большим сроком службы, на уровне 50 тысяч часов и более.
Известна АЛТ на пучке атомов цезия [1]. Она содержит корпус, внутри которого расположены: источник атомов цезия, первый и второй селекторы атомных состояний, СВЧ-резонатор, магниторазрядный насос, масс-спектрометр и индикаторное устройство, включающее термический ионизатор, коллектор ионов и вторично-электронный умножитель в качестве усилителя коллекторного ионного тока.
Недостатками ее является плохое токопрохождение на коллектор, не превышающее в лучших образцах 50-60%, и относительно малый срок службы, недостаточный для бортовых АЛТ.
Наиболее близкой по технической сущности к предлагаемому изобретению (прототипом) является АЛТ, созданная в Российской Федерации на предприятии ФГУП «НПП Исток» [2]. Она содержит расположенные в корпусе источник атомного пучка, системы селекции атомных состояний атомов цезия на постоянных магнитах, выполненные в виде системы магнитного отклонения, систему магнитной защиты, СВЧ-резонатор, соленоид слабого однородного магнитного поля, магнитный масс-спектрометр, магнитный электроразрядный насос, поглотители паров цезия, расположенные вдоль всего пути следования атомного пучка, а также индикатор атомного пучка, содержащий корпус с внутренней перегородкой в виде плоской диафрагмы с отверстием, служащий в качестве анода, фокусирующий электрод с щелевым отверстием, термический ионизатор атомного пучка в виде накаленной металлической ленты, расположенной внутри щелевого отверстия фокусирующего электрода, поглотитель, коллектор для сбора ионов и усилитель коллекторного ионного тока, в качестве которого служит вторично-электронный умножитель. Лента индикатора и фокусирующий электрод электрически изолированы от корпуса и друг от друга и на них подаются положительные относительно корпуса потенциалы.
Настройка индикатора на максимальное токопрохождение на коллектор осуществляется путем подбора потенциалов, подаваемых на ленту ионизатора (Uи) и на фокусирующий электрод (Uф). Измеренная функция токопрохождения учитывает совокупность факторов, реально влияющих на фокусировку ионного пучка: взаимное расположение ионизатора, фокусирующего электрода, анодной диафрагмы и коллектора в установившемся тепловом режиме работы АЛТ, распределение магнитного поля в рабочем зазоре масс-спектрометра, которое создается магнитами с конструктивными допусками и реальными магнитными характеристиками применяемых материалов, изменение потенциала вдоль ленты ионизатора, обусловленное протеканием по ней постоянного тока накала, а также контактную разность потенциалов (КРП) между металлами ленты ионизатора и фокусирующего электрода (изготовленными, например, соответственно из тантала и сплава молибдена с никелем), действующую в момент настройки индикатора [3].
Функция токопрохождения на коллектор Т=f(Uи, Uи-ф) зависит от двух переменных: потенциала ионизатора Uи и разности потенциалов Uи-ф=(Uи-Uф) между ионизатором и фокусирующим электродом, где Uи – параметр, а Uи-ф – абсцисса (независимая переменная). Потенциал Uи задает скорость (энергию) движения ионов, определяющую процесс их магнитного отклонения на поверхность коллектора. Величина Uи связана с индукцией отклоняющего магнитного поля В масс-спектрометра известным соотношением Uи/B=const, вытекающим из определения величины циклотронного радиуса вращения заряженной частицы в поперечном однородном магнитном поле, т.е. меняется при изменении индукции отклоняющего магнитного поля.
Кривая токопрохождения для каждого фиксированного значения потенциала ионизатора Т=f( Uи-ф)|Uи=const имеет максимум. Ширина окрестности вблизи максимума токопрохождения, в пределах которой величина токопрохождения не ниже заданного уровня (обычно 90%), далее называется зоной токопрохождения. Параметрами зоны токопрохождения являются:
S= Uи-ф|макс– Uи-ф|мин – ширина зоны токопрохождения,
Uи-ф|макс= Uи-ф|опт+S/2 – верхняя граница зоны токопрохождения,
Uи-ф|мин= Uи-ф|опт-S/2 – нижняя граница зоны токопрохождения,
Uи-ф|опт _ центральная (оптимальная) точка зоны токопрохождения, по которой настраиваются потенциалы индикатора Uи и Uф перед установкой в стандарт частоты.
Недостатком АЛТ-прототипа [2] является малая ширина зоны S токопрохождения, положение и величина которой меняются в процессе работы АЛТ под влиянием дестабилизирующих факторов, которыми являются:
– изменения межэлектродных зазоров в индикаторе;
– изменения (снижение) индукции магнитного поля масс-спектрометра;
– изменение КРП между лентой ионизатора и фокусирующим электродом.
При увеличении глубины погружения ленты ионизатора внутрь щелевого отверстия фокусирующего электрода точка Uи-ф|опт смещается по оси абсцисс Uи-ф в сторону повышения положительной разности потенциалов, при этом ширина S зоны токопрохождения практически не меняется.
При уменьшении индукции отклоняющего магнитного поля масс-спектрометра (например, по причине старения магнитных материалов) точка Uи-ф|опт смещается в противоположном направлении по оси Uи-ф, а ширина S зоны токопрохождения сужается.
Наиболее значимым дестабилизирующим фактором является КРП между ионизатором и фокусирующим электродом, величина которой в низковольтных электровакуумных приборах может достигать 0,8-1,0 В [3], т.е. может быть сравнимой с шириной зоны токопрохождения в АЛТ-прототипе [2]. Величина КРП зависит от разности работ выхода электрона для материалов, из которых изготовлены ионизатор и фокусирующий электрод. Более того, КРП зависит также от состояния поверхности указанных электродов, которое непрерывно меняется в процессе работы АЛТ под действием паров цезия и остаточных газов. Это приводит к неконтролируемому дрейфу разности потенциалов Uи-ф между ионизатором и фокусирующим электродом. При значительной крутизне функции Т=f(Uи, Uи-ф) вблизи точки Uи-ф|опт, как это имеет место в АЛТ-прототипе [2], даже слабое изменение КРП может существенно ухудшить токопрохождение и привести к деградации параметров АЛТ.
Высокая чувствительность АЛТ-прототипа [2] к изменению разности потенциалов Uи-ф между ионизатором и фокусирующим электродом подтверждена экспериментально.
Для ряда АЛТ, выполненных по образцу прототипа [2] и вышедших из строя по причине падения токопрохождения, дополнительная подстройка потенциалов ионизатора и фокусирующего электрода приводила к восстановлению токопрохождения и выходного сигнала. В одном из проведенных нами экспериментов с АЛТ-прототипом [2] оказалось, что после непрерывной работы в течение 9,5 тысяч часов уровень выходного сигнала снизился с 4,53 В до 1,71 В, но после подстройки потенциалов ионизатора и фокусирующего электрода он восстановился до практически номинального уровня 3,80 В, несмотря на естественную потерю активного вещества в атомном источнике. При этом в процессе испытаний в индикатор подавался поток атомов цезия, в 7,65 раз превышающий номинальный (ускоренные испытания). Этот и другие аналогичные факты свидетельствуют о том, что КРП является главным дестабилизирующим фактором при долговременной работе АЛТ.
Для того чтобы ослабить влияние на токопрохождение всех перечисленных выше дестабилизирующих факторов, в первую очередь КРП, увеличить срок службы АЛТ и показатель долговременной относительной нестабильности частоты, необходимо максимально расширить зону токопрохождения.
Актуальной задачей в настоящее время является создание АЛТ со сроком службы более 50 тысяч часов и показателем долговременной относительной нестабильности частоты на уровне 10-15.
Техническим результатом является расширение зоны токопрохождения и устойчивое токопрохождение на коллектор в условиях воздействия КРП, а также других дестабилизирующих факторов и, как результат, увеличение срока службы прибора.
Предлагаемая атомно-лучевая трубка на пучке атомов цезия содержит установленные в корпусе: источник атомного пучка, системы селекции атомных состояний атомов цезия, систему магнитной защиты, СВЧ-резонатор, соленоид слабого однородного магнитного поля, магнитный масс-спектрометр, магнитный электроразрядный насос, поглотители паров цезия, расположенные вдоль пути следования атомного пучка, индикатор атомного пучка, коллектор для сбора ионов и усилитель коллекторного ионного тока. Индикатор атомного пучка содержит корпус с внутренней перегородкой в виде плоской диафрагмы с отверстием, являющийся анодом, фокусирующий электрод с плоским щелевым отверстием, термический ионизатор в виде металлической ленты, расположенной внутри щелевого отверстия фокусирующего электрода таким образом, что линия симметрии щелевого отверстия фокусирующего электрода и линия симметрии ленты ионизатора находятся в одной плоскости, поглотитель паров цезия. В фокусирующем электроде со стороны анода на противоположных плоских поверхностях щелевого отверстия выполнены идентичные выступы в виде пластин толщиной t, ограничивающих ширину p щелевого отверстия фокусирующего электрода до ширины h, при этом толщина t пластин, ширина h щелевого отверстия между пластинами и ширина p щелевого отверстия фокусирующего электрода определяются из условий:
15,0 p/w 20,0; 5,0 h/w 10,0; 0,8 t/w 1,0,
где w – ширина ленты ионизатора.
Предлагаемая конструкция обеспечивает оптимальные условия формирования ионного потока, а также оптимальные условия ввода его в область отклоняющего магнитного поля масс-спектрометра, при которых ослабляется чувствительность фокусировки к изменению разности потенциалов Uи-ф между ионизатором и фокусирующим электродом и тем самым расширяется зона токопрохождения, обеспечивается устойчивое токопрохождение на коллектор и, как результат, увеличивается срок службы прибора.
Для улучшения метрологических характеристик промышленных цезиевых АЛТ в качестве систем селекции атомных состояний предлагается использовать первую и/или вторую камеры с оптической селекцией атомных состояний атомов цезия. Это позволяет исключить магниты из системы селекции атомных состояний атомов цезия, которые имеют ряд принципиальных и трудно устранимых недостатков: малый коэффициент использования интенсивности исходного атомного пучка около 10-2%; ослабление сигнала резонанса на выходе АЛТ за счет майорановских переходов, обусловленных неоднородностями магнитного поля между отклоняющими магнитами и СВЧ-резонатором [4, 5].
В качестве усилителя коллекторного ионного тока может быть использован вторичный электронный умножитель.
Чтобы исключить недостатки АЛТ, связанные с собственными шумами и деградацией выходного сигнала вторично-электронного умножителя в процессе длительной эксплуатации, в качестве усилителя коллекторного ионного тока может быть использован электрометрический усилитель [6].
Изобретение поясняется чертежами.
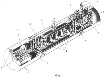
На фиг.1 показана общая конструкция АЛТ-прототипа, где:
– корпус АЛТ 1,
– источник атомного пучка 2,
– системы селекции атомных состояний атомов цезия 3,
– система магнитной защиты 4,
– магнитный масс-спектрометр 5,
– корпус индикатора 6,
– усилитель коллекторного ионного тока 7,
– магнитный электроразрядный насос 8,
– СВЧ-резонатор 9,
– соленоид слабого магнитного поля 10,
– поглотители паров цезия 11.
На фиг.2 схематически показан фрагмент индикатора предлагаемой АЛТ, где:
– лента термического ионизатора 12 с шириной w,
– облучаемая атомным пучком активная поверхность 13 (эмиттер ионов) ленты термического ионизатора 12,
– фокусирующий электрод 15 с щелевым отверстием шириной p,
– выступы 14 в виде пластин толщиной t, образующие щелевое отверстие шириной h,
– анодная диафрагма 16,
– прямоугольное отверстие 17 в анодной диафрагме 16.
На фиг.3 показан один из возможных конструктивных вариантов выполнения фокусирующего электрода предлагаемой АЛТ, где:
– фокусирующий электрод 15,
– выступы 14 в щелевом отверстии фокусирующего электрода 15.
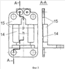
На фиг.4 показан один из возможных конструктивных вариантов выполнения индикатора предлагаемой АЛТ (вид сбоку), где:
– корпус индикатора 6,
– поглотитель 11,
– лента термического ионизатора 12,
– выступы 14,
– фокусирующий электрод 15,
– анодная диафрагма 16,
– прямоугольное отверстие 17 в анодной диафрагме 16,
– входной фланец 18,
– круглое отверстие 19 в корпусе индикатора 6,
– прямоугольная камера индикатора 20 (зазор масс-спектрометра 5),
– отсек 21 камеры индикатора 20,
– коллектор 22,
– контактный штырь 23 для подключения коллектора 22 к электрометрическому усилителю (не показан),
– электрические контакты 24 для подключения ленты термического ионизатора 12 и фокусирующего электрода 15 к источникам питания (не показаны),
– элемент крепления 25 фокусирующего электрода 15 к корпусу индикатора 6.
На фиг.5 показаны экспериментальная и расчетная функции токопрохождения для АЛТ-прототипа, где:
– расчетная функция токопрохождения 1,
– экспериментальная функция токопрохождения 2,
– ширина S экспериментальной зоны токопрохождения.
На фиг.6 показаны результаты компьютерного моделирования ионного потока в стационарном электромагнитном поле электродов индикатора и масс-спектрометра предлагаемой АЛТ, где:
– цилиндрические поверхности корпуса индикатора 6, ограничивающие отсек 21 камеры индикатора 20,
– лента термического ионизатора 12,
– фокусирующий электрод 15,
– прямоугольное отверстие 17 в анодной диафрагме 16,
– круглое отверстие 19 в корпусе индикатора 6,
– ионный поток 26,
– полюсные наконечники 27,
– постоянные магниты 28,
– магнитопровод 29.
На фиг.7 показаны траектории ионного потока в предлагаемой АЛТ, где:
– цилиндрические поверхности корпуса индикатора 6,
– активная поверхность 13 ленты термического ионизатора 12 (эмиттер ионов),
– выступы 14,
– прямоугольное отверстие 17 в анодной диафрагме 16,
– круглое отверстие 19 в корпусе индикатора 6,
– коллектор ионов 22,
– ионный поток 26.
На фиг.8 показана функция токопрохождения предлагаемой АЛТ, рассчитанная методом компьютерного моделирования.
Пример
Предлагаемая АЛТ на пучке атомов цезия содержит расположенные в корпусе 1: источник атомного пучка 2, системы селекции атомных состояний атомов цезия 3, систему магнитной защиты 4, магнитный масс-спектрометр 5, индикатор атомного пучка в корпусе 6, магнитный электроразрядный насос 8, СВЧ-резонатор 9, соленоид слабого однородного магнитного поля 10, поглотители паров цезия 11. Индикатор атомного пучка выполнен как один из возможных конструктивных вариантов, представленных на фиг.3 и фиг.4. Индикатор содержит: входной фланец 18 для присоединения корпуса индикатора 6 к узлу системы селекции атомных состояний атомов цезия 3, круглое отверстие 19 диаметром D=5 мм, выполненное в торцевой части корпуса 6 для пропускания атомного пучка в камеру 20 индикатора (магнитный зазор масс-спектрометра 5), отсек 21 камеры 20 для размещения коллектора 22, коллектор 22, контактный штырь 23 для соединения коллектора 22 с электрометрическим усилителем коллекторного ионного тока 7, анодную диафрагму 16, имеющую прямоугольное отверстие 17 размером 2,5×6,0 мм2, фокусирующий электрод 15 с щелевым отверстием шириной p=19 мм и выступами 14 толщиной t=1 мм, ограничивающими ширину p щелевого отверстия фокусирующего электрода 15 до ширины h=8 мм. Внутри щелевого отверстия расположена лента 12 термического ионизатора шириной w=1,1 мм. Линия симметрии щелевого отверстия фокусирующего электрода 15 и линия симметрии ленты ионизатора 12 находятся в одной плоскости. Облучаемая атомным пучком активная поверхность 13 (эмиттер ионов) ленты ионизатора 12 имеет ширину w и длину L, равную диаметру отверстия 19 (L=D). На задней стенке корпуса 6 индикатора, обращенной в сторону ленты ионизатора 12, установлен поглотитель 11. К изолированным от корпуса электрическим контактам 24 подключены источники питания. С помощью элемента крепления 25 фокусирующий электрод 15 соединен с корпусом индикатора 6. Геометрические параметры фокусирующего электрода 15 составляют:
p/w=17,27; h/w=7,27; t/w=0,9.
Масс-спектрометр 5 содержит два постоянных магнита 28 размером 20×20×5 мм3 из сплава SmCo5 и два полюсных наконечника 27 такого же размера, замкнутых магнитопроводом 29 и выполненных из железа «армко». Полюсные наконечники 27 охватывают с двух сторон стенки прямоугольной камеры индикатора 20 и формируют в ней однородное магнитное поле, равное 4335 Гс, направленное перпендикулярно движению ионного пучка и отклоняющее ионный пучок в сторону коллектора 22.
АЛТ работает следующим образом.
Источник атомного пучка 2 формирует коллимированный атомный пучок цезия, проходящий через резонатор 9, помещенный в слабое однородное магнитное поле соленоида 10. В исходном состояния атомы равновероятно распределены по всем магнитным состояниям (m-состояниям) нижнего энергетического уровня. Атомы цезия, вылетающие из источника 2, сортируются по магнитным квантовым состояниям первым селектором атомных состояний (первым магнитом системы магнитного отклонения 3 или первой камерой с оптической селекцией атомных состояний атомов цезия) и пролетают через резонатор 9. Взаимодействие с СВЧ-полем изменяет их магнитное квантовое состояние. Второй селектор атомных состояний (второй магнит системы магнитного отклонения 3 или вторая камера с оптической селекцией атомных состояний атомов цезия) служит для селекции атомов, совершивших заданные переходы. Атомы цезия, совершившие заданные переходы, проходят сквозь отверстия 19 и 17 и попадают на раскаленною до температуры 1000-1200°C активную поверхность 13 тонкой танталовой ленты 12 (термический ионизатор). На ней с эффективностью, близкой к 100%, происходит поверхностная термическая ионизация атомов цезия, в результате которой образуется поверхностный слой положительных однозарядных ионов цезия. При подаче на ленту термического ионизатора 12 и фокусирующий электрод 15 потенциалов, положительных по отношению к анодной диафрагме 16 (корпусу индикатора 6), на поверхности ленты ионизатора 12 создается ускоряющее электрическое поле, под воздействием которого ионы цезия двигаются по направлению к анодной диафрагме 16. В результате в области ленты термического ионизатора 12 и фокусирующего электрода 15 формируется ленточный ионный поток 26. Длина ионного потока 26 равна длине L активной части 13 ленты термического ионизатора 12, облучаемой атомным пучком, и соответствует диаметру D отверстия 19 (L=D), а толщина потока 26 равна ширине w ленты термического ионизатора 12. Благодаря действию электрического поля, которое создается между термическим ионизатором 12 и фокусирующим электродом 15, обеспечивается компенсация силы расталкивания пространственного заряда положительно заряженных ионов и осуществляется транспортировка ионного потока 26 сквозь прямоугольное отверстие 17 анодной диафрагмы 16 в камеру 20 (магнитный зазор масс-спектрометра 5). В камере 20 под воздействием поперечного магнитного поля ионный поток 26 отклоняется в направлении, перпендикулярном направлению движения атомного пучка, проходит в отсек 21 камеры 20 и улавливается коллектором 22. Образующиеся в процессе работы индикатора ионы посторонних атомов с массой, отличной от массы ионов цезия, отделяются из потока ионов цезия и осаждаются на стенки камеры 20. Атомы цезия, пролетающие мимо ленты термического ионизатора 12, улавливаются поглотителем 11. Ионный ток коллектора усиливается с помощью электрометрического усилителя (на фиг.4 не показан) и подается в качестве управляющего сигнала на вход системы автоматической подстройки частоты. Система автоматической подстройки частоты, управляемая выходным сигналом АЛТ, обеспечивает стабильность частоты стандарта.
Возможность реализации изобретения подтверждена методом компьютерного моделирования. Расчет электрических и магнитных полей, создаваемых системой электродов с заданными потенциалами и магнитной системой масс-спектрометра, а также расчет ионных траекторий проводился с использованием трехмерных математических моделей. Геометрические размеры системы задавались в декартовой системе координат XYZ, ориентированной таким образом, что ось Z направлена вдоль оси индикатора, ось X – перпендикулярно направлению расположения ленты термического ионизатора 12, ось Y – вдоль ленты термического ионизатора 12 по линии ее симметрии. Линейные размеры заданы в миллиметрах.
В результате исследования АЛТ, выполненной в соответствии с прототипом [2], получены экспериментальная 1 и расчетная 2 функции токопрохождения для АЛТ-прототипа [2] (фиг.5).
Фокусирующий электрод 15 в АЛТ-прототипе [2] выполнен без выступов 14 и, кроме того, величина отношения ширины р отверстия фокусирующего электрода 15 к ширине w=1,1 мм ленты ионизатора много меньше по сравнению с заданным условием согласно предлагаемому изобретению (15,0 p/w 20,0) и составляет p/w=3,45. Сравнение расчета и эксперимента для АЛТ-прототипа [2] проводилось при потенциале ионизатора Uи=+13,3 В, ионном токе I=1,1·10-11 А и индукции поля масс-спектрометра В=4335 Гс. В расчете учитывалось изменение потенциала по длине ленты ионизатора, вызванное прохождением постоянного тока накала. По оси ординат функции Т=f( Uи-ф)|U=const отложена величина токопрохождения T на коллектор, равная отношению тока коллектора Iкол к току I термического ионизатора (Т=Iкол/I, %), а по оси абсцисс – разность потенциалов между ионизатором и фокусирующим электродом Uи-ф(В). Для экспериментальной кривой 1 на оси абсцисс отмечены точки Uи-ф|мин и Uи-ф|макс, ограничивающие зону по 90% уровню токопрохождения, а также точка Uи-ф|опт=( Uи-ф|макс+ Uи-ф|мин)/2, соответствующая центру зоны токопрохождения. Отмечена также ширина зоны токопрохождения S= Uи-ф|макс– Uи-ф|мин, в пределах которой токопрохождение Т 90%. Расчетная и экспериментальная функции токопрохождения имеют максимум, быстрый спад до нуля в области Uи-ф< Uи-ф|мин и медленный спад в области Uи-ф> Uи-ф|макс. Из приведенных на фиг.5 данных расчета и эксперимента следует, что ширина зоны токопрохождения АЛТ-прототипа [2] составляет S=1,0 В, т.е. находится в известном [3] диапазоне 0,8-1,0 В. Смещение центров расчетной и экспериментальной зон токопрохождения и отличия в крутизне убывания справа и слева от точки оптимума Uи-ф|опт связано с допусками на межэлектродные размеры в индикаторе и на задаваемые в расчетах характеристики магнитных свойств материалов масс-спектрометра, а также влиянием КРП.
Предлагаемая АЛТ исследовалась путем компьютерного моделирования ионного потока в стационарном электромагнитном поле электродов индикатора и масс-спектрометра (фиг.6).
В верхней части фиг.6 (фиг.6а) показана пространственная конфигурация ионного потока 26, сформированного совместно действующими электрическим полем электродов индикатора и магнитным полем масс-спектрометра. Геометрические размеры фокусирующего электрода и индикатора заданы в соответствии с фиг.3 и фиг.4. Индукция магнитного поля В=4335 Гс. Потенциалы ленты ионизатора 12 и фокусирующего электрода 15 заданы равными Uи=+13,3 В и Uф=+12,3 В соответственно. Потенциалы всех остальных электродов индикатора (корпуса 6 анодной диафрагмы 16 и коллектора 22) заданы равными нулю, т.е. потенциалу Земли. Величина ионного тока, отбираемого с активной поверхности 13 ленты ионизатора, задана равной I=1,1·10-11 А. Плотность ионного тока на поверхности эмиттера задана постоянной. Отмечено положение ионного потока 26 относительно фокусирующего электрода 15, ленты ионизатора 12 и фрагментов корпуса индикатора 6 (прямоугольного отверстия 17, круглого отверстия 19, цилиндрических поверхностей той части корпуса, в которой расположен коллектор 22).
В нижней части фиг.6 (фиг.6б) показано положение ионного потока 26 относительно элементов масс-спектрометра 5: постоянных магнитов 28, полюсных наконечников 27 и магнитопровода 29.
На фиг.7 показаны проекции ионных траекторий на две плоскости Y0Z и X0Z, иллюстрирующие особенности формирования ионного потока в индикаторе предлагаемой АЛТ.
Траектории ионов, показанные в верхней части фиг.7, иллюстрируют характер деформации длины ленточного ионного потока 26 под воздействием отклоняющего магнитного поля масс-спектрометра 5 (поля В=4335 Гс). В момент старта ионного потока с поверхности эмиттера 13 находящиеся на его противоположных краях ионы движутся в отклоняющем магнитном поле масс-спектрометра 5 по двум окружностям, которые имеют одинаковую величину циклотронного радиуса, но их центры смещены в направлении координаты YY на расстояние L=5 мм, равное расстоянию между ионами в момент их старта. Поэтому их траектории пересекаются в области коллекторной камеры 20. Таким образом длина (в направлении координаты YY) ионного потока 26 сначала уменьшается до некоторого минимального размера («кроссовера») в районе пересечения траекторий, а потом начинает увеличиваться. Для исключения оседания ионов на стенки корпуса 6 после прохождения ионами области «кроссовера» коллектор ионов 22 должен быть расположен на минимальном расстоянии от плоскости «кроссовера».
Траектории ионов в нижней части фиг.7 иллюстрируют процесс фокусировки ионного потока 26 по его толщине (в направлении координаты XX). В момент старта толщина ионного потока равна ширине ленты ионизатора 12 (w=1,1 мм). По мере удаления от поверхности ленты ионизатора 12 толщина ионного потока 26 меняется под воздействием фокусирующего электрического поля в области между лентой термического ионизатора 12, фокусирующим электродом 15 с выступами 14 и анодной диафрагмой 16 с отверстием 17. При потенциале ионизатора Uи=+13,3 В и фокусирующего электрода Uф=+12,3 В толщина ионного потока 26 на пути движения ионного потока в направлении коллектора 22 меняется незначительно, при этом обеспечивается полное прохождение ионного потока 26 на коллектор 22. При ослаблении фокусирующей силы (уменьшении разности потенциалов Uи-ф) толщина потока в области между лентой ионизатора 12 и анодной диафрагмой 16 увеличивается и периферийная часть ионного потока «вырезается» отверстием 17 анодной диафрагмы 16. При усилении фокусирующего действия поля (увеличении разности потенциалов Uи-ф) в области между лентой ионизатора 12 и анодной диафрагмой 16 толщина потока резко уменьшается, происходит сжатие ионного потока 26 по его толщине, что приводит к образованию второго «кроссовера» в направлении по оси XX, расположенного в пространстве между лентой ионизатора 12 и анодной диафрагмой 16. По мере увеличения фокусирующей силы область «кроссовера» перемещается в направлении к поверхности ленты ионизатора. По мере приближения области «кроссовера» к ленте ионизатора толщина ионного потока в плоскости анодной диафрагмы 16 значительно увеличивается и его периферийная часть перехватывается анодной диафрагмой 16. При достижении определенной величины разности потенциалов Uи-ф происходит полное «запирание» эмиттера 13 собственным пространственным зарядом ионного потока.
Условия для выбора оптимальных размеров электродов индикатора, заданные в предлагаемом изобретении, определены на основе траекторного анализа, отдельные примеры которого приведены на фиг.6 и фиг.7.
На фиг.8 показана функция токопрохождения Т=f( Uи-ф)|U=const предлагаемой АЛТ, рассчитанная методом компьютерного моделирования.
Расчеты проводились при тех же стандартных условиях (потенциале ионизатора Uи=+13,3 В, величине ионного тока I=1,1·10-11 А, индукции поля масс-спектрометра поля В=4335 Гс). Геометрические параметры фокусирующего электрода 15 были заданы: p/w=17,27, h/w=7,27, t/w=0,91, что удовлетворяет заданным условиям согласно предлагаемому изобретению.
В отличие от прототипа [2] функция T=f( Uи-ф)|U=const предлагаемой АЛТ имеет широкий почти плоский участок в окрестности точки оптимума Uи-ф|опт=-3,3 В и, по сравнению с АЛТ-прототипом [2], в 4 раза большую ширину зоны токопрохождения S=4,0 В. Быстрый спад токопрохождения в области Uи-ф< Uи-ф связан с перефокусировкой ионного потока в направлении его толщины. Падение до нуля тока коллектора связано с полным запиранием эмиттирующей поверхности эмиттера 13 пространственным зарядом положительных однозарядных ионов цезия. Плавное снижение токопрохождения в области Uи-ф> Uи-ф|макс связано с недостаточной фокусировкой ионного потока 26 в направлении его толщины и оседанием части ионного потока 26 на анодную диафрагму 16. При настройке индикатора по центру зоны токопрохождения, т.е. в точке Uи-ф|опт=-3,3 В, токопрохождение в предлагаемой АЛТ не ухудшится даже при маловероятном изменении разности потенциалов между ионизатором и фокусирующим электродом в пределах ±2,0 В. Следовательно, в предлагаемой АЛТ заведомо исключается влияние дестабилизирующего влияния КРП. Имеющийся «запас» по ширине зоны токопрохождения позволяет также ослабить влияние на токопрохождение и параметры АЛТ других дестабилизирующих факторов, связанных с возможными изменениями индукции магнитного поля масс-спектрометра и межэлектродных расстояний в индикаторе.
Таким образом, предлагается атомно-лучевая трубка на пучке атомов цезия для бортовых квантовых дискриминаторов частоты, обладающая повышенной устойчивостью к дестабилизирующим факторам, улучшенными метрологическими характеристиками за счет применения камер с оптической селекцией атомных состояний атомов цезия, уменьшенными шумами и улучшенной стабильностью коэффициента усиления усилителя коллекторного ионного тока за счет применения электрометрического усилителя, увеличенным сроком службы и улучшенным показателем долговременной относительной нестабильности.
Источники информации
[1]. Стандарты частоты и времени на основе квантовых генераторов и дискриминаторов / Под ред. Б.Г.Фатеева, с.137-138.
[2]. И.И.Самарцев. Атомно-лучевые цезиевые трубки. Сборник лекций в 6-ти томах, под общей редакцией д.т.н. А.Н.Королева. ФГУП «НПП «ИСТОК» 2004 г., с.205-223.
[3]. Б.М.Царев. Расчет и конструирование электронных ламп. Госэнергоиздат, М., Л., с.163-171.
[4]. С.А.Плешанов, И.И.Самарцев, Ю.А.Турутин. Цезиевая атомно-лучевая трубка с оптической селекцией атомных состояний на входе в СВЧ-резонатор. Электронная техника, сер.1, СВЧ-техника, вып.1 (489), 2007, с.87-92.
[5]. Е.И.Абрамов, Н.П.Лобанов, С.А.Плешанов, И.Плюснина, И.И.Самарцев. Атомно-лучевая трубка с повышенной устойчивостью к воздействию магнитных полей. Электронная техника, сер.1, СВЧ-техника, вып.2 (446), 1992, с.11-14.
[6]. Analysis, Design and Performance of Cesium beam frequency Standard. Fujitsu Scientific Technical Journal, December, 1984, pp.492-496.
Формула изобретения
1. Атомно-лучевая трубка на пучке атомов цезия, содержащая установленные в корпусе источник атомного пучка, системы селекции атомных состояний атомов цезия, систему магнитной защиты, СВЧ-резонатор, соленоид слабого однородного магнитного поля, магнитный масс-спектрометр, магнитный электроразрядный насос, поглотители паров цезия, расположенные в вакуумной части корпуса вдоль пути следования атомного пучка, индикатор атомного пучка, содержащий корпус с внутренней перегородкой в виде плоской диафрагмы с отверстием, являющейся анодом, фокусирующий электрод с плоским щелевым отверстием, термический ионизатор в виде металлической ленты, расположенной внутри щелевого отверстия фокусирующего электрода таким образом, что линия симметрии щелевого отверстия фокусирующего электрода и линия симметрии ленты ионизатора находятся в одной плоскости, поглотитель паров цезия, коллектор для сбора ионов, усилитель коллекторного ионного тока, отличающаяся тем, что на противоположных плоских поверхностях щелевого отверстия фокусирующего электрода со стороны анода выполнены идентичные выступы в виде пластин толщиной t, ограничивающих ширину p щелевого отверстия фокусирующего электрода до ширины h, при этом толщина t пластин, ширина h щелевого отверстия между пластинами и ширина p щелевого отверстия фокусирующего электрода определяются из условий: 15 p/w 20, 5 h/w 10, 0,8 t/w 1,0, где w – ширина ленты ионизатора.
2. Атомно-лучевая трубка на пучке атомов цезия по п.1, отличающаяся тем, что в качестве систем селекции атомных состояний использована первая и/или вторая камера с оптической селекцией атомных состояний атомов цезия.
3. Атомно-лучевая трубка на пучке атомов цезия по любому из пп.1 и 2, отличающаяся тем, что в качестве усилителя коллекторного ионного тока использован вторичный электронный умножитель.
4. Атомно-лучевая трубка на пучке атомов цезия по любому из пп.1 и 2, отличающаяся тем, что в качестве усилителя коллекторного ионного тока использован электрометрический усилитель.
РИСУНКИ
|
|