|
|
(21), (22) Заявка: 2008116983/06, 04.05.2008
(24) Дата начала отсчета срока действия патента:
04.05.2008
(43) Дата публикации заявки: 10.11.2009
(46) Опубликовано: 20.05.2010
(56) Список документов, цитированных в отчете о поиске:
RU 2127399 C1, 10.03.1999. RU 2013691 C1, 30.05.1994. RU 2180074 C1, 27.02.2002. SU 735865 A, 25.05.1980. DE 3222408 A1, 15.12.1983. US 6237512 B1, 29.05.2001.
Адрес для переписки:
196105, Санкт-Петербург, Яковлевский пер., 11, ООО “ЭнергоКапитал-Инновации”
|
(72) Автор(ы):
Новиков Илья Николаевич (RU), Новиков Николай Николаевич (RU)
(73) Патентообладатель(и):
Общество с ограниченной ответственностью “ЭнергоКапитал-Инновации” (RU)
|
(54) СПОСОБ СЖИГАНИЯ ТОПЛИВА В ЦИКЛОННОМ ПРЕДТОПКЕ КОТЛА И ПРЕДТОПОК ДЛЯ ЕГО ОСУЩЕСТВЛЕНИЯ
(57) Реферат:
Изобретение может найти применение в котлах для одновременного или попеременного сжигания жидкого и газообразного топлива с пылеобразным твердым топливом. При сжигании топливо газифицируют, дожигают и охлаждают, при этом процессы дожигания и охлаждения совмещают. Процесс газификации разделяют на непосредственно процесс газификации и процесс горения. В качестве первичного дутья в процессе газификации используют один или несколько потоков продуктов сгорания жидкого и/или газообразного топлива, которые разгоняют с формированием периферийного высокотемпературного сильно закрученного потока, в который подают пылеобразное твердое топливо. В качестве первичного дутья в процессе горения используют воздух, формирующий приосевой сильно закрученный поток, охватываемый периферийным высокотемпературным сильно закрученным потоком продуктов сгорания первичного дутья и продуктов газификации, и взаимодействующий с ним. В приосевой поток вводят жидкое или газообразное топливо, смешивают его с воздухом процесса горения и с продуктами процесса газификации, сжигают образовавшуюся смесь, а продукты сгорания подают на процесс дожигания и охлаждения. Циклонный предтопок содержит установленные соосно камеру газификации и камеру дожигания. Камера газификации имеет зону газификации, ограниченную ее внутренней поверхностью, и зону горения, расположенную в приосевой части камеры газификации. Камера газификации содержит цилиндрический корпус с тангенциальными соплами для подачи первичного дутья, входной торец и открытый выходной торец, соединенный с камерой дожигания, снабженной тангенциальными соплами для подвода воздуха. На цилиндрической поверхности корпуса расположены одна или несколько форкамер, соединенных с источниками воздуха и жидкого или газообразного топлива, и одна или несколько форсунок для подачи пылеобразного твердого топлива. Тангенциальные сопла камеры газификации одновременно являются соплами форкамер. Изобретение позволяет уменьшить габариты и массу предтопка, обеспечить более полное сгорание топлива и расширить область его применения. 2 н. и 19 з.п. ф-лы, 2 ил.
Предполагаемое изобретение относится к области энергетики и может найти применение в котлах для одновременного или попеременного сжигания жидкого и газообразного топлива с пылеобразным твердым топливом.
Известен способ сжигания топлива в циклонном предтопке, при котором воздух от внешнего источника одновременно подают тангенциально для формирования сильно закрученного периферийного потока и аксиально с последующей его закруткой – для приосевого сильно закрученного потока, в которые подают топливо (см. патент RU 2180074 С1, 2002.02.27).
Известен также способ сжигания топлива в циклонном предтопке котла, при котором горячий газ отбирают из топки котла, формируют из него сильно закрученный горячий поток, в который подают сжигаемое топливо, газифицируют поток, формируют топливовоздушную смесь, которую сжигают с последующим дожиганием продуктов сгорания, затем горячие газы подают в топку котла, при этом формирование и сжигание топливовоздушной смеси и дожигание продуктов сгорания осуществляют в сильно закрученных потоках воздуха, которые создают за счет тангенциальной подачи воздуха (см. патент RU 2013691 С1, 1994.05.30).
Из известных способов сжигания топлива в циклонном предтопке котла наиболее близким заявляемому является способ, описанный в патенте RU 2127399 С1, 1999.03.10. По этому способу топливо сжигают в камере газификации и дожигают продукты газификации в камере дожигания, в которых создают сильно закрученные потоки за счет тангенциальной подачи соответственно первичного (воздуха или паровоздушной смеси) и вторичного (воздуха) дутья, а топочные газы охлаждают в камере дожигания.
Известные способы сжигания топлива в циклонных предтопках котла не обеспечивают высокой полноты сгорания топлива и, как следствие, не позволяют уменьшить габариты и массу циклонного предтопка и котла, кроме того, они не позволяют одновременно или попеременно сжигать жидкое и/или газообразное топливо, и одновременно с ними сжигать твердое пылевидное топливо, что значительно сужает область применения известных способов.
Известен циклонный предтопок котла, содержащий соосно расположенные камеры газификации и дожигания с тангенциальными соплами первичного и вторичного дутья соответственно, при этом тангенциальные сопла вторичного дутья ориентированы в сторону камеры газификации, поперечный размер которой больше поперечного размера камеры дожигания, и/или эти камеры отделены пережимом с каналами, ориентированными по направлению подачи вторичного дутья (см. патент RU 2127399 С1, 1999.03.10).
Известный циклонный предтопок имеет ряд существенных недостатков:
– значительные габариты и масса предтопка из-за невысокой эффективности процесса газификации и полноты сгорания топлива;
– узкая область применения предтопка, обусловленная невозможностью использования предтопка для сжигания твердого пылевидного топлива.
Известен также циклонный предтопок котла, содержащий патрубок подвода воздуха, камеру сгорания с тангенциальными соплами подачи воздуха, форсунку с периферийным завихрителем, устройство подвода газа в патрубок и за завихритель, причем площадь выходного сечения тангенциальных сопел уменьшается с увеличением расстояния от форсунки, а устройство подвода газа выполнено в виде трубопровода и двух газовых коллекторов (см. патент RU 2180074 С1, 2002.02/27).
Известный предтопок из-за отсутствия камеры газификации не позволяет одновременно или попеременно сжигать жидкое и газообразное топливо с твердым пылеобразным топливом.
Из известных циклонных предтопков котлов наиболее близким заявляемому является предтопок, содержащий соединенные пережимом горизонтальные камеры горения и дожигания, снабженные тангенциальными соплами для подвода воздуха, соосную камеру газификации с выходными тангенциальными соплами, на выходе из которых расположен кольцевой канал, при этом камера газификации, имеющая входной и открытый выходной торцы, последним сообщена с камерой горения, а вокруг камеры газификации в зоне входного торца расположен кольцевой смеситель инертных горячих газов, подключенный при помощи выходных тангенциальных сопел к камере газификации, во входном торце которой соосно с ней расположена горелка (см. патент RU 2013691 С1, 1994.05.30).
Известный циклонный предтопок имеет ряд существенных недостатков:
– значительные габариты и масса предтопка;
– невысокая полнота сгорания топлива;
– узкая область применения предтопка из-за невозможности одновременного или попеременного сжигания жидкого и газообразного топлива и одновременного сжигания с ними твердого пылевидного топлива.
Техническая задача, которую решает предполагаемое изобретение, – это обеспечение более полного сгорания топлива и, как следствие, уменьшение габаритов и массы циклонного предтопка и расширение области применения способа и предтопка путем обеспечения одновременного или попеременного сжигания жидкого и/или газообразного топлива и одновременного сжигания с ними пылеобразного твердого топлива.
Техническая задача решается тем, что способ сжигания топлива в циклонном предтопке, при котором топливо газифицируют, дожигают и охлаждают в сильно закрученных потоках, формируемых тангенциальной подачей первичного дутья в процессе газификации и вторичного дутья (воздуха) в процессах дожигания и охлаждения, при этом процессы дожигания и охлаждения совмещают, отличается тем, что процесс газификации разделяют на два – непосредственно на процесс газификации и процесс горения, при этом в качестве первичного дутья в процессе газификации используют один или несколько потоков продуктов сгорания жидкого или газообразного топлива, которые разгоняют с формированием периферийного высокотемпературного сильно закрученного потока, в который подают пылеобразное твердое топливо, а в качестве первичного дутья в процессе горения используют воздух, формирующий приосевой сильно закрученный поток, охватываемый периферийным высокотемпературным сильно закрученным потоком продуктов сгорания первичного дутья и продуктов газификации, и взаимодействующий с ним, при этом в приосевой поток вводят жидкое и/или газообразное топливо, смешивают с воздухом процесса горения и с продуктами процесса газификации, сжигают образовавшуюся смесь, а продукты сгорания подают на процесс дожигания и охлаждения. Для формирования периферийного высокотемпературного сильно закрученного потока используют один или несколько потоков продуктов сгорания жидкого и/или газообразного топлива, при этом поток продуктов сгорания формируют со скоростью от =0,2 до =1, где – отношение скорости потока продуктов сгорания к местной скорости звука, и с коэффициентом избытка воздуха более 1,05. В способе подачу пылеобразного твердого топлива осуществляют перпендикулярно окружной скорости периферийного высокотемпературного сильно закрученного потока или перпендикулярно осевой скорости потока продуктов сгорания первичного дутья, при этом осуществляют пневматическую подачу топлива под давлением не менее 0,2 МПа. При сжигании тяжелого вязкого топлива осуществляют пневматическое распыливание топлива с давлением не менее давления подаваемого топлива. При подаче потока вторичного дутья (воздуха) сформированный периферийный сильно закрученный поток охватывает приосевой поток продуктов сгорания, поступающий на процессы дожигания и охлаждения.
Циклонный предтопок котла, содержащий установленные соосно камеру газификации и камеру дожигания, при этом камера газификации имеет цилиндрический корпус с тангенциальными соплами для подачи первичного дутья, входной торец и открытый выходной торец, соединенный с камерой дожигания, снабженной тангенциальными соплами для подвода воздуха, отличается тем, что внутренняя поверхность камеры газификации, содержащей зону газификации и зону горения, ограничивает зону газификации, в приосевой части которой расположена зона горения, а на цилиндрическом корпусе расположены одна или несколько форкамер, соединенных с источниками воздуха и жидкого или газообразного топлива, и одна или несколько форсунок для подачи пылеобразного твердого топлива, при этом тангенциальные сопла камеры газификации являются одновременно соплами форкамер. Входной торец камеры газификации снабжен установленными соосно с ней форсункой и завихрителем, охватывающим форсунку. Завихритель входного торца камеры газификации выполнен лопаточным, а наружный диаметр завихрителя равен 0,5-0,6 диаметра отверстия открытого выходного торца камеры газификации. Форсунки подачи пылеобразного твердого топлива установлены перпендикулярно цилиндрической поверхности корпуса камеры газификации, при этом центральная ось форсунок подачи пылеобразного твердого топлива перпендикулярна центральной оси тангенциальных сопел камеры газификации. При сжигании тяжелого вязкого топлива форсунки выполнены пневматическими. Диаметр отверстия открытого выходного торца равен 0,5-0,8 внутреннего диаметра цилиндрического корпуса камеры газификации. Внутренний диаметр камеры дожигания равен 1-1,4 диаметра отверстия открытого выходного торца камеры газификации, а внутренняя поверхность камеры дожигания выполнена цилиндрической или диффузорной, или конфузорной. Угол раскрытия внутренней поверхности входного торца камеры газификации равен 90-180 градусов, а угол закрытия внутренний поверхности выходного торца камеры газификации составляет 90-120 градусов.
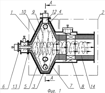
Предполагаемое изобретение поясняется чертежами, где на фиг.1 дан продольный разрез циклонного предтопка, на фиг.2 – разрез по А-А.
Способ осуществляют следующим образом. Одновременно и попеременно подают на сжигание жидкое и газообразное топливо и одновременно с ним подают пылеобразное твердое топливо, которое предварительно газифицируют. Из подаваемого топлива и продуктов газификации формируют топливовоздушные смеси, которые поджигают, сжигают, дожигают и охлаждают в сильно закрученных потоках, формируемых тангенциальной подачей первичного дутья в процессе газификации и вторичного дутья – воздуха в процессах дожигания и охлаждения, при этом процессы дожигания и охлаждения совмещают. Процесс газификации разделяют на два – непосредственно процесс газификации и процесс горения. В качестве первичного дутья, осуществляющего процесс газификации, используют один или несколько потоков продуктов сгорания жидкого и/или газообразного топлива, которые формируют со скоростью от =0,2 до =1,0, где – отношение скорости потока продуктов сгорания к местной скорости звука. Тангенциальная подача первичного дутья в процессе газификации приводит к формированию периферийного высокотемпературного сильно закрученного потока смеси первичного дутья, газифицируемого топлива и продуктов газификации, перпендикулярно окружной скорости которого или перпендикулярно осевой скорости потока продуктов сгорания первичного дутья осуществляют пневматическую подачу пылеобразного твердого топлива в камеру газификации под давлением не менее 0,2 МПа. При сжигании тяжелого вязкого топлива используют пневматическое распыливание топлива с давлением не менее давления подаваемого топлива. Поток продуктов сгорания формируют с коэффициентом избытка воздуха более 1,05. В качестве первичного дутья в процессе горения используют воздух, формирующий приосевой сильно закрученный поток, охватываемый периферийным высокотемпературным сильно закрученным потоком продуктов сгорания первичного дутья и продуктов газификации, и взаимодействующий с ним. В приосевой поток вводят жидкое и/или газообразное топливо, смешивают его с воздухом процесса горения и с продуктами процесса газификации, сжигают образовавшуюся смесь, а продукты сгорания подают на процесс дожигания и охлаждения. Тангенциально поданный поток вторичного дутья (воздуха) формирует периферийный сильно закрученный поток воздуха, который охватывает приосевой поток продуктов сгорания, поступающий на процесс дожигания и охлаждения. В результате процессов тепломассообмена между периферийным и приосевым потоками на выходе из камеры дожигания формируется поток продуктов сгорания заданной структуры, состава и температуры.
Разделение процесса газификации способствует повышению качества подготовки газифицированного топлива путем его гомогенизации и, тем самым, повышению качества процесса горения, то есть обеспечению высокой полноты сгорания газифицированного топлива. Использование в качестве первичного дутья процесса газификации одного или нескольких потоков продуктов сгорания жидкого и/или газообразного топлива способствует интенсификации процесса газификации и, как следствие, увеличению скорости гомогенизации топлива, что обеспечивает высокую полноту сгорания газифицированного топлива. Широкий уровень скоростей первичного дутья приводит к широкому диапазону окружных скоростей периферийного потока и, как следствие, к широкому интервалу величин радиального и осевого градиентов статического давления, а также уровня центробежных сил, действующих на твердые частицы. Выбор верхней или нижней границы скоростей зависит от размеров частиц пылеобразного твердого топлива, типа топлива и расхода газифицируемого топлива. При уменьшении размера частиц в сжигаемом топливе или при использовании топлива низкой плотности, или при пониженном расходе топлива можно использовать нижнюю границу скорости и, тем самым, снизить давление воздуха, подаваемого на процесс формирования продуктов сгорания первичного дутья, при этом завершить процесс газификации топлива. При увеличении размера частиц или при использовании топлива повышенной плотности, или при повышенном расходе топлива необходимо использовать верхнюю границу скорости и, тем самым, увеличить уровень центробежных сил, действующих на твердые частицы в зоне газификации. Это приведет к увеличению времени пребывания частиц в высокотемпературном потоке, интенсификации процессов дробления твердых частиц, что необходимо для завершения процесса газификации топлива. От завершения процесса газификации топлива зависит качество процесса горения, определяющее полноту сгорания топлива. Широкий интервал величин радиального и осевого градиентов статического давления способствует расширению интервала расхода эжектируемого воздуха, поступающего в процессе горения в приосевую часть зоны горения, а также созданию зоны циркуляции горячих продуктов сгорания в направлении навстречу подаваемых в процессе горения топлива и воздуха. Обеспечение верхней границы скорости способствует увеличению расхода воздуха, подаваемого в зону горения, увеличению радиуса и длины зоны циркуляции. Обеспечение нижней границы скорости приводит к уменьшению расхода воздуха, снижению радиуса и длины зоны циркуляции. Следовательно, выбор границы скорости зависит от свойств подаваемого топлива и определяет качество процессов газификации и горения и полноту сгорания этого топлива в зоне горения. Формирование потока продуктов сгорания – первичного дутья с коэффициентом избытка воздуха более 1,05, обеспечивает получение высокотемпературного потока, в котором осуществляют процесс газификации твердого топлива. Избыток воздуха в первичном дутье способствует осуществлению окислительных реакций в газифицируемом топливе и, тем самым, поддержанию необходимой температуры газификации. Верхняя граница коэффициента избытка воздуха зависит от физико-химических свойств газифицируемого топлива и технологии осуществления процессов газификации и горения, определяющих качество процесса горения и полноту сгорания. Использование воздуха повышенного давления не менее 0,2 МПа в процессе подачи пылеобразного твердого топлива позволяет осуществлять необходимую радиальную пробиваемость струи топлива в поток продуктов сгорания первичного дутья, что способствует процессам смешения его с высокотемпературным потоком продуктов сгорания – первичного дутья и, как следствие, интенсификации процессов газификации твердого топлива. Все выше указанные признаки в совокупности с известными обеспечивают более полное сгорание топлива.
Использование в процессе горения воздуха в виде приосевого сильно закрученного потока, охватываемого периферийным потоком продуктов сгорания первичного дутья и продуктов газификации, подачи в него жидкого и/или газообразного топлива и продуктов газификации, сжигание образовавшейся смеси обеспечивает одновременное или попеременное сжигание различных по фазному состоянию топлив, с обеспечением высокой полноты сгорания, что значительно расширяет область применения способа.
Циклонный предтопок котла содержит (см. фиг.1) установленные соосно камеру газификации 1 и камеру дожигания 2. Камера газификации 1 имеет цилиндрический корпус 3 с тангенциальными соплами 4 для подачи первичного дутья, входной торец 5 с установленной в нем соосно форсункой 6 и открытый выходной торец 7, соединенный с камерой дожигания 2, которая снабжена тангенциальными соплами 8 для подвода воздуха. Камера газификации содержит соосно расположенные с ней зону газификации 9 и зону горения 10. Внутренняя поверхность камеры 1 ограничивает зону газификации 9, в приосевой части которой расположена зона горения 10. На цилиндрическом корпусе 3 расположены (см. фиг.2) одна или несколько форкамер 11, соединенных с источниками воздуха и жидкого или газообразного топлива, и одна или несколько форсунок 12 для подачи пылеобразного твердого топлива. Тангенциальные сопла 4 камеры газификации 1 являются одновременно соплами форкамер 11. На входном торце 5 камеры газификации 1 соосно с ней установлен завихритель 13, охватывающий форсунку 6. Завихритель 13 выполнен лопаточным, а наружный диаметр завихрителя равен 0,5-0,6 диаметра отверстия открытого выходного торца 7 камеры газификации 1. Такое выполнение наружного диаметра завихрителя 13 вызвано необходимостью обеспечения заданной структуры потока и расхода воздуха в приосевом закрученном потоке зоны горения 10. Верхняя граница диаметра завихрителя приводит к увеличению расхода воздуха через завихритель, увеличению радиуса и длины циркуляционного течения в приосевом потоке зоны горения, нижняя граница – уменьшению расхода воздуха через завихритель, уменьшению радиуса и длины циркуляционного течения. Следовательно, выбор размера наружного диаметра завихрителя 13 зависит от свойств подаваемого через форсунку 6 топлива и определяет качество процесса горения и полноту сгорания этого топлива в зоне горения 10. Форсунки 12 подачи пылеобразного твердого топлива установлены перпендикулярно цилиндрической поверхности корпуса 3 камеры 1, при этом центральная ось форсунок 12 перпендикулярна центральной оси тангенциальных сопел 4 камеры 1. При сжигании тяжелого вязкого топлива форсунки 12 выполнены пневматическими. Диаметр отверстия открытого выходного торца 7 равен 0,5-0,8 внутреннего диаметра цилиндрического корпуса 3 камеры 1. Выбор размера диаметра зависит от размера частиц пылеобразного топлива, его физических свойств и расхода. При уменьшении размера частиц в сжигаемом топливе или при использовании топлива низкой плотности, или при пониженном расходе топлива используют верхнюю границу диаметра, что уменьшает размеры зоны газификации 9, необходимые для завершения процесса газификации топлива. При увеличении размера частиц или при использовании топлива повышенной плотности, или при повышенном расходе топлива используют нижнюю границу диаметра, что увеличивает размеры зоны газификации, необходимые для завершения процесса газификации топлива. От завершения процесса газификации топлива зависит качество процесса горения в зоне 10, определяющее полноту сгорания топлива. Диаметр внутренней поверхности 14 камеры дожигания 2 равен 1-1,4 диаметра открытого выходного торца 7 камеры 1. Максимальный размер диаметра внутренней поверхности камеры дожигания 2 используют при максимальной подаче воздуха через тангенциальные сопла 8, которая необходима для получения заданной температуры продуктов сгорания на выходе из камеры дожигания 2. Минимальный размер диаметра внутренней поверхности камеры дожигания 2 используют при минимальной подаче воздуха через сопла 8. Внутренняя поверхность 14 камеры 2 может быть или цилиндрической, или диффузорной, или конфузорной. При цилиндрической внутренней поверхности 14 камеры дожигания 2 поток продуктов сгорания уменьшает среднюю осевую скорость, что обусловлено снижением температуры потока и, как следствие, уменьшением объемного расхода. При диффузорном выполнении внутренней поверхности 14 наблюдается еще большее снижение осевой скорости. При конфузорном выполнении внутренней поверхности 14 поток ускоряется, что приводит к увеличению коэффициента теплоотдачи от продуктов сгорания к нагреваемому теплоносителю в котле, присоединенному к предтопку и, как следствие, снижению габаритов и массы котла. Угол раскрытия внутренней поверхности входного торца 5 камеры 1 равен 90-180 градусов. Минимальный размер угла раскрытия выполняют при угле раскрытия топливного факела не более 90 градусов и неиспользовании эжекционных свойств в приосевом потоке зоны горения, а максимальный размер угла раскрытия – при угле раскрытия топливного факела не менее 120 градусов и использовании эжектирования воздуха в приосевой поток зоны горения. Угол закрытия внутренней поверхности открытого выходного торца 7 равен 90-120 градусов. Минимальный размер угла закрытия выполняют при уменьшении размера частиц в сжигаемом топливе, или при использовании топлива низкой плотности, или при пониженном расходе топлива. Это приводит к уменьшению времени пребывания газифицируемой частицы в зоне газификации 9 за счет увеличения осевых скоростей на выходе из зоны газификации 9. Максимальный размер угла закрытия выполняют при увеличении размера частиц или при использовании топлива повышенной плотности. Это приводит к увеличению времени пребывания газифицируемой частицы в зоне газификации 9 за счет увеличения окружных скоростей в зоне газификации 9 и, как следствие, к увеличению центробежных сил, действующих на частицы газифицируемого топлива. От завершения процесса газификации топлива зависит качество процесса горения в зоне горения 10, определяющее полноту сгорания топлива.
Циклонный предтопок работает следующим образом. К камере газификации 1 и камере дожигания 2 от внешних источников подводят воздух. Воздух, поданный к камере газификации, делят на два потока, которые формируют в камере газификации две соосные зоны – зону газификации 9 и зону горения 10. Один поток воздуха поступает в одну или несколько форкамер 11, в которые одновременно подается жидкое и/или газообразное топливо. В каждой форкамере 11 формируется топливовоздушная смесь, которая поджигается и сжигается с коэффициентом избытка воздуха не менее 1,05. Образующиеся высокотемпературные продукты сгорания топливовоздушной смеси разгоняются в тангенциальных соплах 4 до безразмерных скоростей от =0,2 до =1,0, где – отношение скорости потока продуктов сгорания к местной скорости звука, и в качестве первичного дутья вводятся в зону газификации 9. Внутри зоны 9 формируется высокотемпературный сильно закрученный поток продуктов сгорания – первичное дутье с высоким радиальным градиентом статического давления. Благодаря радиальной составляющей скорости периферийный закрученный поток перемещается по направлению к центральной оси зоны горения 10, индуцируя в ней приосевой закрученный поток, в который подается другой поток воздуха. Наличие радиального градиента статического давления приводит к созданию осевого градиента статического давления, направленного в сторону камеры дожигания 2, что способствует эжектированию воздуха, поступающего от внешнего источника в приосевой поток зоны горения 10.
При наличии во входном торце камеры газификации форсунки 6 поданное в нее жидкое и/или газообразное топливо поступает в зону горения 10 – в приосевой сильно закрученный поток воздуха, в виде мелкодисперсного топливного факела. В зоне горения 10 формируется топливовоздушная смесь из продуктов газификации зоны 9, подводимого в зону горения 10 воздуха и топлива из форсунки 6. Эта смесь воспламеняется, участвуя в процессе горения зоны 10. Продукты сгорания из зоны 10 перемещаются в направлении камеры дожигания 2 в виде закрученного потока. После завершения процесса соединения продукты сгорания поступают в камеру дожигания 2 для формирования потока заданной структуры, состава и температуры. Подача топлива через форсунку 6 увеличивает тепловую мощность продуктов горения, поступающих в камеру дожигания 2. Применение завихрителя 13 способствует интенсификации закрутки приосевого закрученного потока зоны горения 10, увеличению размеров циркуляционного течения в приосевом потоке зоны горения 10, повышению качества процессов тепломассообмена и, тем самым, увеличению полноты сгорания топлива.
При сжигании пылеобразного твердого топлива с жидким или газообразным топливом в одну или несколько форсунок 12 перпендикулярно окружной скорости периферийного высокотемпературного сильно закрученного потока или перпендикулярно осевой скорости потока продуктов сгорания первичного дутья пневматически под давлением не менее 0,2 МПа подают пылеобразное твердое топливо. Использование воздуха повышенного давления в процессе подачи пылеобразного твердого топлива позволяет осуществить необходимую пробиваемость струи топлива в поток продуктов сгорания первичного дутья, что способствует процессу газификации пылеобразного твердого топлива. Пылеобразное топливо поступает в зону газификации 9, в высокотемпературный сильно закрученный поток первичного дутья, где подвергается газификации, а продукты газификации из зоны газификации 9 перемещаются в зону горения 10. В приосевом потоке зоны горения 10 формируется топливовоздушная смесь из продуктов газификации зоны 9 и подаваемого в зону горения 10 воздуха. Топливовоздушная смесь воспламеняется от продуктов горения и участвует в процессе горения зоны 10. Продукты сгорания из зоны 10 перемещаются в направлении камеры дожигания 2 в виде сильно закрученного потока. Воздух через тангенциальные сопла 8 поступает в камеру дожигания 2, формируя сильно закрученный периферийный поток воздуха. После завершения процесса соединения продукты сгорания поступают в камеру дожигания 2 для формирования потока заданной структуры, состава и температуры. При сжигании тяжелого вязкого топлива в качестве форсунок 12 и форсунки 6 используются пневматические форсунки с внешним источником сжатого воздуха. Это способствует улучшению качества распыливания топлива, а следовательно, повышению качества процесса горения и полноты сгорания топлива в предтопке.
Таким образом, введенные в способ сжигания топлива в циклонном предтопке и в циклонный предтопок новые отличительные признаки в совокупности с известными признаками позволяют обеспечить более полное сжигание топлива, уменьшить габариты и массу циклонного предтопка и расширить область применения способа и предтопка путем обеспечения одновременного или попеременного сжигания жидкого и газообразного топлива и одновременного сжигания с ними пылеобразного твердого топлива.
Формула изобретения
1. Способ сжигания топлива в циклонном предтопке, при котором топливо газифицируют, дожигают и охлаждают в сильно закрученных потоках, формируемых тангенциальной подачей первичного дутья в процессе газификации и вторичного дутья (воздуха) в процессах дожигания и охлаждения, при этом процессы дожигания и охлаждения совмещают, отличающийся тем, что процесс газификации разделяют на два – непосредственно на процесс газификации и процесс горения, при этом в качестве первичного дутья в процессе газификации используют один или несколько потоков продуктов сгорания жидкого и/или газообразного топлива, которые разгоняют с формированием периферийного высокотемпературного сильно закрученного потока, в который подают пылеобразное твердое топливо, а в качестве первичного дутья в процессе горения используют воздух, формирующий приосевой сильно закрученный поток, охватываемый периферийным высокотемпературным сильно закрученным потоком продуктов сгорания первичного дутья и продуктов газификации, и взаимодействующий с ним, при этом в приосевой поток вводят жидкое или газообразное топливо, смешивают с воздухом процесса горения и с продуктами процесса газификации, сжигают образовавшуюся смесь, а продукты сгорания подают на процесс дожигания и охлаждения.
2. Способ по п.1, отличающийся тем, что поток продуктов сгорания формируют со скоростью от =0,2 до =1, где – отношение скорости потока продуктов сгорания к местной скорости звука.
3. Способ по п.1, отличающийся тем, что поток продуктов сгорания формируют с коэффициентом избытка воздуха более 1,05.
4. Способ по п.1, отличающийся тем, что подачу пылеобразного топлива осуществляют перпендикулярно окружной скорости периферийного высокотемпературного сильно закрученного потока.
5. Способ по п.4, отличающийся тем, что подачу пылеобразного твердого топлива осуществляют перпендикулярно осевой скорости потока продуктов сгорания первичного дутья.
6. Способ по п.5, отличающийся тем, что при сжигании пылеобразного твердого топлива осуществляют пневматическую подачу его в камеру газификации под давлением не менее 0,2 МПа.
7. Способ по п.1, отличающийся тем, что при сжигании тяжелого вязкого топлива осуществляют пневматическое распыливание топлива с давлением не менее давления подаваемого топлива.
8. Способ по п.1, отличающийся тем, что при подаче потока вторичного дутья (воздуха) сформированный периферийный сильно закрученный поток охватывает приосевой поток продуктов сгорания, поступающий на процесс дожигания и охлаждения.
9. Циклонный предтопок котла, содержащий установленные соосно камеру газификации и камеру дожигания, при этом камера газификации имеет цилиндрический корпус с тангенциальными соплами для подачи первичного дутья, входной торец и открытый выходной торец, соединенный с камерой дожигания, снабженной тангенциальными соплами для подвода воздуха, отличающийся тем, что внутренняя поверхность камеры газификации, содержащей зону газификации и зону горения, ограничивает зону газификации, в приосевой части которой расположена зона горения, а на цилиндрическом корпусе расположены одна или несколько форкамер, соединенных с источниками воздуха и жидкого или газообразного топлива, и одна или несколько форсунок для подачи пылеобразного твердого топлива, при этом тангенциальные сопла камеры газификации являются одновременно соплами форкамер.
10. Циклонный предтопок по п.9, отличающийся тем, что входной торец камеры газификации снабжен установленной в нем соосно форсункой.
11. Циклонный предтопок по п.10, отличающийся тем, что входной торец камеры газификации снабжен установленным с ним соосно завихрителем, охватывающим форсунку.
12. Циклонный предтопок по п.11, отличающийся тем, что завихритель входного торца выполнен лопаточным.
13. Циклонный предтопок по п.12, отличающийся тем, что наружный диаметр завихрителя равен 0,5-0,6 диаметра отверстия открытого выходного торца камеры газификации.
14. Циклонный предтопок по п.9, отличающийся тем, что форсунки подачи пылеобразного твердого топлива установлены перпендикулярно цилиндрической поверхности корпуса камеры газификации.
15. Циклонный предтопок по п.14, отличающийся тем, что центральная ось форсунок подачи пылеобразного твердого топлива перпендикулярна центральной оси тангенциальных сопел камеры газификации.
16. Циклонный предтопок по п.9, отличающийся тем, что при сжигании тяжелого вязкого топлива форсунки выполнены пневматическими.
17. Циклонный предтопок по п.9, отличающийся тем, что диаметр отверстия открытого выходного торца равен 0,5-0,8 внутреннего диаметра цилиндрического корпуса камеры газификации.
18. Циклонный предтопок по п.9, отличающийся тем, что внутренний диаметр камеры дожигания равен 1-1,4 диаметра отверстия открытого выходного торца камеры газификации.
19. Циклонный предтопок по п.18, отличающийся тем, что внутренняя поверхность камеры дожигания выполнена цилиндрической, или диффузорной, или конфузорной.
20. Циклонный предтопок по п.9, отличающийся тем, что угол раскрытия внутренней поверхности входного торца камеры газификации равен 90-180°.
21. Циклонный предтопок по п.9, отличающийся тем, что угол закрытия внутренней поверхности выходного торца камеры газификации составляет 90-120°.
РИСУНКИ
|
|