|
|
(21), (22) Заявка: 2007147697/06, 24.12.2007
(24) Дата начала отсчета срока действия патента:
24.12.2007
(43) Дата публикации заявки: 27.06.2009
(46) Опубликовано: 20.05.2010
(56) Список документов, цитированных в отчете о поиске:
DE 10135215 C1, 25.07.2002. RU 2132989 C1, 10.07.1999. RU 2072465 C1, 27.01.1997. GB 2349685 A, 08.11.2000. FR 1014834 A, 22.08.1952. DE 3600130 A, 09.07.1987. DE 19507089 A1, 05.09.1996. EP 0217321 A2, 08.04.1987. WO 2007/070212 A1, 21.06.2007.
Адрес для переписки:
129327, Москва, а/я 64, Н.А. Туленинову
|
(73) Патентообладатель(и):
Общество с ограниченной ответственностью “СТП-РЕГИОН” (RU)
|
(54) ТЕРМОРЕГУЛЯТОР
(57) Реферат:
Изобретение относится к области арматуростроения и предназначено для регулирования расхода текучих сред в устройствах отопительной системы теплоснабжения помещений. Терморегулятор содержит корпус с шарообразной средней частью, входным и выходным патрубками. На противоположном конце от входного патрубка в корпусе выполнен резьбовой патрубок. В него завинчен терморегулирующий клапан. Упомянутые патрубки сообщены с внутренней полостью шарообразной средней части. Внутренняя поверхность входного патрубка выполнена с цилиндрическим участком большого диаметра и цилиндрическим участком меньшего диаметра. Указанные участки расположены последовательно от центра шарообразной средней части корпуса к концу входного патрубка. Между шарообразной средней частью и цилиндрическим участком большого диаметра входного патрубка выполнена большая коническая поверхность, сужающаяся в сторону конца входного патрубка. Между цилиндрическим участком большого диаметра входного патрубка и цилиндрическим участком меньшего диаметра входного патрубка выполнена меньшая коническая поверхность, сужающаяся в сторону конца входного патрубка. Шарообразная средняя часть корпуса, входной патрубок и резьбовой патрубок образуют собой одну цельную штампованную деталь, выполненную из свариваемого материала. Выходной патрубок врезан в шарообразную среднюю часть корпуса и прикреплен к этой части корпуса сваркой. Терморегулирующий клапан имеет рабочие конические поверхности. Они последовательно расположены от одного конца клапана в сторону его средней части. Конические поверхности клапана расположены с возможностью взаимодействия с соответствующими коническими поверхностями корпуса. Изобретение направлено на повышение надежности работы корпуса. 1 з.п. ф-лы, 3 ил.
Данное техническое решение относится к средствам регулирования расхода текучих сред, в частности к терморегуляторам, имеющим терморегулирующие клапаны, установленные в корпусах, соединенных с трубами системы отопления помещений, причем клапаны предназначены для регулировки расхода теплоносителя, а их корпуса включают, по крайней мере, один входной и один выходной патрубки для введения в корпус и выведения из него текучей среды, а также патрубок для крепления в корпусе регулирующего клапана.
Известны терморегуляторы, каждый из которых содержит корпус и установленный в нем терморегулирующий клапан (RU 2132989, 10.07.1999; DE 3600130 А1, 1987; DE 1198633 A, 1965; SU 1020677 A, 1983).
Известен корпус терморегулятора системы отопления, содержащий среднюю часть, цилиндрический резьбовой патрубок под терморегулирующий клапан, входной и выходной патрубки, при этом средняя часть и патрубки выполнены из не свариваемого сплава металла (RU 2072465, 27.01.1997), в результате чего для соединения такого корпуса с трубами системы отопления необходимо применение соединительных штуцеров, что снижает надежность работы системы.
Известен отопительный конвектор с терморегулятором, включающим корпус, имеющий среднюю часть, входной и выходной патрубки и резьбовой патрубок для крепления в нем терморегулирующего клапана, при этом корпус выполнен литым из сплава, входной и выходной патрубки на наружной поверхности имеют резьбу (RU 2272224 С2, 20.10.2005).
Известен отопительный конвектор, в котором имеется корпус терморегулятора с входным и выходным патрубками и резьбовым патрубком, в котором расположен терморегулирующий клапан (RU 16306, 20.12.2000).
Известен нагревательный прибор, в котором имеется стальной корпус терморегулятора, включающий входной и выходной патрубки и резьбовой патрубок под терморегулирующий клапан (DE 19507089 A1, 05.09.1996).
Известен терморегулятор, содержащий корпус с входным и выходным резьбовыми патрубками и патрубком, в котором расположен терморегулирующий клапан (WO 94/27095, 24.11.1994).
Известен корпус терморегулятора, содержащий входные и выходные патрубки с резьбой на внешней поверхности и патрубком под терморегулирующий клапан (GB 2349685 A, 08.11.2000).
Известны терморегуляторы различной конструкции (Радиаторные терморегуляторы RTD. Техническое описание. Каталог ЗАО «Danfoss», 2000 г., с.3-34).
Известен терморегулятор, содержащий корпус с входным и выходным патрубками и резьбовой патрубок, в котором завинчен терморегулятор, при этом корпус выполнен стальным, а входной и выходной патрубки имеют разделку под сварку, посредством которой корпус соединяют с входной и выходной трубами системы отопления (WO 00/55548, 21.09.2000).
Известен терморегулятор, содержащий корпус, имеющий среднюю шарообразную часть, входной и выходной патрубки и резьбовой патрубок с резьбой на внутренней поверхности, в которую завинчен терморегулирующий клапан, при этом корпус выполнен из свариваемого материала для обеспечения его соединения сваркой с входным и выходным патрубками корпуса (DE 10135215 С1, 25.07.2002).
Техническим результатом представленного решения является повышение надежности работы терморегулятора.
Указанный результат получен терморегулятором, содержащим корпус, имеющий шарообразную среднюю часть, входной и выходной патрубки, на противоположном конце от входного патрубка выполнен резьбовой патрубок, в который завинчен терморегулирующий клапан, патрубки сообщены с внутренней полостью шарообразной средней части, во входном патрубке на его внутренней поверхности выполнены цилиндрический участок большего диаметра и цилиндрический участок меньшего диаметра, указанные участки расположены последовательно от центра шарообразной средней части корпуса к концу входного патрубка, между шарообразной средней частью и цилиндрическим участком большого диаметра входного патрубка выполнена большая коническая поверхность, сужающаяся в сторону конца входного патрубка, между цилиндрическим участком большого диаметра входного патрубка и цилиндрическим участком меньшего диаметра входного патрубка выполнена меньшая коническая поверхность, сужающаяся в сторону конца входного патрубка, шарообразная средняя часть корпуса, входной патрубок и резьбовой патрубок образуют собой одну цельную штампованную деталь, выполненную из свариваемого материала, выходной патрубок врезан в шарообразную среднюю часть корпуса и прикреплен к этой части корпуса сваркой, терморегулирующий клапан имеет рабочие конические поверхности, последовательно расположенные от одного конца клапана в сторону его средней части, конические поверхности клапана расположены с возможностью взаимодействия с большой и меньшей коническими поверхностями корпуса.
Конические поверхности корпуса образованы обработанными гладкими фасками, концентрически расположенными по отношению к резьбовому патрубку, при этом максимальный диаметр D1 меньшей конической поверхности меньше минимального диаметра D2 большей конической поверхности.
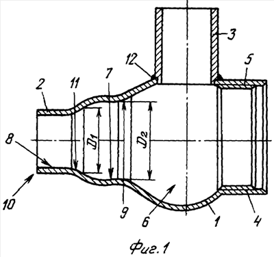
На фиг.1 показан корпус терморегулятора в разрезе,
на фиг.2 – терморегулирующий клапан,
на фиг.3 – терморегулятор в сборе.
Терморегулятор состоит из двух разъемных узлов, одним из которых является корпус терморегулятора (фиг.1), а вторым узлом является установленный в корпусе терморегулирующий клапан (фиг.2).
Корпус терморегулятора содержит шарообразную среднюю часть 1 (фиг.1), входной патрубок 2 и выходной патрубок 3, при этом на противоположном конце от входного патрубка 2 выполнен резьбовой патрубок 4. На внутренней поверхности последнего нарезана резьба 5 под терморегулирующий клапан.
Патрубки 2, 3 и 4 сообщены с внутренней полостью 6 шарообразной средней части 1. Во входном патрубке 2 на его внутренней поверхности выполнены цилиндрический участок 7 большого диаметра и цилиндрический участок 8 меньшего диаметра. Эти участки расположены последовательно от центра шарообразной средней части 1 корпуса к концу входного патрубка 2. Между шарообразной средней частью 1 и цилиндрическим участком 7 большого диаметра входного патрубка выполнена большая коническая поверхность 9, сужающаяся в сторону конца 10 входного патрубка 2. Между цилиндрическим участком 7 большого диаметра входного патрубка 2 и цилиндрическим участком 8 меньшего диаметра входного патрубка 2 выполнена меньшая коническая поверхность 11, сужающаяся в сторону конца входного патрубка 2. Шарообразная средняя часть 1 корпуса, входной патрубок 2 и резьбовой патрубок 4 образуют собой одну цельную штампованную деталь, выполненную из свариваемого материала, а выходной патрубок 3 врезан в шарообразную среднюю часть 1 корпуса и прикреплен к этой части корпуса сваркой 12. Конические поверхности 9 и 12 корпуса образованы обработанными гладкими фасками, концентрически расположенными по отношению к резьбовому патрубку 4. Максимальный диаметр D1 меньшей конической поверхности 11. (фиг.1) меньше минимального диаметра D2 большей конической поверхности 9.
В корпусе терморегулятора установлен терморегулирующий клапан 13 (фиг.2, 3), который имеет рабочие конические поверхности 14, 15 и 16, последовательно расположенные от конца терморегулятора в сторону его средней части, а также осевой канал 17, сообщенный с окнами 18, а также уплотнительные кольца 19. Между коническими указанными поверхностями клапана имеются кольцевые канавки 20, 21 и 22. Уплотнительные кольца 19 расположены в канавках 20 и 22.
Клапан имеет подпружиненный шток 23, перемещаемый в осевом направлении вдоль клапана путем поворота съемной головки клапана (не показана). Шток связан с запорным элементом клапана, регулирующим проходное сечение осевого канала 17 клапана.
Работает терморегулятор следующим образом.
Сваркой соединяют входной патрубок 2 и выходной патрубок 3 с подающей и отводящей трубами системы отопления. Завинчивают терморегулирующий клапан (фиг.2) в резьбу 5 резьбового патрубка 4. В результате уплотнительные кольца 19 контактируют с соответствующими поверхностями корпуса, сжимаются и уплотняют соединения корпуса и клапана. При этом конические поверхности 14 и 15 клапана контактируют с конической поверхностью 11 корпуса через уплотнительное кольцо 19. При дальнейшем завинчивании клапана уплотнительное кольцо сжимается и обеспечивает герметизацию клапана в корпусе терморегулятора.
Поворотом головки терморегулирующего клапана 13 перемещают шток 23 и изменяют проходное сечение на выходе осевого канала 17 и при этом изменяют расход теплоносителя, поступающего из входного патрубка 2 в выходной патрубок 3 корпуса через осевой канал 17 и окна 18 клапана. При этом происходит регулировка подачи тепла в выходной патрубок 3, который сообщен с теплообменником системы отопления помещения и соответственно происходит регулировка тепла в обогреваемом помещении. При этом давление теплоносителя воспринимается корпусом терморегулятора и сварными швами, посредством которых патрубки корпуса соединены с подающей и отводящей трубами системы обогрева.
Разность диаметров D1 и D2 обеспечивает возможность обработки поверхностей 9 и 11 за один проход инструмента, наличие цилиндрических участков 7 и 8 разного диаметра обеспечивает облегчение штамповки корпуса и существенно повышает прочность корпуса, которая обеспечивает возможность уменьшения его металлоемкости, при этом шарообразная средняя часть корпуса создает необходимый поворот теплоносителя под прямым углом от входного патрубка в сторону выходного патрубка с минимальными гидравлическими потерями, а также возможность технологичности врезки резьбового патрубка 3 в корпус терморегулятора. Благодаря изготовлению корпуса терморегулятора из свариваемого материала, исключены штуцерные соединения корпуса с трубами системы отопления, что в значительной мере повышает надежность работы корпуса за счет исключения разъемных соединений, существенно упрощает конструкцию корпуса при высокой степени технологичности изготовления и повышает надежность работы терморегулятора в целом путем исключения возможных утечек теплоносителя через штуцерные соединения.
Формула изобретения
1. Терморегулятор, характеризующийся тем, что он содержит корпус, имеющий шарообразную среднюю часть, входной и выходной патрубки, на противоположном конце от входного патрубка выполнен резьбовой патрубок, в который завинчен терморегулирующий клапан, патрубки сообщены с внутренней полостью шарообразной средней части, во входном патрубке на его внутренней поверхности выполнены цилиндрический участок большего диаметра и цилиндрический участок меньшего диаметра, указанные участки расположены последовательно от центра шарообразной средней части корпуса к концу входного патрубка, между шарообразной средней частью и цилиндрическим участком большего диаметра входного патрубка выполнена большая коническая поверхность, сужающаяся в сторону конца входного патрубка, между цилиндрическим участком большего диаметра входного патрубка и цилиндрическим участком меньшего диаметра входного патрубка выполнена меньшая коническая поверхность, сужающаяся в сторону конца входного патрубка, шарообразная средняя часть корпуса, входной патрубок и резьбовой патрубок образуют собой одну цельную штампованную деталь, выполненную из свариваемого материала, выходной патрубок врезан в шарообразную среднюю часть корпуса и прикреплен к этой части корпуса сваркой, терморегулирующий клапан имеет рабочие конические поверхности, последовательно расположенные от одного конца клапана в сторону его средней части, конические поверхности клапана расположены с возможностью взаимодействия с большей и меньшей коническими поверхностями корпуса.
2. Терморегулятор по п.1, характеризующийся тем, что конические поверхности корпуса образованы обработанными гладкими фасками, концентрически расположенными по отношению к резьбовому патрубку, при этом максимальный диаметр D1 меньшей конической поверхности меньше минимального диаметра D2 большей конической поверхности.
РИСУНКИ
|
|