|
| На основании пункта 1 статьи 1366 части четвертой Гражданского кодекса Российской Федерации патентообладатель обязуется заключить договор об отчуждении патента на условиях, соответствующих установившейся практике, с любым гражданином Российской Федерации или российским юридическим лицом, кто первым изъявил такое желание и уведомил об этом патентообладателя и федеральный орган исполнительной власти по интеллектуальной собственности. |
|
(21), (22) Заявка: 2008147851/06, 04.12.2008
(24) Дата начала отсчета срока действия патента:
04.12.2008
(46) Опубликовано: 20.05.2010
(56) Список документов, цитированных в отчете о поиске:
SU 1744304 A1, 30.06.1992. RU 2006669 C1, 30.01.1994. RU 20999589 C1, 20.12.1997. RU 2327257 C1, 20.06.2008. US 2007212225 A1, 13.09.2007.
Адрес для переписки:
153000, г.Иваново, ул. Варенцовой, 17/1, кв.7, Ю.А. Щепочкиной
|
(72) Автор(ы):
Щепочкина Юлия Алексеевна (RU)
(73) Патентообладатель(и):
Щепочкина Юлия Алексеевна (RU)
|
(54) ВЕТРОЭНЕРГЕТИЧЕСКАЯ УСТАНОВКА
(57) Реферат:
Изобретение относится к области энергетики, в частности к оборудованию для преобразования ветровой энергии в электрическую. Ветроэнергетическая установка содержит размещенную в центре держателя полую вертикальную опору и вертикальные оси, которые одним концом закреплены в подпятниках держателя, а другим – соединены через муфту с электрическими генераторами, установленными на консоли в верхней части опоры. Вертикальные оси на концах снабжены крестовинами с желобами, прикрепленными к ним по разные стороны с образованием ветровых колес. По меньшей мере, одна из крестовин выполнена в виде воздушного винта. Крестовина в виде воздушного винта может быть образована наклонными к горизонту лопастями, имеющими длину от втулки оси до вершины на выпуклой стороне желоба. В полости вертикальной опоры может быть проложен маслопровод системы принудительной смазки подшипников электрического генератора и/или подпятника. При обеспечении работоспособности независимо от направления ветра установка компактна и проста в изготовлении. 2 з.п. ф-лы, 4 ил.
Изобретение относится к области энергетики, в частности к производству оборудования для получения ветровой энергии.
Известна ветроэнергетическая установка, содержащая вертикальную опору, ветровое колесо, вертикальный, расположенный вдоль опоры вал (ось), электрический генератор, причем один конец вала кинематически связан с электрическим генератором [1].
Задачей изобретения является создание компактной и простой в изготовлении ветроэнергетической установки, работающей независимо от направления ветра.
Технический результат достигается тем, что ветроэнергетическая установка содержит полую вертикальную опору, размещенную в центре держателя, и вертикальные оси, закрепленные одним концом в подпятниках держателя, а другим концом соединенные через муфту с электрическими генераторами, установленными на консоли в верхней части опоры, оси на концах снабжены крестовинами с прикрепленными к ним по разные стороны желобами с образованием ветровых колес, причем, по меньшей мере, одна из крестовин выполнена в виде воздушного винта. Крестовина в виде воздушного винта образована наклонными к горизонту лопастями, имеющими длину от втулки оси до вершины на выпуклой стороне желоба. В полости вертикальной опоры проложен маслопровод системы принудительной смазки подшипников электрического генератора и/или подпятника.
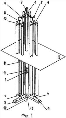
На фиг.1 представлен общий вид ветроэнергетической установки, на фиг.2 изображено сечение фиг.1 горизонтальной плоскостью Q; на фиг.3 изображено размещение конца оси в подпятнике; на фиг.4 показана крестовина, выполненная в виде воздушного винта.
Ветроэнергетическая установка содержит железобетонную опору 1 круглого поперечного сечения с полостью 2, вертикально закрепленную в центре держателя 3. Сверху на опоре закреплены консоли 4, несущие электрические генераторы 5. На держателе закреплены подпятники 6. В каждый подпятник установлена одним концом и вертикально ось 7. Другим концом ось соединена через муфту 8 с электрическим генератором. На концах оси закреплены крестовины 9 с прикрепленными к ним по разные стороны от оси, по меньшей мере, двумя желобами 10. При значительной длине желобов на оси может быть закреплена, но меньшей мере, одна дополнительная крестовина 11, выполненная в виде воздушного винта. Ось, крестовины и желобы образуют ветровое колесо. Одно ветровое колесо может содержать два, три или четыре желоба, а ветроэнергетическая установка два, три или четыре ветровых колеса. Электрический генератор кабелем 12, проходящим в полости опоры и выходящим из нее через отверстие 13, может быть связан с потребителем электрической энергии, например, с электронагревательной системой здания, электродвигателем насосной станции (не показаны). В полости железобетонной опоры может быть проложен маслопровод 14 системы принудительной смазки. Опора может быть оборудована системой защиты от удара молнии (не показана).
Держатель изготовлен из железобетона с закладными деталями для вертикальной установки опоры (не показаны) и отверстиями а для крепления, например, к фундаментным блокам.
Консоли изготовлены из металла, например, методом литья, имеют площадки б для крепления электрического генератора.
Электрический генератор может быть установлен:
– на консоли в верхней части опоры, при этом подпятник может быть закреплен на держателе или консоли, расположенной в нижней части опоры, например, на высоте 2,0 м;
– на консоли в нижней части опоры, например, ни высоте 2,0 м, или на держателе, при этом подпятник закреплен ни консоли в верхней части опоры.
Ось выполнена из металла, может иметь сплошное или кольцевое (труба) поперечное сечение. На нижнем конце оси может быть закреплен защитный кожух (изображен пунктирной линией на фиг 3) от попадания на подпятник или электрический генератор атмосферных осадков.
Крестовины, закрепляемые на концах оси, изготовлены из металла, имеют втулки в и элементы г фиксации. Дополнительные крестовины имеют наклоненные к горизонту, например, под углом 5-15°, лопасти д длиной от втулки до вершины е на выпуклой стороне желоба.
Желоб изготовлен из пластмассы или легкого металла, имеет форму полуцилиндра (разрезанной вдоль тонкостенной трубы большого диаметра) с гладкой поверхностью и скругленным краем ж. Концы желоба имеют скосы з.
Подпятник изготовлен из металла или керамики, имеет полость и для установки подшипника к или образования мясляной ванны. Подпятник имеет элементы крепления (не показаны) к держателю или площадке б консоли.
Все металлические элементы ветрового колеса, консолей изготавливаются из устойчивого к коррозии материала.
Ветроэнергетическую установку (фиг.1) располагают на открытом участке местности с переменным направлением ветра. Держатель 3 устанавливают горизонтально и прикрепляют к фундаментному блоку, используя отверстие а. На держателе закрепляют подпятники 6, в полостях и которых располагают подшипники к или создают масляную ванну. На верхнюю часть опоры 1 устанавливают (надевают) консоли 4, к площадкам б которых крепят электрические генераторы 5. После чего опору с проложенными в ее полости 2 маслопроводом 14 и кабелем 12, выведенным наружу через отверстие 13, устанавливают на держатель. Затем из крестовин 9, желобов 10, дополнительных крестовин 11 и осей 7 собирают ветровые колеса. При этом втулки в фиксируют на оси элементами г. После чего один конец оси устанавливают в подпятник, а другой конец соединяют муфтой 8 с электрическим генератором.
Ветроэнергетическая установка работает следующим образом.
При воздействии воздушного потока ветровое колесо начинает вращаться вследствие того, что давление потока на вогнутую сторону желоба больше, чем на выпуклую сторону. Вследствие разницы давлений воздуха на вогнутую и выпуклую стороны желобов окружная скорость ветрового колеса будет ниже скорости ветра. Скругленные края ж желоба улучшают его аэродинамические качества, а скосы з препятствуют осаждению пыли, снега. При вращении ветрового колеса лопасти д, установленные наклонно между втулкой дополнительной крестовины и вершиной е на выпуклой стороне желоба, создают подъемную силу, уменьшающую осевое давление его (ветрового колеса) массы на подпятник или вал электрического генератора в зависимости от места их расположения.
Ветроэнергетическая установка компактна, проста в изготовлении, имеет неограниченные возможности использования в различных климатических и географических условиях.
Источник информации
1. SU 1744304 А1, 1992.
Формула изобретения
1. Ветроэнергетическая установка, содержащая полую вертикальную опору, размещенную в центре держателя, и вертикальные оси, закрепленные одним концом в подпятниках держателя, а другим концом соединенные через муфту с электрическими генераторами, установленными на консоли в верхней части опоры, оси на концах снабжены крестовинами с прикрепленными к ним по разные стороны желобами с образованием ветровых колес, причем, по меньшей мере, одна из крестовин выполнена в виде воздушного винта.
2. Ветроэнергетическая установка по п.1, отличающаяся тем, что крестовина в виде воздушного винта образована наклонными к горизонту лопастями, имеющими длину от втулки оси до вершины на выпуклой стороне желоба.
3. Ветроэнергетическая установка по п.1, отличающаяся тем, что в полости вертикальной опоры проложен маслопровод системы принудительной смазки подшипников электрического генератора и/или подпятника.
РИСУНКИ
|
|