|
| На основании пункта 1 статьи 1366 части четвертой Гражданского кодекса Российской Федерации патентообладатель обязуется заключить договор об отчуждении патента на условиях, соответствующих установившейся практике, с любым гражданином Российской Федерации или российским юридическим лицом, кто первым изъявил такое желание и уведомил об этом патентообладателя и федеральный орган исполнительной власти по интеллектуальной собственности. |
|
(21), (22) Заявка: 2009100989/06, 15.01.2009
(24) Дата начала отсчета срока действия патента:
15.01.2009
(46) Опубликовано: 20.05.2010
(56) Список документов, цитированных в отчете о поиске:
RU 2298697 C1, 10.05.2007. RU 2304723 C1, 20.08.2007. RU 2062889 C1, 27.06.1996. US 4109754 A, 29.08.1978. DE 1196877 A, 15.07.1965.
Адрес для переписки:
123458, Москва, ул. Твардовского, 11, кв.92, О.С. Кочетову
|
(72) Автор(ы):
Кочетов Олег Савельевич (RU)
(73) Патентообладатель(и):
Кочетов Олег Савельевич (RU)
|
(54) КОМБИНИРОВАННЫЙ ГЛУШИТЕЛЬ ШУМА
(57) Реферат:
Глушитель предназначен для глушения шума. Глушитель содержит цилиндрический корпус, жестко соединенный с торцевым впускным и выпускным патрубками, звукопоглотитель, расположенный между корпусом и перфорированным элементом, и акустически прозрачный материал, расположенный между элементом и звукопоглотителем, причем по оси глушителя установлена звукопоглощающая цилиндрическая вставка, на одной из торцевых сторон вставки закреплен обтекатель конической формы, а вставка прикреплена к впускному и выпускному патрубкам посредством ребер жесткости. Внутри вставки расположен звукопоглотитель и акустически прозрачный материал, расположенный между элементом и звукопоглотителем, звукопоглотитель содержит жесткую стенку, к которой прикреплен профилированный слой, состоящий из звукопоглощающего материала, полученного при чередовании полусферических поверхностей или поверхностей, состоящих из части сферы, таким образом, чтобы между стенкой и слоем звукопоглощающего материала были чередующиеся со сплошными воздушные промежутки, образованные полусферой, а к перфорированному элементу корпуса также прикреплен профилированный слой, состоящий из звукопоглощающего материала, полученного при чередовании полусферических поверхностей или поверхностей, состоящих из части сферы, таким образом, чтобы между перфорированным элементом корпуса с акустически прозрачным материалом и слоем звукопоглощающего материала были чередующиеся со сплошными воздушные промежутки, образованные полусферой, при этом профилированный слой у жесткой стенки является зеркальным отражением профилированного слоя у перфорированного элемента корпуса относительно линии симметрии 0-0 целостного профилированного слоя, выполненного при слиянии слоев таким образом, чтобы впадина одного слоя была расположена против впадины другого, также и выступ одного слоя был расположен против выступа другого слоя, причем слои могут быть прикреплены друг к другу по линии симметрии 0-0, например, при помощи клея, т.е. выполнены как клеевое соединение, либо получены двухсторонним прессованием как целостный профилированный слой. Технический результат – повышение эффективности шумоглушения. 3 ил.
Изобретение относится к технике глушения шума.
Наиболее близким техническим решением по технической сущности является глушитель шума по патенту РФ 2298667, F01N 1/00, 1994 г., содержащий цилиндрический корпус, впускной и выпускной патрубки и звукопоглотитель (прототип).
Недостатком его является сравнительно невысокая эффективность шумоглушения.
Технический результат – повышение эффективности шумоглушения.
Это достигается тем, что в комбинированном глушителе шума, содержащем цилиндрический корпус, жестко соединенный с торцевым впускным и выпускным патрубками, звукопоглотитель, расположенный между цилиндрическим корпусом и перфорированным элементом, и акустически прозрачный материал, расположенный между перфорированным элементом и звукопоглотителем, причем по оси глушителя установлена звукопоглощающая цилиндрическая вставка, на одной из торцевых сторон перфорированной цилиндрической вставки закреплен обтекатель конической формы, а цилиндрическая вставка прикреплена к впускному и выпускному патрубкам посредством, по крайней мере, двух ребер жесткости, расположенных в плоскости, перпендикулярной оси глушителя, причем внутри цилиндрической вставки расположен звукопоглотитель и акустически прозрачный материал, расположенный между перфорированным элементом вставки и звукопоглотителем, звукопоглотитель содержит жесткую стенку, к которой прикреплен профилированный слой, состоящий из звукопоглощающего материала, полученного при чередовании полусферических поверхностей или поверхностей, состоящих из части сферы, таким образом, чтобы между стенкой и слоем звукопоглощающего материала были чередующиеся со сплошными воздушные промежутки, образованные полусферой, а к перфорированному элементу корпуса также прикреплен профилированный слой, состоящий из звукопоглощающего материала, полученного при чередовании полусферических поверхностей или поверхностей, состоящих из части сферы, таким образом, чтобы между перфорированным элементом корпуса с акустически прозрачным материалом и слоем звукопоглощающего материала были чередующиеся со сплошными воздушные промежутки, образованные полусферой.
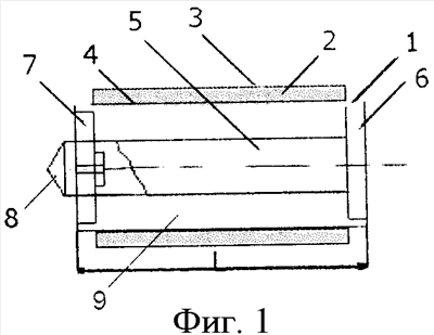
На фиг.1 представлен фронтальный разрез предлагаемого глушителя шума, на фиг.2 – профильная проекция, на фиг.3 – конструкция звукопоглотителя.
Комбинированный глушитель шума содержит цилиндрический корпус 3, жестко соединенный с торцевым впускным и выпускным патрубками 1, звукопоглотитель 2, расположенный между цилиндрическим корпусом 3 и перфорированным элементом 4, и акустически прозрачный материал (на чертеже не показан), расположенный между перфорированным элементом 4 и звукопоглотителем 2, причем по оси глушителя установлена звукопоглощающая цилиндрическая вставка 5. На одной из торцевых сторон перфорированной цилиндрической вставки 5 закреплен обтекатель 8 конической формы, а цилиндрическая вставка прикреплена к впускному и выпускному патрубкам 1 посредством, по крайней мере, двух ребер жесткости 6 и 7, расположенных в плоскости, перпендикулярной оси глушителя, причем внутри цилиндрической вставки 5 расположен звукопоглотитель и акустически прозрачный материал, расположенный между перфорированным элементом вставки и звукопоглотителем. Сопротивление глушителя определяется величиной зазора 9 между внутренним диаметром D цилиндрического корпуса 3 и внешнего диаметра D1 цилиндрической вставки 5.
Отношение внешнего диаметра D1 цилиндрической вставки к внутреннему диаметру D корпуса лежит в оптимальном интервале величин: D1/D=0,56 0,71; а отношение разности внутреннего диаметра D цилиндрического корпуса и внешнего диаметра D1 цилиндрической вставки к длине глушителя L лежит в оптимальном интервале величин: (D-D1)/L=0,11 0,15; а отношение внутреннего диаметра D цилиндрического корпуса к длине глушителя L лежит в оптимальном интервале величин: D/L=0,25 0,5; а отношение внешнего диаметра D1 цилиндрической вставки к длине глушителя L лежит в оптимальном интервале величин: D1/L=0,14 0,36.
Корпус 3 и патрубки 1 выполнены из конструкционных материалов с нанесенным на их поверхности с одной или двух сторон слоем мягкого вибродемпфирующего материала, например мастики ВД-17 или материала типа «Герлен-Д», при этом соотношение между толщинами материала и вибродемпфирующего покрытия лежит в оптимальном интервале величин: 1/(2,5 3,5).
Звукопоглотитель (фиг.3) содержит жесткую стенку 3, к которой прикреплен профилированный слой 10, состоящий из звукопоглощающего материала, полученного при чередовании полусферических поверхностей (или поверхностей, состоящих из части сферы) таким образом, чтобы между стенкой 3 и слоем звукопоглощающего материала были чередующиеся со сплошными воздушные промежутки 12, образованные полусферой.
К перфорированному элементу корпуса 4 также прикреплен профилированный слой 11, состоящий из звукопоглощающего материала, полученного при чередовании полусферических поверхностей (или поверхностей, состоящих из части сферы) таким образом, чтобы между перфорированным элементом корпуса 4 с акустически прозрачным материалом и слоем звукопоглощающего материала 11 были чередующиеся со сплошными воздушные промежутки 13, образованные полусферой. Причем профилированный слой 10 у жесткой стенки 3 является зеркальным отражением профилированного слоя 11 у перфорированного элемента корпуса 4 относительно линии симметрии 0-0 целостного профилированного слоя, выполненного при слиянии слоев 10 и 11 таким образом, чтобы впадина одного слоя была расположена против впадины другого, также и выступ одного слоя был расположен против выступа другого слоя. Причем слои 10 и 11 могут быть прикреплены друг к другу по линии симметрии 0-0, например, при помощи клея, т.е. выполнены как клеевое соединение, либо получены двухсторонним прессованием как целостный профилированный слой.
При этом плотность звукопоглощающего материала профилированных слоев 10 и 11, если они выполнены как клеевое соединение, различна – у слоя, прикрепленного к жесткой стенке 3, она больше, чем у слоя, прикрепленного к перфорированному элементу корпуса 4. Поэтому в качестве звукопоглощающего материала профилированного слоя 10 используется жесткий пористый шумопоглощающий материал, например пеноалюминий, или металлокерамика, или металлопоролон, или звукопоглотитель на основе алюмосодержащих сплавов с последующим наполнением их гидридом титана или воздухом с плотностью в пределах 0,5 0,9 кг/м3 со следующими прочностными свойствами: прочность на сжатие в пределах 5 10 МПа, прочность на изгиб в пределах 10 20 МПа. В качестве звукопоглощающего материала профилированного слоя 11 используется звукопоглотитель из минеральной ваты на базальтовой основе типа «Rockwool», или минеральной ваты типа «URSA», или базальтовой ваты типа П-75, или стекловаты с облицовкой стекловойлоком, или вспененного полимера, например полиэтилена или полипропилена, причем звукопоглощающий элемент по всей своей поверхности облицован акустически прозрачным материалом, например стеклотканью типа ЭЗ-100 или полимером типа «Повиден».
Комбинированный глушитель шума работает следующим образом.
Звуковые волны вместе с турбулентным потоком сжатого воздуха поступают в полость 10 глушителя и взаимодействуют со звукопоглотителем, расположенным в корпусе и цилиндрической вставке 5. Переход звуковой энергии в тепловую (диссипация, рассеивание энергии) происходит в порах звукопоглотителя, представляющих собой модель резонаторов “Гельмгольца”, где потери энергии происходят за счет трения колеблющейся с частотой возбуждения массы воздуха, находящегося в горловине резонатора, о стенки самой горловины, имеющей вид разветвленной сети пор звукопоглотителя. Коэффициент перфорации перфорированного элемента 4 принимается равным или более 0,25. Для предотвращения высыпания мягкого звукопоглотителя предусмотрен акустически прозрачный материал, например стеклоткань типа ЭЗ-100, расположенная между звукопоглотителем 2 и перфорированным элементом 4. Воздушные промежутки 12 и 13 увеличивают эффективность глушения шума на низких и средних частотах, а выполнение профилированных слоев полусферического профиля из звукопоглощающего материала увеличивает поверхность звукопоглощения и тем самым повышает эффективность глушения шума на средних и высоких частотах.
Формула изобретения
Комбинированный глушитель шума, содержащий цилиндрический корпус, жестко соединенный с торцевым впускным и выпускным патрубками, звукопоглотитель, расположенный между цилиндрическим корпусом и перфорированным элементом, и акустически прозрачный материал, расположенный между перфорированным элементом и звукопоглотителем, причем по оси глушителя установлена звукопоглощающая цилиндрическая вставка, на одной из торцевых сторон перфорированной цилиндрической вставки закреплен обтекатель конической формы, а цилиндрическая вставка закреплена к впускному и выпускному патрубкам посредством, по крайней мере, двух ребер жесткости, расположенных в плоскости, перпендикулярной оси глушителя, причем внутри цилиндрической вставки расположен звукопоглотитель, и акустически прозрачный материал, расположенный между перфорированным элементом вставки и звукопоглотителем, отличающийся тем, что звукопоглотитель содержит жесткую стенку, к которой прикреплен профилированный слой, состоящий из звукопоглощающего материала, полученного при чередовании полусферических поверхностей или поверхностей, состоящих из части сферы, таким образом, чтобы между стенкой и слоем звукопоглощающего материала были чередующиеся со сплошными воздушные промежутки, образованные полусферой, а к перфорированному элементу корпуса также прикреплен профилированный слой, состоящий из звукопоглощающего материала, полученного при чередовании полусферических поверхностей или поверхностей, состоящих из части сферы, таким образом, чтобы между перфорированным элементом корпуса с акустически прозрачным материалом и слоем звукопоглощающего материала были чередующиеся со сплошными воздушные промежутки, образованные полусферой, при этом профилированный слой у жесткой стенки является зеркальным отражением профилированного слоя у перфорированного элемента корпуса относительно линии симметрии 0-0 целостного профилированного слоя, выполненного при слиянии слоев таким образом, чтобы впадина одного слоя была расположена против впадины другого, также и выступ одного слоя был расположен против выступа другого слоя, причем слои могут быть прикреплены друг к другу по линии симметрии 0-0, например, при помощи клея, т.е. выполнены как клеевое соединение, либо получены двухсторонним прессованием как целостный профилированный слой.
РИСУНКИ
|
|