Патент на изобретение №2389869

Published by on




РОССИЙСКАЯ ФЕДЕРАЦИЯ



ФЕДЕРАЛЬНАЯ СЛУЖБА
ПО ИНТЕЛЛЕКТУАЛЬНОЙ СОБСТВЕННОСТИ,
ПАТЕНТАМ И ТОВАРНЫМ ЗНАКАМ
(19) RU (11) 2389869 (13) C1
(51) МПК

E21B43/16 (2006.01)
F04F5/00 (2006.01)

(12) ОПИСАНИЕ ИЗОБРЕТЕНИЯ К ПАТЕНТУ

Статус: по данным на 09.08.2010 – действует

(21), (22) Заявка: 2008140641/03, 13.10.2008

(24) Дата начала отсчета срока действия патента:

13.10.2008

(46) Опубликовано: 20.05.2010

(56) Список документов, цитированных в отчете о
поиске:
RU 2088752 C1, 27.08.1997. RU 2046931 C1, 27.10.1995. RU 2181158 C1, 10.04.2002. RU 2181429 C1, 20.04.2002. RU 2066744 C1, 20.09.1996. SU 1718561 A1, 10.11.1995. US 4907964 A, 13.03.1990. КРЮЧКОВ В.И. и др. Водогазовое воздействие на пласт на основе попутного газа как альтернатива заводнению, ж.: Интервал, 4, 5, М., 2004, с.63, 64.

Адрес для переписки:

450077, г.Уфа-77, а/я 716, В.П. Дыбленко

(72) Автор(ы):

Дыбленко Валерий Петрович (RU),
Лысенков Александр Петрович (RU),
Шарифуллин Ришад Яхиевич (RU),
Лукьянов Юрий Викторович (RU),
Хасанов Марс Магнавиевич (RU),
Марчуков Евгений Ювенальевич (RU),
Белобоков Дмитрий Михайлович (RU),
Зацепин Владислав Вячеславович (RU)

(73) Патентообладатель(и):

Дыбленко Валерий Петрович (RU)

(54) СПОСОБ ПРИГОТОВЛЕНИЯ И НАГНЕТАНИЯ ГЕТЕРОГЕННЫХ СМЕСЕЙ В ПЛАСТ И УСТАНОВКА ДЛЯ ЕГО ОСУЩЕСТВЛЕНИЯ

(57) Реферат:

Группа изобретений относится к нефтяной и газодобывающей промышленности и, в частности, к приготовлению и нагнетанию различных смесей рабочих агентов в пласты продуктивных залежей при разработке месторождений. Обеспечивает повышение эффективности способа и расширение функциональных возможностей устройства при уменьшении материальных затрат. Сущность изобретения: в соответствии с изобретениями приготавливают и нагнетают гетерогенные смеси в пласт через, по крайней мере, одну скважину. Обеспечивают смешивание фаз жидкости и газа разного давления эжектированием, достижение определенного объемного соотношения фаз и регулирование данного соотношения. Согласно изобретениям объемное соотношение смешиваемых фаз регулируют и поддерживают с определением их оптимального соотношения в режиме непрерывного мониторинга с обратной связью по линии нагнетания с коэффициентом приемистости скважины и в зависимости от глубины ее интервала перфорации, конструктивных геометрических размеров системы обсадных и насосно-компрессорных труб, давлений в линии подачи фазы жидкости и газа. При этом эжектирование при смешивании производят с автовыбором активной и пассивной фаз по линии обратной связи и создают гидродинамическую нестационарность скоростей и давлений в потоках как при эжектировании, так и при нагнетании смеси в пласт. 2 н. и 16 з.п. ф-лы, 1 ил.

Изобретение относится к нефтяной и газодобывающей промышленности, в частности к способам приготовления и нагнетания различных смесей рабочих агентов в пласты продуктивных залежей, и может быть эффективно использовано при разработке месторождений в целях утилизации попутного нефтяного газа, осуществления водогазового, физико-химического воздействий на подземные пласты для повышения нефтеотдачи, увеличения рентабельности и экологической чистоты проектов добычи, в том числе на нефтяных месторождениях с трудноизвлекаемыми запасами, может быть также эффективно использовано для осуществления операций обработки призабойных зон скважин (ПЗП), связанных с закачкой в скважины пенных систем.

Известны способы приготовления и нагнетания гетерогенных смесей в пласт, при которых перед смешиванием газа различными специальными смесителями с фазой жидкости на устье осуществляют компримирование газовой фазы с использованием специальной наземной компрессорной техники, бустерных насосов и другого оборудования подготовки газа (Патент РФ 2190757, МПК Е21В 43/00, опубл. 10.10.2002, Патент РФ 1538586, МПК Е21В 43/00, опубл. 15.11.1994). Данные способы обеспечивают возможность получения газожидкостных смесей с изменением объемного соотношения фаз в широком диапазоне и напорную подачу полученных смесей в скважины. Однако применение данных способов существенно ограничивают технические и технологические сложности процессов подготовки, транспортировки газа высокого давления и его смешивания с жидкостью, существенные затраты энергии, низкая рентабельность капиталовложений, в особенности для удаленных небольших по размеру залежей. При размещении компрессорно-насосной техники для смешивания на станциях подготовки газа и транспортировки гетерогенных смесей к скважинам происходит расслоение фаз в трубах, вследствие чего существенно снижается приемистость скважин и эффективность воздействия на пласты. Кроме того, процесс смешивания попутного нефтяного газа высокого давления с водой и процесс напорной подачи готовой водогазовой смеси высокого давления с устья на забой скважины осложняются высокой опасностью образования сплошных газогидратных отложений, с закупоркой проточных линий и возникновением аварийных ситуаций.

Известны также способы, при реализации которых приготовление гетерогенных смесей происходит в процессах струйного эжектирования фазы газа низкого давления жидкостью высокого давления (Патент РФ 2170814, МПК Е21В 43/20, опубл. 20.07.2001). Поскольку данные способы используют отбор воды высокого давления из широко развитой инфраструктуры поддержания пластового давления, а технически простые и надежные в работе эжекторные устройства мобильно и компактно размещаются на устье или на забое скважины и не требуют больших затрат на изготовление и обслуживание, то их использование для приготовления и закачки смесей в пласт технологически и экономически перспективно. Однако на практике использование данных способов сопряжено со значительными трудностями и ограничениями. Процесс простого эжектирования не может обеспечить одновременно создания и достаточно большого объемного газосодержания смесей, чтобы покрывать требуемые объемы закачки газа в проектах утилизации газа или водогазового воздействия на пласты, и одновременно достаточно большого давления в смеси – напора для внедрения доставляемой на забой смеси в пласты. В известных способах (Патент РФ 2190760, МПК Е21В 43/20, опубл. 10.10.2002, Патент РФ 2003133235, МПК Е21В 43/20, опубл. 20.04.2005) дополнительно к эжектированию осуществляют последующее поднятие давления уже приготовленных смесей с применением специальных дожимных насосов. При этом появляется возможность закачки смесей с достаточно большим газосодержанием в пласты, но возникают серьезные технологические и экономические ограничения, как и у вышеописанных способов с первичным компримированием газа перед смешиванием. Существуют также ограничения применения данных способов по диапазону геолого-промысловых условий закачки смесей в пласты, как и у способа (Патент РФ 2078200, МПК Е21В 43/18, 43/22, опубл. 27.04.1997), в котором в целях совершенствования технологии, ее удешевления и повышения эффективности закачки осуществляют гравитационное сжатие смеси в стволе скважины, а затем последующее ее «дожатие» на забое скважины струйным инжектором.

Наиболее близким к предлагаемому изобретению является способ (Патент РФ 2088752, МПК Е21В 43/20, опубл. 27.08.1997), включающий смешивание фаз жидкости и газа разного давления эжектированием, достижение определенного объемного соотношения фаз и регулирование данного соотношения. В данном известном изобретении регулирование образования объемного соотношения смешиваемых фаз осуществляется с учетом лишь вязкости пластовой нефти, что по замыслу авторов должно обеспечивать равномерность фронтов вытеснения уже непосредственно в пласте, без прорывов водогазовой смеси к добывающим скважинам, в то же время другие важные геолого-промысловые параметры, которые не только определяют исходный процесс внедрения смесей в призабойные зоны пласта, но и опосредованно сам процесс приготовления гетерогенных смесей, нигде не учитываются. В результате процессы приготовления смесей технологически отрываются от процессов закачки, которые в результате в диапазоне реальных изменений геолого-физических условий скважин происходят неэффективно, не обеспечивают требуемых проектных объемов ни по утилизации попутного газа, ни по оптимальному водогазовому воздействию на пласты.

Известна установка, содержащая последовательно расположенные компрессорный агрегат и винтовой насос, связанные трубопроводом с нагнетательной скважиной, позволяющая создавать водогазовые смеси с широким диапазоном соотношений объемов жидкости и газа и закачивать их в пласт под давлением (Патент РФ 2247831, МПК Е21В 43/24, опубл. 10.03.2005). Использование данной установки ограничивают технологические сложности компрессирования попутного нефтяного газа, существенные затраты энергии для ее работы, низкая рентабельность процессов утилизации попутного газа и водогазового воздействия на пласты.

Наиболее близкой к предлагаемому изобретению является установка для приготовления и нагнетания гетерогенных смесей в пласт через скважины, включающая эжектор с соплом, приемной камерой, камерой смешения, а также линии подвода фаз жидкости и газа и линию нагнетания гетерогенной смеси в скважину и пласт (Патент РФ 2046931, МПК Е21В 43/00, F04F 5/54, опубл. 27.10.1995). Недостатком данной установки является недостаточная стабильность и дисперсность приготавливаемых водогазовых смесей, большая опасность газогидратообразования, существенные ограничения по объему газосодержания и напорному давлению подачи их в скважину, исключающие возможность ее применения для требуемых на практике объемов закачки газа в реальных геолого-физических условиях скважин.

Задачей изобретения является повышение эффективности приготовления и закачки гетерогенных смесей в технологических процессах утилизации попутного газа, водогазового воздействия на пласты, а также обработки ПЗП скважин, при расширении функциональных возможностей и диапазона применимости способа и устройства по геолого-физическим условиям и категориям скважин, уменьшение материальных затрат, упрощение технологии реализации способа и устройства, устранение опасности аварий из-за образования газогидратов, устранение поражения обслуживающего персонала и окружающей среды.

Поставленная задача решается тем, что в известном способе, включающем смешивание фаз жидкости и газа разного давления эжектированием, достижение определенного объемного соотношения фаз и регулирование данного соотношения, согласно изобретению объемное соотношение смешиваемых фаз регулируют и поддерживают с определением их оптимального соотношения в режиме непрерывного мониторинга с обратной связью по линии нагнетания с коэффициентом приемистости скважины и в зависимости от глубины ее интервала перфорации, конструктивных геометрических размеров системы обсадных и насосно-компрессорных труб, давлений в линии подачи фазы жидкости и газа, при этом эжектирование при смешивании производят с автовыбором активной и пассивной фаз по линии обратной связи и создают гидродинамическую нестационарность скоростей и давлений в потоках как при эжектировании, так и при нагнетании смеси в пласт.

Для повышения эффективности способа гетерогенные смеси целесообразно нагнетать в поле упругих колебаний.

При этом для создания наиболее оптимальных условий для эффективного смесеобразования жидких и газовых фаз, а также для улучшения и поддержания приемистости скважин при нагнетании гетерогенных смесей в пласт целесообразно гидродинамическую нестационарность скоростей и давлений в потоках создавать при взаимодействии вихревых закрученных и осевых течений и/или с генерацией в них поля упругих колебаний.

В условиях пониженной приемистости скважин, для глубин залегания пластов более 1000-1200 м, для обеспечения требуемых объемов закачки смесей в пласт целесообразно процесс смешивания фаз и регулирования объемного газосодержания выполнять в два взаимосвязанных этапа, на первом из которых на устье скважины струйным эжектированием осуществлять смешивание фазы жидкости высокого давления и фазы газа низкого давления, а на втором этапе подавать на забой скважины по отдельным линиям полученную на первом этапе газожидкостную смесь и жидкость высокого давления из устьевой линии подачи с последующим повышением напора смеси для закачки ее в пласт.

При повышении напора возможно осуществлять его пульсацию и/или диспергирование газожидкостной смеси.

Напор газожидкостной смеси может быть повышен с помощью использования скважинных поршневых, и/или электроцентробежных, и/или струйных насосов.

Для обеспечения максимального объемного газосодержания при приготовлении смесей целесообразно смешивание струйным эжектированием на устье фазы газа низкого давления и жидкости высокого давления осуществлять в два и более каскада, при этом на первом каскаде жидкостью высокого давления эжектировать газ, а полученную смесь направлять в буферную емкость для разделения фаз и отвода жидкой фазы, на втором каскаде жидкостью высокого давления эжектировать газ повышенного, по сравнению с исходным, давления из буферной емкости первого каскада и подавать получаемую смесь в буферную емкость следующего каскада или непосредственно в линию закачки в скважину.

При смешивании гетерогенных смесей технологически целесообразно в качестве жидкой фазы использовать воду, или нефть, или другие углеводородные жидкости, а в качестве фазы газа использовать попутный нефтяной газ или воздух.

Для расширения функциональных возможностей и диапазона применимости метода по геолого-физическим условиям и категориям скважин при осуществлении обработок ПЗП для очистки коллектора или изоляции высокопроницаемых интервалов целесообразно при смешивании гетерогенных смесей в фазу жидкости добавлять растворимые в ней поверхностно-активные вещества или нерастворимые пылеобразные твердые частицы.

Для создания наиболее благоприятных условий для внедрения гетерогенных смесей в ПЗП целесообразно перед закачкой в пласт рабочего агента осуществлять разглинизирование и очистку коллектора призабойной зоны пласта в поле упругих колебаний и в режиме депрессии на забое скважины.

При разглинизировании и очистке коллектора призабойной зоны скважины депрессию на забое оптимально создавать прокачкой через спускаемые насосно-компрессорные трубы и межтрубное пространство приготовляемых гетерогенных смесей с высоким объемным содержанием газа, а для создания поля упругих колебаний оптимально использовать спущенный на забой гидродинамический генератор, работающий на потоке данных смесей.

В условиях повышенной засоренности коллектора ПЗП и при повышенных глубинах забоев скважин целесообразно при разглинизировании и очистке коллектора призабойной зоны скважины депрессию на забое создавать прокачкой через спускаемые насосно-компрессорные трубы, забойный струйный насос и межтрубное пространство жидкости, а для создания поля упругих колебаний использовать спущенный на забой гидродинамический генератор, работающий совместно со струйным насосом на потоке жидкости.

Поставленная задача решается также тем, что в известной установке, включающей, по крайней мере, один эжектор с соплом, приемной камерой, камерой смешения, а также линии подвода фаз жидкости и газа и линию нагнетания гетерогенной смеси в скважину и пласт, согласно изобретению сопло эжектора выполнено в виде цилиндрической трубки, осесимметрично расположенной в приемной камере, выполненной с внутренней цилиндрической поверхностью, при этом в конце, противоположном выходу сопла, на данной поверхности выполнены тангенциальные каналы, связывающие приемную камеру с линией подвода газа, вход в сопло связан с линией подвода жидкости, напротив выхода сопла приемная камера соединена с зауженной цилиндрической камерой смешения, связанной на выходе с линией нагнетания смеси в скважину и пласт, при этом линия подвода жидкости снабжена гидравлическим регулятором расхода с управляющей линией, соединенной с линией нагнетания гетерогенной смеси в скважину и пласт.

Линия подвода газа может быть снабжена гидравлическим регулятором расхода с управляющей линией, соединенной с линией нагнетания гетерогенной смеси в скважину и пласт, и/или обратным клапаном. При этом расширяются функциональные возможности установки по регулированию объемного газосодержания в смеси за счет смены активной и пассивной фаз.

В этих же целях для увеличения объемного газосодержания целесообразно снабжать установку дополнительным эжектором и буферной емкостью с сепаратором фаз, при этом вход в его сопло соединен с разветвлением от линии подвода жидкости, приемная камера – с линией подвода газа, камера смешения фаз – с буферной емкостью, из верхней части которой сжатая газовая фаза после сепаратора направляется через линию подачи на вход в тангенциальные каналы приемной камеры основного эжектора.

В целях расширения диапазона применимости метода в условиях недостаточной приемистости скважин с зауженным профилем нагнетания по интервалу пластов, для повышения эффективности закачки смесей установка может быть снабжена установленным в скважине с упором на ее стенки гидродинамическим генератором, колебания расхода и давления которого воздействуют как на стенки скважины, так и на поток текучей среды.

Также целесообразно, чтобы вход в сопло был соединен с дополнительным ответвлением от линии подвода жидкости через насос-импульсатор. Дополнительное ответвление от линии подвода жидкости может быть соединено со спущенными на забой скважины насосно-компрессорными трубами, на которых установлено устройство для смешивания гетерогенной смеси и повышения ее напора. Это может быть либо струйный насос, либо гидропоршневой насос.

Для предупреждения коррозии конструктивные элементы предлагаемой установки покрывают антикоррозионным покрытием.

В предложенном изобретении реализуется новый, более эффективный механизм приготовления гетерогенных газожидкостных смесей и последующего нагнетания через скважину в продуктивный интервал пласта, связанный не только с расширением диапазона объемного газосодержания приготавливаемых смесей, но и с инициированием благоприятных условий для полноценного фильтрационного течения их из забоя скважины в ПЗП. При этом оптимально, без привлечения значительных материальных затрат, используются инфраструктура и энергетические ресурсы повсеместно распространенной на промыслах системы поддержания пластового давления (ППД).

В известном изобретении (прототип) непосредственное применение эжектирования газа низкого давления жидкостью высокого давления неэффективно. Если рассматривать в целом единую технологическую цепочку приготовления и закачки газожидкостных смесей в пласт через скважину, то все гидродинамические процессы, начиная с течения отдельных фаз еще до входа в смесительное устройство, непосредственно процессы эжектирования, дальнейшего протекания смесей по трубам скважины и, наконец, фильтрационного течения в ПЗП полностью взаимосвязаны и взаимообусловлены создаваемыми внешними и внутренними условиями. При этом сам первоначальный процесс смешивания – эжектирования во многом определяется условиями дальнейшего течения смеси в скважине и особенно условиями ее внедрения в пласт, в частности приемистостью ПЗП, которая в свою очередь является не только функцией забойного давления и объемного газосодержания, но и времени. Таким образом, для организации наиболее эффективного смесеобразования должен быть задан механизм, подразумевающий определение и поддержание оптимальных параметров процесса эжектирования в соответствии не только с существующими в конкретный момент условиями закачки в ПЗП, но и с их изменениями по времени. Такой качественно новый механизм реализуется в предлагаемом изобретении.

Способ осуществляют следующим образом: в скважине (или скважинах), выбранной для осуществления закачки в пласт, производят спуск насосно-компрессорных труб (НКТ) на глубину интервала перфорации пласта. При необходимости на колонне НКТ устанавливают пакер. Заявляемую установку для приготовления и нагнетания гетерогенных смесей в пласт на месте подготовки попутного газа или непосредственно у устья выбранной скважины соединяют с линией подачи газа и с водоводом высокого давления, при этом ее линию нагнетания обвязывают со скважинной арматурой НКТ либо напрямую, либо через трубопровод транспортировки водогазовой смеси к скважине. В оптимальных вариантах выполнения установки на забое скважины напротив интервала приемистости пласта на трубах НКТ устанавливают гидродинамический генератор упругих колебаний расхода и давления в потоке флюида, могут устанавливать также забойный дожимной струйный насос, работающий вместе с гидродинамическим генератором. В последнем случае приготавливаемая на устье смесь поступает по линии нагнетания в затрубное пространство скважины, а жидкость высокого давления (вода) поступает по трубам НКТ на сопло забойного струйного насоса. Сжатая струйным насосом смесь проходит под пакером через гидродинамический генератор и в поле создаваемых при этом упругих колебаний закачивается в ПЗП и пласт.

Предварительно в выбранной скважине производят подготовительные работы: промывку забоя и т.д., определяют текущий коэффициент приемистости, отмечают глубину интервала перфорации, конструктивные радиусы обсадной колонны и НКТ. С использованием специального программно-вычислительного комплекса, разработанного в НПП Ойл-Инжиниринг, с помощью которого на компьютере моделируют процесс эжектирования газа в заявляемой установке, вязкостное течение смеси по трубам на устье и в скважине и нагнетание ее в пласт с учетом вышеописанных скважинных параметров, определяют оптимальные геометрические параметры сопла и камеры смешения эжектора и допустимые диапазоны регулировки давлений в линиях подачи газа и воды и объемного соотношения смешиваемых фаз. С учетом проведенных расчетов производят настройку эжектора установки.

Включают подачу жидкости и газа и осуществляют процесс смешивания – приготовления гетерогенной смеси и ее закачку в скважину. Предварительно, в случае необходимости на НКТ осуществляют посадку пакера. В процессе закачки происходит саморегулирование процесса смешивания с использованием обратной связи по линии нагнетания. Изменение приемистости скважины вызывает изменение давления на забое и в линии нагнетания, которое воспринимается управляющими элементами заявляемой установки, в результате чего соответствующим образом изменяются параметры процесса смешивания и устанавливается текущее значение объемного газосодержания приготавливаемой смеси – оптимальное для текущего значения приемистости. Повышение эффективности процесса смешивания обеспечивает при этом автоматический выбор активной и пассивной фаз в процессе эжекции – при высоких и повышенных давлениях в линии нагнетания в качестве активной фазы привлекается вода, а при соответствующем его снижении активная фаза автоматически меняется на газ. Особо следует отметить, что данный автоматизм процесса обеспечивается и задается проведенными предварительными расчетами, которые с использованием всех вышеуказанных входных данных и с определением оптимальных геометрических параметров связывают рабочие диапазоны давлений подачи газа и воды с диапазонами изменения приемистости реальной скважины. В этом заключается взаимообусловленность признаков данного изобретения.

Поскольку заявленный способ реализуется при работе установки, более подробно вышеописанные процессы регулирования смесеобразования будут описаны в разделе описания работы установки.

В определенных условиях дополнительно к заявляемой установке в скважине на трубах НКТ на забое устанавливают струйный насос, а при подаче приготовляемой водогазовой смеси в скважину при течении по межтрубному пространству до забоя происходит ее гравитационное уплотнение с повышением давления, обеспечивающее требуемый режим закачки в ПЗП с забойным инжектированием и дожатием струйным насосом. При этом весь процесс приготовления и закачки смеси предварительно рассчитывают с применением используемого программно-вычислительного комплекса с учетом используемого забойного струйного насоса и до начала реализации способа вычисляют и назначают в дополнение к указанным выше параметрам также оптимальные геометрические характеристики забойного струйного насоса.

В условиях, когда требуется потреблять из линии подачи максимальные объемы попутного газа, процесс приготовления смеси разбивают на два или более каскада, сначала приготовленную с применением эжекторного узла установки из линии подачи газа низкого давления смесь направляют в буферную емкость, где с применением сепаратора, например, центробежного типа происходит разделение фаз и отвод жидкой фазы, на втором каскаде газ повышенного давления из буферной емкости эжектируется жидкостью высокого давления, а приготовляемая смесь подается или в буферную емкость следующего каскада, или непосредственно в линию закачки в скважину.

При реализации способа для регулирования коэффициента приемистости возможно проведение предварительной обработки ПЗП в выбранной скважине, в этом случае процесс обработки проводят с применением заявляемой установки, оснащенной забойным гидродинамическим генератором. При этом в качестве газовой фазы используют сжатый воздух, приготавливаемый воздушным компрессором, а гетерогенный водовоздушный агент подается в скважину в двух циклически сменяющихся режимах: задавки водовоздушной пены в ПЗП и прокачки пены по межтрубному пространству с созданием депрессии на ПЗП и с извлечением загрязнений в поле упругих колебаний. В осложненных условиях для создания повышенной депрессии на ПЗП и пласт спускаемые насосно-компрессорные трубы оснащают забойным струйным насосом, работающим совместно с гидродинамическим генератором на потоке жидкости.

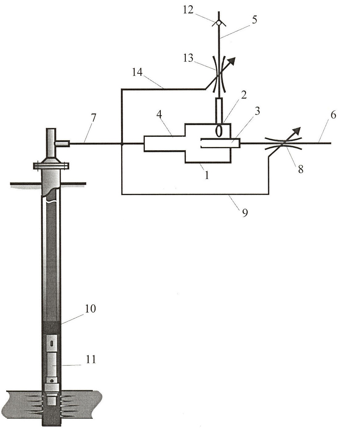
Преимущества, а также особенности предлагаемой установки, поясняются вариантом ее выполнения со ссылками на чертеж, на котором изображена схема установки для приготовления и нагнетания гетерогенной смеси с линиями подачи фаз, линией нагнетания и скважиной, с продольным разрезом эжектора, снабженной в оптимальном варианте установленным в скважине с упором на ее стенки гидродинамическим генератором.

Установка состоит из эжектора с приемной камерой 1 с тангенциальными каналами 2, цилиндрической трубкой-соплом 3 и зауженной камерой смешения 4, соединенного с линиями подвода фаз газа низкого давления 5 и жидкости высокого давления 6, подающих газ и жидкость соответственно в тангенциальные каналы 2 и в цилиндрическую трубку-сопло 3. При этом камера смешения 4 соединена с линией нагнетания смеси 7, на линии подвода жидкости 6 перед входом в эжектор установлен гидравлический регулятор расхода 8, управляющая линия которого 9 соединена с линией нагнетания смеси 7, которая соединена со скважиной, с пакером 10 и гидродинамическим генератором 11. На линии подвода газа 5 установлен обратный клапан 12 и регулятор расхода 13, управляющая линия которого 14 соединена с линией нагнетания 7.

Установка работает следующим образом.

В процессе подачи жидкости высокого давления по линии подвода 6 через регулятор расхода 8 в цилиндрическую трубку-сопло 3 ее поток ускоряется и выходит в приемную камеру 1, где смешивается с поступающим из тангенциальных каналов 2 закрученным потоком газа. Поток жидкости и газа поступает в камеру смешения 4, где происходит формирующее смесеобразование со сжатием газа. Полученная в эжекторе установки смесь поступает в линию нагнетания 7 и далее в скважину.

Сочетание конструктивных элементов установки обеспечивает саморегулирование смесеобразования по объемному газосодержанию в зависимости от давления в линии нагнетания по линии обратной связи с помощью установленных регуляторов расхода. Так, при уменьшении приемистости скважины и соответственном увеличении давления в линии нагнетания 7 соответствующий сигнал поступает по управляющим линиям 9 и 14 на регуляторы расхода 8 и 13, и происходит уменьшение расхода газа вплоть до полного его прекращения с помощью обратного клапана 12 и увеличение расхода воды. В этом случае поток воды является активной фазой эжектора, а поток газа – пассивной. При этом уменьшение объемного газосодержания приготавливаемой смеси приводит к повышению приемистости скважины.

При увеличении приемистости пласта и соответствующем понижении давления в линии нагнетания 7 соответствующий сигнал поступает по управляющим линиям 9, 14 на регуляторы расхода 8, 13, и происходит увеличение расхода газа и уменьшение расхода воды. В этом случае активной фазой является вихревой поток газа, а пассивной – поток воды, что приводит к соответствующему снижению приемистости скважины. Смена активного и пассивного потоков фаз приводит к возникновению гидродинамической нестационарности, которая усиливается при значительной присоединенной упругости компонента среды – газа. Таким образом, происходит автоматическое поддержание оптимального объемного газосодержания закачиваемой гетерогенной смеси в скважину.

Кроме того, при возникающих при нестационарности пульсациях расхода и давления в потоках смешиваемых фаз происходит более интенсивное мелкодисперсное смесеобразование.

В оптимальном варианте выполнения установки поступающая в скважину по линии нагнетания смесь протекает на забое скважины через гидродинамический генератор с образованием колебаний расхода и давления на выходе в трубное пространство скважины. При этом также происходит дополнительное диспергирование и активация смеси. Под действием перепада давления мелкодисперсная смесь эффективно с широким профилем приемистости по интервалу пласта закачивается в ПЗП в поле упругих колебаний. Поддерживается высокое значение приемистости скважины во время осуществления способа.

Предложенная установка в процессе приготовления и закачки в ПЗП газожидкостных смесей позволяет осуществлять эффективный процесс эжекторного смесеобразования с приготовлением смесей с объемным газосодержанием, оптимальным для значений текущей приемистости скважин. При этом газовая фаза дополнительно диспергируется, текущий коэффициент приемистости существенно увеличивается и поддерживается высоким в течение всего времени осуществления способа.

Пример осуществления способа

Для осуществления способа выбирается нагнетательная скважина, которая подключена к водоводу системы заводнения с давлением 13,0-15,0 МПа, вскрывающая продуктивный пласт на интервале 1300-1400 м. Скважина обсажена эксплуатационной колонной до глубины 1447 м. Пластовое давление 18,7 МПа. Пластовая температура 297 К. Приемистость скважины 600 м3/сут при давлении на устье 5,0 МПа.

На скважине проводятся подготовительные работы, промывка забоя, шаблонирование, гидродинамические исследования. В скважину производится спуск насосно-компрессорных труб наружного диаметра 73 мм с пакером до глубины 1350 м. На конце труб устанавливается гидродинамический генератор типа ГВД конструкции НПП Ойл-Инжиниринг. Подготавливается площадка вблизи газовой линии попутного газа с давлением подачи газа 0,2-0,5 МПа, и производится монтаж заявляемой установки.

С использованием приведенных выше входных данных по пласту и скважине, напорно-расходных характеристик системы подачи воды и газовой линии, данных по составу попутного газа, геометрических параметров труб и допустимых диапазонов функционирования регуляторов расходов воды и газа производится компьютерное моделирование процесса приготовления и закачки водогазовой смеси с применением специального программно-вычислительного комплекса НПП Ойл-Инжиниринг. В ходе расчетов определены оптимальные диапазоны регулирования напорно-расходных характеристик подачи воды (15,0 МПа) и газа (0,45 МПа) в установку и закачки смеси (3,0 МПа) в скважину и требуемые для осуществления способа геометрические параметры эжекторного узла установки: внутренние диаметры цилиндрической трубки-сопла (5,1 мм), камеры смешения (12,0 мм) и их отношение.

С учетом проведенных расчетов производится окончательная сборка установки, подключение линий подачи газа и воды, с подсоединением линии нагнетания смеси на устье к НКТ скважины. Производится посадка пакера, и с подачей воды и газа по соответствующим линиям осуществляется процесс приготовления и закачки. Спустя определенное время процесс приготовления и закачки в соответствии с текущей приемистостью скважины выходит на оптимальный рабочий режим. Периодические отборы проб смеси и их исследования показывают, что при реализации способа происходит непрерывная закачка в скважину водогазовой смеси с объемным водогазовым отношением (приведенным к пластовым условиям) 1/0,17-1/0,15.

Формула изобретения

1. Способ приготовления и нагнетания гетерогенных смесей в пласт через, по крайней мере, одну скважину, включающий смешивание фаз жидкости и газа разного давления эжектированием, достижение определенного объемного соотношения фаз и регулирование данного соотношения, отличающийся тем, что объемное соотношение смешиваемых фаз регулируют и поддерживают с определением их оптимального соотношения в режиме непрерывного мониторинга с обратной связью по линии нагнетания с коэффициентом приемистости скважины и в зависимости от глубины ее интервала перфорации, конструктивных геометрических размеров системы обсадных и насосно-компрессорных труб, давлений в линии подачи фазы жидкости и газа, при этом эжектирование при смешивании производят с автовыбором активной и пассивной фаз по линии обратной связи и создают гидродинамическую нестационарность скоростей и давлений в потоках как при эжектировании, так и при нагнетании смеси в пласт.

2. Способ по п.1, отличающийся тем, что нагнетание гетерогенных смесей в пласт осуществляют в поле упругих колебаний.

3. Способ по п.1, отличающийся тем, что гидродинамическую нестационарность скоростей и давлений в потоках создают при взаимодействии вихревых закрученных и осевых течений и/или с генерацией в них поля упругих колебаний.

4. Способ по п.1, отличающийся тем, что смешивание фаз и регулирование их объемного газосодержания выполняют в два взаимосвязанных этапа, на первом из которых на устье скважины струйным эжектированием осуществляют смешивание фазы жидкости высокого давления и фазы газа низкого давления, а на втором этапе подают на забой скважины по отдельным линиям полученную на первом этапе газожидкостную смесь и жидкость высокого давления из устьевой линии подачи с последующим повышением напора данной смеси для нагнетания ее в пласт.

5. Способ по п.4, отличающийся тем, что при повышении напора газожидкостной смеси осуществляют его пульсацию и/или диспергирование.

6. Способ по п.5, отличающийся тем, что напор газожидкостной смеси повышают путем использования скважинных поршневых, и/или электроцентробежных, и/или струйных насосов.

7. Способ по п.4, отличающийся тем, что смешивание струйным эжектированием на устье фазы газа низкого давления и жидкости высокого давления осуществляют в два и более каскада, при этом на первом каскаде жидкостью высокого давления эжектируют газ, а полученную смесь направляют в буферную емкость, где осуществляют разделение фаз и отвод жидкой фазы, на втором каскаде жидкостью высокого давления эжектируют газ повышенного по сравнению с исходным давления из буферной емкости первого каскада, и подают получаемую смесь в буферную емкость следующего каскада или непосредственно в линию закачки в скважину.

8. Способ по п.1, отличающийся тем, что при смешивании гетерогенных смесей в качестве жидкой фазы используют воду, или нефть, или другие углеводородные жидкости, а в качестве фазы газа используют попутный нефтяной газ или воздух.

9. Способ по п.8, отличающийся тем, что при смешивании гетерогенных смесей в фазу жидкости добавляют растворимые в ней поверхностно-активные вещества или нерастворимые пылеобразные твердые частицы.

10. Способ по п.1, отличающийся тем, что перед закачкой в пласт гетерогенных смесей осуществляют разглинизирование и очистку коллектора призабойной зоны пласта в поле упругих колебаний и в режиме депрессии на забое скважины.

11. Способ по п.10, отличающийся тем, что при разглинизировании и очистке коллектора призабойной зоны скважины депрессию на забое создают прокачкой через спускаемые насосно-компрессорные трубы и межтрубное пространство приготовляемых гетерогенных смесей с высоким объемным содержанием газа, а для создания поля упругих колебаний используют спущенный на забой гидродинамический генератор.

12. Способ по п.10, отличающийся тем, что при разглинизировании и очистке коллектора призабойной зоны скважины депрессию на забое создают прокачкой через спускаемые насосно-компрессорные трубы, забойный струйный насос и межтрубное пространство жидкости, а для создания поля упругих колебаний используют спущенный на забой гидродинамический генератор, работающий совместно со струйным насосом на потоке жидкости.

13. Установка для приготовления и нагнетания гетерогенных смесей в пласт через, по крайней мере, одну скважину, включающая, по крайней мере, один эжектор с соплом, приемной камерой, камерой смешения, линиями подвода фаз жидкости и газа, линией нагнетания гетерогенной смеси в скважину и пласт, отличающаяся тем, что сопло эжектора выполнено в виде цилиндрической трубки, осесимметрично расположенной в приемной камере, выполненной с внутренней цилиндрической поверхностью, при этом в конце, противоположном выходу сопла, на данной поверхности выполнены тангенциальные каналы, связывающие приемную камеру с линией подвода газа, вход в сопло связан с линией подвода жидкости, напротив выхода сопла приемная камера соединена с зауженной цилиндрической камерой смешения, связанной на выходе с линией нагнетания гетерогенной смеси в скважину и пласт, при этом линия подвода жидкости снабжена гидравлическим регулятором расхода с управляющей линией, соединенной с линией нагнетания гетерогенной смеси в скважину и пласт.

14. Установка по п.13, отличающаяся тем, что линия подвода газа снабжена гидравлическим регулятором расхода с управляющей линией, соединенной с линией нагнетания гетерогенной смеси в скважину и пласт, и/или обратным клапаном.

15. Установка по п.13, отличающаяся тем, что она снабжена дополнительным эжектором и буферной емкостью с сепаратором фаз, при этом вход в его сопло соединен с разветвлением от линии подвода жидкости, приемная камера – с линией подвода газа, камера смешения фаз – с буферной емкостью.

16. Установка по п.13, отличающаяся тем, что она снабжена установленным в скважине с упором на ее стенки гидродинамическим генератором колебаний расхода и давления.

17. Установка по п.13, отличающаяся тем, что вход в сопло соединен с дополнительным ответвлением от линии подвода жидкости через насос-импульсатор.

18. Установка по п.17, отличающаяся тем, что дополнительное ответвление от линии подвода жидкости соединено со спущенными на забой скважины насосно-компрессорными трубами, на которых установлено устройство для смешивания гетерогенной смеси и повышения ее напора.

РИСУНКИ

Categories: BD_2389000-2389999