|
|
(21), (22) Заявка: 2007103666/03, 22.06.2005
(24) Дата начала отсчета срока действия патента:
22.06.2005
(30) Конвенционный приоритет:
01.07.2004 SE 0401703-4
(43) Дата публикации заявки: 10.09.2008
(46) Опубликовано: 20.05.2010
(56) Список документов, цитированных в отчете о поиске:
SU 1469087 A1, 30.03.1989. SU 594291 A1, 25.02.1978. SU 1086112 A, 15.04.1984. US 2996061 A, 15.08.1961. US 4189015 A, 19.02.1980.
(85) Дата перевода заявки PCT на национальную фазу:
01.02.2007
(86) Заявка PCT:
SE 2005/000987 20050622
(87) Публикация PCT:
WO 2006/004494 20060112
Адрес для переписки:
125009, Москва, а/я 332, ЗАО “Инэврика”, С.О.Шолоховой
|
(72) Автор(ы):
ЛАРБО Гёран (SE)
(73) Патентообладатель(и):
АТЛАС КОПКО КРАЭЛИУС АБ (SE)
|
(54) БУРОВОЕ ДОЛОТО
(57) Реферат:
Изобретение относится к колонковому бурению со съемным керноприемником, при котором трубчатое долото с кольцеобразной матрицей на одном конце трубчатой бурильной колонны приспособлено для отделения керна, который поднимается вверх через ствол скважины внутри бурильной колонны с помощью каната. Технический результат – увеличение охлаждения долота и улучшение качества промывки с увеличением глубины скважины при использовании этого способа бурения. Буровое долото (20), предназначенное для соединения с бурильной колонной (R), имеет кольцеобразный торец (21) долота, являющийся составной частью матрицы и изготовленный из спеченной смеси металлического порошка с алмазной крошкой, при этом торец (21) долота включает множество радиально расположенных пазов (16, 23, 26) для подачи жидкости, предназначенных для охлаждения и очистки торца (21) долота, по меньшей мере один из пазов для подачи жидкости является внутренним пазом (23), простирающимся в радиальном направлении изнутри от внутренней поверхности (24) торца (21) долота, при этом паз (23) заканчивается внутренней нижней поверхностью (25) в торце (21) долота, а другой паз для подачи жидкости является наружным пазом (26), простирающимся в радиальном направлении внутрь от наружной поверхности (27) торца долота; при этом указанный наружный паз заканчивается наружной нижней поверхностью (28) в торце (21) долота. 8 з.п. ф-лы, 2 ил.
Область применения
Настоящее изобретение относится к колонковому бурению со съемным керноприемником, при котором трубчатое долото с кольцеобразной матрицей на одном конце трубчатой бурильной колонны приспособлено для отделения керна, который поднимается вверх через ствол скважины внутри бурильной колонны с помощью каната.
Настоящее изобретение предназначено, в частности, для решения проблем с охлаждением и промывкой, возникающих с увеличением глубины скважины при использовании этого способа бурения.
Предпосылки создания изобретения
Колонковое бурение используется при исследовании горных пород в ходе разведочных работ, а также во многих других случаях, когда исследуемый пласт пробуривают трубчатым буром, отделяющим круговой керн от окружающего материала, после чего керн извлекается из ствола скважины для исследования. Используемый обычно в таких случаях бур состоит из трубчатой бурильной колонны, у которой на переднем торце имеется буровое долото аналогичной трубчатой конфигурации. Бур проникает в пласт с помощью буровой установки, которая вращает бурильную колонну, одновременно подавая колонну в пласт. Используемое буровое долото имеет свойства, подходящие для свойств горной породы, при этом, как правило, буровое долото состоит из трубчатого стального вала, имеющего на переднем торце матрицу, содержащую твердые режущие или дробящие элементы, состоящие из алмазных, твердосплавных или аналогичных материалов. При бурении крепких пород обычно используется алмазное долото, чтобы буровая коронка имела достаточную износостойкость и срок службы. Матрица состоит из металлического порошка, спекаемого в виде однородной трубчатой конфигурации, которая защищается от повреждений абразивными частицами.
Алмазные буровые долота обычно делятся на два типа: долота с поверхностным размещением алмазов и импрегнированные долота. У долот с поверхностным размещением алмазов имеется ряд алмазных кристаллов в поверхностном слое матрицы, и бур считается изношенным, когда полностью изнашиваются эти кристаллы. С другой стороны, в случае импрегнированных долот порошковый материал матрицы смешивается с большим количеством алмазных кристаллов малого размера, и по мере износа матрицы на поверхности постоянно появляются новые кристаллы алмазов до тех пор, пока вся матрица не будет полностью изношена. Таким образом, срок службы долот второго типа гораздо больше, чем первого.
При бурении выделяется большое количество тепла из-за трения между матрицей и породой, поэтому необходимо постоянно охлаждать долото, чтобы избежать его разрушения. Для этой цели обычно используется вода, которая прокачивается через бурильную колонну непосредственно на матрицу бура и затем либо возвращается в ствол скважины через пространство между стенкой ствола скважины и наружной поверхностью бурильной колонны, либо рассеивается через трещины или подобные образования в разбуренной породе.
Кроме охлаждения бурового долота, вода также предназначена для удаления разбуренной породы и шлама, т.е. размельченной породы, образовавшейся во время бурения. Для этих двух целей требуется подача больших объемов воды, ее необходимое количество зависит от диаметра бурового долота. Конечно, зазор между поверхностью долота и породой очень мал, он почти отсутствует, и для обеспечения достаточной подачи воды долото имеет радиальные проходящие насквозь пазы для подачи воды. Для поддержания надлежащих функциональных характеристик в течение всего срока службы долота необходимо, чтобы глубина этих пазов была равна высоте матрицы.
Колонковое бурение используется для скважин глубиной от нескольких метров до тысячи метров и более. Бурильная колонна состоит из нескольких труб, свинчиваемых вместе по мере увеличения глубины ствола скважины. Каждая труба имеет собственную длину от 1 до 6 метров. Во время операции бурения керн поднимается на длину, которая может изменяться от 1 метра до 6 или 9 метров. При выполнении традиционных операций бурения необходимо поднять всю бурильную колонну из ствола скважины, что в случае глубоких скважин занимает достаточно длительное время, так как каждую бурильную трубу необходимо отвернуть, поднять и затем привинтить еще раз. Для устранения этих недостатков была разработана технология колонкового бурения со съемным керноприемником. В данной технологии используется специальное захватное устройство, которое опускается лебедкой внутрь бурильной колонны и захватывает внутреннюю керноприемную трубу, надежно удерживающую керн, и посредством этого поднимает керн из ствола скважины. Таким образом, этот способ позволяет оставить бурильную колонну в стволе скважины до завершения бурения или до износа бурового долота, т.е. полного износа матрицы. Для замены бурового долота необходимо извлекать бурильную колонну из ствола скважины.
При колонковом бурении со съемным керноприемником желательно, чтобы долото имело по возможности максимально длительный срок службы. Возможно, наиболее очевидным способом увеличения срока службы долота является увеличение высоты матрицы, и для этих целей в настоящее время используются матрицы высотой до 12 мм. Однако при превышении высоты матрицы этого размера возникает ряд недостатков.
На охлаждение бурового долота влияют проходящие насквозь пазы, простирающиеся в радиальном направлении матрицы и поперек в материале матрицы по всей ее длине вплоть до поверхности передней торцевой части долота, соприкасающейся с породой. Если высота матрицы увеличивается, пазы для подачи воды становятся глубже, поэтому большая часть охлаждающей и промывающей воды уходит сквозь пазы для подачи воды, не достигая режущей поверхности, тем самым ухудшая охлаждение долота, при этом опасность перегрева, т.е. расплавления матрицы, увеличивается. Это быстро приводит к износу.
Кроме того, при этом из-за износа возникает определенная конусность по внутреннему диаметру, поэтому при попытке подъема керна, выбуренного из породы, может возникнуть его зажим в буровом долоте.
Более того, при увеличении отношения высоты к ширине из-за более глубоких пазов для подачи воды сегменты матрицы могут быть в большей степени подвержены изгибу, поэтому во время бурения возможны поломки сегментов.
Из SU 1086112 известно выполнение бурового долота с наружными и внутренними пазами для подачи охлаждающей жидкости. Однако для образования режущих кромок эти пазы имеют клиновидную форму, что в случае высокоскоростного бурения твердых кристаллических пород приводит к необходимости подачи жидкости для промывки под высоким давлением и к прижогу долота из-за слишком слабого охлаждения. Отверстия для промывки также имеют конусность, поэтому эффективность промывки и степень охлаждения снижаются по мере износа бурового долота, что наряду с прочими недостатками создает проблему, для решения которой предназначено данное изобретение.
К тому же поверхность бура согласно описанию SU 1086112 имеет форму клина, через вершину которого сформированы пазы, так что наружные и внутренние пазы простираются в радиальном направлении за пределы вершины клина. Высота этой проходящей насквозь части также очень мала, а это означает, что проходящие насквозь пазы исчезнут, как только матрица износится всего на 10 процентов. Этим геометрия бурового долота в значительной степени отличается от геометрии изобретенного бурового долота.
Цель изобретения
Цель настоящего изобретения – предоставить другой тип бурового долота, в котором будут решены проблемы, указанные выше и встречающиеся у известных видов буровых долот.
Согласно данному изобретению буровое долото имеет такую конструкцию, что торцевая часть долота имеет гораздо более высокую матрицу, чем это было возможно ранее. Это было сделано для того, чтобы можно было изготовить долото, способное работать в стволе скважины глубиной до 500-1000 метров и более без полного износа в ходе этого процесса, поддерживая ту же степень охлаждения и промывки, в основном для кернового бурения со съемным керноприемником, при котором используются импрегнированные алмазные долота, когда требуется производить высокоскоростное бурение твердых кристаллических пород.
Краткое изложение сущности изобретения
Указанная цель достигается посредством настоящего изобретения, как определено в независимых пунктах формулы изобретения. Соответствующие примеры конструкции будут очевидны из зависимых пунктов изобретения.
В данном изобретении представлена конструкция долота с высотой матрицы, превышающей традиционные 12 мм и достигающей 20-25 мм. В матрице долота предусмотрено несколько внутренних и наружных пазов, которые углублены в ней приблизительно на две трети толщины кольца матрицы. Кроме того, количество проходящих насквозь пазов для подачи жидкости ограничено максимум четырьмя. При этом пазы матрицы, через которые подается жидкость для промывки и охлаждения, функционируют в качестве краев, со стороны которых происходит охлаждение, и охлаждают поверхность долота. Также удалось избежать конусности по внутреннему диаметру долота, что в значительной степени повысило механическую прочность и устойчивость долота благодаря небольшому количеству пазов. В результате обеспечивается оптимальный срок службы, функциональность и прочность матриц с увеличенной высотой.
Краткое описание чертежей
Далее настоящее изобретение будет описано более подробно со ссылками на примеры его осуществления, а также на прилагаемые чертежи:
на фиг.1 показан общий вид типичного бурового долота; и
на фиг.2 показан общий вид бурового долота в соответствии с настоящим изобретением.
Описание данного изобретения
На фиг.1 изображена бурильная колонна R, оснащенная типичным буровым долотом 10, включающим кольцеобразную матрицу с торцом 12 долота для обработки материала. Режущая поверхность 14 торца 12 долота поделена на ряд секторов посредством сквозных радиальных пазов 16 для подачи жидкости, сформированных в виде каналов охлаждения/промывки, которые разделяют торец 12 долота. Как показано стрелками на фиг.1, охлаждающая/промывочная вода протекает через эти пазы из центра долота 10 по направлению к периферии или, возможно, в направлении, противоположном показанному. Этот поток жидкости охлаждает торец долота, а также уносит переработанный материал. Так как пазы 16 имеют ту же высоту, что и торец 12 долота по всей их длине в радиальных направлениях, вода для охлаждения/промывки будет выходить через пазы 16, не успевая достичь рабочей поверхности 14 торца долота на самых высоких уровнях матрицы, при этом рабочая поверхность 14 торца долота будет иметь недостаточное охлаждение и, следовательно, начнет изнашиваться на более раннем этапе, чем в случае надлежащего охлаждения.
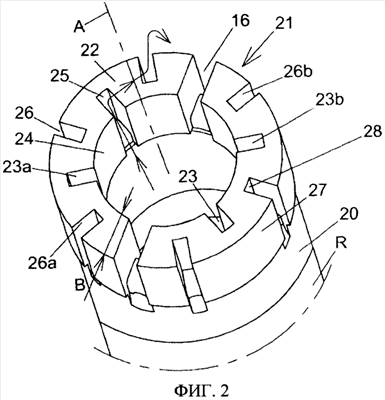
На фиг.2 показана бурильная колонна R, снабженная буровым долотом, сконструированным в соответствии с данным изобретением. Показанное долото, как обычно, имеет торец 21 долота для обработки материала, являющийся составной частью матрицы. Матрица имеет два сквозных радиальных паза 16 для подачи жидкости, которые функционируют в качестве промывочных каналов, с одной стороны, и в качестве охлаждающих каналов – с другой. Матрица также включает первую группу внутренних пазов 23 для подачи жидкости, количество которых в случае примера осуществления фиг.2 равно четырем и которые радиально расходятся наружу от внутренней поверхности 24 торца 21 долота, заканчиваясь внутренней нижней поверхностью 25 в торце 21. В матрице также есть группа наружных пазов 26 для подачи жидкости, количество которых в случае примера осуществления фиг.2 равно шести. Все эти наружные пазы 26 простираются в радиальном направлении внутрь от наружной поверхности 27 торца 21 долота, указанные группы заканчиваются наружной нижней поверхностью 28 в торце 21.
Соответствующие нижние поверхности 25 и 28 пазов 23, 26 в торце долота являются в общем случае прямоугольными плоскими поверхностями, ориентированными параллельно воображаемой плоскости, в которой простираются осевые линии А торца долота. Как внутренний паз 23, так и наружный паз 26 углублены в радиальном направлении в торце долота на величину, соответствующую двум третям ширины В торца 21.
Внутренние и наружные пазы 23 и 26, включающие упомянутые нижние поверхности, также имеют соответствующие боковые поверхности 23а, 23b и 26а, 26b, которые в случае проиллюстрированного примера осуществления расположены в соответствующих пазах параллельно друг другу. Такое параллельное расположение не является необходимым для получения преимуществ, предлагаемых данным изобретением, а пазы в качестве альтернативы могут быть сделаны более широкими в части, расположенной ближе к внутренней поверхности, и более узкими в части, расположенной ближе к нижней части паза, или наоборот.
Поток жидкости обеспечивается путем подачи под давлением охлаждающей жидкости через внутренние пазы 23, и в торце долота она вытесняется к наружным пазам 26 и выходит через них наружу. Таким образом, охлаждающая жидкость всегда будет проходить через торец 21 долота и охлаждать его в максимальной степени. Этот эффект охлаждения будет продолжаться, даже когда торец долота изнашивается, так как пазы имеют ту же осевую длину, что и матрица.
Согласно данному изобретению рабочая поверхность 22 торца 21 долота в основном бывает плоской, поэтому осевая линия А простирается параллельно предполагаемому перпендикуляру к рабочей поверхности 22. Таким образом, упомянутые во вступительной части проблемы решаются тем, что в матрице предусмотрены внутренние пазы 23 и наружные пазы 26, как показано на прилагаемых чертежах. Эти пазы не являются сквозными, но углубляются в матрицу на величину, предпочтительно соответствующую двум третям ширины торца долота.
Более того, количество глубоких проходящих насквозь пазов 16 ограничено максимум четырьмя для долот с диаметрами до 60 мм и максимум шестью для долот с большими диаметрами.
При этом вода вытесняется через несквозные пазы в матрице, и охлаждающая жидкость (обычно используется вода) поднимается непосредственно к рабочей поверхности долота 22, охлаждая ее. Внутренние и наружные пазы 23 и 26 функционируют в качестве краев, со стороны которых происходит охлаждение, и таким образом улучшают охлаждение всего долота.
В дополнение к преимуществам улучшенного охлаждения, позволяющим использовать более высокую матрицу, описанная выше конструкция, проиллюстрированная примером осуществления, также позволяет избежать конусности по внутреннему диаметру благодаря тому, что вода может уносить выбуренную породу или буровой шлам через внутренние и наружные пазы.
Формула изобретения
1. Буровое долото (20), предназначенное для соединения с бурильной колонной (R), в котором долото (20) имеет кольцеобразный торец (21) долота, являющийся составной частью матрицы и изготовленный из спеченной смеси металлического порошка с алмазной крошкой, при этом торец (21) долота включает множество радиально расположенных пазов (16, 23, 26) для подачи жидкости, предназначенных для охлаждения и очистки торца (21) долота, отличающееся тем, что, по меньшей мере, один из пазов для подачи жидкости является внутренним пазом (23), простирающимся в радиальном направлении изнутри от внутренней поверхности (24) торца (21) долота, при этом паз (23) заканчивается внутренней нижней поверхностью (25) в торце (21) долота, а другой паз для подачи жидкости является наружным пазом (26), простирающимся в радиальном направлении внутрь от наружной поверхности (27) торца долота; при этом указанный наружный паз заканчивается наружной нижней поверхностью (28) в торце (21) долота.
2. Буровое долото по п.1, отличающееся тем, что соответствующие нижние поверхности пазов (25, 28) в торце (21) долота представляют собой в основном прямоугольные плоские поверхности, ориентированные параллельно предполагаемой плоскости, проходящей через осевую линию А торца (21) долота.
3. Буровое долото по любому из пп.1 и 2, отличающееся тем, что внутренний паз (23) и наружный паз (26) углубляются в радиальном направлении в торце (21) долота на величину, соответствующую его двум третям.
4. Буровое долото по п.1, характеризующееся тем, что торец (21) долота также имеет, по меньшей мере, два простирающихся в радиальном направлении сквозных паза (16) для подачи жидкости.
5. Буровое долото по п.1, отличающееся тем, что каждый из всех пазов для подачи жидкости (16, 23, 26) имеет высоту, равную, по меньшей мере, высоте рабочей части торца (21) долота.
6. Буровое долото по любому из пп.4 и 5, отличающееся тем, что количество сквозных пазов (16) для подачи жидкости равно максимум шести.
7. Буровое долото по п.1, отличающееся тем, что количество внутренних пазов (23) меньше, чем количество наружных пазов (26).
8. Буровое долото по п.1, отличающееся тем, что количество внутренних пазов (23) равно, по меньшей мере, четырем.
9. Буровое долото по п.1, отличающееся тем, что количество наружных пазов (26) равно, по меньшей мере, шести.
РИСУНКИ
|
|