|
|
(21), (22) Заявка: 2008135612/03, 02.09.2008
(24) Дата начала отсчета срока действия патента:
02.09.2008
(46) Опубликовано: 20.05.2010
(56) Список документов, цитированных в отчете о поиске:
US 3370895 А, 27.02.1968. SU 1194991 A, 30.11.1985. SU 1629457 A1, 23.02.1991. US 4596472 A, 24.06.1986. US 4627882 A, 09.12.1986. US 5456327 А, 10.10.1995. US 5794726 А, 18.08.1998. US 6045029 A, 04.04.2000.
Адрес для переписки:
443004, г.Самара, ул. Грозненская, 1, ОАО “Волгабурмаш”, Дирекция по перспективным исследованиям и разработкам
|
(72) Автор(ы):
Богомолов Родион Михайлович (RU), Мокроусов Вячеслав Петрович (RU), Ищук Андрей Георгиевич (RU), Гавриленко Михаил Викторович (RU), Крылов Сергей Михайлович (RU)
(73) Патентообладатель(и):
Открытое акционерное общество “Волгабурмаш” (ОАО “Волгабурмаш”) (RU)
|
(54) БУРОВОЕ ДОЛОТО С ГЕРМЕТИЗИРОВАННОЙ ОПОРОЙ
(57) Реферат:
Изобретение относится к области буровой техники и может использоваться при производстве буровых шарошечных долот, предназначенных для бурения глубоких скважин с целью добычи нефти и газа. Технический результат – увеличение надежности и эффективности смазки герметизированной опоры без вакуумирования перед заправкой, а также улучшение дозаправки опоры смазкой при многократном использовании буровых долот после операции очередного спуско-подъема бурового инструмента. Буровое долото с герметизированной опорой содержит корпус с ниппелем, свариваемый из отдельных секций, состоящих из лапы и подвижно закрепленной на ней шарошки, каждая лапа снабжена узлом компенсации смазки в опоре, содержащим резервуар с герметизирующей крышкой, резьбовым отверстием и пробкой, эластичную мембрану, систему каналов и полостей, соединяющих резервуар с зонами трения в опоре, отличается тем, что внутри ненагруженной части большого подшипника цапфы лапы выполнена дополнительная система каналов, минуя уплотнение и отверстие под замковый палец, с выходом на наружную поверхность лапы, с резьбовым регулирующим штуцером на выходе, заменяемым после заправки смазки на глухую резьбовую пробку. В дополнительной системе каналов с выходом на наружную поверхность лапы число направлений каналов больше одного. Выходы дополнительной системы каналов расположены на дугообразной спинке лапы, обращенной к стенке скважины, или на боковой стороне лапы, а также комбинированно – на дугообразной спинке и боковой стороне лапы бурового долота одновременно. 2 з.п. ф-лы, 9 ил.
Изобретение относится к области буровой техники, а именно к буровым долотам, и может использоваться при бурении скважин любого назначения.
Известно буровое долото [1] с герметизированной маслонаполненной опорой шарошек с уплотнением полости О-образным эластичным кольцом, принятое за аналог. Узел компенсации смазки представлен резервуаром, расположенным в верхней части лапы, и герметизированной крышкой. Под крышкой резервуара расположена эластичная мембрана, которая при колебаниях давления в затрубной зоне раскрывается, давит на консистентную смазку, помещенную под мембраной, которая по системе каналов поступает в зону трения в опорах. Герметизация и компенсация износа уплотнения осуществляются за счет эластичных свойств уплотнительного кольца.
Преимуществом такой опоры является простота исполнения.
Недостатком рассмотренного аналога является то, что после сборки шарошки с лапой в секцию невозможно заполнить полость опоры смазкой через систему отверстий сверху методом продавливания. В полости опоры при этом создаются воздушные пробки, препятствующие полному заполнению смазкой всей полости. Кроме нерационального использования и без того малых габаритов емкости под смазку, воздушные подушки гасят, демпфируют импульсы изменения давления в затрубной зоне. Чтобы обеспечить передачу давления по смазке, которая по отношению к воздуху является практически несжимаемой, перед заправкой смазки полость опоры сначала вакуумируют и только затем смазка заполняет все внутренние полости. Из-за дефектов поверхности уплотнительного кольца круглого сечения, возникающих при спекании, или дефектов в вакуумной установке закачки смазки нет стопроцентной уверенности в полном заполнении полости опоры практически несжимаемой жидкостью. А отсутствие в отдельных местах подшипников смазки или ее компенсации в нагреваемых зонах трения ведет к преждевременному выходу опоры из строя.
Известно другое буровое долото [2], также приятое за аналог. В этом долоте маслонаполненная опора герметизирована системой из двух эластичных колец и двух колец из твердого материала. Оба кольца из твердого материала контактируют друг с другом за счет постоянного поджима эластичными кольцами, установленными неподвижно: одно на цапфе лапы, другое – в полости шарошки.
Преимуществом такой опоры является высокая стойкость к истиранию твердых трущихся колец.
Недостатком этого вида герметизированной маслонаполненной опоры, как и в предыдущем аналоге, является необходимость вакуумирования полости опоры перед закачкой смазки, а также отсутствие уверенности в полном заполнении всей полости смазкой без воздушных пробок.
Известно другое буровое долото [3], взятое за прототип. В этом долоте маслонаполненная опора герметизирована торцевым тарельчатым уплотнением, установленным между торцом шарошки и основанием цапфы лапы. Постоянный поджим и компенсация износа резиновой контактной поверхности осуществляются за счет эластичных свойств тарельчатой цанговой стальной пружины. Со стороны лапы торец обрезиненного уплотнения может устанавливаться неподвижно, а со стороны шарошки подвижный контакт обеспечивается стальной цангой.
Преимуществом такого уплотнения является то, что после сборки шарошки на цапфе лапы заправка опоры смазкой может осуществляться путем ее принудительной закачки под избыточным давлением, не опасаясь возникновения в полости воздушных пробок. Гарантией полного заполнения смазочной системы является появление избыточной смазки по торцу шарошки, обусловленное отгибом цанговой стальной пружины от избыточного давления.
Недостатком этого вида герметизированной маслонаполненной опоры является малая стойкость обрезиненной поверхности уплотнения, трущегося о торец шарошки, поскольку все уплотнение работает в условиях прямого контакта с абразивными частицами, проникающими в зазор между торцом шарошки и основанием цапфы лапы.
Целью данного изобретения является обеспечение надежной и эффективной смазки герметизированной опоры без вакуумирования перед заправкой, а также обеспечение дозаправки опоры смазкой при многократном использовании буровых долот после операции очередного спуско-подъема бурового инструмента.
Указанная цель достигается тем, что в буровом долоте с герметизированной опорой, содержащем корпус с ниппелем, свариваемый из отдельных секций, состоящих из лапы и подвижно закрепленной на ней шарошки, каждая лапа снабжена узлом компенсации смазки в опоре, содержащим резервуар с герметизирующей крышкой, резьбовым отверстием и пробкой, эластичную мембрану, систему каналов и полостей, внутри ненагруженной части большого подшипника цапфы лапы выполнена дополнительная система каналов, минуя уплотнение и отверстие под замковый палец, с выходом на наружную поверхность лапы с резьбовым регулирующим штуцером на выходе, заменяемым после заправки смазки на глухую резьбовую пробку. В дополнительной системе каналов с выходом на наружную поверхность лапы число направлений каналов может быть больше одного. Выходы дополнительной системы каналов расположены на дугообразной спинке лапы, обращенной к стенке скважины или на боковой стороне лапы, в другом варианте комбинированно – на дугообразной спинке и боковой стороне лапы бурового долота одновременно.
При заправке смазки в опоры долота исключается вакуумирование их полостей и, как следствие этого, возможность появления воздушных пробок.
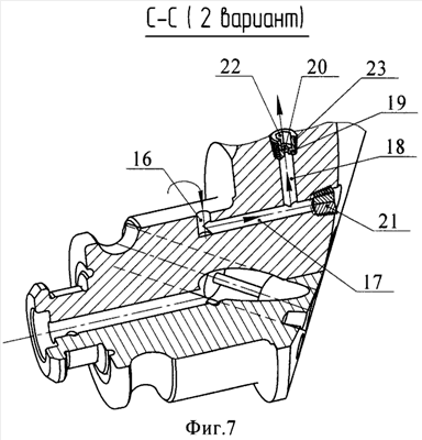
Перечень фигур чертежей. На фиг.1 показан общий вид секции бурового долота с продольным разрезом. На фиг.2 и 3 изображены поперечные разрезы лапы долота с вариантами направления выходных отверстий дополнительных смазочных каналов. На фиг.4 и 5 показаны поперечные разрезы секций бурового долота. На фиг.6 и 7 показаны в изометрии разрезы цапфы лапы с вариантами расположения выходных каналов из лапы. На фиг.8 и 9 изображен вариант резьбового штуцера противодавления.
В корпусе лапы 1 бурового долота (фиг.1) канал 2 соединяет резервуар 3 для смазки с полостью опоры через пространство вокруг шейки 4 замкового пальца 5, осевое отверстие 6, радиальные отверстия 7, а также отверстие 8 в упорной пяте 9, паз на торце пяты 10, пространство между малыми роликами 11, пространство между наружной поверхностью цапфы лапы 1 и внутренней поверхностью шарошки 12, зазоры между шариками 13, большими роликами 14 до уплотнительного кольца 15.
На фиг.2 и 3 буквами «а» и «b» показаны условно эпюры нагружения подшипниковых опор, а также отверстия 7, направление осей которых предпочтительно выполнять от центра цапфы к местам минимальных нагрузок на опоры, что наглядно иллюстрируется на эпюрах нагружения. Стрелками показано направление движения смазки в каналах цапфы и полости опоры. На фиг.2 также показано положение входных отверстий 16 на ненагруженных зонах цапфы лапы 1, выполненных минуя отверстие под замковый палец 5 и продолжение этих отверстий 17 в цапфе (вариант 1) или 17 и 18 (вариант 2) – фиг.6 и 7.
На фиг.4 и 5 показаны разрезы секций А-А и В-В по большому и малому роликовым подшипникам с телами качения (ролики 11 и 14).
На фиг.6 и 7 показано, кроме расположения каналов-отверстий 17 (вариант 1) и 17, 18 (вариант 2), положение штуцеров 19 с конической резьбой на выходе из корпуса лапы. Позицией 20 обозначено сквозное отверстие в штуцере 19 для обеспечения и регулирования противодавления в полости опоры во время нагнетания смазки. На фиг.7 показан вариант с выходом отверстия 18 (с конической резьбой на конце) на боковую сторону лапы, также с установкой штуцера 19 (предпочтительно с конической резьбой 23). В этом варианте выход из отверстия 17 закрывается наглухо резьбовой пробкой 21 или заваривается. На фиг.6 и 7 стрелками показано продолжение движения смазки до выхода из штуцеров 19.
На фиг.8 изображен вариант конического резьбового штуцера 19 в увеличенном масштабе с выходным сквозным отверстием 20 и шестигранным или иной формы пазом 22 под торцовый ключ и резьбой 23 для завинчивания и вывинчивания штуцера из лапы при заправке и дозаправке смазки.
В полости масляного резервуара (фиг.1) установлена крышка 24 с помощью разжимного стопорного кольца 25 и герметизирующего эластичного уплотнения 26. В отверстие крышки установлена резьбовая пробка 27. Под крышкой зажата эластичная мембрана 28 и предохранительный габаритный стальной стакан 29, предохраняющий мембрану 28 от разрыва при избыточном давлении. Снизу масляный резервуар 3 снабжен отверстием 30 со стороны затрубного пространства.
Заправка смазкой опоры бурового долота осуществляется следующим образом. Наконечник нагнетательного штуцера смазочной машины (не показано) заворачивается в резьбовое отверстие вместо пробки 27 в крышке 24 на ее входе. Затем смазка из заправочной емкости через штуцер под давлением подается вначале в резервуар 3 для смазки, заполняет его, затем направляется через канал 2, пространство 4 вокруг шейки замкового пальца 5, отверстия в цапфе 6 и 7, отверстие 8 и пазы 10 в упорной пяте 9, зазоры между малыми роликами 11, пазы между внутренней поверхностью шарошки 12 и наружной поверхностью лапы 1, через зазоры между шариками 13 и большими роликами 14 до уплотнительного кольца 15, далее до отверстий 17 или 17, 18 (второй вариант) на ненагруженной стороне внутри цапфы лапы и до выпускных штуцеров 19. Цель установки штуцеров 19 состоит в обеспечении порога давления в полости опоры для того, чтобы смазка при сжатии могла полностью выдавить воздух из всех, без исключения, зон полости. Закачивание смазки осуществляется до тех пор, пока давление в полости опоры не превысит давление перед отверстием выходных штуцеров 19, а на выходе смазки из него появится ровная струя смазки без воздушных включений и хлопков. По окончании заправки штуцеры 19 заменяются на глухие пробки (не показано). Долото готово к работе. При необходимости дозаправки и смазки глухие пробки на выходе заменяются на штуцеры, которые после завершения дозаправки вновь заменяются глухими пробками.
Высокая надежность заправки позволяет достигнуть требуемый результат – 100%-ную гарантию заполнения всей полости опоры без воздушных пробок, а также возможность ее дозаправки в случаях повторного или последующих дополнительных применений, увеличение стойкости опоры и общих показателей бурения (проходки и механической скорости).
Возможность осуществления изобретения подтверждается успешными стендовыми и промысловыми испытаниями опытных образцов буровых долот по настоящему изобретению.
Источники информации
1. Патент фирмы «Smith International» США 5 456 327 от 08.03.1994 г. «О-образное уплотнение опоры бурового долота», МПК Е21В 10/24.
2. Патент фирмы «Baker Hughes» США 6 045 029 от 14.04.1997 г. «Буровое долото с твердым уплотнением опоры», МПК В23К 31/02.
3. Патент фирмы «Dresser Industries» США 3 370 895 от 27.02.1968 г. «Уплотнение для опор буровых долот», МПК Е21В 10/24, кл. США – 308-8.2).
Формула изобретения
1. Буровое долото с герметизированной опорой, содержащее корпус с ниппелем, свариваемый из отдельных секций, состоящих из лапы и подвижно закрепленной на ней шарошки, каждая лапа снабжена узлом компенсации смазки в опоре, содержащим резервуар с герметизирующей крышкой, резьбовым отверстием и пробкой, эластичную мембрану, систему каналов и полостей, соединяющих резервуар с зонами трения в опоре, отличающееся тем, что внутри ненагруженной части большого подшипника цапфы лапы выполнена дополнительная система каналов, минуя уплотнение и отверстие под замковый палец, с выходом на наружную поверхность лапы, с резьбовым регулирующим штуцером на выходе, заменяемым после заправки смазки на глухую резьбовую пробку.
2. Буровое долото по п.1, отличающееся тем, что в дополнительной системе каналов с выходом на наружную поверхность лапы число направлений каналов больше одного.
3. Буровое долото по п.1, отличающееся тем, что выходы дополнительной системы каналов расположены на дугообразной спинке лапы, обращенной к стенке скважины или на боковой стороне лапы, а также комбинированно – на дугообразной спинке и боковой стороне лапы бурового долота одновременно.
РИСУНКИ
|
|