|
|
(21), (22) Заявка: 2008147399/15, 01.12.2008
(24) Дата начала отсчета срока действия патента:
01.12.2008
(46) Опубликовано: 20.05.2010
(56) Список документов, цитированных в отчете о поиске:
RU 72967 U1, 10.05.2008. SU 1632949 A1, 07.03.1991. US 4824579 A, 25.04.1989. JP 10057707 A, 03.03.1998.
Адрес для переписки:
690950, Приморский край, г. Владивосток, ГСП, ул. Пушкинская, 10, патентный отдел ДВГТУ
|
(72) Автор(ы):
Захаров Геннадий Александрович (RU), Щетинин Владимир Михайлович (RU), Мукосеев Борис Иннокентьевич (RU), Цыганкова Ксения Васильевна (RU)
(73) Патентообладатель(и):
Государственное образовательное учреждение высшего профессионального образования Дальневосточный государственный технический университет (ДВПИ им. В.В. Куйбышева) (RU)
|
(54) СПОСОБ АЭРИРОВАНИЯ ОЧИЩАЕМОЙ ЖИДКОСТИ
(57) Реферат:
Изобретение может быть использовано для очистки сточных вод. Воздух по трубопроводу 23 подают в кожух 4, вытесняя таким образом воду из флотирующего отсека 7 в накопительный отсек 8 с последующим переливом по отводящему патрубку 25 в камеру сфлотированного продукта 26. Затем подают воздух в дополнительный кожух 13. Воздушная струя, выходящая из нижнего основания дополнительного кожуха 13, формирует на поверхности жидкости воздушный кратер, представляющий собой параболоид вращения. В сформированный воздушный кратер по оси потока сжатого воздуха, ориентированного перпендикулярно поверхности объема очищаемой жидкости, с высокой скоростью из сопла 3 трубы 2 подают струю очищаемой жидкости. Изобретение позволяет повысить степень аэрирования объема сточных вод. 3 ил.
Изобретение относится к очистке сточных вод и может быть использовано для выделения из них различных примесей, например нефтепродуктов.
Известен способ аэрирования очищаемой жидкости, включающий ее подачу в резервуар под поверхность сточных вод в резервуаре затопленной струей под давлением, с последующей флотационной очисткой воды от примесей в зоне, изолированной от зоны насыщения сточных вод воздухом (SU 996332, МКИ C02F 1/00, 1981).
Недостаток этого решения – неудовлетворительная степень очистки нефтесодержащих сточных вод из-за низкой степени их аэрирования.
Известен также способ аэрирования очищаемой жидкости, включающий формирование струи очищаемой жидкости в полости кожуха, содержащего воздух с давлением, большим атмосферного, нижняя часть которого открыта в аэрируемый объем очищаемой жидкости, при этом струю очищаемой жидкости подают по оси потока сжатого воздуха, ориентированного перпендикулярно поверхности объема очищаемой жидкости (RU 72967, МКИ C02F 1/40, B01D 17/035, 2008).
Недостатком этого решения также является неудовлетворительная степень очистки нефтесодержащих сточных вод от тонкодисперсных примесей, равномерно распределенных по их объему, из-за недостаточно высокого качества аэрирования их объема (степени насыщения, равномерности распределения воздушных пузырьков по объему вод и их дисперсности).
Задача, на решение которой направлено заявленное решение, заключается в повышении степени аэрирования объема сточных вод.
Технический результат, достигаемый при решении поставленной задачи, выражается в том, что повышается степень аэрирования сточных вод при одновременном повышении равномерности аэрирования объема нефтесодержащих сточных вод тонкодисперсными пузырьками воздуха, что обеспечивает возможность флотирования тонкодисперсных частиц примесей и за счет этого позволяет довести степень очистки нефтесодержащих вод от свободных (нерастворенных) примесей до уровня не менее 99% от их исходного содержания.
Поставленная задача решается тем, что способ аэрирования очищаемой жидкости, включающий формирование струи очищаемой жидкости в полости кожуха, содержащего воздух с давлением, большим атмосферного, нижняя часть которого открыта в аэрируемый объем очищаемой жидкости, при этом струю очищаемой жидкости подают по оси потока сжатого воздуха, ориентированного перпендикулярно поверхности объема очищаемой жидкости, отличается тем, что сначала на поверхности жидкости формируют воздушный кратер путем подачи воздушной струи, выходящей из нижнего основания дополнительного кожуха, после чего в сформированный воздушный кратер подают струю очищаемой жидкости.
Сопоставительный анализ признаков заявленного решения с признаками прототипа и аналогов свидетельствует о соответствии заявленного решения критерию”новизна”.
При этом совокупность отличительных признаков формулы изобретения обеспечивает достижение технического результата – повышение степени аэрирования сточных вод при одновременном повышении равномерности аэрирования объема нефтесодержащих сточных вод тонкодисперсными пузырьками воздуха, что обеспечивает возможность флотирования тонкодисперсных частиц примесей и за счет этого позволяет довести степень очистки нефтесодержащих вод от свободных (нерастворенных) примесей до уровня не менее 99% от их исходного содержания.
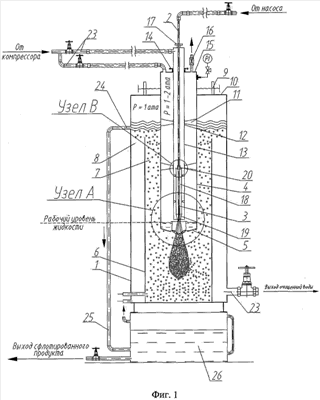
На фиг.1 схематически показано устройство, обеспечивающее реализацию заявленного способа; на фиг.2 и фиг.3 показаны узлы А и В этого устройства.
На чертежах показаны атмосферный резервуар 1, подводящая труба 2 с сопловым насадком 3, кожух 4, конец 5 которого выполнен конфузорным, отбойник 6, флотирующий отсек 7 с открытыми верхними кромками, зазор 8 между стенками отбойника 6 и внешними стенками резервуара 1, являющийся накопительным отсеком резервуара 1. Кожух 4 выполнен с возможностью возвратно-поступательного перемещения вдоль продольной оси в отбойнике 6 и крепится в рабочем положении по высоте резьбовыми зажимами 9, установленными на крышке 10 атмосферного резервуара 1. Внутри кожуха 4 размещены центрирующие радиальные косынки 11 с центрирующими кольцами 12, в которых установлен дополнительный кожух 13 с возможностью вертикального осевого перемещения относительно кожуха 4. Его крепление в рабочем положении осуществляют уплотнительным воротником 14, установленным на верхней крышке 15 кожуха 4. Здесь же смонтирован воздушный патрубок с дроссельно-запорным клапаном 16, регулирующий давление воздуха соответственно в кожухе 4 и дополнительном кожухе 13 на рабочих режимах. Внутри дополнительного кожуха 13 размещена подводящая труба 2 рабочей жидкости с возможностью вертикального осевого перемещения. Ее крепление в рабочем положении осуществляют уплотнительным узлом 17 на верхнем днище дополнительного кожуха 13. Нижний участок подводящей трубы 2 заключен в рубашку 18, конец которой выполнен в виде конфузорного насадка 19. Рубашка 18 имеет возможность осевого перемещения вдоль трубы рабочей жидкости 2 и крепится на ней резьбовым узлом 20. Между цилиндрической частью рубашки 18 и конфузорного насадка 19 установлен кольцевой желоб 21.
Над верхней плоскостью кольцевого желоба 21 и под резьбовым узлом 20 в вертикальной стенке рубашки 18 по периметру выполнены сквозные отверстия 22. Сквозные отверстия 22, расположенные над верхней плоскостью кольцевого желоба 21, обеспечивают напорный вход воздуха из полости дополнительного кожуха 13 в полость рубашки 18, а сквозные отверстия 22 под резьбовым узлом 20 обеспечивают выход воздуха из полости рубашки 18 в полость дополнительного кожуха 13, что обусловливает встречное движение кольцевого слоя воздуха и напорной рабочей струи жидкости. Возможность осевого перемещения рубашки 18 относительно трубы рабочей жидкости 2 и дополнительного кожуха 13 позволяет изменять длину стабилизированного потока жидкости, истекающей из соплового насадка 3. Центрирование рубашки 18 относительно дополнительного кожуха 13 и трубы рабочей жидкости 2 выполнено установкой центрирующих колец и косынок внутри кожуха 13 аналогично кожуху 4. Срез дополнительного кожуха 13 размещен на уровне конфузорного насадка 19 рубашки 18 подводящей трубы 2, кромка которого размещена на расстоянии от кромки выпускного отверстия кожуха 4. Кроме того, полость дополнительного кожуха 13 сообщена с источником 23 сжатого воздуха. Возможность вертикального осевого перемещения кожуха 4, дополнительного кожуха 13 и подводящей трубы 2 позволяет изменять давление воздуха в кожухе 4 на рабочих режимах, а также геометрические параметры струи рабочей жидкости и воздушного кратера на поверхности жидкости. Полости кожуха 4 и дополнительного кожуха 13 подключены к источнику сжатого воздуха – компрессору (не показан). Кроме того, на чертежах показаны отводные патрубки 24 и 25 атмосферного резервуара 1. Отводной патрубок 24 атмосферного резервуара 1 обеспечивает отвод сфлотированного продукта (пены), размещен на стенках резервуара 1 на уровне, соответствующем уровню жидкости в нем, а отводной патрубок 25 осуществляет отвод аэрированной жидкости в камеру сфлотированного продукта 26.
Способ осуществляют следующим образом.
Рабочие параметры в установке доводят до номинала, а именно: флотирующий отсек 7 и атмосферный резервуар 1 заполняют водой до верхних кромок стенок отбойника 6 (целесообразно, на этапе запуска использовать очищенную воду).
Подвижный кожух 4 погружают в жидкость на глубину, соответствующую рабочему давлению воздуха в кожухе 4 в процессе аэрации. При этом расположенный в кожухе 4 подвижный дополнительный кожух 13 в сборе с трубой 2 и рубашкой 18 устанавливают по высоте с зазором между нижним срезом кожуха 13 и конфузором 5 кожуха 4, определяемым режимными параметрами процесса. Рубашку 18 предварительно устанавливают на подводящей трубе 2 с соответствующим зазором среза сопла 3 и среза конфузорного насадка 19 для обеспечения соответствующей рабочему режиму длины стабилизированного участка истекающей струи из сопла 3.
Подают воздух по трубопроводу 23 в кожух 4 при закрытом клапане подачи воздуха на линии 23 в дополнительный кожух 13, вытесняя воду из флотирующего отсека 7 в накопительный 8, с последующим переливом по отводящему патрубку 25 в камеру сфлотированного продукта 26 с последующим ее дренированием. При этом рабочий уровень жидкости в кожухе 4 устанавливается над конфузором 5 кожуха 4, обеспечивая высоту слоя между нижним основанием конфузора и свободной поверхностью жидкости порядка 50-80 мм, в зависимости от режимных параметров процесса. Затем подают воздух в дополнительный кожух 13, обеспечивая формирование воздушного кратера определенных геометрических параметров в поверхностном слое жидкости в кожухе 4, и регулируют рабочее давление в кожухе 4 путем дросселирования воздуха через дроссельно-запорный клапан 16 с контролем рабочего давления по манометру в верхней части кожуха.
Подают рабочую жидкость по трубе 2 и регулируют рабочие параметры в установке, доводя до номинала, при соответствующих рабочих давлениях воздуха (в пределах 1-2 ата) в кожухе 4.
Воздушная струя, выходящая из нижнего основания дополнительного кожуха 13, формирует на поверхности воды в кожухе 4 воздушный кратер, представляющий собой параболоид вращения, глубина и диаметр которого зависят от скорости воздушной струи, вытекающей из основание дополнительного кожуха 13. В кратер с высокой скоростью из сопла 3 трубы 2 подают струю рабочей жидкости, взаимодействующую с криволинейно поверхностью дна кратера и эжектирующую воздух с повышенным давлением, осуществляя процесс аэрации и последующей флотацией.
Возможность осевого вертикального перемещения кожуха 4, подводящей трубы 2 и дополнительного кожуха 13 позволяет изменять геометрические параметры истекающей струи, кратера и изменять степень аэрирования жидкости на рабочих режимах.
Избыточное давление воздуха в кратере в поверхностном слое жидкости, обусловленное дополнительной воздушной струей кожуха 13, обеспечивает повышенную эжектирующую способность водяной струи, вытекающей из соплового насадка 3.
Коэффициент аэрации в предлагаемом способе в результате создания благоприятных условий для насыщения очищаемой жидкости воздухом составляет 15-17. Конечная степень очистки воды, обрабатываемой предлагаемым способом, достигает 99%, что указывает на целесообразность применения предлагаемого способа.
Формула изобретения
Способ аэрирования очищаемой жидкости, включающий формирование струи очищаемой жидкости в полости кожуха, содержащего воздух с давлением, большим атмосферного, нижняя часть которого открыта в аэрируемый объем очищаемой жидкости, при этом струю очищаемой жидкости подают по оси потока сжатого воздуха, ориентированного перпендикулярно поверхности объема очищаемой жидкости, отличающийся тем, что сначала на поверхности жидкости формируют воздушный кратер путем подачи воздушной струи, выходящей из нижнего основания дополнительного кожуха, после чего в сформированный воздушный кратер подают струю очищаемой жидкости.
РИСУНКИ
|
|