|
|
(21), (22) Заявка: 2007122633/11, 20.01.2006
(24) Дата начала отсчета срока действия патента:
20.01.2006
(30) Конвенционный приоритет:
21.01.2005 AT A92/2005
(43) Дата публикации заявки: 27.01.2009
(46) Опубликовано: 20.05.2010
(56) Список документов, цитированных в отчете о поиске:
ЕР 0841280 А, 13.05.1998. ЕР 1209117 А1, 29.05.2002. SU 1752703 A1, 07.08.1992.
(85) Дата перевода заявки PCT на национальную фазу:
18.06.2007
(86) Заявка PCT:
EP 2006/050332 20060120
(87) Публикация PCT:
WO 2006/077243 20060727
Адрес для переписки:
119296, Москва, а/я 113, пат.пов. Э.П.Песикову, рег. 204
|
(72) Автор(ы):
КАРНЕР Франц Йозеф (AT), КАРНЕР Юрген (AT)
(73) Патентообладатель(и):
Виттур АГ (DE)
|
(54) ТОРМОЗНОЕ ИЛИ ЛОВИЛЬНОЕ УСТРОЙСТВО ДЛЯ КАБИНЫ ЛИФТА
(57) Реферат:
Тормозное или ловильное устройство для кабины лифта, перемещающейся в шахте по вертикальным направляющим рельсам (2) содержит тормозной элемент, который выполнен в виде ролика (9). Ось ролика проходит нормально в продольном направлении направляющего рельса (2) и его рабочая поверхность выполнена в виде поверхности трения. Ролик (9) с расположенными в виде уступа заплечиками установлен с возможностью смещения в зазоре (20) корпуса (19), выполненном параллельно соответствующему направляющему рельсу (2), причем зазор (20) содержит канавку (21), которая, по меньшей мере, на одном конце имеет уменьшенное расстояние до направляющего рельса (2). Ролик (9) связан с устройством удержания, задающим неактивированное состояние покоя, и поджат пружиной (28) в направлении к направляющему рельсу (2). В том случае, когда устройство удержания освобождает ролик (9), последний прижимается к направляющему рельсу (2) и перемещается по нему. Устройство удержания содержит расположенный с возможностью поворота соленоид. Пружина (28) выполнена в виде пружины сжатия, а ролик (9) поджат в сторону к направляющему рельсу (2), при этом пружине (28) противодействует соленоид, управляемый устройством контроля за скоростью движения кабины лифта. Изобретение обеспечивает упрощение конструкции и повышение надежности. 2 з.п. ф-лы, 3 ил.
Область техники
Изобретение относится к тормозному или ловильному устройству для кабины лифта согласно ограничительной части п.1 формулы изобретения.
Лифты оборудуются тормозными или ловильными устройствами, предназначенными для торможения кабины лифта в случае достижения ею недопустимо большой скорости, возникающей, например, при сбоях управления или вследствие обрыва несущего каната.
Активирование ловильного или тормозного устройства в таких известных устройствах производится неподвижно закрепленным в шахте или машинном отделении ограничителем скорости, приводимым во вращение с началом движения кабины лифта. Для этой цели предусмотрен замкнутый ограничительный канат, который, с одной стороны, огибает ограничитель скорости (расположенный обычно в самой верхней точке шахты) и, с другой стороны, натяжной ролик (расположенный обычно в самой низкой точке шахты). Ограничительный канат соединен с тормозным или ловильным устройством на определенном участке, в результате чего при движении кабины лифта этот канат совершает совместное движение. При достижении слишком большой скорости ограничитель скорости блокирует ограничительный канат, в результате чего срабатывает тормозное или ловильное устройство и происходит остановка кабины лифта.
Такая конструкция имеет то преимущество, что она полностью основана на механическом принципе действия и поэтому на нее не могут вредно сказываться прекращения подачи электроэнергии.
Вместе с тем ей присущи и некоторые недостатки. Во-первых, она подвержена неисправностям именно в силу чисто механического принципа действия. При очень большой степени загрязнения конструкции центробежный регулятор может в числе прочего сработать слишком поздно (т.е. при очень большом превышении скорости).
Другой недостаток состоит в относительно высоких затратах. Помимо собственно тормозного устройства требуется наличие каната, проходящего по всей шахте, который вверху и внизу должен направляться и одновременно натягиваться.
Еще один недостаток состоит в том, что такое основанное на механическом принципе решение работоспособно исключительно в случае превышения заданной скорости. Однако сегодня при наличии высокоскоростных лифтов этого часто недостаточно. Такие лифты двигаются со скоростями, например, 10 м/с и поэтому необходимо обеспечить их торможение своевременно еще до достижения последнего этажа (верхнего или нижнего). При спуске кабины лифта со второго этажа скорость, составляющая всего лишь 5 м/с, является уже слишком высокой и поэтому должно быть использовано экстренное торможение.
Для обеспечения более дифференцированного экстренного торможения решение на электронном принципе является более эффективным. Соответствующие предложения уже разработаны. Из патента США 5020640 известно тормозное устройство для лифта, в котором скорость его кабины определяют с помощью приводного колеса с движущимся по нему несущим канатом. В случае превышения максимально допустимой скорости приводится в действие тормоз с пневматическим приводом, воздействующий на несущие канаты и обеспечивающий торможение кабины лифта. Тормоз с пневматическим приводом действует только тогда, когда в экстренном случае в системе действительно присутствует сжатый воздух, что может гарантироваться только при значительных затратах. Следовательно, такая конструкция является ненадежной в отношении безопасности в работе.
В лифтах применяется, как правило, противовес для кабины лифта. В зависимости от конструкции противовеса и других конструктивных факторов иногда можно исходить из того, что кабина лифта может достигнуть слишком большой скорости движения только при движении вниз. Правда иногда приходится учитывать слишком большие скорости движения и во время подъема, например, в том случае, когда пустая кабина лифта оказывается легче своего противовеса, вследствие чего при отказе управления кабина лифта начинает ускоренно двигаться вверх под действием противовеса.
Из US 5366045 А с родовыми признаками известно тормозное или ловильное устройство указанного выше типа, в котором тело сжатия содержит две косые набегающие поверхности, к которым прилегают два клинообразных тормозных элемента, воздействующих с обеих сторон на направляющий рельс. При этом устройство удержания состоит из соленоида, которым тормозные элементы удерживаются с преодолением усилия пружин в положении, в котором сохраняется зазор между их поверхностями трения и соответствующим направляющим рельсом. При развозбуждении соленоида пружины проталкивают тормозные элементы в сужающийся вверх зазор между набегающими поверхностями тела сжатия и направляющим рельсом, в результате чего происходит фрикционное замыкание между тормозными элементами и направляющим рельсом и дополнительно возрастает усилие прижатия тормозных элементов.
Правда в этом известном случае возникает положение, когда такой возрастающий тормозящий эффект имеет место только при движении кабины лифта вниз. При движении вверх образующееся фрикционное замыкание между направляющим рельсом и тормозными элементами снижает усилие торможения. Это эффективно лишь в том случае, когда заторможенная кабина лифта может перемещаться до вышележащего этажа. При этом имеется недостаток, выражающийся в том, что при движении лифта вверх невозможно обеспечить экстренное торможение.
Этому известному решению присуща также проблема, заключающаяся в том, что, в частности, в случае нарушения расположения направляющих рельсов может происходить одностороннее воздействие тормозных элементов на эти рельсы, вследствие чего возможно заклинивание кабины лифта и в последующем очень большие повреждения направляющих рельсов. Это объясняется тем, что степень увеличения тормозного усилия зависит от самого тормозного усилия (т.е. от трения). Если трение на одной стороне меньше, то и усилие прижатия будет меньше, вследствие чего существенно уменьшится и тормозное усилие. В связи с этим данная конструкция не является надежной в отношении безопасности в работе.
Из ЕР 0841280 известен тормоз с роликом, приводимым в действие механически канатом ограничителя скорости, при этом он затягивается канатом ограничителя скорости в клиновой зазор, предусмотренный между телом сжатия, обозначенным в данном случае как рама, и направляющим рельсом. Как только ролик затягивается канатом ограничителя на некоторое расстояние вглубь этого клинового зазора, он самостоятельно занимает конечное положение, в котором проявляется его необходимое тормозное действие. При этом изменяются условия контактирования, так как в начале своего пути по клиновому зазору ролик прилегает своей поверхностью трения в виде центрального шероховатого рифленого участка как к направляющему рельсу, так и к телу сжатия, названного рамой. Однако до того, как ролик займет конечное положение, его поверхность трения теряет контакт с телом сжатия, обозначенным рамой, и вместо этого по телу сжатия перекатываются только его гладкие заплечики. В результате существенно изменяются условия трения, вследствие чего при неблагоприятных условиях ролик не занимает конечного положения, поскольку трение уменьшилось слишком рано. В неблагоприятных случаях это снижает надежность в работе, несмотря на то, что недостатком является проявление тормозного действия тормоза только в одном направлении движения.
Раскрытие сущности изобретения
Техническая задача
Задачей изобретения является устранение указанных выше недостатков, т.е. создание устройства упомянутого выше типа, отличающегося простотой конструкции и высокой степенью надежности в работе. Оно должно быть пригодным как для применения в механических, так и электрических системах срабатывания.
Техническое решение
Поставленная задача решается тем, что в тормозном или ловильном устройстве для кабины лифта, перемещающейся в шахте по вертикальным направляющим рельсам, причем тормозной элемент с поверхностью трения подвижно установлен в закрепленном на кабине лифта корпусе тормозного устройства, имеющем U-образный профиль с полками, охватывающими направляющий рельс на участке своих свободных концов, и выполнен с возможностью приводиться из неактивированного положения покоя, обеспечиваемого устройством удержания, в положение прилегания к направляющему рельсу, при этом тормозной элемент состоит из ролика, ось которого проходит нормально в продольном направлении направляющего рельса и рабочая поверхность которого выполнена в виде поверхности трения, который вместе с расположенными в виде уступов заплечиками установлен с возможностью перемещения в зазоре корпуса, выполненном в полке параллельно соответствующему направляющему рельсу, и в канавке для размещения в ней ролика этого тормозного элемента его поверхностью трения, причем канавка, по меньшей мере, на одном конце имеет меньшее расстояние до направляющего рельса, в результате чего ролик в этом положении прилегает своей поверхностью трения, с одной стороны, к направляющему рельсу и, с другой стороны, к поверхности канавки на участке, кроме того, в этом положении ролик прилегает своими заплечиками к поверхности в зазоре возле канавки на участке, вследствие чего исключается последующее смещение ролика, причем ролик связан с устройством удержания, задающим его неактивированное состояние покоя, согласно изобретению зазор и канавка проходят от углубления, задающего неактивированное состояние покоя, в обе стороны, устройство удержания содержит расположенный с возможностью поворота соленоид и пружина поджимает ролик в сторону к соответствующему направляющему рельсу, при этом пружина выполнена в виде пружины сжатия, а ролик поджат в сторону к направляющему рельсу, причем пружине противодействует соленоид, управляемый устройством контроля за скоростью движения кабины лифта и развозбуждаемый в случае, когда регистрируется слишком большая скорость движения кабины лифта, в результате пружина смещает держатель и, следовательно, ролик к направляющему рельсу, при этом ролик прилегает своей поверхностью трения к направляющему рельсу, приводится во вращение и перемещается по направляющему рельсу.
Предложенные меры обеспечивают положение, при котором тормозной элемент прилегает своей поверхностью трения к направляющему рельсу при точно заданном давлении, в результате чего исключается опасность неравномерного прижатия к направляющему рельсу, как это может происходить в описанном выше известном решении. Благодаря соответствующей глубине зазора и канавки (которые образуют своего рода кулису) можно простым способом задавать любую требуемую задержку момента торможения кабины лифта. Ролик, после соприкосновения с направляющим рельсом, будет перемещаться по нему и благодаря сплошному контакту своей поверхности трения с поверхностью канавки будет надежно продавлен в зазор до конечного положения, т.е. пока заплечики не будут дополнительно прилегать к зазору возле канавки. От расстояния между направляющим рельсом и канавкой, которое несколько меньше диаметра ролика, и от упругости материала будет зависеть усилие прижатия. В этом конечном положении ролик перекатывается не только своей поверхностью трения по дну канавки, но и одновременно своими заплечиками по поверхности зазора возле канавки, что повышает устойчивость и, следовательно, надежность в работе.
Посредством признаков п.2, а именно благодаря тормозному или ловильному устройству, в котором зазор и канавка проходят от углубления, задающего неактивированное состояние покоя, в обе стороны, достигается простым способом торможение кабины лифта при ее движении как вниз, так и вверх. При этом простым способом могут быть также обеспечены разные показатели задержки для разных направлений движения посредством соответствующего выполнения глубины зазора и канавки. В конечном счете показатели задержки при движении вверх не должны превышать 1 g (g – ускорение силы тяжести), в противном случае произойдет отделение пассажиров от пола кабины лифта, что создает существенную опасность падений и, следовательно, причинения повреждений.
Для сведения к минимуму опасности повреждения направляющих рельсов в случае торможения при неисправности предпочтительно применяются признаки п.3 формулы изобретения, а именно используется тормозное или ловильное устройство, тело сжатия которого охватывает сзади направляющий рельс.
Предлагаемое изобретение возможным простым способом удерживать тормозной элемент при нормальном режиме работы на незначительном расстоянии от верхней стороны соответствующего направляющего рельса. При срабатывании тормозного устройства ролик надежно входит в контакт с направляющим рельсом и начинает вращаться, в результате чего он смещается к концу зазора, все сильнее прижимается к направляющему рельсу и заклинивается, в результате чего происходит торможение кабины лифта.
Кроме того, настоящее изобретение обеспечивает снижение жесткости одного из участков тела сжатия (при движении кабины лифта вверх), в результате чего уменьшается усилие прижатия тормозного элемента во время торможения при подъеме кабины лифта. Благодаря этому при торможении во время движения вверх достигается меньшее запаздывание, в результате которого исключается отрыв пассажиров от пола кабины лифта.
Для минимизации опасности повреждения направляющих рельсов при торможении вследствие выхода из строя целесообразно использовать признаки п.2 формулы изобретения.
Благодаря этим мерам становится возможным исключить воздействие усилия сжатия на направляющие рельсы, которое в случае соединения двух предназначенных для разных направляющих рельсов тел сжатия могло бы передаться через жесткую балку. Кроме того, такое тормозное устройство пригодно для применения в лифтах, кабина которых перемещается по одному или двум направляющим рельсам, закрепленным на одной и той же стене.
Краткое описание чертежей
Далее изобретение подробнее поясняется с помощью чертежей, на которых:
фиг.1 – схематически тормозной элемент согласно изобретению;
фиг.2 – схематически тормозное или ловильное устройство, согласно изобретению, в горизонтальном сечении;
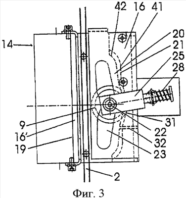
фиг.3 – вид на тормозное или ловильное устройство по стрелке III на фиг.2.
Наиболее оптимальный путь осуществления изобретения
Как показано на фиг.2, направляющие рельсы 2 содержат головку 8, соединенную с подошвой 7 рельса через его шейку 6.
В тормозном или ловильном устройстве согласно изобретению тормозной элемент выполнен в виде ролика 9, который на своих обоих торцах 10 (фиг.1) снабжен заплечиками 11. Рабочая поверхность ролика 9 служит поверхностью трения 12. Для этого ролик выполнен рифленым или имеет фрикционное покрытие. Ролик предназначен для прилегания к направляющему рельсу 2 (фиг.2).
На фиг.2 показано тормозное устройство 14 в горизонтальном сечении. Это устройство содержит тело сжатия (корпус) 19, соответствующее по существу U-образному профилю, при этом обе полки 16, 16′ охватывают направляющий рельс 2 на участке своих свободных концов.
Тело сжатия 19 имеет зазор 20, выполненный в полке 16, в котором перемещается ролик 9. При этом зазор 20 содержит канавку 21 для размещений в ней ролика 9 своей поверхностью трения 12 (фиг.1).
Ролик 9 установлен с возможностью вращения на оси 22 (на фиг.2 не показана, см. фиг.3), которая проходит через отверстие 23 в полке 16 и крепится в держателе 25.
Держатель 25 охвачен пружиной 28, которая выполнена в виде пружины сжатия и поджимает ролик 9 в направлении к направляющему рельсу 2. Этой пружине 28 противодействует соленоид (не показан), управляемый устройством контроля за скоростью движения кабины лифта. В случае регистрации слишком большой скорости движения кабины лифта соленоид развозбуждается. В этом случае пружина 28 перемещает держатель 25 и, следовательно, ролик 9 к направляющему рельсу 2, в результате чего ролик прилегает своей поверхностью трения 12 (фиг.1) к направляющему рельсу 2 (фиг.3) и приводится во вращение.
Ось 22 ролика 9 может быть закреплена также и на обычном канате традиционного ограничителя скорости и перемещаться им в сужающийся зазор 20. Следовательно, такой вид ловильного устройства может быть активирован как электрически (через развозбужденный соленоид), так и механически (через канат).
При движения кабины лифта вниз ролик 9 вращается по часовой стрелке (как показано на фиг.3). При этом ролик 9 опирается о направляющий рельс 2 и перемещается вверх. Поскольку расстояние между канавкой 21 и направляющим рельсом 2 в верхнем направлении уменьшается, то ролик 9 зажимается между канавкой 21 и направляющим рельсом 2, в результате чего происходит его трение в канавке 21 и торможение, вследствие которого кабина лифта (не показана) останавливается. В конечном положении поверхность трения 12 (фиг.1) соприкасается на участке 41 (фиг.3) с поверхностью канавки 21, а на участке 42 заплечики 11 ролика 9 (фиг.1) соприкасаются с поверхностью зазора (рис.3) возле канавки 21. На участке 42 глубина канавки 21 (фиг.3) является достаточно большой, вследствие чего поверхность трения 12 (фиг.1) не соприкасается с поверхностью канавки 21 (фиг, 3). Таким образом ограничивается путь перемещения ролика 9 без существенного влияния на тормозное усилие, так как трение на участке заплечиков 11 (фиг.1) является относительно малым (заплечики выполнены гладкими). Соответствующим выбором расстояния между канавкой 21 (фиг.3) и направляющим рельсом (2) могут быть заданы соответствующие показатели задержки. Благодаря наличию поворотного держателя 25 и отверстия 23 ролик 9 может беспрепятственно перемещаться в зазоре 20.
При торможении во время движения лифта вверх, для которого требуются лишь незначительные усилия, ролик 9 вращается против часовой стрелки и поэтому движется вниз.
Формула изобретения
1. Тормозное или ловильное устройство для кабины лифта, перемещающейся в шахте по вертикальным направляющим рельсам (2), причем тормозной элемент с поверхностью трения (12) подвижно установлен в закрепленном на кабине лифта корпусе (19) тормозного устройства, соответствующем, по существу, U-образному профилю с полками (16, 16′), охватывающими направляющий рельс (2) на участке своих свободных концов, и выполнен с возможностью приводиться из неактивированного положения покоя, обеспечиваемого устройством удержания, в положение прилегания к направляющему рельсу (2), при этом тормозной элемент состоит из ролика (9), ось которого проходит нормально в продольном направлении направляющего рельса (2), и рабочая поверхность которого выполнена в виде поверхности трения (12), который вместе с расположенными в виде уступов заплечиками (11) установлен с возможностью перемещения в зазоре (20) корпуса (19), выполненном в полке (16) параллельно соответствующему направляющему рельсу (2), и в канавке (21) для размещения поверхности трения (12) ролика (9) этого тормозного элемента, причем канавка (21), по меньшей мере, на одном конце имеет уменьшенное расстояние до направляющего рельса (2), в результате чего в этом положении ролик (9) прилегает своей поверхностью трения (12), с одной стороны, к направляющему рельсу (2) и, с другой стороны, к канавке (21) на участке (41), и, кроме того, в этом положении ролик (9) прилегает своими заплечиками (11) к поверхности зазора (20) возле канавки (21) на участке (42), вследствие чего исключается последующее смещение ролика (9), причем ролик (9) связан с устройством удержания, задающим его неактивированное состояние покоя, отличающееся тем, что зазор (20) и канавка (21) проходят от углубления (31), задающего неактивированное состояние покоя, в обе стороны, устройство удержания содержит расположенный с возможностью поворота соленоид, и пружина (28) поджимает ролик (9) в сторону к соответствующему направляющему рельсу (2), при этом пружина (28) выполнена в виде пружины сжатия, а ролик (9) поджат в сторону к направляющему рельсу (2), при этом пружине (28) противодействует соленоид, управляемый устройством контроля за скоростью движения кабины лифта и развозбуждаемый в том случае, когда регистрируется слишком большая скорость движения кабины лифта, в результате пружина (28) смещает держатель (25) и, следовательно, ролик (9) к направляющему рельсу (2), при этом ролик прилегает своей поверхностью трения (12) к направляющему рельсу (2), приводится во вращение и перемещается по направляющему рельсу.
2. Тормозное или ловильное устройство по п.1, отличающееся тем, что корпус (19) охватывает сзади направляющий рельс (2).
3. Тормозное или ловильное устройство по п.1 или 2, отличающееся тем, что на участке простирающегося вниз зазора (20) корпус (19) имеет вырез (32), выполненный перпендикулярным направляющему рельсу (2).
РИСУНКИ
|
|