|
|
(21), (22) Заявка: 2007137123/11, 08.03.2006
(24) Дата начала отсчета срока действия патента:
08.03.2006
(30) Конвенционный приоритет:
09.03.2005 DE 102005010710.9
(43) Дата публикации заявки: 20.04.2009
(46) Опубликовано: 20.05.2010
(56) Список документов, цитированных в отчете о поиске:
DE 10025730 A1, 06.12.2001. WO 03/042084 A1, 22.05.2003. DE 4236486 A1, 05.05.1994. JP 11228030 A, 24.08.1999. SU 194592 A1, 12.06.1967. SU 1818294 A1, 30.05.1993.
(85) Дата перевода заявки PCT на национальную фазу:
09.10.2007
(86) Заявка PCT:
EP 2006/002135 20060308
(87) Публикация PCT:
WO 2006/094787 20060914
Адрес для переписки:
129090, Москва, ул. Б.Спасская, 25, стр.3, ООО “Юридическая фирма Городисский и Партнеры”, пат.пов. С.А.Дорофееву, рег. 146
|
(72) Автор(ы):
ХЕФНЕР Манфред (DE)
(73) Патентообладатель(и):
ХЕФНЕР УНД КРУЛЛЬМАНН ГМБХ (DE)
|
(54) КАТУШКА ДЛЯ ПРИЕМА НАМАТЫВАЕМОГО В МОТОК ИЗДЕЛИЯ
(57) Реферат:
Изобретение относится к устройству катушки для приема наматываемого в моток изделия. Устройство содержит осесимметричный корпус катушки, на двух осевых концах которого расположены фланцевые диски. Катушка разделена на две части по существу радиальной разделяющей поверхностью. Две части имеют передние поверхности, проходящие рядом и параллельно с разделяющей поверхностью. Передние поверхности снабжены запирающими выступами по меньшей мере на одной поверхности и по меньшей мере на другой поверхности стопорными углублениями. Стопорные углубления взаимодействуют с запирающими выступами на другой части катушки, зацепляясь с ними в форме байонетного замка при взаимном вращении частей катушки. Передние поверхности катушки выполнены так, что разделяющая линия, появляющаяся вокруг окружности катушки, является волнистой. Достигается упрощение разборки катушки и улучшение размотки изделия с катушки. 11 з.п. ф-лы, 5 ил.
Настоящее изобретение относится к катушке для приема мотков материала, имеющей осесимметричный корпус катушки с двумя осевыми концами, снабженными фланцевыми дисками, при этом катушка разделена на две части по существу радиальной разделяющей поверхностью, при этом эти части имеют передние поверхности, по меньшей мере одна из которых снабжена запирающими выступами, а по меньшей мере другая из этих поверхностей снабжена стопорными углублениями, которые взаимодействуют с запирающими выступами другой части катушки, соответственно, зацепляясь с ними в форме байонетного соединения при взаимном вращении частей катушки.
Катушка такого типа раскрыта, например, в ЕР 404043 А1. В DE 19700185 показано подобное решение.
В случае катушек согласно этому предшествующему уровню техники части катушки сходятся на конус к разделяющей поверхности. Преимущество разделения катушек в связи с такой конусностью частей катушки заключается в том, что когда намотанное изделие будет смотано, катушки можно разобрать и благодаря их конической форме штабелировать для уменьшения места, занимаемого при транспортировке и хранении.
Однако, хотя возможность разборки катушек дает значительные преимущества, она же влечет и недостатки в некоторых местах. Например, когда катушки используются для намотки очень тонкого материала, такого как тонкая проволока без изоляции. Такие тонкие материалы мотка могут попасть в зазор между двумя частями катушки и зажаться в нем так прочно, что при разматывании они останутся в зазоре и разорвутся. Это может помешать процессу разматывания намотанного материала и обусловить необходимость дополнительных трудозатрат, поскольку перед повторным использованием катушки необходимо удалить любой оставшийся материал мотка.
Кроме того, опыт показывает, что невозможно сжать две части катушки, которые обычно изготовлены из пластмассы, так плотно, чтобы устранить практически любой зазор между ними. Это справедливо даже когда в байонетном соединении применяют две наклонные поверхности для соединения частей катушки, или когда для сжимания частей друг с другом применяют резьбовые структуры (DE 4001250 А1).
Поэтому задачей настоящего изобретения является создание катушки вышеуказанного типа, где зазор между частями катушки выполнен так, чтобы в него не могли попасть даже самые тонкие намотанные материалы.
Эта задача решается путем создания катушки вышеуказанного типа, отличающейся тем, что передние поверхности выполнены так, что разделяющаяся линия, появляющаяся вокруг окружности катушки, является волнистой.
Поскольку моточное изделие всегда наматывают на катушки такого типа в направлении окружности, оно не может следовать по волнистому пути разделительной линии между половинами катушки и не сможет попасть в зазор в любом его месте.
Опыт показал, что даже относительно плоская форма волны, например синусоидальная, достаточна для достижения желаемого результата. Опыт также показал, что части катушки с волнообразной разделительной линией могут соединяться соединительным средством, основанным на принципах байонетного соединения, несмотря на имеющиеся начальные сомнения в отношении возможности того, что волнообразная форма будет мешать взаимному вращению частей катушки во время их соединения. В процессе соединения две части катушки сначала должны быть подведены одна к другой так, чтобы два гребня волны располагались напротив друг друга, а затем их нужно вращать, пока гребни не зацепятся во впадинах волн. Запирающие выступы и стопорные углубления, естественно, должны располагаться в соответствии со структурой волны. Они должны располагаться наклонно относительно друг друга в соответствии с осевым расстоянием между гребнями и впадинами волны.
На практике рекомендуется изготавливать две абсолютно идентичные половины катушки так, чтобы их можно было отливать под давлением как пластмассовую деталь в одной и той же пресс-форме. В одном предпочтительном варианте каждая половина катушки поэтому содержит и запирающие выступы, и стопорные углубления, которые соответственно согласуются парами. Однако просто для соединения двух половин катушки было бы достаточно создать запирающие выступы на одной половине катушки, а стопорные углубления – на другой. Поэтому настоящее изобретение включает и такой вариант.
Предпочтительно создать пружинные язычки, выровненные со стопорными углублениями, при этом пружинные язычки в соединенном состоянии зацепляются сзади за запирающие выступы и предотвращают раскручивание байонетного соединения. Поэтому байонетное соединение можно разомкнуть только когда пружинные язычки отжаты из запирающего положения.
В самом широком смысле запирающие выступы можно описать как грибовидные, поскольку они имеют выступающее вертикально основание и головку, которая выступает радиально относительно основания. Соответственно стопорное углубление имеет увеличенную входную область, к которой в окружном направлении примыкает более узкий запирающий участок, за боковые кромки которого зацепляются соответствующие головки запирающих выступов.
Катушка по настоящему изобретению может изготавливаться из пластмассы методом, в частности, литья под давлением и этот способ позволяет отливать пружинные язычки непосредственно на кромках стопорных углублений.
Для освобождения пружинных язычков предпочтительно выполнить скользящие нажимные элементы, которые при достаточном перемещении отжимают пружинные язычки из зацепления с запирающими выступами. В зависимости от количества запирающих выступов и стопорных углублений эти нажимные элементы могут быть выполнены как отдельные детали или могут быть установлены на кольце, которое можно вращать вокруг задней грани передней поверхности частей катушки.
Задняя грань означает грань каждой передней поверхности, расположенную дальше от запирающего выступа.
Далее следует более подробное описание предпочтительных вариантов осуществления настоящего изобретения со ссылками на прилагаемые чертежи, где:
фиг.1 – катушка по настоящему изобретению, состоящая из двух частей;
фиг.2 – сечение, иллюстрирующее соединение между двумя частями катушки;
фиг.3 – вид снаружи одной из частей катушки на заднюю грань соединительного участка;
фиг.4 – разнесенный вид соединения;
фиг.5 – вид, аналогичный фиг.4, но показывающий отдельные детали в другом положении.
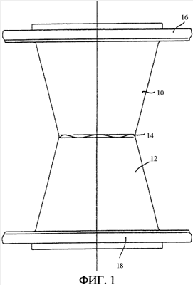
На фиг.1 показана катушка по настоящему изобретению, содержащая первую часть (10) и вторую часть (12), которые соединены одна с другой соосно. Отходя от центральной разделяющей поверхности 14, где две части 10, 12 катушки встречаются, обе части катушки расширяются на конус наружу, принимая форму усеченного конуса, до выступающих радиально фланцевых дисков 16, 18, расположенных на внешних концах. Очевидно, что разделяющая поверхность 14 выполнена так, что видна волнообразная линия, проходящая вокруг окружности катушки в виде внешнего разделяющего зазора.
Рядом с разделяющей поверхностью 14 обе части 10, 12 катушки имеют передние поверхности, выполненные по меньшей мере как круглые кольцевые поверхности. Эти передние поверхности не должны иметь волнистую форму на фиг.1 по всей своей площади. Наоборот, достаточно, чтобы внешний участок двух передних граней, расположенный ближе к окружности, имел волнистую форму, так чтобы по окружности проходил волнообразный зазор.
На фиг.2 приведено сечение, иллюстрирующее два внутренних конца двух соединенных частей 10, 12 катушки. Более светлой штриховкой показаны две части 10, 12 катушки, а более темной штриховкой показаны два кольца, которые соединены внутри конуса с задней гранью двух передних поверхностей частей катушки, где они могут вращаться. Эти кольца обозначены позициями 20, 22 и более подробно будут описаны со ссылками на фиг.4 и 5.
На фиг.3 показан вид на коническое пустотелое пространство одной из частей 10, 12 катушки. Предположим, что показанной частью является часть 10 катушки. На фиг.3 видно поворотное кольцо 20. В этом кольце 20 выполнены отверстия 24, 26, 28, разнесенные по окружности кольца с одинаковыми угловыми интервалами, равными 120°. С этими отверстиями выровнены утопленные захваты 30, 32, 34, в которые входят пальцы рук для вращения кольца 20 относительно части 10 катушки. Распределение отверстий 24, 26, 28 и утопленных захватов 30, 32, 34 совпадает с распределением соединительных средств для соединения двух частей 10, 12 катушки. Эти соединительные средства описаны со ссылками на фиг.4 и 5.
Соединительные средства в основном содержат по существу известные стопорные углубления в передних поверхностях 36, 38, с которыми зацепляются зацепляющие выступы, расположенные на другой передней поверхности, и в которых эти запирающие выступы могут запираться путем вращения, как в байонетном замке. На фиг.4 и 5 стопорные углубления на части 10 катушки обозначены позицией 40, а на части 12 – позицией 42. В одном предпочтительном варианте три стопорных углубления разнесены по окружности с угловым интервалом 120°. Запирающие выступы разнесены так же.
Стопорные углубления 40, 42 могут быть в широком смысле описаны как имеющие форму замочной скважины. Они имеют увеличенную область, переходящую в окружном направлении в узкую, по существу имеющую форму полосы, запирающую секцию. На фиг.4 входная область обозначена позицией 44, а более узкая запирающая секция – позицией 46. Запирающая секция ограничена с обеих сторон участками передней поверхности, выполненными как наклонные поверхности, как более подробно будет описано ниже.
Запирающие выступы в широком смысле можно описать как имеющие грибовидную форму, поскольку они имеют узкий участок основания и головку, которая выступает вбок от участка основания. Запирающие выступы на фиг.4 и 5 обозначены позициями 48, 50. Взяв для примера один из запирающих выступов, обозначенный на фиг.5 позицией 56, видно, что запирающий выступ 56 содержит основание 52, которое в радиальном направлении уже, чем головка 54, которая выступает в радиальном направлении.
Когда две части катушки соединены, запирающие выступы 48, 50, 56 входят в увеличенную входную область стопорных углублений 40, 42, и когда затем части катушки поворачивают относительно друг друга, головки 54 зацепляются за более узкие запирающие секции 46. Необозначенные наклонные поверхности на обеих сторонах более узких запирающих секций обеспечивают плотный натяг двух частей катушки относительно друг друга. Наклонные поверхности также служат для компенсации осевой разницы в высоте между вершинами и впадинами волны передних поверхностей.
Как показано на фиг.4 и 5, в верхней части 10 катушки имеется пружинный язычок 58, расположенный рядом с входной областью стопорного углубления 40. Когда запирающие выступы 50, как показано на фиг.4 и 5, вталкиваются в увеличенную входную область стопорного углубления в осевом направлении и затем две части 10, 12 катушки взаимно вращают, пружинный язычок сначала выталкивается вверх головкой 54 запирающего выступа так, что запирающий выступ может войти в более узкую запирающую секцию 46. Когда запирающий выступ достигает этой секции, пружинный язычок 58 пружинит назад или вниз на фиг.5, в положение, показанное на фиг.4. В этом положении пружинный язычок зацеплен в углублении 60 (фиг.5) на задней грани запирающего выступа 50 так, что запирающий выступ невозможно отвернуть, и байонетное соединение после сцепления не может разъединиться.
Для освобождения байонетного соединения пружинный язычок 58 нужно нажать вверх, как показано на фиг.5, выводя его из углубления 60 в задней грани запирающего выступа 50.
Для этой цели можно установить нажимные элементы разного типа, которые располагаются на катушке с возможностью скольжения. Согласно настоящему изобретению для этой цели предусмотрены поворотные кольца 20, 22.
Кольца 20, 22 прикреплены с возможностью вращения к задней или внутренней грани передних поверхностей 36, 38, которые, как и две части 10, 12 катушки, выполнены идентично, поэтому нижеприводимый текст относится к кольцу 20 верхней части 10, показанной на фиг.4 и 5.
На нижней стороне кольца, показанного сверху на фиг.5, выполнен нажимной элемент 62, который, будучи прикреплен к части 10 катушки, движется под пружинным язычком 58. На нижней стороне пружинного язычка 58 имеется наклонная поверхность 64. Когда кольцо 20 вращается так, чтобы прижимной элемент 62 перемещался слева направо под пружинным язычком 58, как показано сверху на фиг.5, этот пружинный язычок поднимается в положение, показанное на фиг.5, и запирающий выступ 50 вновь можно повернуть в направлении открывания байонетного соединения.
Нажимные элементы 62 снабжены соединительной частью 66, выступающей в направлении другой части катушки. Когда две части катушки разъединены, т.е. когда запирающие выступы выведены из узких запирающих секций 46 в увеличенные входные области 44 стопорных углублений, эта соединительная часть 66 лежит на запирающих выступах другой части катушки. Когда две части 10, 12 катушки отсоединяют друг от друга, кольца 20, 22 возвращаются в положение, соответствующее положению запирания, в котором части катушки разъединить невозможно. Это положение сохраняется, когда две части катушки повторно собирают друг с другом.
Настоящее описание и приложенная формула изобретения основаны на предположении, что обе передние поверхности снабжены соответствующими запирающими выступами и стопорными углублениями. Очевидно соединение можно получить и в том случае, если запирающие выступы будут расположены на одной поверхности, а стопорные углубления – на другой, даже если при соединении такого типа соединение между двумя частями катушки может быть менее плотным.
Следовательно, расположение на одной поверхности обоих запирающих элементов – и запирающих выступов, и стопорных углублений – как это предусмотрено настоящим изобретением, является предпочтительным.
В поверхностях намоточного сердечника двух частей 10, 12 катушки могут быть выполнены отверстия, позволяющие обрабатывать намотанное изделие, например, пропуская сквозь намотанное изделие изнутри горячий воздух для сушки или газы, или жидкости для какой-либо особой обработки намотанного изделия.
Формула изобретения
1. Катушка для приема наматываемого в моток изделия, содержащая осесимметричный корпус катушки, на двух осевых концах которого расположены фланцевые диски (16, 18), при этом катушка разделена на две части (10, 12), по существу, радиальной разделяющей поверхностью, эти части имеют передние поверхности (36, 38), проходящие рядом и параллельно с разделяющей поверхностью (14), причем передние поверхности снабжены запирающими выступами (48, 50) по меньшей мере на одной поверхности и по меньшей мере на другой поверхности стопорными углублениями (40, 42), которые взаимодействуют с запирающими выступами на другой части (10, 12) катушки, соответственно, зацепляясь с ними в форме байонетного замка при взаимном вращении частей (10, 12) катушки, отличающаяся тем, что передние поверхности (36, 38) выполнены так, что разделяющая линия, появляющаяся вокруг окружности катушки, является волнистой.
2. Катушка по п.1, отличающаяся тем, что волнистая разделяющая линия является синусоидой.
3. Катушка по п.1 или 2, отличающаяся тем, что предусмотрены пружинные язычки (58), выровненные со стопорными углублениями (40, 42), при этом указанные язычки в соединенном положении зацепляются сзади за запирающие выступы (48, 50), тем самым препятствуя раскручиванию байонетного соединения.
4. Катушка по п.3, отличающаяся тем, что запирающие выступы (48, 50) содержат основания (52), выступающие в направлении, параллельном оси, и расположенные на них сверху радиально выступающие головки (54).
5. Катушка по п.4, отличающаяся тем, что стопорное углубление (40) содержит входные участки (44), позволяющие параллельно оси вставлять запирающие выступы (48, 50), при этом к указанным входным участкам примыкают более узкие запирающие секции (46), проходящие в окружном направлении, за которые зацепляются головки (54) запирающих выступов.
6. Катушка по п.5, отличающаяся тем, что обращенные назад поверхности, примыкающие к запирающим секциям (46), наклонены вверх.
7. Катушка по п.6, отличающаяся тем, что части (10, 12) катушки выполнены из пластмассы методом литья под давлением.
8. Катушка по п.7, отличающаяся тем, что пружинные язычки (58) выполнены методом литья под давлением на участке кромки стопорных углублений (40, 42).
9. Катушка по п.8, отличающаяся тем, что содержит скользящие нажимные элементы (62), которые в занимаемом ими определенном положении отжимают пружинные язычки (58) из зацепления с запирающими выступами (48, 50).
10. Катушка по п.9, отличающаяся тем, что нажимные элементы (62) выполнены на кольце (20, 22), установленном с возможностью вращения на задней грани передних поверхностей (36, 38) частей (10, 12) катушки.
11. Катушка по п.10, отличающаяся тем, что нажимные элементы (62) выполнены как мостики на углублениях, выполненных с возможностью принимать пружинные язычки (58).
12. Катушка по п.11, отличающаяся тем, что на пружинных язычках (58) выполнены стопоры, которые через взаимодействие с нажимными элементами (62) ограничивают вращение колец (20, 22).
РИСУНКИ
|
|